Головка шприца для смазки – 404 –
Головка смазочного шприца
Класс 47е, 34
СССР № 7О834
ОПИСАН ИЕ ИЗОБРЕТЕНИЯ
К АВТОРСКОМУ СВИДЕТЕЛЬСТВУ
4 !
В. М. Бубнов
Головка смазочного и1прица
Заявлено 24 марта 1941 года в Министерство автомобильной промышленности СССР за № 455 (353364) Опубликовано 30 июня 1948 года
Изобретение касается головки сма.зочного шприца, заключающей в себе подпружиненный наконечник, надеваемый на головку масленки и расположенный внутри плашки, которая обжимает снаружи головку масленки и взаимодействует своими торцами с эластичным кольцом, охватывающим хвостовик наконечника, и с нижним концом корпуса головки шприца.
В предлагаемой головке смазочного шприца устранена необходимость смены эластичного кольца для изменения степени обжатия головки масленки. Для этого, согласно изобретению, корпус головки шприца выполняют из двух частей, связанных между собой посредством винтовой нарезки, что обеспечивает регулирование толщины помещенного между ними эластичного кольца.
На чертеже изображен продольный разрез предлагаемой головки смазочного шприца.
В корпусе головки шприца, выполненной из двух частей — верхней
1 и нижней 2, связанных между собой посредством винтовой нарезки а, помещают плашки 3, внутри которых расположен подпружиненный наконечник 4.
Наконечник надевается на головку
5 масленки, а хвостовик его охватывается эластичным кольцом б. Плашки 3 взаимодействуют своими торцами с эластичным кольцом б и с нижней частью 2 корпуса головки.
Благодаря наличию винтового соединения между частями 1 и 2 изменение степени обжатия головки 5 масленки плашками 3 производят без смены эластичного кольца б.
Предмет изобретения
Головка смазочного шприца, заключающая в себе подпружиненный наконечник, надеваемый на головку масленки и расположенный внутри плашки, обжимающей снаружи головку масленки и взаимодействующей своими торцами с эластичным кольцом, охватывающим хвостов ик наконечника, и с нижним концом корпуса головки шприца, о т л и ч а ющ а я с я тем, что для возможности изменения степени обжатия головки масленки плашкой без смены эластичного кольца корпус головки шприца выполнен из двух частей, связанных между собой посредством винтовой нарезки и обеспечивающих регулирование толщины помещенного между ними эластичного кольца.
www.findpatent.ru
Головка смазочного шприца для прессмасленки
п1 493590 ОПИСАНИЕ
ИЗОБРЕТЕН ИЯ
Союэ Сасетскик
Сщнэлистинеакик
Республик (61) Дополнительное к авт. спид-:,у (22, “-аявлспо “.Зо.11.72 (21) !849335/25-8 с присоединением заявки ¹ (23) Приоритет (51) М. Кл. Г 16п 5/02
Государственный комитет
Совета Мнннстрав СССР
Опубликовано 30.11.75. Бюллетень № 44 (53) УДК 62 — 725.9 (088.8) во делам изобретений н открытий
Дата опубликования описания 19.02.76 (72) Авторы изобретения
Л. Н. Дубровин и И. С. денев (7! ) Заявитель (54) ГОЛОВКА СМАЗОт1ИЗГО МИРИЦА ДЛЯ
ПРЕСС-Гт1АСЛЕИKИ
Изобретение относится к области производства тракторных, автомобильных и сельскохозяйственных агрегатов и может быть применено для подачи консистентной смазки к трущимся поверхностям узлов и деталей.
Известны конструкции головок смазочного шприца для пресс-масленок, состоящие из корпуса головки с буртом, выходящим за габариты внутренней цилиндрической поверхности корпуса.
В корпусе расположены цанговые плашки, сопло с уплотнительным сальником и пружина, опирающаяся на штуцер и подэкимающая к борту перечисленные детали.
Сборка такой головки производится вручную. В начале в корпус со стороны юбки помещают цанговую плашку, а затем в сборе помещают сопло с уплотнительнымп шайбами, далее устанавливают пружину и завертывают по резьбе штуцер головки с предварительно надетой уплотннтельной шайбой.
К недостаткам конструкции относятся трудность автоматизации сборки и затруднительность переборок при эксплуатации.
С целью упрощения конструкции головки на внутренней поверхности корпуса в области цанговых лепесткоь выполнена дополнительная полссть конусообразной формы, а на наконечнике — упоры под цанговые лепестки для фиксации пресс-масленки при ее присоединении к головке шприца.
На чертеже показана предлагаемая головка.
Головка смазочного шприца состоит из корпуса 1, в котором упруго установлен полый наконечник 2, охватываемый цанговыми лепестками 3, размещенными в дополнительной полости 4 конусообразной формы. Полый наконечник выполнен с кольцевой канавкой
5 и двумя упорами, между которыми расположен уплотнительный элемент 6.
С одним из упоров взаимодействует пружина 7, а с другим — цанговые лепестки.
15 Сборку головки шприца произодят в следующей последовательности.
Во внутреннюю полость корпуса 1 со стороны дополнительной полости 4 устанавливают пружину 7 и в сборе полый наконечник 2 с уплотнительным сальником 6, после чего механическим усилием на полый наконечник 2 утапливают наконечник, сжимая при этом пружину 7, а затем в ориентированном положении устанавливают цанговые лепестки 3, после чего освобождают пружину 7 от механического усилия. Полый наконечник 2 под действием усилия пружины 7 возвращается в исходное положение, разжимая цанговые лепестки 3 в дополнительную полость 4 и обра493590 д b
Ссставитель А. Ильина
Техред Е. Митрофанова
Редактор В. Блохина
Корректор Л. Денискина
Заказ 179/3 Изд. № 2022 Тираж 869 Подписное
ЦНИИПИ Государственного комитета Совета Министров СССР по делам изобретений и открытий
113035, Москва, Ж-35, Раушская наб., д. 4/5
Типография, пр, Сапунова, 2
3Ó»ð» этом клин, удерживающий подвижные элементы головки внутри корпуса 1.
При разборке головки шприца корпус 1 устанавливают вертикально цанговыми лепестками 3 вниз, затем воздействием механического усилия утапливают полый наконечник
2, при этом цанговые лепестки сходятся, освобождаясь от образованного клина, выпадают из корпуса под собственным весом, а при освобождении полого наконечника 2 от воздействия внешнего механического усилия выпадают и все остальные детали из корпуса 1.
При шприцевании пресс-масленки, например, рычажно-плунжерным шприцем головку шприца подсоединяют к рабочей головке пресс-масленки. Под действием осевого усилия цанговые лепестки 3 с полым наконечником 2 утопают и раскрываются в дополнительную полость 4. В момент полного контакта шаровой головки пресс-масленки с полым наконечником 2 цанговые лепестки 3 сходятся и защелкиваются на шейке пресс-масленки, По окончании шприцевания головку шприца отсоединяют от пресс-масленки, и цанго5 вые лепестки 3 вместе с полым наконечником
2 возвращаются в исходное положение под действием пружины 7.
Предмет изобретения
10 Головка смазочного шприца для пресс-масленки, в корпусе которой ут1руго установлен полый наконечник, охватываемый цанговыми лепестками, отличающ а я ся тем, что, с целью упрощения конструкции, на внутренней
15 поверхности корпуса в области цанговых лепестков выполнена дополнительная полость конусообразной формы, а на наконечнике— упоры под цанговые лепестки для фиксации пресс-масленки при ее присоединении к голов20 ке шприца.
www.findpatent.ru
Головка смазочного шприца
Класс 47е, 34
СССР
М 70160
ОПИСАН ИЕ ИЗОБРЕТЕНИЯ
К АВТОРСКОМУ СВИДЕТЕЛЬСТВУ
В. М. Бубнов
Головка смазочного шприца
Заявлено 26 ноября 1946 года в Министерство автомобильной промышленности СССР за М 390 (350907) Опубликовано 31 января 1948 года
477
Изобретение касается конструкции головок смазочного шприца, заключающих в себе подпружиненный наконечник, надеваемый на головку масленки и пропущенный хвостовиком внутрь эластичного кольца.
Отличительной особенностью предлагаемой головки смазочного шприца является то, что наружная поверхность наконечника выполнена сферической и примыкает к сферическим жв пояскам корпуса головки и установочного кольца, расположенного над эластичным кольцом.
Для соединения с головкой масленки внутренняя поверхность головки смазочного шприца выполнена конической.
На чертеже изображен вертикальный разрез предлагаемой головки смазочного шприца.
Подпружиненный сферический на,конечник 1, заключенный в корпусе 2 головки смазочного шприца, хвостовиком 8 пропущен внутрь эластичного кольца 4. Наружной сферической поверхностью наконечник 1 примыкает к сферическому пояску 5 корпуса 2 головки и к такому жо пояску 6 установочного кольца 7, расположенного под. эластичным кольцом 4, и имеет возможность по ним вращаться.
Внутренняя поверхность наконечника 1 выполнена конической для плотного соединения с конической головкой 8 масленки. Прп таком соединении устраняется утечка смазки, поступающей по штоку 9 через клапан 10.
Предмет изобретения
1. Головка смазочного шприца, заключающая в себе подпружиненный наконечник, надеваемый на головку масленки и пропущенный хвостовиком внутрь эластичного кольца, о тли ч а ю щ а я с я тем, что наружная поверхность наконечника выполнена сферической и примыкающей к сферическим же пояскам корпуса 2 головки и установочного кольца 7, расположенного под эластичным кольцом 4.
2. Головка по п. 1, отличающ а я с я тем, что для соединения с головкой масленки внутренняя ее поверхность выполнена конической.
www.findpatent.ru
Шприц для смазки
Шприц для смазки, имеющий нагнетательную головку, контейнер, прикрепленный с возможностью съема к нагнетательной головке, соединитель, образованный на нагнетательной головке для прикрепления картриджа, который размещен в контейнере, и опору для поддержки картриджа, при этом опора расположена на контейнере в заднем концевом участке, обращенном от нагнетательной головки.
Рукояточный шприц для смазки этого типа был описан в FR 1 301 773. Нагнетательная головка включает в себя самозаправляющийся поршневой насос высокого давления, поршень которого присоединен к рукоятке, так что смазка выдавливается через выпускное отверстие под высоким давлением при повороте рукоятки относительно контейнера. Во время обратного хода поршня, когда рукоятка отворачивается от контейнера, новая смазка всасывается внутрь из картриджа. Картридж имеет трубчатый корпус, который открыт на своем заднем конце и в который направляется следящий поршень, который запирает смазку в картридже и скользит в направлении нагнетательной головки благодаря давлению всасывания, в возрастающей степени создаваемого нагнетательной головкой по мере опорожнения картриджа. На заднем участке контейнер образует опору в виде складки, в которую упирается непосредственно картридж. Положение опоры было выбрано таким образом, что она удерживает картридж в положении, в котором он входит в герметичное зацепление с нагнетательной головкой.
В DE 20 2013 102 560 U1 описан шприц для смазки, в котором картридж имеет горловинный участок, который обращен к соединителю и окружен плечиками картриджа. Выходное отверстие картриджа образовано горловинным участком, который герметично входит в соединитель нагнетающей головки.
Задачей настоящего изобретения является создание более универсального шприца для смазки.
Для решения этой задачи пружину, которая смещает картридж к нагнетательной головке, расположена между опорой и задним концом картриджа.
Это имеет то преимущество, что можно использовать картриджи различной длины, и при этом картридж будет по-прежнему входить в зацепление с нагнетательной головкой.
Полезные подробности и дополнительные варианты осуществления изобретения указаны в зависимых пунктах формулы изобретения.
В предпочтительном варианте осуществления шприц для смазки имеет поршневой шток и встроенный следящий поршень, так что шприц для смазки также может использоваться без картриджа. В одном варианте осуществления поршневой шток является съемным, так что он не мешает картриджу при эксплуатации картриджа. В другом варианте осуществления поршневой шток имеет острый наконечник, так что поршневой шток можно проколоть следящий поршень картриджа. В этом случае следящий поршень картриджа может быть проколот и затем может скользить вдоль поршневого штока, даже когда следящий поршень картриджа не имеет предварительно перфорированной точки разрыва.
В одном варианте осуществления соединитель содержит кольцевую манжету, которая окружает горловинный участок картриджа, но отстоит от него в радиальном направлении и герметично входит в зацепление с плечиками картриджа. В этом варианте осуществления картридж может быть герметично соединен с нагнетательной головкой, при этом может быть создано давление всасывания для всасывания внутрь смазки, даже когда горловинный участок картриджа не образует гладкой уплотнительной поверхности.
Теперь будут описаны примеры вариантов осуществления в сочетании с чертежами, на которых:
Фиг. 1 – вид шприца для смазки согласно изобретению;
Фиг. 2 – вид шприца для смазки с фиг. 1 в модифицированной конфигурации;
Фиг. 3 – увеличенный вид в осевом разрезе нагнетательной головки шприца для смазки в конфигурации, показанной на фиг. 1;
Фиг. 4 – вид в разрезе, аналогичный фиг. 3, но для конфигурации согласно фиг. 2;
Фиг. 5 – вид шприца для смазки в соответствии с модифицированным вариантом осуществления;
Фиг. 6 – увеличенный вид в осевом разрезе нагнетательной головки шприца для смазки, показанного на фиг. 5;
Фиг. 7 – вид шприца для смазки в соответствии с другим вариантом осуществления изобретения, с вставленным в него картриджем;
Фиг. 8 – увеличенный вид в осевом разрезе нагнетательной головки шприца для смазки, показанного на фиг. 6; и
Фиг. 9 – вид в разрезе, аналогичный фиг. 7, иллюстрирующий использование шприца для смазки с картриджем, имеющим иную конструкцию.
Шприц 10 для смазки, показанный на фиг. 1, имеет нагнетательную головку 12, к которой присоединен съемный контейнер 14, например, с помощью резьбы 16. Контейнер 14 вмещает в себя картридж 18, содержащий некоторый запас густой смазки.
Как известно в данной области техники, нагнетательная головка 12 включает в себя самозаправляющийся поршневой насос 20 высокого давления 20 (фиг. 3), который работает с помощью рукоятки 22. Когда рукоятка 22 поворачивают из положения, показанного на фиг. 1, в направлении от контейнера 14, густая смазка всасывается внутрь из картриджа 18, и когда рукоятку затем снова поворачивают в направлении приближения к контейнеру, поступившая внутрь смазка выдавливается под высоким давлением через выпускное отверстие 24 шприца для смазки.
Картридж 18 имеет трубчатый пластиковый корпус, который открыт на его переднем и заднем концах и входит в герметичное зацепление своим передним концом с плоской уплотнительной поверхностью соединителя 26, образованного в нагнетательной головке 12.
В непосредственной близости от своего заднего конца контейнер 14 имеет периферийную складку, которая образует опору 28 для пружины 30, в данном примере спиральной пружины сжатия, которая подверглась механической обработке для придания ей плоскопараллельных концевых поверхностей. Пружина 30 упирается в опору 28 и входит в зацепление с внутренней периферийной поверхностью контейнера 14 практически без зазора. Ее передний конец нажимает на открытый задний конец картриджа 18, так что передний конец картриджа смещен с определенной силой к уплотнительной поверхности соединителя 26 и тем самым входит в герметичное зацепление с этой поверхностью таким образом, чтобы создать герметичное соединение между внутренней частью картриджа и поршневым насосом 20.
Когда нужно заменить картридж 18, контейнер 14 отвинчивают от нагнетательной головки 12. Картридж 18 затем можно просто вынуть и заменить новым картриджем, заполненным смазкой. Когда затем контейнер 18 плотно насаживают на картридж и затягивают, между картриджем и поршневым насосом 20 автоматически заново устанавливается плотное соединение, даже когда длина нового картриджа отличается от длины предыдущего картриджа. Таким образом, шприц для смазки в соответствии с изобретением может быть использован с картриджами различных марок.
В показанном примере картридж 18 имеет следящий поршень 32, который выполнен в виде пластикового диска и расположен для скользящего перемещения в трубчатой части картриджа 18. Известный тип картриджей закрыт съемной крышкой на переднем конце и имеет на заднем конце многоцелевую крышку, которая закреплена на корпусе периферийной отрывной крепежной лентой. Когда крепежную ленту отрывают, многоцелевая крышка может быть использована в качестве следящего поршня 32.
При удалении передней крышки подача смазки в картридж заполняет, по существу, все пространство между соединителем 26 и следящим поршнем 32. Когда смазка всасывается из картриджа 18 под действием самозаправляющегося поршневого насоса, атмосферное давление, воздействующее на внешнюю сторону следящего поршня 32, заставляет его двигаться в сторону нагнетательной головки.
На фиг. 1 дополнительно проиллюстрирован встроенный следящий поршень, который обеспечивает другой способ использования шприца 10 для смазки, как будет объяснено со ссылкой на фиг. 2.
На фиг. 2 шприц для смазки использован без картриджа 18. Встроенный следящий поршень 34 прикреплен с возможностью съема к концу поршневого штока 36, который проходит соосно через внутреннюю часть контейнера 14 и расположен с возможностью скольжения в управляемой торцевой крышке 38 на заднем конце контейнера. Съемная ручка 40 навинчена на конец поршневого штока 36 снаружи контейнера 14.
Чтобы заполнить шприц смазкой в конфигурации, показанной на фиг. 2, контейнер 14 отвинчивают от нагнетательной головки 12, следящий поршень 34 отводят в заднее крайнее положение с помощью ручки 40 и заполняют контейнер 14 смазкой, например, в разорванном пакете. Впоследствии нагнетательную головку 12 снова навинчивают так, чтобы смазка могла всасываться в поршневой насос 20. Спиральная пружина (не показана), которая немного смещает следящий поршень 34 в направлении нагнетательной головки 12, может быть расположена в пространстве между концевой крышкой 38 и следящим поршнем 34, что способствует следящему движению поршня по мере опорожнения шприца для смазки.
Встроенный следящий поршень 34 имеет эластичное уплотнение, наружный диаметр которого регулируется, как будет объяснено позже. Таким образом, следящий поршень 34 может быть отрегулирован так, что он может опционально помещаться в контейнере 14 (см. фиг. 2) либо может помещаться и скользить в картридже 18 (фиг. 1).
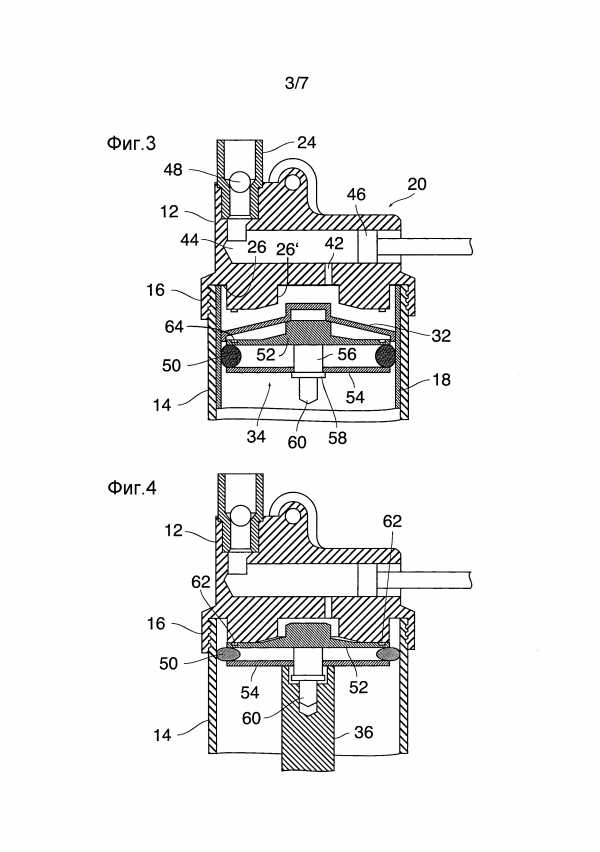
На фиг. 3 нагнетательная головка 12 и смежный конец контейнера 14 показаны в увеличенном осевом разрезе. Показанное здесь является конфигурацией в соответствии с фиг. 1 со вставленным картриджем 18, в частности состояние, в котором картридж полностью опустошен и, соответственно, следящий поршень 32 картриджа 15, а также встроенный следящий поршень 34 шприца для смазки находятся на переднем конце картриджа.
Как можно видеть на фиг. 3, соединитель 26 имеет цилиндрическую выемку 26′ внутри кольцевой уплотнительной поверхности. Канал 42 соединяет выемку 26′ с цилиндром 44, в котором поршень 46 поршневого насоса высокого давления 20 выполнен с возможностью скольжения. Когда поршень 46 перемещается вправо на фиг. 3, смазка всасывается внутрь через канал 42 и выемку 26′. Когда поршень перемещается влево за пределы положения канала 42, смазка, заключенная в цилиндре 44, выдавливается под высоким давлением через выпускное отверстие 24 и обратный клапан 48.
Встроенный следящий поршень 34 имеет периферийное эластичное сжатое уплотнение 50, расположенное между двух дисков 52, 54. Диск 54 выполнен с возможностью скольжения в осевом направлении по болту 56, который выступает от диска 52, и на фиг. 3 диск 54 входит в зацепление с манжетой 58 этого болта, так что между дисками 52 и 54 имеется максимальное расстояние, а сжатое уплотнение 50 сжимается только слегка и имеет соответственно небольшой наружный диаметр, так что следящий поршень 34 может легко перемещаться внутри картриджа 18.
На участке, выступающем за манжету 58, болт 56 образует резьбовой участок 60 с меньшим диаметром, который служит для соединения болта с поршневым штоком 36.
На фиг. 4 показан шприц для смазки в конфигурации в соответствии с фиг. 2, т.е. без картриджа 18 и без следящего поршня 32 картриджа. Здесь сжатое уплотнение 50 сжато сильнее между дисками 52 и 54 и имеет, соответственно, больший наружный диаметр, так что оно входит в герметичное зацепление с внутренней поверхностью контейнера 14. Расстояние между дисками 52 и 54 могут быть отрегулировано, как требуется при вращении поршневого штока 36 вокруг его продольной оси, тогда как механизм предотвращения закручивания предотвращает поворачивание диска 52, при этом резьбовой участок 60 болта 56 ввинчивается глубже в соответствующий резьбовой канал на конце поршневого штока 36 или вывинчивается оттуда. Механизм предотвращения закручивания активируется прижатием диска к нагнетательной головке 12 с последующим его поворачиванием до тех пор, пока кулачок 62, образованный на нагнетательной головке 12 (фиг. 4), не вступит в зацепление с соответствующей выемкой 64 (фиг. 3) в диске 52.
Таким же образом, шток 36 может также быть полностью вывинчен из болта 56, чтобы установить конфигурацию, показанную на фиг. 1 и фиг. 3. Когда шприц для смазки используется с картриджем 18 в конфигурации согласно фиг. 1 и фиг. 3 и встроенный следящий поршень 34 выталкивается к заднему концу контейнера, когда картридж вставлен, работе шприца для смазки не будет мешать поршневой шток 36, который в противном случае будет выступать на большие расстояния из заднего конца шприца для смазки.
Пример варианта осуществления, описанный выше, может быть модифицирован многими способами.
Например, соединение между картриджем и поршневым насосом 20 не обязательно должно быть образовано плоской уплотнительной поверхностью на нагнетательной головке, как показано на фиг. 3. Вместо этого нагнетательная головка может образовывать кольцевое уплотнение, которая герметизируется на периферийном крае картриджа, когда картридж прижимается к нагнетательной головке под действием пружины 30. Кроме того, можно представить себе резьбовую горловину картриджа, которая вдавливается в кольцевую канавку или в выемку 26′ нагнетательной головки.
На фиг. 5 и фиг. 6 показан шприц 10′ для смазки согласно еще одному примеру варианта осуществления. В этом варианте осуществления нет необходимости отсоединять поршневой шток в конфигурации, в которой используется картридж 18. Вместо этого шприц для смазки имеет поршневой шток 36′ с острым наконечником 66, который может прокалывать следящий поршень 32 картриджа.
Встроенный следящий поршень 34′ выполнен с возможностью скольжения на поршневом штоке 36′. Встроенный следящий поршень 34′ в этом случае образован эластичным диском, имеющим достаточную эластичность для приспособления к различным внутренним диаметрам картриджа 18 и контейнера 14.
Когда картридж 18 вставлен в цилиндрический контейнер 14 и контейнер привинчен к нагнетательной головке 12, легкий удар по ручке 40 заставляет наконечник 66 проколоть следящий поршень 32 картриджа. Во всех коммерческих картриджах следящий поршень образован сравнительно тонким пластиковым диском, который можно проткнуть таким образом, что не требует ослабления или номинальной точки разрыва в следящем поршне 32. Тогда поршневой шток 36′ полностью вставляют, пока наконечник 66 не войдет в соответствующую выемку 68 нагнетательной головки, как это было показано на фиг. 6.
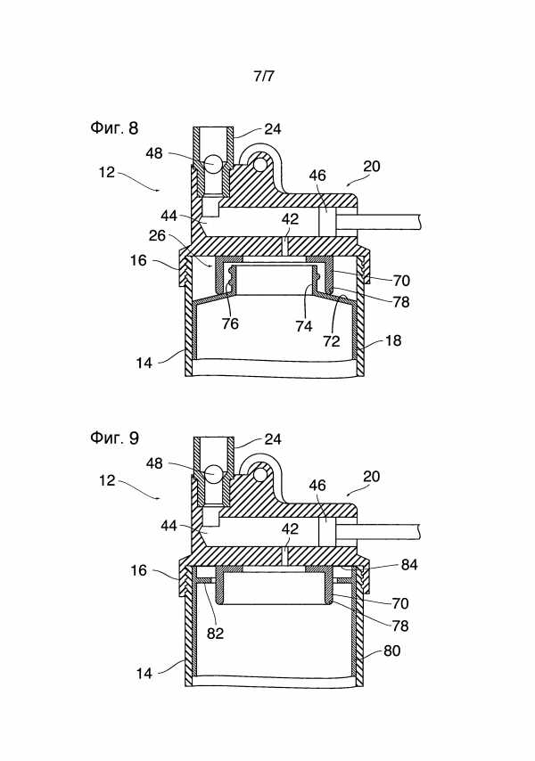
На фиг. 7 показан пример шприца 10” для смазки, который отличается от шприца для смазки, показанного на фиг. 1 в конструкции соединителя 26. Нагнетательная головка 12 и смежный конец контейнера 14 показаны в увеличенном виде в разрезе на фиг. 8. Соединитель 26 содержит кольцевую манжету 70, прикрепленную к нагнетательной головке 12 посредством клея или посадки с натягом.
Картридж 18 на конце, обращенном к нагнетательной головке 12, образует периферийный конический плечик 72, сужающийся к цилиндрическому горловинному участку 74, который образует выходное отверстие картриджа. Горловинный участок 74 имеет наружную резьбу 76, которая, когда картридж используется в сочетании с определенными типами шприцов для смазки, обеспечивает навинчивание горловинного участка на резьбовой соединитель нагнетательной головки. Длина (предпочтительно более 10 мм) и диаметр (предпочтительно более 30 мм) манжеты 70 были выбраны так, чтобы манжета могла полностью вместить горловинный участок 74 и окружить его с радиальным зазором. Таким образом, соединение газонепроницаемое соединение между поршневым насосом 20 и картриджем 18 устанавливается посредством зацепления закругленного обода 77 манжеты 70 с плечиком 72. Обод 78, который также может быть выполнен в виде ножевого края, находится в контакте с плечиком 72 только вдоль круговой линии соприкосновения. Это позволяет плотно соединить картридж с нагнетательной головкой даже в случае, когда периферийный обод в картриджах на конце горловинного участка 44 не является гладким и имеет, например, зазоры или выемки. Пружина 30 обеспечивает прижимание картриджа к манжете 70 с достаточной силой. Поскольку между наружной резьбой 76 горловинного участка и манжетой 70 имеется радиальный зазор, сопротивление трению не будет уменьшать силу, с которой картридж прижимается к манжете.
Нагнетательная головка 12, показанная на фиг. 8, может использоваться не только с картриджами того типа, что показаны на фиг. 8, но также может объединяться с различными другими типами картриджей.
На фиг. 9 показана нагнетательная головка в сочетании с картриджем 80, имеющим другую конструкцию, который вместо горловинного участка и плечиков имеет концевую стенку 82, которая слегка утоплена от обода картриджа. Концевая стенка образует выходное отверстие с диаметром 36 или 37,5 мм. Наружный диаметр манжеты 70 меньше 35 мм, так что манжета может выступать через выходное отверстие. В этом случае уплотнительный эффект достигается зацеплением внешней окружности картриджа на гладкой уплотнительной поверхности 84, образованной радиально наружу от манжеты 70.








edrid.ru
Классификация и применение шприца для смазки: фото- и видеообзор
Доброго времени суток! Пришло время смазать крестовины в своем авто, но никак не могу определиться, как лучше это сделать. Друзья посоветовали воспользоваться шприцем, но я никогда раньше с таким не сталкивался. Подскажите, пожалуйста, какой лучше выбрать шприц для смазки, чтобы им удобно было работать? (Егор Полищук).
Здравствуйте, Егор. Здесь дело больше в выборе насадки, которой нужно достать до тавотницы на крестовине. Сам пистолет, в принципе, можно выбрать любой, но на практике автолюбители чаще всего эксплуатируют плунжерный шприц. Предлагаем вам ознакомиться с материалом, чтобы определиться в выборе непосредственно шприца.
Плунжерный ШС черного цветаСодержание
[ Раскрыть]
[ Скрыть]
Сфера применения
Шприцы для смазки используются в целях смазывания в относительно малых объемах к различным агрегатам и узлам транспортного средства, которые функционируют с вероятностью повышенного износа.
В последнее время шприц для консистентной смазки часто используется владельцами транспортных средств с целью замены моторной жидкости в машине. Во-первых, с помощью такого устройства смазывающий расходный материал попадает в двигатель под давлением, что позволяет качественно смазать все узлы и компоненты системы ДВС. Во-вторых, эксплуатируя шприц для смазки (далее — ШС), вы меньше разольете жидкости при заливе через горловину.
Также такие устройства часто используются для смазывания подшипников. Нашим автомобилистам уже давно известно, что основной причиной поломки подшипников является неправильное смазывание элементов. Разумеется, важную роль при этом играет непосредственно выбор расходного материала, поскольку характеристики вещества должны соответствовать условиям эксплуатации подшипников. Однако немаловажную роль играет и выбор инструментов для смазки, а также хранения вещества.
Пневматический ШС в разобранном видеПо своей конструкции и приводу такие ШС можно разделить на два вида:
- Механические. Такие устройства относительно просты в эксплуатации. Чтобы смазать какой-либо компонент, необходимо залить в него расходный материал и несколько раз нажать на ручку ШС. В свою очередь, механические шприцы разделяются по свойствам. В частности, речь идет об объеме бака и рабочем давлении. Объем указывает, на сколько времени хватит вещества, залитого в ШС. Давление напрямую влияет на интенсивность подачи вещества. то есть, чем больше показатель давления, тем мощнее будет струя смазки.
Шприц автомобильный FIT, металлический, 100 г купить по выгодной цене в интернет-магазине Ozon.ru Шприц автомобильный FIT, 500 мл купить по выгодной цене в интернет-магазине Ozon.ru  - Пневматические. Такие устройства оборудованы воздушным компрессором, что позволяет им функционировать на сжатом воздухе. Подобные ШС более удобны, поскольку автомобилисту не нужно прикладывать усилия для смазки элементов и узлов. На практике такие ШС часто используются на станциях техобслуживания авто, поскольку они позволяют оперативно и в больших количествах смазывать элементы транспортного средства. Между собой они могут различаться по показателю рабочего давления, скорости подачи смазывающего материала, а также по весу устройств.
 
Классификация
Помимо видов шприцы для смазки могут различаться и по классификациям.
Кроме того, они могут кардинально различаться между собой по стоимости, поэтому давать совет какой конкретной приобретать шприц мы не можем. Рассмотрим каждый тип и его характеристики.
Плунжерный
Предназначение такого ШС заключается в перекачке смазочных веществ. Корпус устройства выполнен подвижным относительно трубки, которая оснащена неподвижным поршнем и всасывающим элементом. Это дает возможность снизить угол прокачки рычага.
Схема плунжерного ШСКорпус устройства проходит по трубке. На одном торце трубки, который входит в корпус, установлен неподвижный поршень. Цилиндрическое устройство высокого давления выполнено в головке, которая установлена на другом конце штока. На конце ШС (цифра 8) установлен цилиндр высокого давления. Он оборудован всасывающим и нагнетательным клапанами. Непосредственно на самой головке устройства расположен рычажно-плунжерный механизм и наконечник.
Полость корпуса заполняется смазывающим веществом. При работе шприца наконечник прижимается к масленке и начинается подача вещества в цилиндр высокого давления во время нажатия на кнопку.
Плунжерный ШС выполнен в виде корпуса, заполняемого смазкой, и плунжерного насоса высокого давления, в цилиндр которого поступает смазывающий материал. С целью упрощения конструкции ШС и уменьшения угла клапана рычага, корпус элемента выполнен перемещающимся относительно штока трубки. Кроме того, цилиндр высокого давления оборудован всасывающим клапаном.
Загрузка …В зависимости от производства СШ может быть также оснащен дополнительными комплектующими элементами. Такие шприцы, как правило, пригодны для заправки смазывающими материалами с классом вязкости до NLGI 2.
Электрический
Электрический ШС с чемоданомКак вы поняли, предназначение у ШС такое же, разница заключается в его конструкции. Электрический ШС оборудован аккумуляторной батареей, так что для его работы аккумулятор всегда должен быть заряжен.
В зависимости от производителя характеристики устройства могут различаться между собой, но в среднем мощность батареи составляет 18 Вт. Время зарядки аккумулятора также может различаться, однако, в среднем оно составляет около одного часа. Если вы решили приобрести такой ШС, то нелишним будет обратить внимание на его комплектацию. Для большего удобства вы можете приобрести устройство с проводом питания от машинной АКБ, то есть работать оно будет от прикуривателя.
Винтовой
Винтовой прозрачный ШСВинтовой ШС предназначен для таких же целей, как и предыдущие два варианта. Однако, применяется он не для шариковых масленок, а для смазки резьбовых соединений и отверстий. Для этого в конструкции ШС предусмотрен специальный штуцер.
Передняя часть элемента оснащена наконечником с внутренней резьбой, которая необходима для подсоединения к штуцеру. Давление внутри конструкции достигается путем ввинчивания болта с поршнем в корпус элемента. При смазывании конструкция болт откручивается, а на его место устанавливается штуцер, через который при помощи шприца продавливается смазочный материал.
Пневматический
Пневматический ШС также используется для смазки различных конструкций и узлов. Само название «пневматический» подразумевает использование автоматического привода в конструкции. Устройство оборудовано пистолетом, нажимая на курок которого вы можете выдавить смазку.

Что касается технических характеристик устройства. Они могут незначительно отличаться в зависимости от изготовителя ШС, но в среднем они будут следующими:
- давление привода составляет от 2.6 до 10.3 бар;
 - передаточный показатель — 40 к 1;
 - давление смазки во время работы составляет 414 бар;
 - производительность устройства составляет около 0.62 см3 за ход подачи;
 - объем емкости в среднем составляет 450 см3;
 - рабочая температура может варьироваться от -20 до +50 градусов;
 - вес устройства составляет около 2 кг.
 
Видео «Как в ШС добавить смазку из тубы»
В этом видео автор показывает, как в обычный плунжерный шприц добавить смазку из тубы.
avtozam.com
Головка смазочного шприца для прессмасленок
ОП ИСАНИЕ
ИЗОБРЕТЕ Н ИЯ
К АВТОРСКОМУ СВИДЕТЕЛЬСТВУ
Союз Советскии
Социалистических
Республик (11) 607 О90 (61) Дополнительное к авт. свид-ву№ 493590 (22) Заявлено 06.12.76 (21)242647 1/25-08 с присоединением заявки № (23) Приоритет (43) Опубликовано 15.05.7 8. Бюллетень №1 (45) Дата опубликования описаниями,O,Q4. ©. (51) М. Кл.
F 16 N 5/02
Гасударственный комитет
Совета Министров СССР по делам изобретений н открытий (53) УДК 621. 89 (088. 8) (72) Автор изобретения
В. А. Серов (71) 3а я в и тель (54) ГОЛОВКА СМАЗОЧНОГО ШПРИЦА
ДЛЯ ПРЕСС-МАСЛЕНОК
Фор,ну.га иаооретения
Изобретение относится к машиностроению.
По основному авт. св. ¹ 493590 известна
inловка смазочного шприца для пресс-масленок, на внутренней поверхности корпуса которой в области цанговых лепестков выполнена дополнительная полость конусообразной формы, а па наконечнике — упоры под цанговые лепестки для фиксации пресс-масленки при сc присоединении к головке шприца.
Однако при эксплуатации известной головки часть смазки выдавливается через зазоры между головкой масленки, гнездом наконечника и через прорези цанговых лепестков и не попадает на узлы трения. При этом появляется необходимость удаления с масленок подтеков масла.
Цель изобретения — исключение потерь смазочных материалов и повышение производитель ности труда.
Это достигается тем, что цанговыс лепестки предлагаемой головки смазочного шприца футерованы эластичным материалом, например резиной, что обеспечивает плотное соединение прп установке головки шприца на прессм асленку.
На фиг. изображена предлагаемая головка; на фиг. 2 — разрез А — А фиг. !.
Головка смазочного шприца содержит корпус !. наконечник 2 с цанговыми лепестками 3, футерованHhDIH эластичным маслостойким материалом 4, например резиной, кольцо 5 уплотнения и пружину 6 сжатия.
Головка работает следующим образом.
При совмещении шприца с пресс-масленкой и при дальнейшем надавливании в осевом направлении подпружиненный наконечник 2 утапливается. Коническая поверхность корпуса головки при этом воздействует на коническую поверхность лепестков 3, плотно фиксируя их на пресс-масленке.
Использование предлагаемой головки позволяет сократить до минимума потери смазочного материала.
Головка смазочного шприца для пресс-масленок iio авт. св. № 493590, от,гичающаяся тем, что, с целью исключения потерь смазочного материала, цанговые лепестки выполнены
25 с эластичной футеровкой.
607090 ааг 2 фиг 1
Составитель В. Гришков
Техред О. Луговая Корректор А. Гриценко
Тираж 1198 Подп ис ное
Редактор Е. Яковчик
Заказ 2566 29
Ш1ИИПИ Государств HHol комнтгяа Совета Минисгров СССР по дела ч изобретении н открытий
113035, Москва, Ж-35, Раушская наб., д. 415
Филиал Г!ПП «Патент», г. Ужгород, ул. Проектная, 4
www.findpatent.ru
Как правильно пользоваться шприцом для смазки видео
Mitsubishi Pajero Sport 4D56, АКПП, “Облако”. › Бортжурнал › Шприцевание крестовин для Чайников
Долго сомневался прежде, чем решил опубликовать эту запись. Да ладно, от насмешек знатоков не помру, и камни виртуальные – не больно :), зато кто-нибудь еще станет сам делать эту простую, но полезную процедуру.
То, что в нашем автомобиле есть карданные передачи и крестовины я знал. То, что их надо смазывать – тоже (по сервисной книжке на каждом ТО). Даже лет 40 с лишним назад видел у отца в гараже шприц, однако рычажно-плунжерный (как звучит!). Полистав БЖ товарищей DiskMan , 777crash , SY25 (им отдельное спасибо) окончательно созрел. Итак…
Инструмент. Витрина со шприцами в автомагазине поразила их количеством и разнообразием. Изумленный я переместился в отдел ГСМ, где сходу приобрел подходящую по названию смазку (думается не дешевую, примерно 350р.). Дальше было проще, т.к. смазка оказалась в тубе, то купил соответственно и шприц для туб (с жабой удалось договориться примерно на 650р.). Кстати, можно иметь несколько туб с разной смазкой и использовать по мере необходимости, переставляя.
В комплекте шприца: наконечник (одевается на наши масленки), конический наконечник, металлическая трубка и гибкий шланг.
Заправка шприца смазкой.
Открутить цилиндр шприца, снять крышку тубы, вставить тубу по стрелке в шприц, …
открыть тубу, потянув за колечко (у меня оно оторвалось, заканчивал пассатижами), …
закрутить цилиндр обратно, прикрутить шланг и наконечник (если пальцы не железные, то лучше ключами, иначе смазка будет лезть в эти соединения), покачать пока не полезет смазка – шприц готов к работе.
Всего крестовин – три (показаны стрелками).
Чтобы до них добраться снял задний лист защиты и приопустил передний.
Чтобы не разбирать узел для смазки придумали пресс-масленки: корпус с конической резьбой, в нем клапан (подпружиненный шарик).
Начал я с задней, как самой удобной. На заднем валу масленки Г-образной формы располагаются по середине крестовин. Масленка нашлась под слоем грязи, причем в удачном положении для шприцевания.
Надел наконечник шприца (туго) и довольно долго качал, пока не вылезла старая (весьма вонючая) черная смазка, и полезла новая.
Отличить их оказалось совсем не трудно. Закрались подозрения, что ОД до сюда не добирался. Вытер вылезшую гадость и продолжил.
Средняя масленка встала не так удачно: приподнял заднее колесо (передача нейтральная) и повернул вал (руками) до нужного положения. В остальном – тоже.
Передняя масленка – прямая и находится между лучами крестовины, встала тоже удачно (иначе надо было бы поднять переднее колесо).
Тут меня ждала засада: узел размером поменьше заднего и наконечник не входит. Читал об этом, но забыл. Как и положено, наждак оказался на огороде (*даче*) и пришлось минут 10 шкрябать напильником, благо сталь оказалась достаточно податливой :).
Но хуже другое: старой смазки вылезло совсем мало, зато кусок смазки был прилеплен сбоку (там, где на фото блестящая железка), похоже еще на заводе мимо крестовины пролетел и был доблестно покрыт антикором у ОД :(.
Подозрения, что ОД до сюда не добирался, переросли в уверенность.
На *обратном пути* смазал графиткой болты крепления защиты (открутились легко, но для профилактики).
P.S. Работа не трудная, не долгая, не затратная (тубы хватит раза на три) – можно делать, например, при каждой замене масла (или еще когда защита снимается, а стоковая может быть и вообще не помешает).
P.P.S. Добавление: колпачки для пресс-масленок есть в природе и в продаже, например здесь
Спасибо за внимание!
Цена вопроса: 1 000 ₽ Пробег: 59300 км
Mitsubishi Pajero Sport 2013, двигатель дизельный 2.5 л., 178 л. с., полный привод, автоматическая коробка передач — самостоятельный ремонт
Комментарии 61
Добрый день, такой же шприц, но не могу никак добиться чтобы поршень вошел в тубу. Делали что то с манжетой?
Добрый. С манжетой ничего не делал, как-то вошла не задумываясь 🙂
В велосипедном детстве манжету пальцем подправляли, может и здесь получится?
Не получится;))) рука сквозь тубу не пролазит ;))) детство с тонкими руками тоже позади
Имелось ввиду, открутив верхнюю крышку 🙂
Именно так все и есть. Надевается туго, но держит. Думаю твоим Нивовским способом тоже можно, если шприц сохранил.
Виктор! Привет! У меня вопрос.
Тоже надо прокачать крестовины смазкой. Ты это хорошо описываешь. У меня вопрос. У нас торчит из крестовины маслёнка( клапан с шариком и пружиной). Как у тебя устроен наконечник шприца? Он что, защёлкивается на маслёнке? и когда ты накачиваешь смазку появляется сильное давление., и наконечник не слетает с маслёнки? Раньше, давно, я на своей “Ниве” выкручивал саму маслёнку и на её место, на резьбу, накручивал ниппель со шлангом от шприца
Теперь, можно купить маслёнку со спецзащёлкой на маслёнку и не выкручивать ни чего ?
а это, вот наконечник сам для масленки, они получается разные? угадать методом тыка или есть какаянить цифирь чтобы в магазине сказать?
тот наконечник который с моим шприцом шел не надевается плотно — соответственно и не давится куда надо
наконечник довольно туго садится, может не дожимаешь?
размер похоже унифицированный.
странно, там дожимать уже не куда вроде, полезу аморты менять погляжу
а есть шприцы чтоб не подтачивать ?
Наверное есть, их много в продаже — можно сравнить прямо в магазине.
Спасибо. Я солидолом помазал. Теперь осень и зима перемазывать буду))
Полезно. Спасибо! И я в копилку заберу.
Спасибо! в закладки!
Я вот такое чудо прикупил, круть ваще ! Только не по такой цене.
А он только от компрессора работает или можно ручками тоже покачать?
И откомпрессора и от Беркута, который стоит под капотом.
А он только от компрессора работает или можно ручками тоже покачать?
ИМХО, эта приблуда для сервисных станций. для частного пользования из расчета 3 крестовины пару раз в год (а то и реже)- не оправдана…:-)
Шприц понравился. И 650р, очень не дорого, зная сколько стоят простенькие TOYA. И для туб удобно.
Смазка по цвету напоминает ЛИТОЛ, вполне возможно он и есть только от фирмы ЛиквиМоли. Я кстати нашим шприцую, не столько из-за экономии, сколько, потому что был и лучше дегевым литолом и регулярно, чем самой дорогой смазкой и никогда )
А вот с карданом, у первого поколения спортов попроще. У нас на заведеном двигателе пневмохаб отключается и кардан крутится руками свободно. Правда когда я шприцевал, пневмохаб был отключен ))), пришлось включить. А так, как вариант на нейтраль и толкнуть авто ногами. Лежа рядом. Там надо на несколько см. Ну или поддомкратить, как и описано.
Сам по себе пост хоть и не уникален, но чем чаще будут люди читать о этой процедуре, тем больше вероятность что они пойдут и прошприцуют авто, чем потом менять крестовины. Так что правильно что написал.
Источник: http://www.drive2.ru/l/7605900/
Зачем необходим шприц для смазки?
Доброго времени суток! Пришло время смазать крестовины в своем авто, но никак не могу определиться, как лучше это сделать. Друзья посоветовали воспользоваться шприцем, но я никогда раньше с таким не сталкивался. Подскажите, пожалуйста, какой лучше выбрать шприц для смазки, чтобы им удобно было работать? (Егор Полищук).
Здравствуйте, Егор. Здесь дело больше в выборе насадки, которой нужно достать до тавотницы на крестовине. Сам пистолет, в принципе, можно выбрать любой, но на практике автолюбители чаще всего эксплуатируют плунжерный шприц. Предлагаем вам ознакомиться с материалом, чтобы определиться в выборе непосредственно шприца.
Плунжерный ШС черного цвета
Сфера применения
Шприцы для смазки используются в целях смазывания в относительно малых объемах к различным агрегатам и узлам транспортного средства, которые функционируют с вероятностью повышенного износа.
В последнее время шприц для консистентной смазки часто используется владельцами транспортных средств с целью замены моторной жидкости в машине. Во-первых, с помощью такого устройства смазывающий расходный материал попадает в двигатель под давлением, что позволяет качественно смазать все узлы и компоненты системы ДВС. Во-вторых, эксплуатируя шприц для смазки (далее — ШС), вы меньше разольете жидкости при заливе через горловину.
Также такие устройства часто используются для смазывания подшипников. Нашим автомобилистам уже давно известно, что основной причиной поломки подшипников является неправильное смазывание элементов. Разумеется, важную роль при этом играет непосредственно выбор расходного материала, поскольку характеристики вещества должны соответствовать условиям эксплуатации подшипников. Однако немаловажную роль играет и выбор инструментов для смазки, а также хранения вещества.
Пневматический ШС в разобранном виде
По своей конструкции и приводу такие ШС можно разделить на два вида:
- Механические. Такие устройства относительно просты в эксплуатации. Чтобы смазать какой-либо компонент, необходимо залить в него расходный материал и несколько раз нажать на ручку ШС. В свою очередь, механические шприцы разделяются по свойствам. В частности, речь идет об объеме бака и рабочем давлении. Объем указывает, на сколько времени хватит вещества, залитого в ШС. Давление напрямую влияет на интенсивность подачи вещества. то есть, чем больше показатель давления, тем мощнее будет струя смазки.
 
Классификация
Помимо видов шприцы для смазки могут различаться и по классификациям.
Кроме того, они могут кардинально различаться между собой по стоимости, поэтому давать совет какой конкретной приобретать шприц мы не можем. Рассмотрим каждый тип и его характеристики.
Плунжерный
Предназначение такого ШС заключается в перекачке смазочных веществ. Корпус устройства выполнен подвижным относительно трубки, которая оснащена неподвижным поршнем и всасывающим элементом. Это дает возможность снизить угол прокачки рычага.
Схема плунжерного ШС
Корпус устройства проходит по трубке. На одном торце трубки, который входит в корпус, установлен неподвижный поршень. Цилиндрическое устройство высокого давления выполнено в головке, которая установлена на другом конце штока. На конце ШС (цифра 8) установлен цилиндр высокого давления. Он оборудован всасывающим и нагнетательным клапанами. Непосредственно на самой головке устройства расположен рычажно-плунжерный механизм и наконечник.
Полость корпуса заполняется смазывающим веществом. При работе шприца наконечник прижимается к масленке и начинается подача вещества в цилиндр высокого давления во время нажатия на кнопку.
Плунжерный ШС выполнен в виде корпуса, заполняемого смазкой, и плунжерного насоса высокого давления, в цилиндр которого поступает смазывающий материал. С целью упрощения конструкции ШС и уменьшения угла клапана рычага, корпус элемента выполнен перемещающимся относительно штока трубки. Кроме того, цилиндр высокого давления оборудован всасывающим клапаном.
В зависимости от производства СШ может быть также оснащен дополнительными комплектующими элементами. Такие шприцы, как правило, пригодны для заправки смазывающими материалами с классом вязкости до NLGI 2.
Электрический
Как вы поняли, предназначение у ШС такое же, разница заключается в его конструкции. Электрический ШС оборудован аккумуляторной батареей, так что для его работы аккумулятор всегда должен быть заряжен.
В зависимости от производителя характеристики устройства могут различаться между собой, но в среднем мощность батареи составляет 18 Вт. Время зарядки аккумулятора также может различаться, однако, в среднем оно составляет около одного часа. Если вы решили приобрести такой ШС, то нелишним будет обратить внимание на его комплектацию. Для большего удобства вы можете приобрести устройство с проводом питания от машинной АКБ, то есть работать оно будет от прикуривателя.
Винтовой ШС предназначен для таких же целей, как и предыдущие два варианта. Однако, применяется он не для шариковых масленок, а для смазки резьбовых соединений и отверстий. Для этого в конструкции ШС предусмотрен специальный штуцер.
Передняя часть элемента оснащена наконечником с внутренней резьбой, которая необходима для подсоединения к штуцеру. Давление внутри конструкции достигается путем ввинчивания болта с поршнем в корпус элемента. При смазывании конструкция болт откручивается, а на его место устанавливается штуцер, через который при помощи шприца продавливается смазочный материал.
Пневматический
Пневматический ШС также используется для смазки различных конструкций и узлов. Само название «пневматический» подразумевает использование автоматического привода в конструкции. Устройство оборудовано пистолетом, нажимая на курок которого вы можете выдавить смазку.
Что касается технических характеристик устройства. Они могут незначительно отличаться в зависимости от изготовителя ШС, но в среднем они будут следующими:
- давление привода составляет от 2.6 до 10.3 бар;
 - передаточный показатель — 40 к 1;
 - давление смазки во время работы составляет 414 бар;
 - производительность устройства составляет около 0.62 см3 за ход подачи;
 - объем емкости в среднем составляет 450 см3;
 - рабочая температура может варьироваться от -20 до +50 градусов;
 - вес устройства составляет около 2 кг.
 
Видео от Александра Потапова «Как в ШС добавить смазку из тубы»
В этом видео автор показывает, как в обычный плунжерный шприц добавить смазку из тубы.
Все о замере показателя давления в гидроусилителе руля в домашних условиях
Секреты выбора и замены масла на Митсубиси Лансере
Скрип шаровой опоры, его последствия и способы ликвидации
Комментарии и отзывы


Иван Иванович Баранов
Опыт работы на СТО:
Посмотреть все ответы
Avtozam.com — ваш помощник в ремонте и обслуживании авто
Использование вами данного веб-сайта означает ваше согласие с тем, что вы используете его на свой страх и риск.
Источник: http://avtozam.com/help/shprits-dlya-smazki/
Как пользоваться шприцем для смазки?
- Как пользоваться шприцем для смазки?
 - Как заполнить шприц с картриджем?
 - Как правильно смазывать элементы?
 - Виды шприцов для смазки
 
Смазочные шприцы применяются для заполнения смазкой подвижных механических элементов. Хорошо смазанные двигающиеся элементы облегчают работу механизмов, тем самым увеличивая срок их эксплуатации. Смазочную консистенцию можно найти в любых строительных магазинах либо в магазинах автомобильных запчастей. Процесс заполнения шприца неопрятный, но несложный, независимо от его устройства.
Как заполнить шприц с картриджем?
Для этого необходимо выполнить следующие действия:
1. Откручиваем крышку шприца. Шприцы с картриджем состоят из двух главных элементов: картридж со смазочным материалом и крышка с соплом, через которое поступает смазка. Чтобы достать картридж, чаще всего нужно одновременно крутить крышку по часовой стрелке, а шприц крутить против часовой стрелки. Открутить крышку порой сложно, поэтому необходимо прилагать усилия.
2. Вытягиваем металлический шток. Посередине корпуса, где находится картридж, напротив крышки с соплом, расположен шток с поршнем. Он давит на картридж и выдавливает наружу смазку. Шток вытягиваем до выхода его из корпуса. В некоторых моделях шприцев при вытягивании штока автоматически извлекается картридж. В зависимости от количества смазки, находящейся внутри картриджа, он может выйти наполовину или полностью. Перед извлеканием картриджа шток необходимо зафиксировать.
3. Фиксируем шток и вынимаем картридж. Зачастую, чтобы достать картридж, необходимо шток отодвинуть в специальный паз в корпусе, чтобы он не двигался. В некоторых пистолетах на штоке есть защелка. А в конце корпуса имеется пластинка, которая его освобождает и даёт возможность двигаться. Когда шток был зафиксирован, можно извлечь картридж и его выбросить.
4. Производим подготовку к установке нового картриджа со смазочным материалом. Стандартные размеры картриджей – это 414 мл и 473 мл. Перед установкой хорошо протираем шприц. Конец корпуса тоже протираем любой ветошью. Это нужно для того, чтобы убрать излишки смазки, выдавившиеся при извлекании картриджа.
5. Перед установкой элемента снимаем с него колпачок, чтобы не было препятствий для выхода смазки. Картриджи со смазкой советуют хранить вверх ногами. Только в таком положении картриджа смазка будет находиться в необходимом месте, у сопла. Если вы хранили картридж не так, то перед использованием его нужно несколько раз хорошенько встряхнуть, чтобы смазка оказалась в нужном месте.
6. Вставляем картридж назад в корпус шприца. Устанавливаем его вперед тем концом, где был пластмассовый колпачок. Полностью картридж вставляем в шприц таким образом, чтобы конец картриджа с пломбой сошелся с концом корпуса шприца. Убираем металлическую пломбу с конца картриджа и ее выбрасываем.
7. Закручиваем назад крышку корпуса шприца. Сильно закручивать не стоит. Освобождаем шток с поршнем из заблокированного положения и вдавливаем его в корпус, в это же время надавливаем и на рукоятку на сопле шприца. После того как начнет выходить смазка из сопла, прекращаем давить на рукоятку. Это необходимо для выхода воздуха из шприца. Только после этого можно пользоваться устройством. Крышку и корпус шприца закручиваем одновременно. Для проверки надавливаем на шток с поршнем, чтобы убедиться, что есть взаимодействие с новым картриджем. Затем жмем на рукоятку и смотрим, выходит ли смазка.
Для заполнения шприца с резервуаром необходимо провести следующие манипуляции:
• Снимаем головку шприца с корпуса. В случае наличия смазки в большой емкости, заполнение шприца будет более эффективным. Сначала откручиваем голову от корпуса шприца. Голова – это часть с рукояткой и трубкой-аппликатором. Откручиваем их от шприца и отделяем от корпуса. Необходимо убедиться, что рукоятка с задней части шприца, которая и есть рукоятка штока, до конца вдавлена внутрь шприца. В противном случае может произойти засасывание смазки в шприц во время наполнения.
• Затем необходимо вставить открытый конец корпуса в емкость со смазочным материалом. Удерживая шприц в этой емкости, не спеша потяните шток к себе, чтобы корпус наполнился смазкой. Такие емкости можно купить в магазинах или на рынке.
• Достаем шприц из емкости со смазкой. При полностью вытянутом наружу штоке с поршнем, достаем открытый конец корпуса из смазки. Несколько раз поворачиваем его, чтобы снять прилипшую смазку. Если на корпусе шприца имеются следы смазки, то вытираем их тряпкой.
• К корпусу прикрепляем голову шприца. Каждая модель шприца устроена по-своему. На одних прикручивается голова, а на других сопло. И в том, и в другом случае их нужно закрутить, пока они не состыкуются.
• Проверяем проделанную работу. Нажимаем на рукоятку штока и надавливаем на рукоятку либо курок шприца до тех пор, пока смазка не выйдет из трубки-аппликатора. Излишки смазки нужно удалить. А шприц вытереть тряпкой и подготовить его к использованию.
• Если на вашем шприце есть защелка на штоке во втянутом положении, то нажимать на освобождающую пластинку не нужно до того момента, пока голова и корпус не будут соединены. У штока имеется сжатая пружина, и она тут же выскочит вперед.
• Когда вы удалите металлическую пломбу, на конце нового картриджа будут острые края.
Как правильно смазывать элементы?
Каждый шприц состоит из рукояти, емкости для смазки, рукояти плунжера, задней крышки и трубки либо шланга. Наполненный картридж, установленный в шприце, с помощью надавливания плунжера выдает нужное количество смазки через трубку либо шланг.
Виды шприцов для смазки
Если учитывать конструкцию шприца и его привод, то шприцы бывают двух типов:
• Механические. Пользоваться такими шприцами очень легко. Для смазывания любого элемента в автомобиле нужно наполнить смазкой пистолет и надавить несколько раз на рукоятку. Механические устройства подразделяются на несколько подклассов. Речь идет о рабочем давлении и объеме бачка для смазки. Цифра, обозначающая объём, скажет о том, на сколько хватит смазки, находящейся в шприце. А на интенсивность смазки влияет давление, что значит, чем больше давление, тем интенсивнее будет струя смазки.
• Пневматические. В таком шприце имеется воздушный компрессор, который позволяет ему использовать сжатый воздух для работы. Пневматический пистолет удобнее в эксплуатации, чем механический. Это удобство заключается в том, что владельцу авто не нужно прикладывать никакого труда при работе с ним. Такие устройства очень часто используют специалисты на СТО. Различия между пневматическими шприцами могут быть в скорости подачи смазки, в рабочем давлении и в весе.
По методу подачи смазочного материала устройства бывают:
• Плунжерные. Такой пистолет нужен для перекачки смазки. У него корпус сделан подвижно относительно трубки. В этой трубке расположены неподвижный поршень и всасывающая деталь. Именно поэтому снижается угол прокачки рычага. Трубка проходит по корпусу плунжерного шприца. Один конец трубки находится внутри корпуса, там же находится неподвижный поршень.
А на другом конце расположена головка, в которой есть цилиндрическое устройство высокого давления. На конце шприца есть цилиндр высокого давления. В нем находятся нагнетательный и всасывающий клапаны. На головке устройства имеется рычажно-плунжерный механизм с наконечником. В емкость корпуса необходимо залить смазочный материал. Когда шприц приводится в действие, наконечник подходит к масленке, и затем смазка подается в цилиндр высокого давления.
• Электрические. В устройстве такого шприца имеется аккумуляторная батарея. Благодаря ей шприц работает. Чаще всего мощность этой батареи составляет 18 Вт. Для того чтобы зарядить аккумулятор, хватает одного часа. При покупке такого шприца стоит обратить внимание на модели, которые могут заряжаться от прикуривателя. Они считаются самыми удобными.
• Винтовые. Такие шприцы применяют для обработки резьбы и отверстий. Для более удобного использования шприц оборудован особым штуцером. На шприце спереди имеется наконечник с внутренней резьбой, необходимой для присоединения к штуцеру. Давление внутри устройства создается благодаря тому, что в корпус ввинчивается болт с поршнем. При смазывании, болт можно выкрутить, и взамен поставить штуцер, через который будет проходить смазка.
• Пневматические. Такие устройства применяются для смазки разных узлов и конструкций. В таком шприце имеется пистолет, через который при нажатии на курок выходит смазочный материал.
Подписывайтесь на наши ленты в Facebook, Вконтакте и Instagram: все самые интересные автомобильные события в одном месте.
Вам также может быть интересно
Гройсман рассказал о новых мерах безопасности на дорогах
Volvo планирует начать производство электрического грузовика в 2019 году
Новый Volvo V60 попал в объективы фотокамер
Обновленный Honda HR-V готовится к дебюту
- © 2018 Auto.Today
 - [email protected]
 - Конфиденциальность
 - Реклама на сайте
 - Редакция
 
Использование любых материалов, размещенных на сайте, разрешается при условии ссылки на auto.today
Редакция портала может не разделять мнение автора и не несет ответственности за авторские материалы, за достоверность и содержание рекламы
Источник: http://auto.today/bok/3870-kak-polzovatsya-shpricem-dlya-smazki.html
akakpravilno.ru

Все о замере показателя давления в гидроусилителе руля в домашних условиях
Секреты выбора и замены масла на Митсубиси Лансере
Скрип шаровой опоры, его последствия и способы ликвидации
Добавить комментарий