Гидронасос это – “Гидропривод. Гидронасос Устройство, предназначенное для передачи жидкости энергии сжатием Гидромотор Это устройство, предназначенное для преобразования.”. Скачать бесплатно и без регистрации.
Гидронасосы:общие сведенья,основные параметры,классификация
Гидронасос всасывает рабочую жидкость из бака и перекачивает ее по гидравлическим трубопроводам гидросистемы к исполнительным механизмам – гидроцилиндрам или гидромоторам, которые осуществляют перемещение рабочих органов машин. Насос приводится во вращение чаще всего электродвигателем, а на подвижных установках – двигатели внутреннего сгорания.
Если жидкость не встречает на своем пути значительного сопротивления, то давления жидкости не будет, но как только такое сопротивление появится, насос начнет повышать давление в ней до тех пор, пока это сопротивление не будет преодолено. Таким образом, насос предназначен для нагнетания жидкости в гидросистему и повышения в ней давления для совершения полезной работы и преодоления имеющихся сопротивлений, и является устройством, преобразующим механическую энергию первичного источника в энергию сжатой жидкости.
В гидронасосах объёмного типа всасывание рабочей жидкости и ее вытеснение в систему происходит в результате последовательного увеличения и уменьшения геометрического объёма V их рабочих камер, причем давление в вытесняемой жидкости при этом повышается настолько, насколько это нужно в данной системе для выполнения полезной работы. Для того, чтобы жидкость могла заполнять камеру, а затем вытесняться из нее, камера должна сообщатся попеременного то с всасывающей магистралью, то – с нагнетательной.
Основные параметры насоса
Одним из основных параметров для гидронасоса любой конструкции является его рабочий объём V, – это количество жидкости, которое насос может вытеснить за один полный цикл, совершаемый за один оборот его приводного вала. Рабочий объём обычно выражается в см3, а подача насоса это произведение его рабочего объёма V на число оборотов приводного вала, совершаемое в единицу времени, т.е. подача насоса – это расход жидкости, подаваемой насосом в систему:
Q=(V n)/1000,л⁄мин;
В действительности, подача насоса будет несколько меньшей из-за перетекание жидкости внутри насоса из полостей находящихся под давление в полости, где давления нет. Это так называемые потери, которые характеризуются объёмным КПД насоса. Эти потери составляют в разных насосах от 3% до 15% подачи. В зависимости от конструкции насоса, форма рабочих камер, их количество и способ сообщения с магистралями всасывания и нагнетания,- различны, а сами насосы существенно различаются величинами подач и давлений, при которых они могут длительно и надежно работать.
www.metalstanki.com.ua
Гидронасосы. Типы. Характеристики преимущества и недостатки различных конструкций.
Если вы хотите сказать спасибо автору, просто нажмите кнопку:2. Гидронасосы. Типы. Характеристики преимущества и недостатки различных конструкций.
Гидравлические насосы предназначены для преобразования механический энергии (крутящий момент, частоту вращения) в гидравлическую (подача, давление). Существует большое разнообразие типов и конструкций гидравлических насосов, но всех их объединяет единый принцип действия – вытеснение жидкости. Насосы использующие принцип вытеснения называются объемными. Во время работы внутри насоса образуются изолированные камеры, в которых рабочая жидкость перемещается из полости всасывания в полость нагнетания. Поскольку между полостями всасывания и нагнетания не существует прямого соединения, объемные насосы очень хорошо приспособлены для работы в условиях высокого давления в гидросистеме.
Основными параметрами гидронасосов являются:
• Рабочий объем (удельная подача) [см3/об] – это объем жидкости вытесняемый насосом за 1 оборот вала.
• Максимальное рабочее давлени [МПа, bar]
• Максимальная частота вращения [об/мин]
Классификация объемных насосов по типу вытесняющего элемента показана на Схеме 1.

Схема 1.
При выборе типа насоса для гидросистемы необходимо учитывать ряд факторов свойственных определенным типам насосов и особенности разрабатываемой гидросистемы. Основными критериями выбора насоса являются:
- Диапазон рабочих давлений
- Интервал частот вращения
- Диапазон значений вязкости рабочей жидкости
- Габаритные размеры
- Доступность конструкции для обслуживания
- Стоимость
Далее будут рассмотрены различные типы насосов с описанием их конструктивных преимуществ и недостатков.
1.Поршневые Насосы
1.1 Ручные насосы
Простейшим насосом использующим принцип вытеснения жидкости является ручной насос. Данный вид насосов используется в современной технике для обеспечения гидравлической энергией исполнительных гидродвигателей (в основном линейного перемещения) вспомогательных механизмов. Вторым, часто встречающимся, назначением ручных насосов в гидросистемах является использование его как аварийного источника гидравлической энергии.Давления развиваемые этими насосами лежат в диапазоне до 50МПа, но чаще всего данные насосы используют на давлениях не более 10-15МПа. Рабочий объем до 70 см3. Рабочий объем для ручного насоса это суммарный объем жидкости вытесняемый им за прямой и обратный ход рукоятки. Обычно насосы с малым рабочим объемом способны достигать больших величин рабочего давления, это связано с ограничением силы прикладываемой к рычагу пользователем.
Принцип действия ручного насоса одностороннего действия изображен на рис.1. При ходе поршня вверх через обратный клапан КО2 происходит всасывание жидкости из бака, клапан КО1 при этом закрыт. При ходе поршня вниз происходит вытеснение жидкости через клапан КО1 в напорный трубопровод, клапан КО2 – закрыт.
На рис. 2 показан ручной насос двустороннего действия. При ходе поршня вверх через обратный клапан КО4 происходит всасывание жидкости из бака в нижнюю полость. Одновременно происходит вытеснение рабочей жидкости внапорный трубопровод через клапан КО1. Клапана КО2 и КО3 при этом закрыты. При ходе поршня вниз через обратный клапан КО2происходит всасывание жидкости из бака в нижнюю полость. Одновременно происходит вытеснение рабочей жидкости в напорный трубопровод через клапан КО3. Клапана КО1 и КО4 при этом закрыты.
Внешний вид ручного насоса показан на рис. 3.

Рис. 1

Рис. 2

Рис. 3
Достоинства и недостатки:
- простота конструкции.
- высокая надежность.
- отсутствие приводного двигателя.
Недостатки
- Низкая производительность
1.2Радиально-поршневые насосы
Радиально-поршневые насосы это разновидность роторно-поршневыхгидромашин. Эти насосы применяются для гидросистем с высоким давлением (свыше 40МПа). Эти насосы способны длительно создавать давления до 100МПа.Отличительной особенностью насосов данного типа является их тихоходность, частота вращения насосов данного типакак правило не превышает 1500-2000 об/мин. Частоты вращения до 3000 об/мин можно встретить только для насосов рабочим объемом не более 2-3 см3/об.
Радиально-поршневые насосы бывают двух типов:
- С эксцентричным ротором
- С эксцентричным валом
Радиально-поршневой насос с эксцентричным ротором изображен на рис. 4. Конструктивно поршневая группа насоса установлена в роторе насоса. Ось вращения ротора и ось неподвижного статора смещены на величину эксцентриситета e. При вращении ротора поршни совершают поступательное движение. Величина хода составит 2e. Насос данной конструкции имеет золотниковое распределение. При вращении цилиндры поочередно соединяются с полостями слива и нагнетания разделенными перегородкой золотника, расположенного в центре.

Рис.4
Радиально-поршневой насос с эксцентричным валом изображен на рис. 5. Конструктивно поршневая группа насоса установлена в статоре насоса. Ось вращения вала и ось неподвижного статора совпадают, но на валу имеется кулачок, который смещен на величину е относительно центра вращения вала. При вращении вала, кулачок заставляет поршни совершать поступательное движение. Величина хода составит 2e. Насос данной конструкции имеет клапанное распределение. При вращении вала поршни выдвигаясь из цилиндров наполняются жидкостью через клапана всасывания. Нагнетание жидкости происходит через клапана нагнетания при вхождении поршней в цилиндры.
Данная конструкция редко используется как насосная и намного чаще используется в гидромоторах, о которых будет рассказано в одной из следующих статей.

Рис.5
Рабочий объем гидромашин данного типа можно рассчитать по формуле:
где z – число поршней
dп – диаметр поршня
е – эксцентриситет
Радиально поршневые насосы могут иметь конструкцию с переменным рабочим объемом. Регулировка рабочего объема происходит за счет изменения величины эксцентриситета е.
Из двух описанных конструкций большее распостранение получили радиально-поршневые насосы с эксцентричным валом. Это явилось следствием более простой конструкции. Фотографии радиально-поршневых насосов с эксцентричным валом представлены на рис. 6.

Рис. 6(а)

Рис. 6(б)
Достоинства и недостатки насосов радиально-поршневого:
Достоинства
- простота конструкции.
- высокая надежность.
- Работа на давлениях до 100МПа.
- Относительно малый осевой размер.
Недостатки
- Высокая пульсация давления
- Малые частоты вращения вала
- Больший вес конструкции по отношению к аксиально-поршневым машинам.
1.3Аксиально-поршневые насосы
Рис. 7
Насосы данного типа являются самыми распространёнными в современных гидроприводах. По количеству конструктивных исполнений они во много раз превосходят прочие типы гидронасосов. Эти насосы обладают наилучшими габаритно-весовыми характеристики (иными словами имеют высокую удельную мощность), обладают высоким КПД.Насосы этого типа способны даватьдавление до 40МПа и работать на высоких частотах вращения (насосы общего применения имеют частоты до 4000 об/мин, но существуют специализированные насосы этого типа с частотами вращения до 20000 об/мин).
Все аксиально поршневые насосы можно разделить на 2 типа:
- Снаклонным блоком (ось вращения блока цилиндров располагается по углом к оси вращения вала)
- С наклоннымдиском (ось вращения блока цилиндров совпадает с осью вращения вала)
На рис. 8 показана конструктивная схема аксиально поршневого насоса с наклонным блоком. При вращении вала насоса, вращается шарнирно соединенный с ним блок цилиндров. При этом поршни совершают поступательные движения. Блок цилиндров прилегает к распределителю который имеет два паза: один паз соединен с линией всасывания, а другой с линией нагнетания. При выдвижении поршня цилиндр движется над пазом всасывания (см. вид А рис.8) и наполняется жидкостью. После прохождения нижней мертвой точки (точки в которой поршень находится в максимально выдвинутом состоянии) цилиндр соединяется с пазом нагнетания в распределителе и начинает вытеснять жидкость из цилиндра пока не достигнет верхней мертвой точки (точки в которой поршень находится в максимально утоленном в цилиндр состоянии). Далее Цилиндр снова соединяется с пазом всасывания и цикл повторяется. Система распределения используемая в данной конструкции насоса называется золотниковой.

Рис.8
Утечки из цилиндров во время нагнетания скапливаются в корпусе насоса. Чтобы не допустить роста давления в корпусе, на насосах данной конструкции имеется линия дренажа. Если ее заглушить, то это приведет к выходу из строя манжеты вала и нарушению герметичности насоса, а в некоторых случаях – к разрушению корпуса насоса.
На рис.9 показана конструкция насоса с наклонным диском.

Принцип работы насоса с наклонным диском аналогичен работе насоса с наклонным блоком. Насос данной конструкции так-же имеет золотниковое распределение. Отличие конструкций состоит в соосности осей вала и блока цилиндров.
Рабочий объем аксиально-поршневых насосов можно рассчитать из следующего выражения:
где z – число поршней
dп – диаметр поршня
Dц– диаметр расположения цилиндров
γ – угол наклона диска(блока)
Для насосов конструкций рис. 8,9возможны исполнения с изменяемым рабочим объемом. Изменение рабочего объема происходит за чет изменения угла наклона диска или блока (в зависимости от конструкции).
Для аксиально-поршневых насосов необходим механизм синхронизации вращения приводного вала и блока цилиндров. Существует четыре основных способа такой синхронизации:
- Синхронизация одинарным (силовым) карданом
- Синхронизация двойным (несиловым) карданом
- Синхронизация шатунами поршней (бескарданная схема)
- Синхронизация коническим зубчатым зацеплением.
Аксиально-поршневой насос с наклонным блоком представлен на рис. 10. В данной конструкции синхронизация вращения вала и блока цилиндров осуществлена посредством конической зубчатой передачи.
Регулируемый аксиально-поршневой насос с наклонным диском представлен на рис. 11.


Рис. 11
Рассмотрим еще одну довольно распространённую конструкцию насоса с наклонным диском. Это конструкция аксиально-плунжерного насоса с неподвижным блоком, клапанным распределением и приводом плунжеровкулачкового типа (вращающейся наклонной шайбой). По ГОСТ 17398-72 этот тип насоса классифицируется как аксиально-кулачковый. Схема такого насоса показана на рис. 12.

Рис. 12
Эта конструкция имеет принципиальные отличия от конструкции изображенной на рис. 9. Насос на рис. 12 в отличие от предыдущей конструкции на рис. 9 имеет неподвижный блок цилиндров, совмещенный с корпусом, наклонный диск объединенный с валом и клапанное распределение рабочей жидкости. Ход плунжера определяется вращением наклонного диска. Система распределения работает следующим образом: выдвигаясь из цилиндра поршень создает в камере разряжение и через клапан всасывания камера наполняется жидкостью из полости корпуса, объединенной со всасыванием. При вхождении в цилиндр клапан всасывания находится в закрытом состоянии, происходит вытеснение рабочей жидкости из рабочей камеры через клапан нагнетания в линию нагнетания.
Некоторые конструкции аксиально-кулачковых насосов могут работать на давлениях до 70МПа.
Примечательным является факт отсутствия в данной конструкции линии дренажа так как всасывание осуществляется непосредственно из корпуса насоса. При этом в корпусе насоса абсолютное давления ниже атмосферного. По этой причине в данной конструкции повышенные требования предъявляются к уплотнению вала, при выходе из строя которого насос подсасывает воздух и подает гидросистему смесь воздуха и рабочей жидкости. Такой «воздушный коктейль» приводит к вибрациям в гидросистеме и выходу из строя ее элементов, включая насос.
Рабочий объем рассчитывается по той-же зависимости что и для описанных выше конструкций аксиально-поршневых насосов. Следует отметить что насос данной конструкции не имеет исполнения с регулируемым рабочим объемом.
Фотография насоса сконструктивным вырезом показана на рис. 13.

Достоинства и недостатки насосов аксиально-поршневого типа:
Достоинства
- простота конструкции.
- Работа на давлениях до 70МПа.
- Высокий КПД.
- Частоты вращения до 4000 об/мин
- Высокая удельная мощность.
Недостатки
- Высокая пульсация давления
- Высокая стоимость по сравнению с другими типами гидронасосов.
2. Шестеренные насосы
Шестеренные насосы относятся к типу роторныхгидромашин. Рабочими элементами (вытеснителями) являются две вращающиеся шестерни. Различают два основных типа таких насосов:
- Насосы внешнего зацепления
- Насосы внутреннего зацепления.
Частным случаем шестеренных насосов с внутренним зацеплением являются героторные насосы.
Шестеренные насосы широко распространены в гидросистемах с невысокими (до 20 МПа) давлениями. Они широко применяются в сельскохозяйственной, дорожной технике, мобильной гидравлике, системах смазки. Используются для обеспечения гидравлической энергией гидроприводов вспомогательных механизмов в сложных гидросистемах. Столь широкое распространение шестеренные насосы получили за простоту конструкции, компактность и малый вес. Платой за простоту конструкции стало довольно низкое значение КПД (не более 0,85), низкое рабочее давление, и небольшой ресурс (особенно на давлениях ≈20МПа). Шестеренные насосы могут работать на частотах вращения до 5000об/мин.
Существуют образцы шестеренных насосов на давления до 30МПа однако ресурс таких насосов на порядок ниже.
2.1Шестеренные насосы внешнего зацепления
Основными элементами шестеренных насосов внешнего зацепления являются шестерни. При вращении шестерен жидкость, заключенная во впадинах зубьев переносится из линии всасывания в линию нагнетания (рис.14). Поверхности зубьев А1 и А2 вытесняют при вращении шестерен больше жидкости чем может поместиться в пространстве освобождаемом зацепляющимися зубьями B1 и B2. Разность объемов, высвобождаемых двумя парами зубьев вытесняется в линию нагнетания. В месте зацепления шестерен при работе насоса образуются области «запертого» объема, что вызывает пульсации давления в линии нагнетания.
Рабочий объем шестеренного насоса можно определить из зависимости:
Где m – модуль зубьев
z – число зубьев
b – ширина зуба
h – высота зуба
Шестерни насосов внешнего зацепления в большинстве конструкций имеют прямой зуб, однако встречаются конструкции таких насосов с косым и шевронным зубом. Преимущество применения косого зуба состоит в меньшем уровне пульсаций за счет того что в месте зацепления «запертые» объемы не образуются. Недостатком конструкций с косым зубом является возникающая осевая сила, для восприятия которой нужно включать в конструкцию упорные подшипники. Этот недостаток отсутствует в насосах с шевронным зубом, где осевая сила компенсируется формой зуба. У насосов с шевронным зубом также малый уровень пульсаций.

Рис. 14
Конструктивный разрез шестеренного насоса с внешним зацеплением показан на рис. 15.

Рис. 15
Достоинства и недостатки шестеренных насосов внешнего зацепления:
Достоинства
- простота конструкции.
- Частоты вращения до 5000 об/мин
- Низкая стоимость
Недостатки
- Высокая пульсация давления
- Низкий КПД
- Сравнительно низкие давления
2.2 Шестеренные насосы внутреннего зацепления
Отличительной особенностью шестеренных насосов внутреннего зацепления является меньший уровень пульсаций и как следствие малый уровень шума. В связи с этим они находят широкое в стационарных машинах и механизмах, а так-же на мобильной технике работающей в закрытых помещениях.
Принцип работы шестеренного насоса с внутренним зацеплением состоит, как и у насосов внешнего зацепления, в переносе жидкости во впадинах шестерен от линии всасывания в линию нагнетания. В зоне всасывания при вращении шестерен объем камеры, образованной зубьями шестерен и серпообразным разделителем, увеличивается(см. рис. 16). При этом происходит наполнение рабочей камеры жидкостью из линии всасывания. В зоне нагнетания происходит процесс вытеснения рабочей жидкости в линию нагнетания, т.к. объем камеры в этой зоне при вращении шестерен уменьшается.

Рабочий объем шестеренного насоса с внутренним можно определить из зависимости:
Где m – модуль зубьев
z – число зубьев внутренней шестерни
b – ширина зуба
h – высота зуба
Конструктивный разрез шестеренного насоса с внутренним зацеплением показан на рис. 17.

Рис.17
Достоинства и недостатки шестеренных насосов внутреннего зацепления:
Достоинства
- простота конструкции.
- Частоты вращения до 4000 об/мин
- Низкий уровень шума
- Низкая стоимость
Недостатки
- Низкий КПД
- Сравнительно низкие давления
2.3 Героторные насосы.
Героторные насосы это разновидность шестеренных насосов с внутренним зацеплением. Отличие от классической конструкции шестеренного насоса с внутренним зацеплением состоит в отсутствии серпообразного разделителя. Разделение полостей всасывания и нагнетания реализовано за счет применения специального профиля. Его форма такова что в зоне где должен находиться серпообразный разделитель обеспечен постоянный контакт шестерен. (рис.18). Принцип работы насоса данной конструкции точно такой же как и шестеренного насоса с внутренним зацеплением.Героторные насосы обычно используют при невысоких давлениях (до 15МПа) и подачах до 120 л/мин. При этом частоты вращения составляют не более 1500 об/мин.
Изображение героторногопоказано насосана рис. 19.

Рис.18
Рабочий объем героторного насоса можно определить из выражения:
Где Аmin,Аmin – минимальная и максимальная площадь межзубьевой камеры
z – число зубьев внутренней шестерни
b – ширина зуба
\
Рис.19
Достоинства и недостатки героторных насосов:
Достоинства
- Простота конструкции
- Низкий уровень шума
Недостатки
- Невысокий КПД
- Высокая по сравнению с шестеренными насосами стоимость
2.4 Роторно-винтовые насосы.
Еще одной разновидностью шестеренного насоса можно считать винтовые насосы. Их рабочие элементы можно представить как косозубые шестерни с количеством зубьев равному числу заходов винтовой нарезки. Главным преимуществом этих насосов является равномерность подачи и как следствие низкий уровень шума. Достоинством насоса также является его способность перекачивать жидкости с твердыми включениями. Давление развиваемое насосом может составлять до 20МПа. Частоты вращения до 1500 об/мин.
Ввиду сложности изготовления данного типа насосов, они не получили широкого распространения и применяются лишь в специфических гидросистемах. Существуют двух (рис. 20) и трехвинтовые (рис. 21) конструкции насосов.


Достоинства и недостаткироторно-винтовых насосов:
Достоинства
- Низкий уровень шума
- Низкий уровень пульсаций
Недостатки
- Невысокий КПД
- Высокая стоимость
3. Пластинчатые насосы.
Пластинчатые гидронасосы это гидромашины в которых роль вытеснителя рабочей жидкости выполняют радиально расположенные пластины, которые совершают возвратно-поступательные движения при вращении ротора. В российской литературе пластины часто называют – шиберами, а насосы – шиберными.
Различают пластинчатые гидронасосы однократного действия и двойного действия. У насосов однократного действия за один оборот вала гидромашины процесс всасывания и нагнетания осуществляется один раз, в машинах двойного действия – два раза.
Пластинчатые насосы имеют низкий уровень шума и хорошую равномерность подачи. Также эти насосы имеют сравнительно большие рабочие объемы при небольших габаритах. Пластинчатые гидронасосы могут работать на давлениях до 21МПа при частотах вращения до 1500 об/мин.
3.1 Насос однократного действия
Принцип работы насоса однократного действия состоит в следующем. При сообщении вращающего момента валу насоса ротор насоса приходит во вращение (см. рис. 22). Под действием центробежной силы пластины прижимаются к корпусу статора, в результате чего образуется две полости, герметично отделённых друг от друга. При прохождении пластин через область всасывания, объем рабочих камер между ними увеличивается и происходит всасывание рабочей жидкости.При прохождении пластин через область нагнетания, объем рабочих камер между ними уменьшается и происходит вытеснение рабочей жидкости в линию нагнетания. Для обеспечения прижима пластин в зоне нагнетания в полость под ними подводится давление из линии нагнетания. В некоторых случаях дополнительный прижим пластин организуется за счет установки пружин под пластины.
Рабочий объем пластинчатого насоса однократного действия рассчитывается как:
Где e – эксцентриситет
b – ширина пластины
Насосы однократного действия конструктивно могут иметь исполнения с регулируемым рабочим объемом. Регулировка рабочего объема происходит за счет изменения величины эксцентриситета e.

Рис. 22
Достоинства и недостаткипластинчатых насосов однократного действия:
Достоинства
- Низкий уровень шума
- Низкий уровень пульсаций
- Возможность регулировки рабочего объема
- Низкая по сравнению с роторно-поршневыми насосами стоимость.
- Менее требователен к чистоте рабочей жидкости.
Недостатки
- Большие нагрузки на подшипники ротора.
- Сложность уплотнения торцов пластин
- Низкая ремонтопригодность
- Сравнительно невысокие давления (до 7МПа)
3.2 Насос двойного действия
Принцип действия насоса двойного действия полностью аналогичен принципу работы насоса однократного действия (рис. 23). Отличием является наличие двух зон всасывания и двух зон нагнетания. Для обеспечения прижима пластин в зоне нагнетания, также как и насосов однократного действия, подводится давление нагнетания.

Рис. 23
Рабочий объем пластинчатого насоса двойного действия рассчитывается как:
Где b – ширина пластины
Изображение внутреннего устройства пластинчатого насоса двойного действия показано на рис. 24.

Рис. 24
Достоинства и недостаткипластинчатых насосов двойного действия:
Достоинства
- Низкий уровень шума
- Низкий уровень пульсаций
- Возможность регулировки рабочего объема
- Уравновешенность радиальных нагрузок в роторе.
- Низкая по сравнению с роторно-поршневыми насосами стоимость.
- Менее требователен к чистоте рабочей жидкости.
- Большие по сравнению пластинчатыми насосами однократного действия давления (до 21МПа)
Недостатки
- Низкая ремонтопригодность
- Сложность уплотнения торцов пластин
4. Рекомендации по выбору насоса для гидросистемы.
Выбор типа и насоса нужно осуществлять исходя из условий работы гидросистемы, ее назначения и требований к параметрам потребного потока рабочей жидкости.
Основными параметрами при выборе типа насоса являются:
- Уровень действующих давлений рабочей жидкости;
- Класс чистоты рабочей жидкости;
- Диапазон вязкостей рабочей жидкости;
- Экономическое обоснование применения.
При выборе насоса для гидросистемы следует учитывать большое количество определяющих факторов. Основными критериями с которых необходимо начать выбор насоса являются необходимая подача Qи давлениеp. Также в начале процедуры подбора необходимо четкое представление о типе приводного двигателя. В зависимости от предназначения и базирования механизма приводимого в действие гидросистемой приводной двигатель может быть электрическим или двигателем внутреннего сгорания. При выборе мощности приводного двигателя следует определить необходимую для гидросистемы гидравлическую мощность, которую можно приблизительно определить по зависимости (1).
где Q – подача насоса [л/мин]
p – давление в гидросистеме [МПа]
ɳ – КПД насоса (шестеренного и пластинчатого ɳ=0,85, для роторно-поршневого ɳ=0,9)
После определения мощностивыбирается тип гидронасоса исходя из характеристик свойственных для каждого из типов насосов и рабочего давления. Необходимый рабочий объем гидронасоса определяется как:
где Q – необходимая подача насоса [л/мин]
n – частота вращения двигателя [об/мин]
Определив необходимый рабочий объем насоса,выбираем по каталогу насос выбранного типа с наиболее близким значением рабочего объема. После чего взяв из каталога реальные значения q0и ɳ, рассчитываем реальное значение подачи насосаQ:
и проверяем насос на совместимость с выбранным двигателем по мощности (см. выражение (1)).
При необходимости наличия регулируемой подачи насоса, помимо установки регулируемого насоса, можно применить насос постоянного рабочего объема при этом подачу регулировать оборотами приводного двигателя. Данный способ регулирования может быть осуществлен в ограниченных характеристиками двигателя пределах.
Для ступенчатой регулировки скорости гидродвигателя в гидросистеме можно применять два насоса илимногосекционные насосы, фактически представляющие собой несколько насосовконструктивно выполненных одним блоком. Для регулировки скорости в этом случае необходимо подключать или отключать секции насоса изменяя тем самым суммарную подачу насоса. Способы коммутации секций будут описаны в статьях 7 и 8.
5. Причины отказа насосов.
При эксплуатации насоса следует обращать внимание на условия его работы. Наиболее часто неисправность насоса бывает вызвана:
- Попаданием посторонних частиц (грязи)
- Масляным голоданием
- Работой на водно-масляной эмульсии
- Работой на воздушно-масляной смеси
- Работой с перегрузкой по давлению
- Превышением допустимых оборотов
- Превышение давления в корпусе
- Перегревом рабочей жидкости
6. Заключение.
Данная статья написана в помощь специалистам осуществляющим ремонт, обслуживание и эксплуатацию гидросистем станочного оборудования и мобильных машин. Ознакомившись с вышенаписанным материалом, читатель получает базовые сведения о самых распространённых типах гидравлических насосов, их преимуществах и недостатках. Также в материале имеется простейший алгоритм определения мощности насоса и подбора приводного двигателя.
Следует отметить что практически все описанные конструктивные типы насосов могут использоваться в качестве гидромоторов, но об этом в следующей статье…
Все типы насосов описанные в данной статье можно приобрести в компании RGC гидроагрегаты.Возможна поставка гидрооборудования и запасных частей под заказ. Также в нашей компании можно получить консультации по гидрооборудованию.
Внимание! Данная статья авторская. При копировании ее с сайта обязательно указывать источник!
С Уважением,
Начальник конструкторского отдела
Лебедев М.К.
Тел.: (495) 225-61-00 доб. 234
E-mail: [email protected]
www.rg-gidro.ru
Что такое гидронасос?
В современном мире сложно представить себе устройства, в которых необходимо обеспечение мощного воздействия в узлах и конструкциях, реализованных без использования гидравлических систем. Многие производственные сферы используют гидравлику для решения различных проблем в своем сегменте и не представляют своей деятельности без применения гидравлических приспособлений. Газовое и нефтяное хозяйство, автомобилестроение и оборудование особого предназначения, удовлетворяющее коммунальные и строительные нужды и т.д, широко используют гидроустройства для реализации поставленных перед ними задач.
Источником энергии гидравлических приводов является гидронасос, основная суть работы которого сводится к преобразованию энергии, подведенной к нему, в энергию движущей жидкости. Переработанная энергия воздействует на рабочий механизм, приводя его тем самым в действие. Главная функция гидравлического насоса заключается в транспортировке жидкости под давлением в трубопровод. Движущей силой самого насоса выступает электродвигатель или любой другой двигатель, как например, внутреннего сгорания (в автомобильной или сельхоз технике и т.п).
Гидронасосы подразделяются на поршневые, шестеренчатые и пластинчатые (шиберные). По осевым углам поршня и блока выделяются аксиально-поршневые (с наклоном блока или диска) и радиальные (кулачковые и кривошипные).
Пластинчатые (шиберные) гидравлические насосы по своей структуре самые простые, они бывают однократного и постоянного действия, регулируемые посредством модификации эксцентрика и нерегулируемые. Лопастные гидронасосы, в отличие от шестеренчатых, вырабатывают более мощное давление нагнетания для гидравлических приводов.
Шестеренные гидронасосы предназначены для машин небольших размеров малой мощности при слабом давлении в гидросистеме. Стоимость такого вида насосов значительно ниже, чем других, но и ресурс заметно слабее.
Аксиально-поршневые гидронасосы отличаются значительным уровнем КПД, чем другие виды гидронасосов. Они вырабатывают устойчивую мощность, давление и поток жидкости, при этом совмещая компактные размеры и сложную структуру. Возвратно-поступательные движения уравновешенных поршней обеспечивают высокое давление посредством нагнетания рабочей жидкости.
При правильной эксплуатации и своевременном техобслуживании гидронасосы прослужат долгое время, надежно и качественно выполняя все свои функции.
agrogidrorem.com
Гидравлический насос: цена, устройство, виды |
Гидравлический насос высокого давления очень широко применяется в быту и промышленности. Особенно популярен он в машиностроении, нефтегазовой промышленности и строительстве, где без него невозможно выполнить огромное количество работ.
При этом сам гидравлический насос нельзя назвать очень сложным механизмом.
Устройство и виды
Гидравлическое оборудование всегда работает за счет перегонки жидкостей из одного поршня, в другой. Таким образом, удается выполнить превращение гидравлической энергии в механическую.
Устройство гидравлического насоса во многом зависит от его типа. Впрочем, многие элементы в нем схожи и работают по одному принципу. Специальное масло в корпусе насоса нагнетается по определенной системе. Полученная энергия воздействует на устройство, к которому насос подключен.
Нагнетать масло можно разными способами. В машиностроении используют вращающиеся валы, в быту же применимы электродвигатели и даже ручной привод. Большинство насосов способны работать только в одну сторону.
Очень важно понимать, что разные типы гидравлических насосов серьезно различаются по своей конструкции и принципу работы. Поэтому судить и оценивать все образцы можно только после их полного рассмотрения.
КПД гидравлического насоса тоже во многом зависит от этого показателя. Однако даже ручной гидравлический насос высокого давления имеет коэффициент полезного действия на очень приличном уровне, что позволяет применять их с высокой эффективностью.
Шестеренный гидравлический
Устройства такого типа очень часто применяются в гидравлике крупных механизмов и автомобилей. Особенно популярен шестеренчатый гидравлический насос для трактора, который применяют в виде спаренных элементов.
Каждая шестерня насоса способна передавать усиленное напряжение на соседнюю, что увеличивает силу их вращения.
Шестеренные насосы очень компактны, производительны и имеют сравнительно низкую цену. При этом частота оборотов у насоса может доходить до 9000 об/м, что является очень приличным показателем.
Более современные модели насосов способны направлять жидкости в разные стороны одновременно. По такой системе работает тракторный насос гидравлический. МТЗ 80 является одним из самых известных тракторов из тех которые комплектуются оборудованием подобного типа.
Пластинчатый гидравлический
Пластинчатые насосы отличаются тем, что позволяют оператору регулировать количество масла в системе. Ход у них более плавный и надежный, но и мощность нельзя назвать запредельной. Пластинчатые насосы работают на уровне нескольких тысяч оборотов в минуту.
Пластинчатый гидравлический насос 12 вольт использует, как основное напряжение. Именно поэтому его можно без проблем использовать даже в откровенно слабых электрических сетях. Еще одно его достоинство – это простота конструкции и очень низкий уровень шума во время работы.
Поршневой гидравлический
Если рассматривать основные виды гидравлических насосов, то поршневой насос будет находиться на самом видном месте. Он чрезвычайно распространен благодаря своей конструкции и неприхотливости. Без поршневых насосов невозможно представить себе работу подъемников, кранов, экскаваторов и т.д.
Неудивительно, что при такой популярности было создано несколько подвидов такого оборудования:
- Гидравлический аксиально-поршневой насос имеет сравнительно высокую себестоимость и производит некоторый шум во время работы. Зато эти устройства очень долговечны и способны развивать давление в 40-50 кПа;
- Радиально-поршневой насос уступает предыдущему образцу по мощности. Зато работает он за счет вращения, что позволяет использовать его для откачки жидкостей и других подобных работ. Если вам нужен гидравлический водяной насос, то именно радиально-поршневые модели подойдут наилучшим образом. Такое оборудование очень часто используют в быту и на мелких производствах.
Ручной гидравлический
Гидравлический насос с ручным приводом тоже часто востребован. И не стоит пугаться необходимости поработать руками. Гидравлический цилиндр с ручным насосом весит не так много и специально оборудован для комфортной работы в любых условиях.
Как правило, такое оборудование используют в домкратах, небольших прессах то есть там, где нужна очень тонкая регулировка давления и всего рабочего процесса.
Устройство ручного гидравлического насоса отличается относительной простотой. Есть два поршня с перетекающей между ними жидкостью и обратными клапанами. С помощью манипуляций с ручкой, жидкость переходит в нужный клапан и усиливает давление с определенной стороны.
По типу рабочего движения ручные насосы можно разделить на два вида:
- Односторонние;
- Двухсторонние.
При должной сноровке ручной гидравлический насос своими руками можно собрать из подручных инструментов, но лучше все-таки приобрести фирменное оборудование. Тем более что купить гидравлический ручной насос можно по сравнительной низкой цене.
Советы по выбору и отзывы
Выбирают гидравлические насосы в зависимости от места их применения и конструктивных особенностей.
Шестерные модели отлично работают в спарке с двигателями. Пластинчатые применяют на прессах, а возможность дозировать количество масла только повышает их эффективность. Поршневые насосы используют еще шире.
Практически любой насос такого типа так или иначе участвует в работе тяжелой техники с подъемными механизмами.
Если говорить о бытовых образцах, то здесь более популярные ручные насосы и несколько автоматических моделей.
Для работ по откачиванию жидкостей и подъему больших весов лучше брать гидравлический насос с электроприводом. В остальных ситуациях подойдет и ручная гидравлика.
На выборе ручного гидронасоса нужно остановиться поподробнее. В ручных моделях важно то, насколько они податливы и сколько усилий придется приложить для нормальной работы. Для этого придуман специальный показатель, который именуют рабочим усилием на ручку.
Также обязательно оцените объем бака и габариты насоса. Причем важен именно полезный объем бака.
Не стоит забывать и про осмотр самой конструкции. Недобросовестные производители часто делают насосы слишком хрупкими и ненадежными, чтобы иметь возможность снизить цену на свой товар. Такие решения сразу же сказываются на их эксплуатации.
При слишком сильном давлении и длительных нагрузках такое оборудование быстро придет в негодность. Чаще всего лопается бак, выходит из строя ручка или пробивается шланг гидравлики.
Еще сильнее прояснить ситуацию с гидравлическими насосами вам помогут отзывы от людей, которые это оборудование приобрели.
Валентин, 29 лет, г. Москва:
Мне для работы в мастерской очень нужен был компактный и надежный насос. Выбор пал на насос ручной гидравлический НРГ 7010, как на оборудование с оптимальными характеристиками.
Сразу же порадовала его цена, а после нескольких недель тяжелых испытаний полностью убедился в его работоспособности и надежности.
Андрей, 45 лет, г. Свердловск:
Работаю в мастерской тяжелой строительной техники. Экскаваторы мне разбирать приходилось не один десяток раз. Недавно клиент подогнал еще один, а там все приводы сломаны. Пришлось быстро что-то предпринимать.
Решили взять гидравлические насосы НШ с возможностью отводить жидкость в несколько потребителей. Тем более что цена гидравлического насоса НШ 10 всех устраивала. С установкой пришлось немного повозиться, так как экскаватор использовали слегка экзотический.
Но работой устройства клиент доволен до сих пор.
Михаил, 38 лет, г. Умань:
Взял себе ручной гидронасос Sigma 6200011. Всем его рекомендую. Очень классная и эффективная вещь. Особенно полезен будет строителям. С ним разбирать опалубку и металлоконструкции можно в несколько раз быстрее.
Устройство в работе (видео)
Расценки на насосы
Цена гидравлических насосов высокого давления напрямую зависит от их типа и особенностей конструкции. Немаловажную роль играет и мощность устройства, а также количество его оборотов. Чем мощнее и производительнее будет насос, тем больше он стоит на рынке.
Мы же будем указывать цены на насосы со сравнительно низкими характеристиками, которые можно применять в быту или для взаимодействия с небольшой техникой.
Цена гидравлического ручного насоса равняется 60-100 долларам. Шестеренчатые насосы продают за 100-150 долларов. Пластинчатые насосы можно купить за 50-100 долларов. Однако на рынке присутствуют и куда более дорогие образцы такой техники.
Цена гидравлического насоса поршневого типа начинается от 200 долларов.
homebuild2.ru
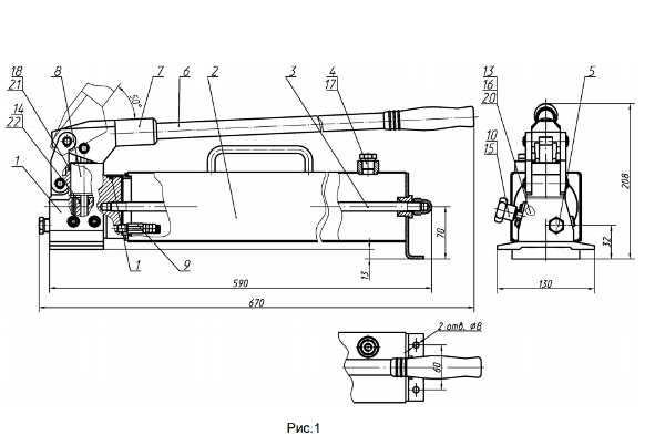
Ручной гидравлический насос (НРГ): устройство, исправление неисправностей
Самым простым в устройстве и эксплуатации является ручной гидравлический насос. В его основе лежит принцип вытеснения жидкостей. В промышленности такие агрегаты довольно востребованы, основной их функцией является перекачка горюче-смазочных материалов.

Ручной насос гидравлический
Устройство и схема гидравлического насоса с ручным приводом

Схема гидравлического насоса ручного
Ручной гидронасос состоит из двух главных частей, качающий узел (1) и гидравлический бак (2). Они соединены между собой шпилькой (3). Заливать жидкость нужно через отверстие, предварительно открутив закрывающую его пробку (4). Ручка (6) с рычагом (7) приводит в движение плунжер (8) первой и второй ступеней, сделанных как одна деталь. Качающий узел имеет двухступенчатую структуру. Ступень номер один при пониженном давлении и большей производительности служит для ускоренного перемещения плунжера гидроцилиндра. Ступень номер два при высоком давлении и меньшей производительности служит для получения рабочего усилия исполнительного механизма. Защиту от перегрузки осуществляет предохранительный клапан (9). Скидывание давления и извлечение гидравлической жидкости из полости цилиндра в бак происходит с помощью винта (10).
Принцип работы ручного гидравлического насоса
Обязательно перед началом работы с любым насосом следует осмотреть инструмент и в случае обнаружения трещин и сколов на поверхности не использовать его. Важно проверить плотно ли соединён рукав высокого давления с ручным насосом.
Алгоритм работы:
- Присоединяем насос к гидравлической системе быстроразъемным соединением;
- Закручиваем вентиль до конца по часовой стрелке.
- Поступательными движениями качаем ручку насоса верх и вниз. В результате чего происходит закачка масла в систему из насоса. При этом в системе происходит нагнетание давления, а также происходит ход поршня гидроинструмента в который мы закачиваем масло.
- При ситуации, когда рабочий поршень системы, в которую заливается масло достигнет конечного положения, в системе будет создано повышенное давление, в результате нагнетать масло будет невозможно. Тогда необходимо прекратить работу насоса во избежание выхода из строя устройства.
- Для того чтобы понизить давление в системе нужно медленно повернуть вентиль до конца против часовой стрелки. Результатом чего масло из системы потечет обратно в насос. Это происходит за счет возврата поршня в исходное положение.
- Закончив закачку масла стоит осмотреть гидравлическую систему на наличие подтеков масла, также следует осмотреть и насос. Обнаружив подтеки, следует немедленно их исправить.
Неисправности и их устранение
- Ручной гидравлический насос не подает давление. Основными причинами такого поведения может быть отсутствие гидравлической жидкости в баке или не закрыт сливной кран. Во всяком случае стоит проверить эти версии, если все же кран закрыт и жидкость есть, то возможно причина в том что засорились всасывающий или нагнетательный клапан. Тогда вам придется разобрать и промыть клапаны гидронасоса.
- Протекает масло (гидравлическая жидкость) в зазоре который находится между корпусом и плунжером. В этом случае с большой вероятностью можно сказать что изношены или имеют повреждения уплотнительные кольца. Рекомендуется незамедлительно заменить их, чтобы предотвратить выход из строя.
- Не выдает производительности указанной в техпаспорте. Вероятнее всего засорился фильтрующий элемент ручного гидронасоса. Рекомендуется тщательно промыть фильтрующий элемент.
- Не развивает указанного в техпаспорте давления. Нарушена регулировка предохранительного клапана. Вам нужно настроить предохранительный клапан на то давление которое указанно в техпаспорте.
Как правильно выбрать ручной гидравлический насос?

Выбор
Три основные фактора выбора:
1. Бак гидронасоса обязан быть больше емкости гидроцилиндра.
2. Ручные гидронасосы бывают двух видов одностороннего и двустороннего действия обратите на этот параметр внимание.
3. Уровень давления должен соответствовать нужному вам для работы. Выбирайте гидронасос с равным или большим давлением чем максимальное давление гидроцилиндра.
Стоит ли делать ручной гидравлический насос своими руками?
На текущий момент насосы, сделанные своими руками, почти не встречаются. Несмотря на это можно сделать гидравлический насос своими руками. Нам понадобится бак из стали. Из него будет изготовлен корпус. Чтобы управлять давлением в баке нужен клапан. Его нужно закрепить вверху при помощи шайбы. Для управления клапана закрытия устанавливают рычаг. Труба из чугуна вполне может подойти. Чтобы контролировать давление используйте манометр. В конце концов получится устройство, которое не выдержит давление больше 4 атмосфер. При всем при этом самодельный гидронасос будет занимать большое место и неудобен в переносе. Минусом самодельных ручных насосов является низкое КПД, чтобы привести в действие насос потребуется приложить не малую силу. Также самодельные устройства весьма ненадежны. И если учесть все минусы, то тратить ресурсы на создание самодельного ручного гидронасоса очень неэффективно. Именно поэтому они и не распространены.
Ручные гидравлические насосы НРГ
Гидронасосы НРГ очень надежные устройства и весьма распространены у нас в России так как производятся здесь же. Линейка НРГ насосов содержит устройства с распределителями. В конце обозначения таких инструментов обычно ставится буква «Р». Эта буква означает что инструмент может работать с гидроустройствами двустороннего действия. Рассмотрим несколько моделей НРГ гидронасосов ручного типа:

Насосы НРГ
- Модель нрг-7020Р. Создает максимальное давление в 700 бар. И имеет номинальный объем бака 2 литра. В комплекте идет гидрораспределитель который позволяет работать с устройствами как одностороннего, так и двустороннего действия.
- Модель нрг-7007. Также создает давление в 700 бар. Номинальный объем бака 0,7 литра. Достоинствами этой модели является присутствие предохранительного клапана, усилие на рукоятке минимально, и две ступени подачи масла. Данный инструмент предназначен для гидроинструмента одностороннего действия, с пружинным возвратом штока.
- Модель нрг-67016Р. Номинальный объем бака равен 14 литрам. Усилие на рукоять 55 кг. Давление максимум 4Мпа. Производительность 115 куб см. Весит такое устройство целых 30 кг и весьма габаритно. Подойдет для небольшого автосервиса.
Итоги, плюсы и минусы ручных гидравлических насосов.
Плюсы:
- Просты в эксплуатации;
- Не требуют никакого дополнительного источника энергии;
- Высокая ремонтопригодность;
- Обладают высокой мобильностью;
Минусы:
- Низкая производительность;
- Нужна мускульная сила оператора, следовательно, дополнительная нагрузка на оператора;
Итог, ручной гидравлический насос резонно использовать не больших мастерских и мобильных сервисах, где не нужно вкачивать большие объемы масла и нагнетать значительное давление. В целом ручные насосы очень удобны, а главное мобильны так как не зависят ни от каких источников энергии.
То что вам предлагает Яндекс
То что вам предлагает Google
gidropnevm.ru
Портал о насосах. Гидравлический насос (гидронасос): ручной, высокого давления
СодержаниеГидравлический насос высокого давления получил широкое распространение в промышленности, сельском и коммунальном хозяйстве. Это неотъемлемый конструкционный элемент гидропривода, обеспечивающего бесперебойную работу двигателя.
При компактном размере установки этого типа обладают впечатляющими показателями мощности и способны к преобразованию энергии
Устройство и принцип работы
Классический гидронасос обладает простой конструкцией типа «поршень-поршень». Эта система отличается повышенной устойчивостью к износу и обеспечивает полную свободу в использовании жидкости из естественного источника или резервуара.
Высокая производительность таких установок обусловлена особым принципом работы. Насосы гидравлические преобразовывают механическую энергию жидкости в гидравлическую. В процессе эксплуатации установки двигатель генерирует крутящий момент, который в зависимости от необходимости либо вырабатывает давление, либо образовывает подачу.
Внутри прибора присутствуют изолированные друг относительно друга камеры нагнетания и всасывания, между которыми с помощью гидравлики циркулирует жидкость. По мере полного заполнения камеры нагнетания она приводит в движение поршень. Всасывание жидкости в устройство осуществляется посредством патрубков, после чего она под давлением подается в необходимом направлении.
к меню ↑
Область применения и назначение
Гидронасос применяется в оснащении строительных площадок, автомобильных моек, в системах очистки трубопроводов, машин для мытья улиц, подавления пыли и пожаротушения. Гидравлические насосы высокого давления востребованы в области нефтепереработки, лесозаготовки, автомобилестроения, в железнодорожной отрасли, в машиностроении, в частности, в производстве клининговой техники.
Устройство гидравлического насоса на примере домкрата
Современные модели комплектуются большим количеством насадок, которые позволяют использовать гидронасос как по прямому назначению, так и в качестве вспомогательного оборудования с расширенным функционалом.
к меню ↑
Виды и отличия
Классификация по назначению, особенностям конструкции и областям применения делит гидравлические насосы на несколько групп оборудования:
- ручное;
- радиально-поршневое;
- аксиально-поршневое;
- шестеренное.
Ручной гидравлический насос – недорогая работающая по принципу вытеснения жидкости модель достаточной для выполнения ряда несложных задач производительности. Наибольшее распространение гидравлический насос с ручным приводом получил в автомобилестроении. В случае аварийного отключения снабжения с его помощью гидравлические двигатели обеспечиваются энергией.
К преимуществам ручного гидравлического насоса высокого давления относят простоту конструкции, невысокую стоимость, автономность, простоту и высокую лояльность к ремонту. При желании гидравлический насос своими руками можно собрать из подручных средств.
Радиально-поршневой гидронасос оснащается ротором или эксцентричным валом. К особенностям конструкции относится то, что поршневая группа полностью находится внутри установки. Роторные модели при генерации крутящего момента приводят в движение поршни, которые при чередовании возвратно-поступательного усилия стыкуются с предусмотренными конструкцией отверстиями для слива жидкости. В моделях с эксцентричным валом поршневая группа находится внутри статора, а перераспределение жидкости в отличие от роторных агрегатов не золотниковое, а клапанное.
Преимущества: возможность работы в условиях повышенного давления до 100 Па, минимальный уровень шума. К недостаткам относится большой вес.
Аксиально-поршневой гидронасос отличается от предыдущей разновидности оборудования тем, что вместо поршневой системы вытеснения в их конструкции используется плунжерная. Оборудование этого типа делится на 2 категории – прямые и наклонные гидронасосы. Вал при вращении приводит в движение цилиндры. Выдавливание жидкости из камеры обусловлено цикличным совпадением оси цилиндрового блока и отверстия всасывающего типа. Несмотря на высокую стоимость, оборудование этой категории обладает лучшими показателями производительности и наиболее высоким КПД.

Объемный гидравлический насос
Шестеренный гидронасос – это разновидность роторного оборудования с электроприводом. Гидравлический элемент выполнен из 2 шестеренок, которые при сцеплении способствуют выдавливанию жидкости. В зависимости от расположения шестеренок различают модели в внутренним или внешним типом сцепления. Такие модели идеальны для работы в системах с невысоким давлением (не более 20 Мпа), что позволяет применять их в процессе производства техники спецназначения.
Нередко требуется и ремонт насосов, ремонт насоса может быть спровоцирован следующими факторами:
- несоблюдение правил управления;
- несвоевременное техобслуживание или его отсутствие;
- неверный выбор гидромасла;
- комплектация агрегата непредусмотренными элементами;
- ошибка в настройках.
к меню ↑
Основные характеристики
При выборе модели помимо условий ее эксплуатации, давления в системе и стоимости необходимо учитывать еще и такие параметры:
- мощность насоса в гидравлическом эквиваленте – гидравлический расчет обычно предоставляется производителем и определяет основные параметры использования прибора;
- тип конструкции и ее соответствие условиям эксплуатации;
- частота вращения;
- допустимое рабочее давление;
- объем рабочих камер;
- допустимый уровень вязкости перекачиваемой жидкости;
- прилагаемое усилие для приведения рычага в движение;
- простота в управлении рабочими параметрами;
- размеры и масса устройства.
к меню ↑
Распространенные модели
Насос гидравлический ручной – лидер в сегменте оборудования для дома, дачи и небольших производственных площадок. В этой категории популярностью пользуется техника отечественного производства, выпускаемая под маркой НРГ.

Насос гидравлический НГН-7004К SHTOK
Это независимые от внешнего питания установки, которые используются для комплектации оборудования и инструмента с выносным насосом. Обратите внимание на модели НРГ…Р, в комплектацию которых входит встроенный распределительный элемент, и НРГ-7080РЭС-1, обладающую наиболее полной комплектацией.
В сервисной сфере (обслуживание и мойка автомобилей, оснащение ремонтных мастерских) популярен также пневмогидравлический насос с ножным управлением. В отличие от ручной модели он обладает большей производительностью и оставляет мастеру большую свободу действий. Пневмогидравлический насос с легкостью приводит в движение такое оборудование, как перфоратор, дрель, болгарка, ударный инструмент, может использоваться и для пресса. Применяется как альтернативный источник энергии в процессе выполнения выездных работ и в случае аварийного выхода из строя основного источника.
Наиболее популярный среди профессионалов пневмогидравлический насос — LHP 700. К его преимуществам относятся возможность вентиляции бака, разгона жидкости под нагрузкой, высокая точность параметров настройки, простота конструкции и рабочее давление от 2,8 бар.
Электрогидравлический насос САТ 134-0467 предназначен для двигателей крупногабаритного транспорта, в частности, автобусов ЛИАЗ и другой техники и гидроприводом. Считается лучшей моделью с точки зрения соотношения цены и качества. Как правило, электрогидравлический насос используется в комплектации рулевого колеса и обеспечивает его усиление.
к меню ↑
Ремонт гидравлического насоса (видео)
nasosovnet.ru
Различные типы гидравлических насосов
Гидравлический насос – один из основных элементов гидросистемы. Гидравлические насосы преобразуют механическую энергию в гидравлическую. В современном техническом мире гидравлические насосы уверено занимают свои позиции. С введением гидравлической энергии, гидравлические насосы стали популярны с их эффективностью и простым механизмом действия. Так что же такое гидравлический насос и как он работает.
Такие насосы могут быть определены как устройства, которые используют жидкость, чтобы преобразовать ее в гидравлическую энергию, которая может эффективно использоваться в эксплуатации и управлении многих устройств. Жидкость, поступающая в насос, имеет удельное давление и скорость. На выходе скорость и давление жидкости увеличивается. Гидронасос предназначен для нагнетания рабочей жидкости в трубопроводы. Рабочее давление гидравлических насосов при перегрузке может составлять более 300 атмосфер. Насосы отличаются по принципу действия и конструкции.
Большинство из них будет иметь несколько иной механизм действия, но использовать тот же принцип работы. Так давайте проверить некоторые из наиболее распространенных и эффективных гидравлических насосов.
Типы гидравлических насосов
Существуют различные типы гидравлических насосов. Некоторые из них имеют отличные показатели. Ниже приведены некоторые из наиболее распространенных типов гидравлических насосов, с небольшим обзором рабочих механизмов для каждого насоса.
Шестеренные насосы
Они представляют собой наиболее распространенный, простой в обслуживании и экономичный тип гидравлического насоса. Если к валу этого типа гидронасоса приложен вращательный момент, то устройство работает в режиме насоса. Если на его вход рабочая жидкость подаётся под давлением, то устройство работает в режиме гидромотора.
Шестеренные насосы могут быть разделены на два типа – внутреннего зацепления и внешнего зацепления. Они используют зацепление зубчатых колес, имеющихся внутри насоса, что протолкнуть жидкость внутрь. Здесь жидкость, заполняя впадины между зубьями шестерён, перемещается вдоль цилиндрических стенок в корпусе и переносится из полости всасывания в полость нагнетания, откуда выталкивается в нагнетательный трубопровод
Эти типы насосов хороши для создания давления ниже 200 бар. Большинство из этих насосов шумные, однако, есть несколько разновидностей таких насосов, которые при хорошей эффективности производят сравнительно мало шума.
Героторные насосы
Героторные насосы похожи на шестеренные насосы, они могут быть классифицированы как тип вариаций зубчатых насосов. Такие насосы предназначены для напорной транспортировки пластичных смесей – пенобетона, полистиролбетона, которые требуют сравнительно низкое давление. При вращении винтового ротора транспортируемая масса попадает в открытые полости статора и начинает перемещаться в сторону разгрузки, винтовой ротор при этом, поворачивается вокруг своей оси и обеспечивает герметизацию полостей. Они достаточно эффективны и умеренно шумны.
Винтовые насосы
Как следует из названия, эти насосы используют винт в качестве основного элемента механизма. Этот тип насосов относится к объемным. Здесь вода проходит через один или несколько винтов. Жидкость проходит внутрь и получает вращение вместе с осью винта. Ротор нити и окружающий корпус насоса совершает уплотнение жидкости от входа к выходу. Эти насосы являются лучшими для систем низкого давления. Они не производят много шума, но они могут иметь определенные недостатки, особенно в области, где запрещено вспенивание жидкости.
Поршневые насосы с изогнутой осью
Эти насосы являются частью фиксированных и регулируемых видов гидравлических насосов. Они бывают двух конструкций. Этот насос использует систему, которая содержит вращающийся цилиндр и два поршня, которые охватывают цилиндр в радиальном направлении. Эти поршни расположены под углом, и соединены с валом и упорной пластиной. Вал вращается под углом, и поршни направлены на возвратно-поступательное движение в зависимости от углового направления вала и цилиндра. Это одни из наиболее эффективных механизмов.
Аксиально-поршневые насосы
Эти насосы работают по принципу очень похожему на принцип работы насосов с изогнутой осью. Этот насос использует поршни, которые вращаются и при вращении всасывают жидкость. Вращение в камере насоса создает давление в жидкости, после чего жидкость подается на выход. Эти типы насосов имеют меньший размер, но очень эффективны и экономичны.
Радиально-поршневые насосы
Радиально-поршневые насосы работают при высоком давлении и производят плавный поток материала. Скорость потока жидкости и скорости вывода также могут быть изменены при помощи определенных механизмов регулировки. Они отлично подходят для высокого давления и имеют хорошую прочность.
Роторные насосы
Они также являются экономичными и надежными насосами. Они, как правило, являются лучшим вариантом, когда необходима высокая пропускная способность, но при низком давлении на выходе. Они входят в группу объемных насосов.
www.bigstroy-msk.ru

Добавить комментарий