Временными земляными сооружения являются: Классификация земляных сооружений и их типы
Классификация земляных сооружений и их типы
Полезные статьи
- Главная
- Полезная информация
- Полезные статьи
- Классификация земляных сооружений и их типы
Доставка нерудных
сыпучих материалов
Компания “Агат” предоставляет услуги на доставку сыпучих строительных материалов: щебня, песка, отсева, супеси, глины, чернозёма, грунта, ПГС, угля, дров. Доставка осуществляется автомобилями Камаз, Зил.
Компания “Агат” предоставляет услуги на доставку сыпучих строительных материалов: щебня, песка, отсева, супеси, глины, чернозёма, грунта, ПГС, угля, дров. Доставка осуществляется автомобилями Камаз, Зил.
Классификация земляных сооружений и их типы
Перед началом строительства на участке – будь то возведение дома или укладка дорожного полотна – обычно проводят земляные работы: исследуют состав и состояние грунта, при необходимости осуществляют выравнивание и уплотнение или, наоборот, разрыхление, выемку или замену части грунта, обустройство песчаных или щебеночных оснований под котлованы, и т.
п. К разряду таких работ относится и устройство земляных сооружений.
Классифицировать земляные сооружения принято по нескольким параметрам:
• по расположению относительно уровня поверхности земли – выемки (ниже уровня) и насыпи (выше уровня)
• по назначению – постоянные, временные и вспомогательные (или подпорные)
Постоянными называются такие земляные объекты, которые будут использоваться после окончания строительных работ (дороги, каналы, железнодорожные и автодорожные насыпи). Вспомогательными считаются используемые в процессе работ и по их завершении (кюветы, дренажные каналы). Временными являются земляные сооружения, подлежащие ликвидации по окончании работ (траншеи, резервы, отвалы, кавальеры).
Траншеи и котлованы представляют собой временные выемки грунта с четко обозначенными дном и стенками, разной формы и площади. Как правило, их выкапывают для строительства каналов и зданий. Подземные выработки с замкнутым контуром поперечного сечения служат вместилищем тоннелей, трубопроводов, шахт и пр.
Насыпи нужны для прокладки трубопроводов при неровном рельефе местности (пересечении низких и высоких участков), для устройства дорожного полотна и прочих нужд.
Требования к земляным сооружениям включают: устойчивость поверхностей и особенно откосов, способность выдерживать расчетные нагрузки, влаго- и морозостойкость, стабильное фиксирование заданных параметров. При сложных и подвижных грунтах откосы укрепляют временными или постоянными способами: растительными посадками, каменистым или дерновым слоем и т.п.
Виды и назначение сооружений, а также состояние грунта обуславливают проведение соответствующих земляных работ. Работы могут осуществляться различными методами: механическим, гидромеханическим, взрывным или комбинированным.
При механическом методе забор и перемещение грунта происходит посредством наземной строительной техники (экскаваторов, бульдозеров, скреперов). При гидромеханическом – посредством мощных водяных струй, управляемых специальной техникой (гидромониторами, земснарядами).
При взрывном (это требуется для разработки сложных, скальных грунтов) – энергией взрыва.
Вопрос 4. Виды земляных сооружений. Подсчет объемов земляных работ.
В результате выполнения земляных работ создаются земляные сооружения, которые классифицируются по ряду признаков.
По назначению и длительности эксплуатации земляные сооружения подразделяются на постоянные и временные.
Постоянные сооружения предназначены для длительного использования. К ним относятся каналы, плотины, дамбы, спланированные площадки для жилых кварталов, комплексов промышленных сооружений, стадионов, аэродромов, выемки и насыпи земляного полотна дорог, устройства водоемов и др.
Временными
земляными сооружениями являются те,
которые возводятся лишь на период
строительства. Они предназначаются для
размещения технических средств и
выполнения строительно-монтажных работ
по возведению фундаментов и подземных
частей зданий, прокладки подземных
коммуникаций и др.
Временная выемка, имеющая ширину до 3 м и длину, значительно превышающую ширину называется траншеей. Выемка, длина которой равна ширине или не превышает десятикратной ее величины, называется котлованом. Котлованы и траншеи имеют дно и боковые поверхности, наклонные откосы или вертикальные стенки.
Разделение земляных сооружений на постоянные и временные необходимо, так как к ним предъявляются различные требования в отношении устойчивости откосов, тщательности их уплотнения и отделки, обеспечение водонепроницаемости тела выемки.
По расположению земляных сооружений относительно поверхности земли различаются: выемки – углубления, образуемые разработкой грунта ниже уровня поверхности; насыпи – возвышения на поверхности, возводимые отсыпкой ранее разработанного грунта; кавальеры – насыпи, образуемые при отсыпке ненужного грунта, а также для временного хранения грунта, обратной засыпки траншей и фундаментов.
Наиболее
характерные профили и элементы земляных
сооружений представлены на рис.
1.1.
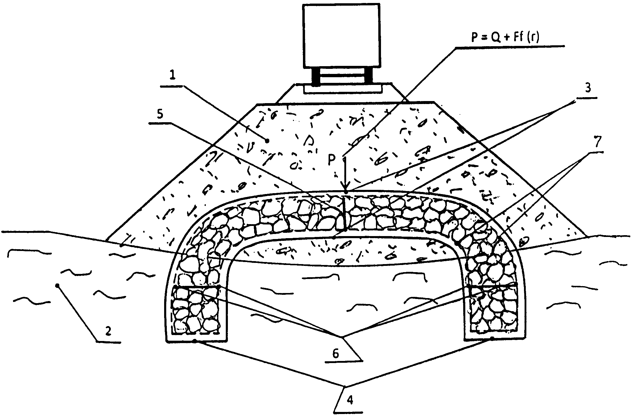
Рис. 1.1. Виды земляных сооружений:
I – поперечный профиль выемок: а – траншея прямоугольного профиля;
б – котлован (траншея) трапецеидальной формы;
в – профиль постоянной выемки; 1 – бровка откоса; 2 – откос; 3 – берма;
4 – основание откоса; 5 – дно выемки; 6 – банкет;
7 – нагорная канава; II – сечение подземных выработок;
г – круглой; д – прямоугольной; III – профили насыпи;
е – временной насыпи; ж – постоянной;
з – пазух котлована; и – траншеи
Временные
выемки, закрытые с поверхности и
устраиваемые для сооружения транспортных
и коммунальных тоннелей и других целей,
называются подземными выработками.
После устройства подземных частей зданий грунт из отвала (кавальера) укладывается в так называемые «пазухи» – пространства между боковой поверхностью сооружения и откосов котлована (траншеи). Если отсыпка грунта из отвала используется для полного закрытия подземной части здания или коммуникаций, называется обратной засыпкой.
Соответствие назначению и надежность в эксплуатации земляных сооружений обеспечивается соблюдением комплекса требований при проектировании и строительстве. Все земляные сооружения должны быть устойчивыми, прочными, способными воспринимать расчетные нагрузки, противостоять климатическим воздействиям (атмосферные осадки, отрицательные температуры, выветривание и т. д.), иметь конфигурацию и размеры в соответствии с проектом и сохранять их в период эксплуатации. Требования, предъявляемые в конкретных условиях к земляным сооружениям, устанавливаются проектом в соответствии с нормами строительного проектирования.
Временные строительные работы – Проектирование зданий
Содержание
|
Строительные работы – это работы, выполняемые подрядчиком для заказчика, состоящие из самого строительства, поставляемых товаров, материалов и услуг, а также ответственности, обязательств и рисков, которые должен взять на себя этот подрядчик.
Временные работы описаны в BS 5975:2019, Свод правил по процедурам временных работ и допустимому напряжению конструкции опалубки, как «предоставление «инженерного решения», которое используется для поддержки или защиты либо существующей конструкции, либо постоянных работ. во время строительства, или для поддержки элемента установки или оборудования, или вертикальных сторон или боковых откосов котлована во время строительных работ на площадке или для обеспечения доступа.
Он используется для контроля устойчивости, прочности, прогиба, усталости, геотехнических и гидравлических эффектов в определенных пределах». Он может или не может остаться на месте по завершении работ.
Проектировщики временных сооружений имеют те же обязанности, что и проектировщики постоянных сооружений, и должны быть достаточно компетентны в своей конкретной области.
Проектировщики должны избегать предсказуемых рисков, насколько это практически возможно, включая риски, связанные с удалением любых временных работ после завершения строительства. Они также должны координировать свои действия с проектировщиками постоянных работ и основными подрядчиками, чтобы обсудить последствия любых временных рабочих нагрузок и возможных нарушений во время строительства постоянной конструкции.
Временные работы могут включать:
Леса обеспечивают временную безопасную рабочую платформу для:
- Монтаж.
- Техническое обслуживание.
- Строительство.

- Ремонт.
- Доступ.
- Осмотр.
Существует два основных типа строительных лесов:
- Отдельно стоящие леса, такие как независимые башни,
- Независимые подмости, такие как независимые башни, привязанные к соседней конструкции.
Наиболее распространенной частью конструкции, используемой в строительных лесах, является каркасная труба. Трубка обычно бывает двух толщин: 3,2 мм или 4 мм. Трубы оцинкованы из-за их воздействия на элементы, а осевые допустимые нагрузки даны либо «как новые», либо «бывшие в употреблении». чем фактическое сопротивление трубы растяжению.
Леса предназначены для поддержки собственного веса, т.е. вес досок, труб, ограждений, бортов и т. д., а также возникающие нагрузки, такие как ветер. Нагрузка, прикладываемая к лесам, зависит от их использования. Ветровая нагрузка, прикладываемая к лесам, будет меняться в зависимости от того, используются ли защитные покрытия или сетки от мусора.
Доступны четыре класса нагрузки:
- Класс эксплуатации 1 – 0,75 кН/м2 – осмотр и доступ для очень легких условий эксплуатации
- Класс эксплуатации 2 — 1,50 кН/м2 — легкие работы, такие как покраска и очистка
- Класс эксплуатации 3 — 2,00 кН/м2 — общестроительные работы, кирпичная кладка и т. д.
- Класс эксплуатации 4 — 3,00 кН/м2 — тяжелые условия эксплуатации, такие как кирпичная кладка и тяжелая облицовка
Когда строительные леса привязаны к зданию, они используют постоянную конструкцию здания для обеспечения устойчивости. Покрытие лесов защищает сотрудников и конструкцию от дождя и ветра и крепится стяжками лесов или, в качестве альтернативы, используется сетка лесов, чтобы мусор не причинил вреда тем, кто находится на нижних уровнях. Выбор положения стяжек следует протестировать и проверить перед использованием, а также следует проанализировать пригодность состава постоянных конструкций для крепления стяжек. Трубки из пеноматериала являются популярным аксессуаром для защиты пешеходов на нижних уровнях.
Леса также укреплены по бокам с помощью фасадных и ригельных связей.
Качество изготовления и осмотр жизненно важны для монтажа и демонтажа строительных лесов и должны выполняться компетентным персоналом под наблюдением.
Удержание фасада включает в себя поддержку существующих фасадов или боковых стен для ремонта и часто используется для работ в памятниках архитектуры. При сохранении фасада сохраняется общий вид здания, а новые внутренние конструкции этажей и планировка могут быть построены в соответствии с потребностями современных жильцов.
Для поддержки переднего фасада во время строительства новой внутренней планировки обычно требуется схема крепления подпорками. После завершения строительства внутренней конструкции к ней можно присоединить существующий фасад.
Временные работы, связанные с сохранением фасада, сами по себе могут быть значительными структурами и играть важную роль в оценке финансовой жизнеспособности проекта. С самого начала команда проектировщиков должна учитывать важность удержания как критического элемента проекта, и необходимо провести тщательное технико-экономическое обоснование для оценки его жизнеспособности и возможных затрат.
Чрезвычайно важно иметь полное представление о существующем здании, включая его возраст, общую структурную форму, структуру соседних владений, детали соединений между фасадом и существующей внутренней конструкцией, а также существующие размеры фундамента. Ограничения площадки (например, доступное пространство) также могут повлиять на расположение и дизайн временных работ.
Типы удержания включают:
- Леса, подходящие для низких фасадов между 3 и 4 этажами, с достаточным пространством у их основания для установки.
- Специальная фиксация, включающая в себя подпорки, связи и распорки, подходит для более высоких фасадов, так как общее количество компонентов уменьшено.
- Сборные стальные конструкции, используемые, когда стоимость найма собственного оборудования в течение длительных периодов времени превышает стоимость изготовления конструкции
- Комбинации изготовленных и запатентованных ретенционных систем.
Опорная система должна быть достаточно жесткой, чтобы предотвратить чрезмерное движение, которое может привести к растрескиванию фасада.
Предварительно нагружая фасад серией плоских домкратов, можно уменьшить вероятность смещения и ограничить прогиб. Общая устойчивость системы должна поддерживаться во всех направлениях с учетом ветровых и ударных нагрузок. Система также должна выдерживать опрокидывающий момент, а также моменты, создаваемые внецентренной статической нагрузкой. Кентледжи могут быть включены в конструкцию, чтобы противодействовать этим моментам.
Башенные краны обычно поставляются на условиях аренды, при этом заказчик несет ответственность за проектирование и строительство основания, на котором будет установлен кран. Подробная информация о загрузке предоставляется поставщиком крана, и основание чаще всего проектируется как временная конструкция, хотя иногда основание крана будет включено в постоянную конструкцию для экономии средств и времени.
Нагрузки даны в двух формах: «эксплуатационные» нагрузки, когда кран работает и скорость ветра ограничена (т. е. краны не будут работать при высоких скоростях ветра), и «нерабочие» нагрузки, когда кран не используется, но возможны максимальные скорости ветра.
Место для крана должно быть тщательно выбрано, чтобы обеспечить максимальный рабочий радиус, а когда два крана используются на одной и той же площадке, необходимо учитывать высоту мачты и длину стрелы, чтобы они не пересекались.
Краны обычно сконструированы вокруг двух рельсов у основания на расстоянии 4,5-10 м друг от друга с колесами в каждом углу. Краны обычно не привязываются, поэтому необходимо предусмотреть достаточную опору, чтобы вертикальная нагрузка от крана проходила через рельсы в фундамент. Фундамент спроектирован таким образом, что нефакторизованная нагрузка от крана и нефакторизированная нагрузка от самого фундамента создают опорное давление меньше допустимого опорного давления грунта.
В зависимости от состояния грунта можно выбрать различные типы фундамента:
- По возможности структурную насыпь можно уплотнить и использовать для поддержки крана с распределением нагрузки через слои опоры пути под углом 45° к нижележащим слоям грунта.

- При увеличении нагрузки от крана может потребоваться железобетонный фундамент. Это может включать ряд железобетонных балок, используемых для поддержки линейных нагрузок в результате нагрузки крана.
- При особенно плохих грунтовых условиях может потребоваться свайный фундамент. Требуется тщательное проектирование, чтобы армирование верхней части сваи не создавало проблем для позиционирования секции основания мачты крана.
Falsework включает в себя временную структуру, используемую для поддержки других постоянных структур, пока они не смогут поддерживать себя. Существует три основных типа систем, используемых для фальшивой работы. К ним относятся:
- Тип 1 – Алюминиевые опоры с алюминиевыми рамами, собранные в опалубочные системы, такие как; Ischebeck Titan, SGB GASS или PERI MultiProp.
- Тип 2 – Индивидуальные алюминиевые или стальные опоры, включая деревянные перекладины или фирменные панели, такие как; Системы PERI Multiflex или Doka Eurex.

- Тип 3 – Более тяжелые стальные опалубки, такие как; Опорная система RMD Kwikform или подпорки A-Plant Acrow.
Философия дизайна фальшкоробов отличается от философии постоянных работ. Они подвергаются высокой нагрузке, обычно до 90% своей мощности в течение коротких периодов времени, и включают в себя компоненты многократного использования. Стойки редко привязывают и полагаются на собственный вес и поддерживаемую нагрузку для боковой устойчивости.
В конструкции опалубки должны быть учтены допуски на монтаж и многократное повторное использование компонентов.
Способности к ложному срабатыванию обеспечиваются производителями, и в их конструкции должны учитываться постоянные, вынужденные нагрузки и нагрузки от окружающей среды.
Как и в случае общего строительства, устойчивость часто называют основной причиной обрушения. Для обеспечения поперечной устойчивости генеральных опалубочных конструкций, в том числе балочных ростверков, БС 5975: 2019 (BSI, 2019, пункт [IP-адрес скрыт]) рекомендуется, чтобы они были спроектированы таким образом, чтобы на каждом этапе строительства они могли выдерживать приложенные вертикальные нагрузки (W) и горизонтальную возмущающую силу FH, которая больше из:
a) 2,5 % приложенных вертикальных нагрузок (т.
е. 2,5 % W), рассматриваемых как действующие в точках контакта между вертикальными нагрузками и поддерживающей опалубкой; или
b) усилия, которые могут возникнуть в результате монтажных допусков (обычно принимаются за 1 % приложенной вертикальной нагрузки (т. е. 1 % W), см. 19.2.4) плюс сумма других приложенных нагрузок…».
Качество изготовления и проверки играют ключевую роль в проектировании и монтаже опалубки, поскольку особенно важно внимание к деталям.
Опалубка — это термин, используемый для обозначения временной формы, в которую заливают и формуют бетон. Традиционная опалубка изготавливается из дерева, но ее также можно изготовить из стали, пластика, армированного стекловолокном, и других материалов.
- Деревянная опалубка обычно изготавливается на месте с использованием древесины и фанеры. Его легко изготовить, хотя для более крупных конструкций это может занять много времени. Применяется, когда трудозатраты ниже стоимости изготовления многоразовой опалубки из таких материалов, как сталь или пластик.

- Многоразовая пластиковая опалубка обычно используется для быстрой заливки бетона. Опалубка собирается либо из замковых щитов, либо из модульной системы и используется для относительно простых бетонных конструкций. Он не так универсален, как деревянная опалубка, из-за требований к сборке и лучше всего подходит для недорогих, повторяющихся конструкций, таких как схемы массового строительства.
- Несъемная конструкционная опалубка обычно собирается на месте с использованием предварительно изготовленного пластика, армированного волокном. Он используется для бетонных колонн и опор и остается на месте, действуя как постоянная осевая арматура и арматура на сдвиг для элемента конструкции. Он также обеспечивает устойчивость к воздействию окружающей среды как для бетона, так и для арматурных стержней.
- Запатентованные системы, состоящие из ряда труб и стяжек, используются для поддержки вертикальной опалубки во время застывания бетона.
При выборе опалубки важно учитывать тип бетона и температуру заливки, так как они оба влияют на оказываемое давление.
Когда бетон наберет достаточную прочность, опалубку можно снять (снять). Минимальное значение 5 Н/мм2 рекомендуется во всех случаях при распалубке вертикальной опалубки, чтобы не повредить постоянный бетон в процессе.
Высокое качество изготовления и проверка необходимы для обеспечения высокого стандарта и внешнего вида полученной бетонной конструкции.
Траншея считается выемкой, если ее длина значительно превышает глубину. Неглубокие траншеи обычно считаются глубиной менее 6 м, а глубокие траншеи – более 6 м. В зависимости от размеров траншеи копание может производиться вручную или механическим экскаватором. Траншеи обычно требуются для прокладки коммуникаций, трубопроводов или фундаментов.
Попадание воды в траншею часто представляет собой серьезную проблему, и перед проведением каких-либо масштабных раскопок необходимо изучить расположение грунтовых вод и слои почвы.
В течение коротких промежутков времени на относительно небольшой глубине большинство типов грунта могут стоять почти вертикально без каких-либо проблем.
Однако для траншей, отличных от относительно неглубоких, может потребоваться схема поддержки траншей.
Исторически сложилось так, что при рытье траншей использовалась древесина для поддержки горизонтальных и вертикальных нагрузок на почву, и этот метод используется до сих пор. Выемка деревянных траншей обычно используется для узких траншей, валов или выработок с низким риском. Деревянные решения требуют хорошего мастерства и достаточно трудоемки, однако они универсальны, а требуемое оборудование легко в обращении и транспортировке. 9№ 0008
Траншейные ящики подходят для ситуаций с низким риском в устойчивом, сухом грунте и могут быть размещены в предварительно вырытых траншеях или установлены методом «копать и толкать». Системе требуется как минимум две распорки на каждой панели для обеспечения устойчивости, что необходимо учитывать, когда требуется доступ для строительных работ или трубопроводов.
Траншейные листы являются наиболее адаптируемыми из доступных систем и чаще всего используются для удержания более бедной почвы.
Они могут поддерживать более глубокие траншеи с большими надбавками и обеспечивать непрерывную поддержку. Для них требуется несколько уровней опорных стоек, а гибкость листов часто может ограничивать глубину траншеи, поскольку они устанавливаются с помощью легкой техники и могут изгибаться при больших вертикальных нагрузках.
- Конструкция на воздушной подушке.
- Кессон.
- Коффердам.
- Крановые опоры.
- Сетка для мусора.
- Сертификаты проектирования и проверки.
- Ответственность за проектирование.
- Снос.
- Экскаваторная установка.
- Фасадная фиксация.
- Ложь.
- Опалубка.
- Земляные работы.
- Грунтовый анкер.
- Заливка в гражданском строительстве.
- Барьер Hesco.
- Как снять строительные леса.
- PAS 8811:2017 Временные работы.
- Постоянная конструкция.
- Свайные фундаменты.
- Подпорные стенки.

- Леса.
- Крепление.
- Бланк бланка.
- Временный.
- Проектирование временных и ветровых сооружений, примыкающих к высотным зданиям.
- Три элемента инфраструктуры, которые спасли жизни.
- Траншейная опора.
- Тоннелирование.
- Подкрепление.
- Правила работы на высоте.
- BS 5975:2019, Свод правил по процедурам временных работ и расчету допустимых напряжений опалубки (BSI, 2019).
Постоянный риск для здоровья и безопасности?
Опубликовано 26 февраля 2022 г.
3 минуты чтения
Являются ли временные строительные работы постоянным риском для здоровья и безопасности? Info Exchange исследует и раскрывает способы обеспечения безопасности.
Если учесть, что более 70% несчастных случаев на объектах, в том числе шокирующие 20 смертельных случаев, о которых НИУ ВШЭ сообщило в 2018/19 г., были связаны с временными работами, это должно вызывать некоторые опасения.
Добавьте к этому тот факт, что 35% затрат на любом строительном объекте приходится на временные работы, и я думаю, вы согласитесь, что этот «бедный родственник» строительной отрасли, наверное, заслуживает большего внимания.
Что такое временные работы в строительстве?
Временные работы — это техническое решение, используемое для поддержки или защиты существующих конструкций или постоянных работ во время строительства. Примеры временных работ в строительстве включают земляные работы, такие как траншеи, раскопки и временные откосы; или конструкции, такие как опалубка, опалубка, типы перемычек и установок коффердамов, строительные леса и временные мосты.
Строительство большинства типов постоянных сооружений потребует использования той или иной формы временных сооружений: но эта важная деятельность часто воспринимается как бедное отношение.
В большинстве случаев они удаляются после использования, и в готовом проекте не остается следов их присутствия.
Возможно, на многих объектах существует тенденция уделять меньше внимания проектированию и управлению временными работами из-за их временного характера. Но, как ясно показывают приведенные выше цифры, при плохом управлении временные работы могут быть дорогостоящими: как с финансовой точки зрения, так и с точки зрения угрозы здоровью и безопасности.
Практический пример: St Modwen Homes и EcoOnline
St. Modwen Homes – отмеченная множеством наград британская компания по строительству домов, признанная за обширный портфель высококачественных домов с дизайнерским оформлением. Компания завоевала признание в отрасли благодаря дизайну домов, заботе о клиентах и выдающейся приверженности восстановлению и реабилитации заброшенных земель и городской среды.
Партнерство St Modwen с Info Exchange началось, когда компания искала технологическую платформу для управления растущим числом аварий и инцидентов на своих объектах. Результатом стало индивидуальное решение, построенное с учетом конкретных требований St Modwen.
А поскольку система Info Exchange настолько гибко настраивается, вскоре было признано, что ее можно использовать для управления другими областями их бизнеса.
Дэйв Смит, управляющий директор St.Modwen Homes, объясняет: «мы провели аудит нашего бизнеса и обнаружили, что временные работы сопряжены с большим риском. Мы наняли региональных контролеров временных работ и использовали бумажную систему для управления временными работами на 30-40 площадках. Этот процесс отнимал много времени и сил, а также требовал постоянных посещений объектов по всей стране с целью аудита и инспекции.
Имея уже готовую систему для аварий и происшествий, мы определили, что настройки, возможности и рабочие процессы, которые мы создали с помощью Info Exchange, могут быть легко перенастроены для временных работ». домостроительной промышленности St Modwen в настоящее время находится в процессе оцифровки управления своими временными работами. Дэйв Смит рассказывает нам, как это сделать.
«Мы будем работать с Info Exchange для разработки платформы, которая будет работать в трех областях управления временными работами. К ним относятся привлечение подрядчиков на временные работы для обеспечения видимости на групповом уровне тех, кто утвержден и работает по контракту, при проектировании временных работ конструкций и земляных работ, а также для инспекций и аудитов на наших многочисленных объектах».
Используя Info Exchange, St Modwen Homes гарантирует, что они соответствуют требованиям охраны труда и техники безопасности, имеют гарантию качества и одобрены; постоянное использование подрядчиков с необходимой квалификацией и опытом для работы.
Леон Дженнингс, системный менеджер группы H&S , ‘ Мы очень рады работать с Info Exchange и занимать лидирующие позиции в области цифровых технологий в жилищном строительстве .’
Информационный обмен = эффективное управление и снижение риска внутри временные работы
Наша работа с такими компаниями, как St.
Modwen Homes, показала нам исключительную важность проактивного управления временными работами в строительстве. Вот некоторые из ключевых преимуществ использования цифрового решения с Info Exchange:
- Предоставление предприятиям информации в режиме реального времени для сообщения об инцидентах в HSE
- Упрощение сканирования QR-кода для снижения риска невыполнения проверок в требуемые сроки
- Предоставление компаниям возможности эффективно отслеживать свои активы, аудиты и инспекции (по должностям) на нескольких объектах
- Возможность разработки гибко настраиваемых, индивидуальных функций и решений для рабочих процессов в соответствии со специфическими требованиями компании
- Обеспечение постоянного ведения точного и актуального реестра временных работ
Info Exchange способствует повышению эффективности, качества и производительности временных работ на строительных площадках, значительно повышая стандарты охраны труда и техники безопасности.

1 Леса




Добавить комментарий