Термостат с электронным управлением – Система охлаждения двигателя с электронным регулированием
Термостат: принцип работы,виды,устройство,фото,видео. | НЕМЕЦКИЕ АВТОМАШИНЫ
Автомобильные двигатели охлаждаются во время работы тосолом или антифризом. Важным элементом такой системы охлаждения служит термостат. Он расположен между мотором и радиатором, и благодаря ему температура двигателя остается в заданных пределах.
Принцип работы термостата
После того как двигатель завели, ему нужно прогреться до рабочей температуры. Чтобы ускорить, этот процесс, охлаждающая жидкость не поступает в радиатор, а циркулирует по малому кругу через рубашку охлаждения и радиатор печки. Блокирует ее поток именно термостат.
Когда же двигатель нагреется до 95 градусов, клапан термостата сработает, и тосол начнет циркулировать уже по большому кругу через радиатор, охлаждая таким образом мотор. Когда открывается клапан основной циркуляции, малый круг перекрывается. Принцип работы термостата основан на физических свойствах воска, который находится у него внутри. При температуре в 82˚С воск плавится.
В жидком состоянии он увеличивается в объеме и выталкивает штырь, который и открывает клапан. При охлаждении двигателя воск в термостате застывает, штырь возвращается на место, клапан закрывается. Воск плавится быстро, благодаря примесям из порошка графита, меди и алюминия.
Из чего состоит термостат
Делают автомобильные термостаты из меди или латуни. Устроены они достаточно просто. Стандартный термостат состоит из таких деталей:
- корпуса;
- клапана малого круга охлаждения;
- выходного патрубка, соединенного с насосом;
- воскового шарика;
- входного патрубка, подключенного к радиатору;
- клапана основного круга охлаждения;
- двух пружин;
- поршня.
Другими словами, все устройство автомобильного термостата – это цилиндр, возвратный штырь, два клапана и шарик воска. Именно проста и надежность конструкции объясняет тот факт, что она не изменяется на протяжении многих лет, и такие термостаты ставят даже на самые современные модели автомобилей.
В различных марках машин термостаты настраивают на разный температурный режим открывания. Ее обычно указывают на самом устройстве. Бывают бескорпусные термостаты. Их ставят прямо в блок двигателя.
Наполнитель термостата
Термостат может иметь различные виды наполнителя в основе своей конструкции. Мы уже упоминали, что выделяют жидкостной наполнитель и твердотельный. Принцип работы и устройство этих решений практически одинаково. Отличия заключаются только в повышенной герметизации жидкостной конструкции, а также в индивидуальных физических свойствах самого наполнителя и его чувствительности к температурным колебаниям зависимо от состава.
Современные двигатели получили такой тип устройства, который имеет в основе твердый наполнитель. Под таким наполнителем стоит понимать основной термоэлемент, который внутри термостата находится изначально в твердом физическом состоянии.
Функции и место расположения
После того как мотор выходит на оптимальную рабочую температуру, становится необходимым поддерживать этот показатель в строгих рамках до самого момента остановки двигателя, а в ряде случаев и некоторое время после прекращения работы ДВС. Главной задачей устройства является контроль и распределение потока нагретой жидкости охлаждения внутри системы по отводу тепла от двигателя.
Термостат может быть расположен в различных местах, зависимо компоновки двигателя в подкапотном пространстве, а также место его установки напрямую зависит от модели силового агрегата. Также на место установки устройства влияют и конструктивные особенности реализации самой охлаждающей жидкостной системы. В большинстве случаев термостат находится в месте выхода охлаждающей жидкости из головки блока цилиндров. Вторым наиболее распространенным местом его установки считается вход центробежного насоса охлаждающей жидкости (помпы).
ВИДЫ
- Двухклапанный. Именно принцип работы двухклапанного термостата был рассмотрен выше. Такой вид термочувствительных клапанов популярен у производителей отечественной грузовой и легковой техники.
- Одноклапанный. Имеет наиболее простую конструкцию, в которой не предусмотрен перепускной клапан. Именно такой вид чаще всего можно встретить на авто иностранного производства.
- Одноклапанный двухступенчатый. Из-за высокого давления в контуре охлаждения некоторых двигателей клапану достаточно сложно открыться, что увеличивает инерционность при срабатывании. Для лучшей работы конструкция одноклапанного двухступенчатого термостата предполагает наличие двух тарелок разных размеров. Первоначально открывается малая тарелка, освобождая доступ небольшой части потока охлаждающей жидкости, после чего открывается основная тарелка.
Термостат с электронным управлением
Электронные термостаты устанавливаются на современные двигатели для более точного регулирования температурного режима в тех либо иных условиях работы двигателя.
Для получения наибольшего КПД температура двигателя должна поддерживаться примерно на отметке в 110 ºС. Поскольку обычный механический термостат пропускает жидкость к большому контуру уже при температуре около 95ºС, то двигатель так и не выходит в режим оптимальной температуры и максимальной эффективности. Механизм с электронным управлением позволяет уменьшить инерционность срабатывания, что позволяет двигателю больше времени работать в высокотемпературном диапазоне. Электронное управление помогает повысить эффективность мотора, уменьшить вредные выбросы в атмосферу.
В целом конструкция напоминает обычный механический термостат, в который дополнительно вмонтирован нагревательный элемент. Электронный термостат рассчитан на большую температуру двигателя. В момент пиковых нагрузок для предотвращения перегрева в работу включается нагревательный элемент. Ускоренный нагрев твердого наполнителя позволяется уменьшить время открытия клапана. Нагревательным элементом управляет ЭБУ двигателя, который с датчиковой аппаратуры считывает количество оборотов коленчатого вала, температуру поступающего воздуха, степень нажатия педали акселератора и другие необходимые данные.
КАК ПРОВЕРИТЬ ТЕРМОСТАТ
Не снимая термостат с автомобиля, проверить его работу можно приблизительно условно. Исключения составляют случаи, когда он заклинил в полностью открытом или закрытом положении. В таком случае по температуре патрубков, времени прогрева и датчику температуры можно сделать вывод о возможной неисправности термостата.
В горячей воде термостат должен открыться
Можно проверить термостат и своими силами, сняв его с автомобиля. Для этого его или поливают кипятком, визуально наблюдая открытие, или греют в емкости с водой на электроплитке, контролируют температуру градусником и замеряют длину выдвижения штока. Оба эти метода дают весьма неточный результат, не позволяя отобразить петлю гистерезиса работы термостата и сравнить ее с образцовой, полученной в лаборатории завода-изготовителя.
Профессионально проверить термостат можно только в специализированных точках диагностирования, так как неправильная его работа бывает связана с другими неполадками двигателя, которые нужно уметь различать. Если у вас нет нареканий на работу двигателя, который зимой «удерживает» стрелку термометра в нормальной зоне, а летом не перегревается, то с вашим термостатом все в порядке. Точная диагностика работы термостата подразумевает участие опытного специалиста и специального оборудования.
КАКИЕ БЫВАЮТ НЕИСПРАВНОСТИ ТЕРМОСТАТА?
Если термостат заклинил в полностью закрытом положении — возможен перегрев двигателя в любом режиме движения при любой температуре воздуха и даже в небольшой мороз. Если термостат открывается, но не до конца, двигатель перегревается, но может и не «закипеть» — все зависит от режима эксплуатации машины.
Если клапан термостата «завис» в полностью или частично открытом состоянии — до рабочей температуры двигатель будет прогреваться долго, а в зимнее время рабочая температура может быть и не достигнута. С исправной системой охлаждения при температуре воздуха ноль градусов двигатель должен прогреваться до рабочей температуры при движении за 5–10 минут. В случае неполного открытия — температура двигателя не будет подниматься выше 70 градусов.КАК ОПРЕДЕЛИТЬ, РАБОТАЕТ ТЕРМОСТАТ ИЛИ НЕТ?
Нужно прогреть двигатель, чтобы температурная стрелка немного не доходила до красной зоны. Затем выключить двигатель, открыть капот, найти верхний шланг радиатора. Он крепится сверху и представляет черный резиновый шланг примерно 5 см в диаметре. Найти нижний шланг, он выглядит как и верхний.
Дотроньтесь до шлангов, но осторожно, так как они могут быть горячими. Если датчик температуры двигателя показывает, что он нагрелся, а один шланг горячий, а другой холодный, вероятнее клапан термостата закрыт и охлаждающая жидкость не проходит через радиатор. Термостат нужно заменить на новый.
Есть «народный способ» проверки на работоспособность. Нужно положить термостат в сосуд с горящей (температура около 100 градусов) водой. Далее смотрим визуально, если клапан открывается — рабочий. Если нет — нерабочий термостат, меняем на новый. Данный способ предусматривает снятие термостата с машины.
При замене термостата следует узнать температуру открывания клапана (если покупаете неоригинал) — она может варьироваться в широком диапазоне. Как понимаете, нельзя ставить термостат с высокой температурой открывания, ведь в этом случае мотор начнет перегреваться.
5 признаков неисправного термостата
- Мотор автомобиля долго набирает рабочую температуру.
- Двигатель быстро перегревается.
- Стрелка температуры двигателя падает на скорости меньше чем обычно, а поднимается после остановки.
- Когда нижний патрубок теплый уже после нескольких минут работы, что свидетельствует о постоянно открытом термостате.
- Если нижний патрубок холодный, в то время как температура на панели приборов говорит о закипании (при этом мотор работает длительное время), кроме случаев выхода из строя датчика вентилятора радиатора, то это говорит о заклинившем термостате в закрытом положении.
Такие признаки неисправности термостата могут возникнуть как через механическое повреждение вроде заклинивания штока, так и при использовании некачественной ОЖ.
В результате нарушения температурного режима страдает двигатель. Он интенсивно изнашивается при перегреве (в плоть до клина, при выкипании жидкости) и потребляет больше топлива при недостаточном разогреве.
Чтобы проверить работу термостата и принимать решение о его замене, стоит произвести простейшую проверку методом кипячения. Так как на корпусе детали пишется температура срабатывания, вы наглядно можете убедится как работает термостат поместив его в горячую воду с термометром.
ТЕРМОСТАТ С ЖИДКИМ НАПОЛНИТЕЛЕМ.
Таких устройств давно нет в природе (отечественных с 1983 г), но все же для ознакомления мы затроним эту тему.
Изделие, в основе которого лежит латунный цилиндр. Внутри последнего находится жидкость, которая состоит из дистиллированной воды и эфирного спирта
Крепление цилиндра осуществляется на специальном штоке, а к второму краю, которого приварен специальный клапан.
Последний опирается на седло и фиксируется в кожухе устройства. В корпусной части есть четыре окна, которые позволяют жидкости поступать из охладительной рубашки к насосу даже при запертом клапане.
Принципа работы термостата, имеющего жидкостный наполнитель, выглядит следующим образом.
В момент пуска силового узла происходит прижатие клапана к седлу, благодаря упругой структуре гофрированного цилиндра.
Как следствие, доступ к основному радиатору блокирован, и охлаждающая жидкость не идет по большому кругу.
Через специальные окна жидкость попадает в насос, а после снова возвращается в рубашку системы.
Подобный принцип позволяет ОЖ быстрей набирать рабочую температуру.
Как только уровень последней достигает 67-70 градусов, происходит закипание жидкости в системе термостата и увеличение давления.
Гофрированный цилиндр расширяется и оказывает давление на шток. Одновременно с этим открывается клапан, и перекрываются окна, через которые жидкость поступает к насосу.
Далее охлаждающая жидкость направляется через клапан к основному баку радиатора, распределяясь по его трубкам и одновременно охлаждаясь до безопасной температуры.
После охлажденная жидкость возвращается к насосу и в общую систему. Цикл повторяется.
ТЕРМОСТАТ С ТВЕРДЫМ НАПОЛНИТЕЛЕМ.
Всегда устанавливается на отечественных и импортных легковых и грузовых авто.
В основе устройства — церезин (специальный воск), который смешивается с медным порошком и устанавливается в специальном баллоне (выполняется из латуни или меди).
Между крышкой и баллоном установлена мембрана, выполненная из резины. В последнюю упирается шток (также резиновый).
В верхней части баллон объединяется с клапаном, который упирается в седло. Под клапаном монтируется пружина, которая упирается в подковообразную направляющую, соединенную с корпусом (фланцем) и удерживающая клапан в закрытом положении.
В процессе работы силового узла и нагрева ОЖ происходит прогрев баллона и повышение температуры находящегося внутри воска.
Когда воск прогревается до 65-70 градусам Цельсия, начинается процесс плавления и его увеличения в объеме.
Как следствие, состав действует на мембрану, а последняя через специальный шток воздействует на клапан, открывая его. Благодаря этому, нагретая жидкость поступает в радиатор.
Открытие клапана происходит при температуре 78-82 °С. А вообще температуры начала открытия клапана для разных двигателей и условий эксплуатации лежат в диапазоне от 70 до 92 °С с допуском ±2°С.
В случае снижения температуры до уровня 65-67 градусов Цельсия происходит обратный процесс преобразования воска — он становится твердым и уменьшается в объеме.
Как следствие, пружина разжимается и перекрывает проход в термостате (жидкость направляется по меньшему кругу). Далее ОЖ идет к насосу и снова в систему охлаждения.
Одноклапанный, двухклапанный и двухступенчатый термостат
Решение с одним клапаном отличается простотой конструкции и связанной с этим надежностью. Автопроизводители по всему миру отдают предпочтение такому виду конструкции и оборудуют большинство своих автомобилей именно таким устройством.
Отдельным видом термостата с одним клапаном является двухступенчатая конструкция. Установка такого решения обусловлена тем, что некоторые системы охлаждения в процессе работы создают очень высокое давление охлаждающей жидкости. Клапану термостата сложно преодолеть такое давление. По этой причине конструкция двухступенчатого терморегулятора получила решение, которое подразумевает наличие двух тарелок клапана, которые называют малой и большой. Первой в термостате открывается малая тарелка, которой необходимо заметно меньшее усилие для преодоления созданного в системе давления. Малая тарелка открывается легче, а уже при открытии взаимодействует с большой тарелкой и попросту тянет её за собой. Открытие большой (основной) тарелки термостата до конца открывает канал прохода охлаждающей жидкости.
Если в первом случае термостат имеет один клапан с двумя тарелками, то двухклапанный регулятор получил два отдельных клапана, которые находятся в едином корпусе. Первый клапан является основным и служит для перекрытия большого круга при движении охлаждающей жидкости в системе. Второй клапан является перепускным и отвечает за циркуляцию жидкости по малому кругу. Работа клапанов синхронизирована. Когда один из них перекрывает канал ОЖ, другой осуществляет открытие нужного контура. Указанная конструкция термостата нашла широкое применение в конструкции легковых авто и грузовиков, которые являются продуктами автоиндустрии из стран СНГ.
Диагностика поломки
На серьезные неполадки в системе охлаждения Вам укажет явное отклонение от нормальных показаний указателя температуры ОЖ на панели приборов в салоне. При нормальной работе системы охлаждения ДВС и температуре воздуха за бортом около ноля градусов Цельсия, силовой агрегат должен выходить на рабочую температуру под нагрузкой в движении за 5–10 минут.
Единственное условие-исправность самого температурного датчика, указателя на панели прибоов и системы охлаждения. Если герметичность системы и функциональность других элементов не нарушена, уровень ОЖ в расширительном бачке находится на нужной отметке, тогда явными признаками неисправности термостата являются:
- долгий прогрев двигателя;
- неспособность ДВС выйти на рабочую температуру под нагрузкой;
- отсутствие теплого воздуха из отопителя;
- постоянный перегрев двигателя независимо от окружающей температуры наружного воздуха;
- периодическое возникновение указанных симптомов и последующее их исчезновение;
Выявить неисправность термостата достаточно просто. После запуска холодного мотора верхний патрубок радиатора должен быть холодным и оставаться таковым определенный период времени. Если все в норме, значит ОЖ циркулирует только по «рубашке охлаждения» мотора (малый круг) и доступ в режиме прогрева в радиатор для нее перекрыт клапаном термостата.
Когда верхний патрубок теплеет практически сразу, тогда налицо нарушенная циркуляция. Это означает, что главный клапан устройства открыт и охлаждающая жидкость сразу идет по большому кругу. В результате ДВС не способен прогреться до оптимальной рабочей температуры. Такое явление означает, что присутствует ускоренный износ деталей силовой установки. Трущиеся пары агрегата не получают смазки в должной мере, так как непрогретый мотор имеет отличные от нормы тепловые зазоры. Масло также остается слишком загущенным и теряет свойства, что приводит к повышенному расходу горючего и преждевременному износу ДВС.
Если клапан термостата постоянно находится в закрытом положении, тогда закономерно возникает перегрев и последующее закипание охлаждающей жидкости. Водители условно говорят, что двигатель «закипел». Это грозит не только сильным ростом давления в системе охлаждения и поломкой её отдельных функциональных элементов, но и выходом из строя самого двигателя.Случается и так, когда клапаны термостата подклинивают только периодически. Неисправность исчезает сама по себе, потом проявляется вновь. В таких случаях говорят, что термостат «залипает». Эта поломка более коварна, так как неисправность при таких симптомах сложнее выявить. Следует проверить состояние системы охлаждения и произвести профилактическую замену термостата. Не следует дожидаться ухудшения ситуации.
Существует еще один способ проверки работоспособности термостата, но данное решение востребовано крайне редко. Речь идет о демонтаже и последующей проверке термостата в условиях, приближенных к реальной эксплуатации. Для этого термостат кладут в емкость с водой и начинают её нагревать. Когда температура воды достигнет порога открытия клапана термостата, тогда исправное устройство отреагирует должным бразом. Наполнитель расширится и откроет клапан приблизительно на 20 мм. Если этого не произошло совсем, клапан открылся только частично или не вернулся после охлаждения в исходное состояние, тогда можно говорить о неисправности устройства.
AC зимой и другие странные хитрости, чтобы продлить срок службы вашего автомобиля
Как провести замену поршневых колец своими руками?
Вентилятор охлаждения двигателя: типы,диагностика,назначение,устройство.
5 Советов как держать ваш Мерседес в форме зимой
Как проверить термостат, не снимая его с авто :
seite1.ru
Термостат: устройство, принцип работы, неисправности
Термостат является элементом системы охлаждения автомобиля, отвечающим за распределение теплового баланса охлаждающей жидкости. В статье подробно рассмотрим принцип работы, устройство, а также виды механизмов, использующихся в конструкции современных автомобилей.
Принцип работы термостата
Простейшая система охлаждения двигателя состоит из малого и большого кругов циркуляции охлаждающей жидкости (ОЖ). Циркуляция в малом кругу, именуемом рубашкой охлаждения двигателя, способствует быстрому выходу двигателя в режим рабочей температуры. При повышении температуры термостат соединяет «рубашку» с основным радиатором системы охлаждения, при этом антифриз начинает циркулировать по большому кругу, поступая в бачок ОЖ уже охлажденной.
Термостат отвечает за перераспределение потока охлаждающей жидкости, что позволяет ускорить прогрев двигателя и дальнейшее поддержание оптимального температурного диапазона.
Термостат является термочувствительным клапаном, так как его принцип работы основан на свойстве изменения линейных размеров формы тела при изменении его температуры. В качестве наполнителя, расширяющегося при нагреве, использует смесь гранулированного воска и меди. Именно «твердый» наполнитель используется в конструкции современных механических термостатов.
Устройство
Конструктивно механизм состоит из следующих элементов.
В начале работы двигателя клапан термостата находится в закрытом положении – тарелка основного клапана плотно прижата к корпусу возвратной пружиной. Забор ОЖ через радиатор перекрыт, открытый перепускной клапан позволяет жидкости циркулировать по малому контору. При повышении температуры термоэлемент начинает расплавляться. Увеличение в объеме создает давление на корпус основного клапана, заставляя его преодолевать усилие возвратной пружины и перемещаться в направлении входного патрубка. Перемещения провоцирует закрытие перепускным клапаном магистрали от двигателя и открытия магистрали от радиатора. Таким образом, выходной патрубок (к насосу) сочленяется с входным патрубком №7 (от радиатора).
Температура открытия термостата зависит от состава наполнителя. В среднем термостат начинает открываться при температуре 80-90ºС, полное открытие достигается при температуре 95-105ºС. Точные показатели можно узнать в технической документации к автомобилю; часто температура открытия указывается непосредственно на корпусе изделия. Для наглядного представления принципа работы предлагаем посмотреть видео работы термочувствительного клапана.
Виды
- Двухклапанный. Именно принцип работы двухклапанного термостата был рассмотрен выше. Такой вид термочувствительных клапанов популярен у производителей отечественной грузовой и легковой техники.
- Одноклапанный. Имеет наиболее простую конструкцию, в которой не предусмотрен перепускной клапан. Именно такой вид чаще всего можно встретить на авто иностранного производства.
- Одноклапанный двухступенчатый. Из-за высокого давления в контуре охлаждения некоторых двигателей клапану достаточно сложно открыться, что увеличивает инерционность при срабатывании. Для лучшей работы конструкция одноклапанного двухступенчатого термостата предполагает наличие двух тарелок разных размеров. Первоначально открывается малая тарелка, освобождая доступ небольшой части потока охлаждающей жидкости, после чего открывается основная тарелка.

Термостат с электронным управлением
Электронные термостаты устанавливаются на современные двигатели для более точного регулирования температурного режима в тех либо иных условиях работы двигателя.
Для получения наибольшего КПД температура двигателя должна поддерживаться примерно на отметке в 110 ºС. Поскольку обычный механический термостат пропускает жидкость к большому контуру уже при температуре около 95ºС, то двигатель так и не выходит в режим оптимальной температуры и максимальной эффективности. Механизм с электронным управлением позволяет уменьшить инерционность срабатывания, что позволяет двигателю больше времени работать в высокотемпературном диапазоне. Электронное управление помогает повысить эффективность мотора, уменьшить вредные выбросы в атмосферу.
В целом конструкция напоминает обычный механический термостат, в который дополнительно вмонтирован нагревательный элемент. Электронный термостат рассчитан на большую температуру двигателя. В момент пиковых нагрузок для предотвращения перегрева в работу включается нагревательный элемент. Ускоренный нагрев твердого наполнителя позволяется уменьшить время открытия клапана. Нагревательным элементом управляет ЭБУ двигателя, который с датчиковой аппаратуры считывает количество оборотов коленчатого вала, температуру поступающего воздуха, степень нажатия педали акселератора и другие необходимые данные.
Неисправности
Устранения последствий перегрева двигателя часто требуют немалых финансовых вложений. У механического термостата может быть всего 2 поломки:
- движение клапана с подклиниванием. В таком случае замедляется его быстродействие. Причина может быть в механическом износе элементов либо образовании на поверхности штока налета. К образованию налета, продуктов коррозии приводит некачественный антифриз, использование в качестве ОЖ воды, смешивание несовместимых по составу жидкостей;
- заклинивание термостата в одном из положений. Если клапан замирает в открытом положении, ОЖ постоянно циркулирует по большому кругу, что значительно увеличивает время прогрева двигателя и салона автомобиля. Заклинивание в закрытом положении обязательно приведет к перегреву двигателя, так как ОЖ не охлаждается в радиаторе набегающим потоком воздуха.
Кроме неисправностей, характерных для механических термочувствительных клапанов, в электронных термостатах возможны проблемы с питанием нагревательного элемента, подтекание ОЖ в месте прилегания корпуса к блоку двигателя. Учитывая специфику каждого из видов механизмов и условий эксплуатации, предречь ресурс термостата довольно сложно. Можно встретить утверждения о необходимости профилактической замены каждые 100 тыс.км. либо 5 лет эксплуатации, но в то же время практика знает случаи, когда механические термостаты служили более 10 лет.
autolirika.ru
Автомобильный термостат с электронным управлением
Изобретение относится к системам жидкостного охлаждения поршневых двигателей. Автомобильный термостат с электронным управлением, содержащий корпус с каналами подвода охлаждающей жидкости от двигателя и отвода охлаждающей жидкости к насосу через байпасный канал и к радиатору через радиаторный канал, а также дисковый клапан, состоящий из установленных в корпусе подвижного и неподвижного дисков, в каждом из которых имеются окна для прохода охлаждающей жидкости, при этом подвижный диск поджат к неподвижному диску пружиной и имеет возможность поворота от приводного валика, связанного с электроприводом, до частичного или полного совмещения окон обоих дисков, окна обоих дисков выполнены в форме усеченных секторов, радиально расположенных на плоскости дисков, при этом в неподвижном диске окна выполнены с угловой величиной α и равномерно расположены на его плоскости, причем одно окно сообщено с байпасным каналом, а остальные – с радиаторным каналом, в подвижном диске выполнено на одно окно меньше, чем в неподвижном, причем одно из окон имеет угловой размер 2α, а остальные – угловой размер α, где α – полный рабочий угол поворота подвижного диска, при этом окно неподвижного диска, сообщенное с байпасным каналом термостата, имеет возможность взаимодействия только с окном с угловым размером 2α подвижного диска и в одном из крайних его положений указанные окна совмещены, а остальные окна неподвижного диска, сообщенные с радиаторным каналом, имеют возможность взаимодействия со всеми окнами подвижного диска и в другом крайнем его положении эти окна совмещены. Изобретение обеспечивает повышение быстродействия и надежности термостата, улучшение энергетических и экологических показателей автомобильного двигателя. 5 ил.
Изобретение относится к области двигателестроения и может быть использовано в системах жидкостного охлаждения поршневых двигателей.
Известны автомобильные термостаты с электронным управлением, содержащие электроуправляемый пропорциональный клапан, регулирующий распределение потоков теплоносителя (охлаждающей жидкости) в каналах системы охлаждения (патент США 6 539 899, заявка Германии 3713 496 и др.). Указанные термостаты позволяют с помощью специального алгоритма, заложенного в контроллер двигателя, гибко управлять распределением потоков охлаждающей жидкости в системе охлаждения и, таким образом, поддерживать тепловое состояние двигателя в зависимости от режима его работы (нагрузки, частоты вращения вала, температуры охлаждающей жидкости на выходе из двигателя и др.). Оптимизация теплового состояния двигателя позволяет улучшить его энергетические и экологические показатели.
Общими недостатками указанных устройств являются конструктивная и технологическая сложность, повышенные габариты, необходимость приложения значительных усилий для перемещения запирающих элементов клапана, относительно большие перемещения запирающих элементов и др. Указанные недостатки не позволяют в полной мере использовать преимущества пропорциональных клапанов для регулирования потоков теплоносителя в системе охлаждения двигателя.
Известен автомобильный термостат с электронным управлением (заявка Германии №3711 949, МПК4 F16K 31/66), содержащий корпус с каналами подвода охлаждающей жидкости от двигателя и отвода охлаждающей жидкости к насосу через байпасный канал и к радиатору через радиаторный канал, имеющий дисковый клапан с электроприводом, состоящий из установленных в корпусе подвижного и неподвижного дисков, в каждом из которых имеются окна для прохода охлаждающей жидкости, при этом подвижный диск поджат к неподвижному диску пружиной и имеет возможность поворота от валика, связанного с электроприводом, до частичного или полного совмещения окон обоих дисков.
Устройство характеризуется значительным углом поворота (180°) подвижного диска от закрытого положения окон неподвижного диска до полного его открытия (совмещения окон), что, в свою очередь, снижает быстродействие клапана термостата. Кроме того, в данной конструкции термостата используются две пары дисков, одна из которых установлена на входе байпасного канала, а другая – на входе радиаторного канала. Дисковые клапаны имеют привод от единого валика, связанного с электроприводом. Такая конструкция усложняет устройство и увеличивает габаритные размеры термостата, а также повышает величину момента на приводном валике, необходимого для перемещения подвижного диска, вследствие значительной площади соприкасающихся поверхностей дисков. Поскольку площадь соприкасающихся поверхностей дисков клапана довольно велика, снижается его надежность за счет повышения вероятности заклинивания дисковых элементов клапана. При использовании дугообразной концентрической формы окон дисковых элементов клапанов термостата сами клапаны в открытом состоянии имеют достаточно большое гидравлическое сопротивление, обусловленное незначительной площадью окон по сравнению с сечением подводящих и отводящих каналов термостата.
Указанные недостатки ухудшают технические характеристики термостата, что снижает его быстродействие и надежность, а также энергетические и экологические показатели автомобильных двигателей.
Задачей изобретения является повышение быстродействия и надежности термостата, что способствует улучшению энергетических и экологических показателей автомобильных двигателей.
Техническим результатом, обеспечивающим решение поставленной задачи, является упрощение конструкции, уменьшение рабочего угла поворота дискового клапана и снижение гидравлического сопротивления термостата с электронным управлением.
Указанный технический результат достигается тем, что в автомобильном термостате с электронным управлением, содержащем корпус с каналами подвода охлаждающей жидкости от двигателя и отвода охлаждающей жидкости к насосу через байпасный канал и к радиатору через радиаторный канал, дисковый клапан, состоящий из установленных в корпусе подвижного и неподвижного дисков, в каждом из которых имеются окна для прохода охлаждающей жидкости, при этом подвижный диск поджат к неподвижному диску пружиной и имеет возможность поворота от приводного валика, связанного с электроприводом, до частичного или полного совмещения окон обоих дисков, окна обоих дисков выполнены в форме усеченных секторов, радиально расположенных на плоскости дисков, при этом в неподвижном диске окна выполнены с угловой величиной α и равномерно расположены на его плоскости, причем одно окно сообщено с байпасным каналом, а остальные – с радиаторным каналом, в подвижном диске выполнено на одно окно меньше, чем в неподвижном, причем одно из окон имеет угловой размер 2α, а остальные – угловой размер α, где α – полный рабочий угол поворота подвижного диска, при этом окно неподвижного диска, сообщенное с байпасным каналом термостата, имеет возможность взаимодействия только с окном с угловым размером 2α подвижного диска и в одном из крайних его положений указанные окна совмещены, а остальные окна неподвижного диска, сообщенные с радиаторным каналом, имеют возможность взаимодействия со всеми окнами подвижного диска и в другом крайнем его положении эти окна совмещены.
Выполнение окон неподвижного и подвижного дисков в форме радиально расположенных усеченных секторов и их взаимное расположение обеспечивают при поворотном движении подвижного диска постепенное перекрытие байпасного канала термостата с одновременным открытием радиаторного канала, что позволяет использовать один дисковый клапан для регулирования двух потоков охлаждающей жидкости – байпасного и радиаторного и, тем самым, упростить конструкцию и снизить нагрузку на приводной валик.
Форма, количество и расположение окон дискового клапана позволяют максимально использовать поперечное сечение корпуса термостата для прохода охлаждающей жидкости, что существенно снижает гидравлическое сопротивление термостата и позволяет повысить его быстродействие за счет обеспечения небольшого рабочего угла поворота подвижного диска.
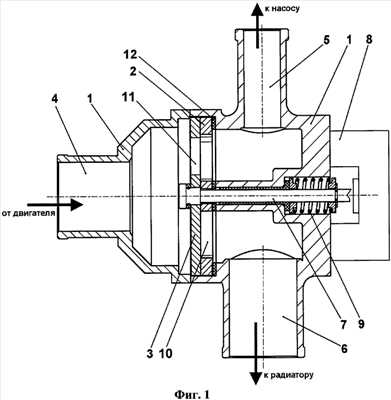
На Фиг.1 представлена конструкция автомобильного термостата с электронным управлением.
На Фиг.2 представлена конструкция неподвижного диска.
На Фиг.3 представлена конструкция подвижного диска.
На Фиг.4 представлен вид части корпуса с радиальными перегородками, разделяющими радиаторный и байпасный каналы.
На Фиг.5 представлены различные положения дискового клапана (два крайних и промежуточное) автомобильного термостата с электронным управлением, соответствующие разным режимам его работы:
а) режим прогрева двигателя – открыт только байпасный канал;
б) режим частичных нагрузок двигателя – частично открыты как байпасный, так и радиаторный каналы;
в) режим полной нагрузки двигателя – открыт только радиаторный канал.
Автомобильный термостат с электронным управлением содержит корпус 1 (см. Фиг.1), в котором размещены неподвижный 2 и подвижный 3 диски дискового клапана. Корпус 1, состоящий из двух частей, соединенных с помощью фланцев, включает канал 4 подвода охлаждающей жидкости от двигателя, байпасный канал 5 для отвода охлаждающей жидкости на вход насоса и радиаторный канал 6 для направления охлаждающей жидкости к радиатору. Подвижный диск 3 приводится в движение от приводного валика 7, связанного с электроприводом 8 (шаговый, моментный или другой электродвигатель), при этом имеет возможность поворота до частичного или полного совмещения окон обоих дисков для прохода охлаждающей жидкости. Пружина 9 обеспечивает определенное усилие прижатия подвижного диска 3 к неподвижному диску 2.
В неподвижном диске 2 выполнено четыре одинаковых окна 10 (см. Фиг.1 и 2), имеющих форму усеченных секторов с угловой величиной α, радиально расположенных на плоскости неподвижного диска 2 под углом 90° относительно друг друга – 10а, 10b, 10с, 10d. Внутренние углы окон скруглены.
В подвижном диске 3 выполнено (см. Фиг.1 и 3) три радиально расположенных окна 11 (е, f, g) в форме усеченных секторов, причем два окна (1f, 11g) имеют угловой размер α, а одно окно (11e) – угловой размер 2α, где α – рабочий угол поворота подвижного диска. Два окна с угловым размером α и ближайшая к ним половина окна с угловым размером 2α расположены под углом 90° относительно друг друга. Внутренние углы окон скруглены. В данном конкретном примере исполнения угловое расположение окна с угловым размером 2α относительно двух других окон с угловым размером α на плоскости подвижного диска 3 соответствует угловым координатам 112 и 158° (см. Фиг.3). Взаимное расположение неподвижного 2 и подвижного 3 дисков обеспечивает совмещение окон при полном перемещении подвижного диска 3 на рабочий угол α, который в данном примере конкретного исполнения составляет 45°.
В других вариантах исполнения устройства количество окон дискового клапана и их угловой размер α могут быть иными. При этом следует учитывать, что с увеличением количества окон будет уменьшаться рабочий угол α поворота подвижного диска, то есть сужаться диапазон регулирования дискового клапана. При уменьшении количества окон дискового клапана, соответственно, будет увеличиваться рабочий угол α поворота подвижного диска.
Для герметизации стыков при установке неподвижного диска 2 в корпусе 1 применены уплотнительные элементы 12 из специальной резины. На внешней кромке неподвижного диска 2 имеется выемка 13 (см. Фиг.2) под штифт 14 (см. Фиг.4) для однозначной ориентации неподвижного диска 2 в корпусе термостата. В центре неподвижного диска 2 имеется цилиндрическое отверстие 15 для приводного валика 7. На внешней кромке подвижного диска 3 выполнена дугообразная лыска 16 (см. Фиг.3), угловая величина которой соответствует рабочему углу α поворота подвижного диска 3. Дугообразная лыска 16 обеспечивает ограничение поворота подвижного диска 3 за счет взаимодействия со штифтом 14, установленным в корпусе термостата (см. Фиг.4) и располагающемся в выемке 13 неподвижного диска 2. В центре подвижного диска 3 выполнено отверстие 17 квадратной формы (см. Фиг.3) для обеспечения поворота диска 3 с помощью приводного валика 7.
Функция дугообразной лыски 16 заключается в ограничении угла поворота подвижного диска 3 (при взаимодействии его со штифтом 14) в пределах рабочего угла α для обеспечения двух крайних положений подвижного диска 3. Эта функция может быть реализована и с помощью других технических средств, например периферийных выступов, специально ориентированных штифтов и т.п.
В качестве материала обоих дисков могут быть применены специальная керамика или пластик, нержавеющая сталь, латунь, бронза, композиционные материалы и т.п.
Неподвижный диск 2 установлен в корпусе термостата таким образом, что одно из его окон (окно 10а), взаимодействующее с окном 11е подвижного диска 3 в одном из крайних его положений, сообщается только с байпасным каналом 5 термостата, а три других окна (10b, 10 с, 10d) неподвижного диска 2, взаимодействующие с тремя окнами подвижного диска (11e, 11f, 11g), в другом крайнем его положении сообщены только с радиаторным каналом. Радиальные перегородки 18 в корпусе 1 термостата (см. Фиг.4) обеспечивают разделение потоков охлаждающей жидкости между байпасным 5 и радиаторным 6 каналами термостата.
Автомобильный термостат с электронным управлением работает следующим образом (см. Фиг.5). В крайнем левом положении подвижного диска 3 (см. Фиг.5, а) открыто только окно 10а неподвижного диска 2, сообщающееся с байпасным каналом 5 термостата. Это положение дискового клапана термостата соответствует режиму прогрева двигателя, когда вся охлаждающая жидкость направляется термостатом из рубашки охлаждения двигателя на вход насоса, минуя радиатор.
После завершения прогрева двигателя по сигналам контроллера (на чертежах не показан) с помощью электропривода 8 через приводной валик 7 (см. Фиг.1) осуществляется поворот подвижного диска 3 по часовой стрелке (см. Фиг.5, б) таким образом, что окно 10а неподвижного диска 2 постепенно закрывается, а окна 10b,
10 с, 10d этого же диска открываются, то есть происходит постепенное перекрытие байпасного канала 5 и открытие радиаторного канала 6 (охлаждающая жидкость начинает поступать в радиатор и далее – на вход насоса).
После упора штифта 14 в буртик дугообразной лыски 16 подвижного диска 3 (крайнее правое положение подвижного диска 3) перемещение последнего прекращается (см. Фиг.5, в), при этом оказываются полностью открытыми окна 10b, 10е, 10d неподвижного диска 2, а окно 10а этого диска – закрытым, то есть радиаторный канал термостата полностью открывается (охлаждающая жидкость поступает из двигателя в радиатор и далее опять в двигатель), а байпасный канал термостата полностью закрывается.
Таким образом, при определенном угле поворота подвижного диска 3 (для данной конструкции α=45°) происходит совмещение определенных окон подвижного и неподвижного дисков и, тем самым, обеспечивается максимальное проходное сечение радиаторного канала термостата (подача охлаждающей жидкости из рубашки охлаждения двигателя к радиатору) при полном перекрытии байпасного канала. Обеспечение максимального проходного сечения каналов поворотом подвижного диска на угол 45° (в устройстве прототипа 180°) позволяет повысить быстродействие клапана термостата по сравнению с прототипом в несколько раз.
Поскольку работа автомобильного термостата с электронным управлением осуществляется по специальной программе, заложенной в контроллер двигателя, обеспечивается определенное позиционирование подвижного диска 3 относительно неподвижного диска 2 в зависимости от режимных параметров работы двигателя. Изменением углового положения подвижного диска 3 осуществляется распределение потоков охлаждающей жидкости в системе охлаждения.
Данное техническое решение обладает рядом преимуществ – простотой и компактностью конструкции, широкими возможностями регулирования распределения потоков теплоносителя в системе охлаждения двигателя, достаточно высоким быстродействием. Заявленные форма, количество и расположение окон дискового клапана позволяют максимально использовать поперечное сечение корпуса термостата для прохода охлаждающей жидкости, что существенно снижает гидравлическое сопротивление термостата в целом и повышает его надежность.
Регулирование температуры охлаждающей жидкости в рубашке охлаждения двигателя в зависимости от режимов работы двигателя с использованием заявленной конструкции термостата позволяет ускорить прогрев двигателя и каталитического нейтрализатора отработавших газов при холодном пуске и снизить эксплуатационный расход топлива при одновременном уменьшении выброса токсичных компонентов. За счет ускорения прогрева холодного двигателя повышается комфорт в салоне автомобиля в зимнее время года.
Применение заявленного технического решения позволит повысить быстродействие и надежность, что обеспечивает улучшение энергетических и экологических показателей автомобильных двигателей, повышая в целом технический уровень автомобилей.
Автомобильный термостат с электронным управлением, содержащий корпус с каналами подвода охлаждающей жидкости от двигателя и отвода охлаждающей жидкости к насосу через байпасный канал и к радиатору через радиаторный канал, а также дисковый клапан, состоящий из установленных в корпусе подвижного и неподвижного дисков, в каждом из которых имеются окна для прохода охлаждающей жидкости, при этом подвижный диск поджат к неподвижному диску пружиной и имеет возможность поворота от приводного валика, связанного с электроприводом, до частичного или полного совмещения окон обоих дисков, отличающийся тем, что окна обоих дисков выполнены в форме усеченных секторов, радиально расположенных на плоскости дисков, при этом в неподвижном диске окна выполнены с угловой величиной α и равномерно расположены на его плоскости, причем одно окно сообщено с байпасным каналом, а остальные – с радиаторным каналом, в подвижном диске выполнено на одно окно меньше, чем в неподвижном, причем одно из окон имеет угловой размер 2α, а остальные – угловой размер α, где α – полный рабочий угол поворота подвижного диска, при этом окно неподвижного диска, сообщенное с байпасным каналом термостата, имеет возможность взаимодействия только с окном с угловым размером 2α подвижного диска, и в одном из крайних его положений указанные окна совмещены, а остальные окна неподвижного диска, сообщенные с радиаторным каналом, имеют возможность взаимодействия со всеми окнами подвижного диска, и в другом крайнем его положении эти окна совмещены.
findpatent.ru
Сообщества › Volkswagen Club › Блог › Электронный термостат! Непонятная для меня его работа!
Хочу поделиться с вами наблюдениями по термостату. Работа которого для меня не совсем логична.
все прекрасно знают как работает этот чудо термостат. По мимо того что он работает как и обычный, в нем еще установлена нить накала для принудительного его открытия с помощью мозгов авто.

!
Открытие термостата без помощи электроники происходит при 105 градусах, это заявлено изготовителем и поверьте, так оно и есть.
При сгорании нити накала внутри термостата, начинают колотить постоянно карлсоны и выскакивает ошибка по нему 17700 — Термостат электронного управления системы охлаждения двигателя-F265, обрыв цепи, или короткое замыкание на +.
Я наблюдал с помощью диагностики открытие и закрытие термостата. И был немного поражен тем, что двигатель в полностью прогретом состоянии работает почти при 105 градусах! В это время открывается термостат и температура сравниваются с температурой в радиаторе (130 группа 2 окно), поднимаются оба до 80 гр.и вкрючается вентилятор. При всём этом мозги не открывают принудительно термостат с помощью мозгов!
Но, мозги помогают открыть термостат только с включенной печкой и делает это при 94.5 гр?! Почему?
Если печка не включена!

если печка не включена.
В группе 130 видно в 3 окне 0,0%-это открытие термостата, т.е. при 103.5гр. термостат еще не открывается! Далее он открылся, это было видно по росту температуры на датчике радиатора (130 группа 2 окно).
А вот с включенной печкой!

с печкой.
Здесь термостат открылся при 94.5гр. с помощью мозгов! Это видно в 130 группе в 3 окне 45.5% идет нагрузка на термостат и он начинает открываться!
КТО МОЖЕТ РАЗЪЯСНИТЬ МНЕ, ПОЧЕМУ ДВИГАТЕЛЬ РАБОТАЕТ ПРИ ТАКОЙ ВЫСОКОЙ ТЕМПЕРАТУРЕ И МОЗГИ ОТКРЫВАЮТ ТЕРМОСТАТ ПРИ МЕНЬШЕЙ ТЕМПЕРАТУРЕ ТОЛЬКО С ВКЛЮЧЕННОЙ ПЕЧКОЙ?
ПОЧЕМУ МОЗГИ СНИЖАЮТ РАБОЧУЮ ТЕМПЕРАТУРУ ДВИГАТЕЛЯ КОГДА ВКЛЮЧАЕШЬ ПЕЧКУ?
(ошибок нет! термостат и датчик G62 исправны, термостат открывается и закрывается, карлсоны включаются и выключаются)
www.drive2.ru
Терморегуляторы. Виды и принцип действия. Применение
Для сохранения требующегося уровня температуры в нагревательных системах применяются электрические устройства, называемые терморегуляторы. Все приборы, имеющие в составе электронагревательные элементы, оборудованы электрическими терморегуляторами.
Необходимость и особенности терморегуляторов
Терморегулятор представляет собой электрическое устройство необходимое для автоматического регулирования температуры в охлаждающем и отопительном оборудовании. Они монтируются в системах обогрева, искусственного климата, охлаждающих либо морозильных системах. Широко используются в домашнем хозяйстве в обустройстве теплиц.
Цель работы терморегулятора определяется включением либо выключением нагревательных элементов какого-либо прибора при показателях температуры ниже или выше указанных соответственно. Благодаря работе терморегулирующих устройств, воздух в помещении, вода, поверхности приборов и т.п. имею стабильную температуру.
Работают все терморегуляторы, в каком бы приборе они не находились, по единому принципу. Автоматический регулятор получает данные о температуре из окружающей его среды, благодаря тому, что оснащается встроенным или выносным термодатчиком. Опираясь на полученную информацию, терморегулятор определяет, когда нужно включаться и отключаться. Чтобы исключить сбои в работе устройства, термодатчик надлежит устанавливать в помещении подальше от прямого влияния различного нагревательного оборудования, в противном случае, может возникнуть искажение показателей и, естественно, регулятор будет работать ошибочно.
Классификация терморегуляторов
Принцип работы всех устройств, регулирующих температуру одинаковый, но видов терморегуляторов очень много, и они отличаются по:
- Назначению:
— комнатные;
— погодные. - Способу монтажа:
— стенные;
— настенные;
— крепящиеся на DIN рейку. - Функциональным возможностям:
— центральное регулирование;
— беспроводное регулирование. - Способу управления:
— механические;
— электромеханические;
— цифровые (электронные).
Также терморегуляторы отличаются техническими свойствами:
- Диапазон измерений температуры. Разные модели терморегуляторов в зависимости от модификации поддерживают температуру от -60 до 1200 °С.
- Количество каналов:
— одноканальные. Применяются для автоматической регулировки и сохранения температуры объекта на указанном уровне. Отличаются меньшими размерами и весом от многоканальных приборов;
— многоканальные. Выпускаются для фиксирования температуры серии стандартных термодатчиков. Их используют на производствах, лабораториях, а также в народном хозяйстве. - Габаритные размеры:
— компактные;
— большие;
— крупные.
Применение регуляторов и датчиков температуры
Терморегуляторы могут устанавливаться в жилых и промышленных помещениях. В целом можно выделить учитывающие:
- И контролирующие температуру воздуха в конкретной зоне помещения. Эти приборы относятся к категории комнатных регуляторов. Бывают аналоговые и цифровые.
- И поддерживающие температуру определённых предметов – это регуляторы для полового отопления.
- Температуру воздуха снаружи – погодные термостаты.
Регуляторы, которые эксплуатируются в промышленных помещениях, бывают двух видов:
- Индустриальные пространственные. К этим приборам относятся аналоговые стенные регуляторы, имеющие повышенную защиту.
- Индустриальные с отдельными датчиками. Это аналоговые приборы с внешними датчиками, которые могут быть настенными или устанавливаться на специальную рейку.
Датчики могут устанавливаться на стены или в полу дома, в зависимости от их типа и назначения. Встроенные приборы монтируются в монтажную коробку прямо в стену, а приборы накладного типа просто прикрепляют на стену.
Выделяют также несколько видов датчиков по назначению:
- Датчик температуры пола.
- Датчик температуры воздуха.
- Инфракрасный датчик для пола и воздуха.
Датчик, измеряющий температуру воздуха, часто размещают на корпусе терморегулятора. Терморегуляторы с инфракрасными датчиками можно применять для контроля всей системы отопления. Эти датчики отлично подходят для установки в ванные комнаты, душевые, сауны и прочие помещения с повышенной влажностью. Сам регулятор температуры надлежит размещать обязательно в сухом месте, от переизбытка влаги он может повредиться. Правда есть модели, с повышенной герметичностью, и их монтаж в ванную ничем не опасен для них.
Регуляторы для тёплых полов отличаются своим внутренним устройством, это:
- Цифровые.
- Аналоговые.
Цифровые устройства имеют хорошую стойкость к разным типам помех, поэтому исключают искажение данных и гарантируют большую точность, чем аналоговые.
Особенности функциональных возможностей электрических регуляторов температуры:
- Беспроводное регулирование (дистанционное). Рекомендовано применять при дополнительной инсталляции греющих элементов и проведении реконструкций, когда выполнять классическую регулировку невозможно или довольно трудно. Дистанционное управление исключает дополнительные строительно-ремонтные работы при электроинсталляции (к примеру, монтаже кабельной проводки).
- Устройства программирования. Центральное (классическое) устройство позволяет производить регулирование температуры целого крупного объекта с одной точки. Для программирования регулятора используют компьютер или устройства управления. Также контроль осуществляется с помощью телефонного модема.
Принцип действия, плюсы и минусы
Механический регулятор температур считается простым и практичным устройством. Применяется в нагревательных и охладительных целях. Чаще всего представляет внешнее электроустановочное изделие, предназначенное для внутренней установки в жилые помещения в системы отопления. Внешний вид подобен стандартному запорному крану.
Специфичностью механических терморегуляторов является отсутствие электрической составляющей. Работает аппарат по особому принципу, заключающемуся в свойствах некоторых веществ и материалов менять свои механические качества от изменения температуры.
При изменении температуры до конкретно указанной, происходит разрыв или замыкание электрической цепи, что обуславливает выключение либо включение приборов для нагрева. Требуемый показатель температуры выбирается на шкале прибора путём вращения специального колесика.
Положительные моменты механических термостатов:
- Надёжность.
- Устойчивость к перепадам напряжения.
- Не подвластны сбоям электроники.
- Работают при отрицательных температурах.
- Можно эксплуатировать в условиях резких изменений температуры.
- Простое управление.
- Длительный срок службы.
Недостатки:
- Наличие погрешности.
- Вероятность появления небольших щелчков при подаче напряжения на инфракрасные нагреватели.
- Низкая функциональность.
Независимо от недостатков, они являются самыми распространёнными и встречаются в организации обогревательных систем чаще других термостатов, благодаря простому управлению и невысокой стоимости.
Эксплуатация электромеханических термостатов
Электромеханические регуляторы температуры используется в различных бытовых электроприборах. Эти изделия бывают двух модификаций:
- С биметаллической пластиной и группой контактов. Пластина, нагреваясь до определённой температуры, изгибается и размыкает контакты, из-за чего прекращается подача электротока на нагревательную спираль или ТЭН прибора. После остывания пластина прогибается обратно в своё исходное положение, контакты при этом замыкаются, возвращается подача электричества и прибор нагревается. Приборами с этими регуляторами пользуется в повседневной жизни практически каждый человек – это утюги, электроплиты, электрочайники и т.п.
- С капиллярной трубкой. Изделие состоит из трубки, наполненной газом и помещённой в ёмкость с водой, а также контактов. Принцип действия базируется на особенностях материалов расширяться при определённых температурах. Вещество, находящееся в полой трубке, начинает расширяться при разогреве воды, из-за чего возникает замыкание контакта. После охлаждения воды, контакты размыкаются, а электроприбор начинает разогреваться. Подобными регуляторами чаще всего оснащаются водонагреватели, масляные обогреватели, бойлеры.
Электромеханические терморегуляторы зарекомендовали себя как неприхотливые устройства:
- Автоматическое включение обогрева.
- Герметичность.
- Невысокая цена.
Минусы этих приборов:
- Низкая функциональность.
- Сложность добиться высокой точности регулирования.
Специфика электронных терморегуляторов
Электронные устройства очень распространены, они эксплуатируются с многими электрообогревателями. Обычно ими оборудуют общие отопительные системы и кондиционирования, а также тёплые полы.
Главные составляющие части:
- Выносной термодатчик.
- Контроллер — устройство, устанавливающее конкретный уровень температуры в доме, а также создающее команды включения и отключения нагревателя.
- Электронный ключ – контактная группа.
Датчик прибора отправляет данные о температуре контроллеру, который обрабатывает полученный сигнал и решает, требуется снижать или повышать температуру.
Виды электронных термостатов:
- Обычные терморегуляторы. В этих приборах можно выставлять желаемые пределы температуры либо точную температуру, которая будет сохраняться. Устройства оборудованы электронным дисплеем.
- Цифровые терморегуляторы:
— С закрытой логикой. Устройства имеют неизменный алгоритм работы. Регулирование выполняется при помощи передачи команд по указанным параметрам конкретным приборам, которые были установлены заранее. Параметры задаются заранее в зависимости от нужд используемых приборов для определённой температуры. Корректировка программы этих регуляторов практически неосуществима, можно только менять основные параметры. Но именно эти термостаты наиболее часто применяют в быту.
— С открытой логикой. Эти аппараты контролируют точный процесс обогрева помещений. Имеют расширенные настройки, благодаря чему можно поменять их алгоритм работы. Управляются кнопками или сенсорной панелью. Путём этих устройств можно включать либо отключать обогревательные системы в строго заданное время. Но их перепрограммированием должны заниматься специалисты. Эти регуляторы применяют чаще на производстве и в промышленности, чем в быту.
Программируемые термостаты удобно эксплуатировать, они открывают широкие возможности для тонкой настройки приборов на нужные температурные показатели, зависящие от требований отдельных зон помещений.
Достоинства:
- Широкий диапазон регулировок.
- Разнообразие дизайнерских решений.
- Экономия электроэнергии.
- Высокая точность.
- Эффективность.
- Безопасность при эксплуатации.
Также терморегуляторы просты в управлении и имеют не высокую стоимость, только эти два плюса не касаются регуляторов с открытой логикой. Электронные регуляторы нередко являются составной частью системы умного дома.
Похожие темы:
electrosam.ru
автомобильный термостат с электронным управлением – патент РФ 2375592
Изобретение относится к системам жидкостного охлаждения поршневых двигателей. Автомобильный термостат с электронным управлением, содержащий корпус с каналами подвода охлаждающей жидкости от двигателя и отвода охлаждающей жидкости к насосу через байпасный канал и к радиатору через радиаторный канал, а также дисковый клапан, состоящий из установленных в корпусе подвижного и неподвижного дисков, в каждом из которых имеются окна для прохода охлаждающей жидкости, при этом подвижный диск поджат к неподвижному диску пружиной и имеет возможность поворота от приводного валика, связанного с электроприводом, до частичного или полного совмещения окон обоих дисков, окна обоих дисков выполнены в форме усеченных секторов, радиально расположенных на плоскости дисков, при этом в неподвижном диске окна выполнены с угловой величиной и равномерно расположены на его плоскости, причем одно окно сообщено с байпасным каналом, а остальные – с радиаторным каналом, в подвижном диске выполнено на одно окно меньше, чем в неподвижном, причем одно из окон имеет угловой размер 2 , а остальные – угловой размер , где – полный рабочий угол поворота подвижного диска, при этом окно неподвижного диска, сообщенное с байпасным каналом термостата, имеет возможность взаимодействия только с окном с угловым размером 2 подвижного диска и в одном из крайних его положений указанные окна совмещены, а остальные окна неподвижного диска, сообщенные с радиаторным каналом, имеют возможность взаимодействия со всеми окнами подвижного диска и в другом крайнем его положении эти окна совмещены. Изобретение обеспечивает повышение быстродействия и надежности термостата, улучшение энергетических и экологических показателей автомобильного двигателя. 5 ил. 
Изобретение относится к области двигателестроения и может быть использовано в системах жидкостного охлаждения поршневых двигателей.
Известны автомобильные термостаты с электронным управлением, содержащие электроуправляемый пропорциональный клапан, регулирующий распределение потоков теплоносителя (охлаждающей жидкости) в каналах системы охлаждения (патент США 6 539 899, заявка Германии 3713 496 и др.). Указанные термостаты позволяют с помощью специального алгоритма, заложенного в контроллер двигателя, гибко управлять распределением потоков охлаждающей жидкости в системе охлаждения и, таким образом, поддерживать тепловое состояние двигателя в зависимости от режима его работы (нагрузки, частоты вращения вала, температуры охлаждающей жидкости на выходе из двигателя и др.). Оптимизация теплового состояния двигателя позволяет улучшить его энергетические и экологические показатели.
Общими недостатками указанных устройств являются конструктивная и технологическая сложность, повышенные габариты, необходимость приложения значительных усилий для перемещения запирающих элементов клапана, относительно большие перемещения запирающих элементов и др. Указанные недостатки не позволяют в полной мере использовать преимущества пропорциональных клапанов для регулирования потоков теплоносителя в системе охлаждения двигателя.
Известен автомобильный термостат с электронным управлением (заявка Германии № 3711 949, МПК4 F16K 31/66), содержащий корпус с каналами подвода охлаждающей жидкости от двигателя и отвода охлаждающей жидкости к насосу через байпасный канал и к радиатору через радиаторный канал, имеющий дисковый клапан с электроприводом, состоящий из установленных в корпусе подвижного и неподвижного дисков, в каждом из которых имеются окна для прохода охлаждающей жидкости, при этом подвижный диск поджат к неподвижному диску пружиной и имеет возможность поворота от валика, связанного с электроприводом, до частичного или полного совмещения окон обоих дисков.
Устройство характеризуется значительным углом поворота (180°) подвижного диска от закрытого положения окон неподвижного диска до полного его открытия (совмещения окон), что, в свою очередь, снижает быстродействие клапана термостата. Кроме того, в данной конструкции термостата используются две пары дисков, одна из которых установлена на входе байпасного канала, а другая – на входе радиаторного канала. Дисковые клапаны имеют привод от единого валика, связанного с электроприводом. Такая конструкция усложняет устройство и увеличивает габаритные размеры термостата, а также повышает величину момента на приводном валике, необходимого для перемещения подвижного диска, вследствие значительной площади соприкасающихся поверхностей дисков. Поскольку площадь соприкасающихся поверхностей дисков клапана довольно велика, снижается его надежность за счет повышения вероятности заклинивания дисковых элементов клапана. При использовании дугообразной концентрической формы окон дисковых элементов клапанов термостата сами клапаны в открытом состоянии имеют достаточно большое гидравлическое сопротивление, обусловленное незначительной площадью окон по сравнению с сечением подводящих и отводящих каналов термостата.
Указанные недостатки ухудшают технические характеристики термостата, что снижает его быстродействие и надежность, а также энергетические и экологические показатели автомобильных двигателей.
Задачей изобретения является повышение быстродействия и надежности термостата, что способствует улучшению энергетических и экологических показателей автомобильных двигателей.
Техническим результатом, обеспечивающим решение поставленной задачи, является упрощение конструкции, уменьшение рабочего угла поворота дискового клапана и снижение гидравлического сопротивления термостата с электронным управлением.
Указанный технический результат достигается тем, что в автомобильном термостате с электронным управлением, содержащем корпус с каналами подвода охлаждающей жидкости от двигателя и отвода охлаждающей жидкости к насосу через байпасный канал и к радиатору через радиаторный канал, дисковый клапан, состоящий из установленных в корпусе подвижного и неподвижного дисков, в каждом из которых имеются окна для прохода охлаждающей жидкости, при этом подвижный диск поджат к неподвижному диску пружиной и имеет возможность поворота от приводного валика, связанного с электроприводом, до частичного или полного совмещения окон обоих дисков, окна обоих дисков выполнены в форме усеченных секторов, радиально расположенных на плоскости дисков, при этом в неподвижном диске окна выполнены с угловой величиной и равномерно расположены на его плоскости, причем одно окно сообщено с байпасным каналом, а остальные – с радиаторным каналом, в подвижном диске выполнено на одно окно меньше, чем в неподвижном, причем одно из окон имеет угловой размер 2 , а остальные – угловой размер , где – полный рабочий угол поворота подвижного диска, при этом окно неподвижного диска, сообщенное с байпасным каналом термостата, имеет возможность взаимодействия только с окном с угловым размером 2 подвижного диска и в одном из крайних его положений указанные окна совмещены, а остальные окна неподвижного диска, сообщенные с радиаторным каналом, имеют возможность взаимодействия со всеми окнами подвижного диска и в другом крайнем его положении эти окна совмещены.
Выполнение окон неподвижного и подвижного дисков в форме радиально расположенных усеченных секторов и их взаимное расположение обеспечивают при поворотном движении подвижного диска постепенное перекрытие байпасного канала термостата с одновременным открытием радиаторного канала, что позволяет использовать один дисковый клапан для регулирования двух потоков охлаждающей жидкости – байпасного и радиаторного и, тем самым, упростить конструкцию и снизить нагрузку на приводной валик.
Форма, количество и расположение окон дискового клапана позволяют максимально использовать поперечное сечение корпуса термостата для прохода охлаждающей жидкости, что существенно снижает гидравлическое сопротивление термостата и позволяет повысить его быстродействие за счет обеспечения небольшого рабочего угла поворота подвижного диска.
На Фиг.1 представлена конструкция автомобильного термостата с электронным управлением.
На Фиг.2 представлена конструкция неподвижного диска.
На Фиг.3 представлена конструкция подвижного диска.
На Фиг.4 представлен вид части корпуса с радиальными перегородками, разделяющими радиаторный и байпасный каналы.
На Фиг.5 представлены различные положения дискового клапана (два крайних и промежуточное) автомобильного термостата с электронным управлением, соответствующие разным режимам его работы:
а) режим прогрева двигателя – открыт только байпасный канал;
б) режим частичных нагрузок двигателя – частично открыты как байпасный, так и радиаторный каналы;
в) режим полной нагрузки двигателя – открыт только радиаторный канал.
Автомобильный термостат с электронным управлением содержит корпус 1 (см. Фиг.1), в котором размещены неподвижный 2 и подвижный 3 диски дискового клапана. Корпус 1, состоящий из двух частей, соединенных с помощью фланцев, включает канал 4 подвода охлаждающей жидкости от двигателя, байпасный канал 5 для отвода охлаждающей жидкости на вход насоса и радиаторный канал 6 для направления охлаждающей жидкости к радиатору. Подвижный диск 3 приводится в движение от приводного валика 7, связанного с электроприводом 8 (шаговый, моментный или другой электродвигатель), при этом имеет возможность поворота до частичного или полного совмещения окон обоих дисков для прохода охлаждающей жидкости. Пружина 9 обеспечивает определенное усилие прижатия подвижного диска 3 к неподвижному диску 2.
В неподвижном диске 2 выполнено четыре одинаковых окна 10 (см. Фиг.1 и 2), имеющих форму усеченных секторов с угловой величиной , радиально расположенных на плоскости неподвижного диска 2 под углом 90° относительно друг друга – 10а, 10b, 10с, 10d. Внутренние углы окон скруглены.
В подвижном диске 3 выполнено (см. Фиг.1 и 3) три радиально расположенных окна 11 (е, f, g) в форме усеченных секторов, причем два окна (1f, 11g) имеют угловой размер , а одно окно (11e) – угловой размер 2 , где – рабочий угол поворота подвижного диска. Два окна с угловым размером и ближайшая к ним половина окна с угловым размером 2 расположены под углом 90° относительно друг друга. Внутренние углы окон скруглены. В данном конкретном примере исполнения угловое расположение окна с угловым размером 2 относительно двух других окон с угловым размером на плоскости подвижного диска 3 соответствует угловым координатам 112 и 158° (см. Фиг.3). Взаимное расположение неподвижного 2 и подвижного 3 дисков обеспечивает совмещение окон при полном перемещении подвижного диска 3 на рабочий угол , который в данном примере конкретного исполнения составляет 45°.
В других вариантах исполнения устройства количество окон дискового клапана и их угловой размер могут быть иными. При этом следует учитывать, что с увеличением количества окон будет уменьшаться рабочий угол поворота подвижного диска, то есть сужаться диапазон регулирования дискового клапана. При уменьшении количества окон дискового клапана, соответственно, будет увеличиваться рабочий угол поворота подвижного диска.
Для герметизации стыков при установке неподвижного диска 2 в корпусе 1 применены уплотнительные элементы 12 из специальной резины. На внешней кромке неподвижного диска 2 имеется выемка 13 (см. Фиг.2) под штифт 14 (см. Фиг.4) для однозначной ориентации неподвижного диска 2 в корпусе термостата. В центре неподвижного диска 2 имеется цилиндрическое отверстие 15 для приводного валика 7. На внешней кромке подвижного диска 3 выполнена дугообразная лыска 16 (см. Фиг.3), угловая величина которой соответствует рабочему углу поворота подвижного диска 3. Дугообразная лыска 16 обеспечивает ограничение поворота подвижного диска 3 за счет взаимодействия со штифтом 14, установленным в корпусе термостата (см. Фиг.4) и располагающемся в выемке 13 неподвижного диска 2. В центре подвижного диска 3 выполнено отверстие 17 квадратной формы (см. Фиг.3) для обеспечения поворота диска 3 с помощью приводного валика 7.
Функция дугообразной лыски 16 заключается в ограничении угла поворота подвижного диска 3 (при взаимодействии его со штифтом 14) в пределах рабочего угла для обеспечения двух крайних положений подвижного диска 3. Эта функция может быть реализована и с помощью других технических средств, например периферийных выступов, специально ориентированных штифтов и т.п.
В качестве материала обоих дисков могут быть применены специальная керамика или пластик, нержавеющая сталь, латунь, бронза, композиционные материалы и т.п.
Неподвижный диск 2 установлен в корпусе термостата таким образом, что одно из его окон (окно 10а), взаимодействующее с окном 11е подвижного диска 3 в одном из крайних его положений, сообщается только с байпасным каналом 5 термостата, а три других окна (10b, 10 с, 10d) неподвижного диска 2, взаимодействующие с тремя окнами подвижного диска (11e, 11f, 11g), в другом крайнем его положении сообщены только с радиаторным каналом. Радиальные перегородки 18 в корпусе 1 термостата (см. Фиг.4) обеспечивают разделение потоков охлаждающей жидкости между байпасным 5 и радиаторным 6 каналами термостата.
Автомобильный термостат с электронным управлением работает следующим образом (см. Фиг.5). В крайнем левом положении подвижного диска 3 (см. Фиг.5, а) открыто только окно 10а неподвижного диска 2, сообщающееся с байпасным каналом 5 термостата. Это положение дискового клапана термостата соответствует режиму прогрева двигателя, когда вся охлаждающая жидкость направляется термостатом из рубашки охлаждения двигателя на вход насоса, минуя радиатор.
После завершения прогрева двигателя по сигналам контроллера (на чертежах не показан) с помощью электропривода 8 через приводной валик 7 (см. Фиг.1) осуществляется поворот подвижного диска 3 по часовой стрелке (см. Фиг.5, б) таким образом, что окно 10а неподвижного диска 2 постепенно закрывается, а окна 10b,
10 с, 10d этого же диска открываются, то есть происходит постепенное перекрытие байпасного канала 5 и открытие радиаторного канала 6 (охлаждающая жидкость начинает поступать в радиатор и далее – на вход насоса).
После упора штифта 14 в буртик дугообразной лыски 16 подвижного диска 3 (крайнее правое положение подвижного диска 3) перемещение последнего прекращается (см. Фиг.5, в), при этом оказываются полностью открытыми окна 10b, 10е, 10d неподвижного диска 2, а окно 10а этого диска – закрытым, то есть радиаторный канал термостата полностью открывается (охлаждающая жидкость поступает из двигателя в радиатор и далее опять в двигатель), а байпасный канал термостата полностью закрывается.
Таким образом, при определенном угле поворота подвижного диска 3 (для данной конструкции =45°) происходит совмещение определенных окон подвижного и неподвижного дисков и, тем самым, обеспечивается максимальное проходное сечение радиаторного канала термостата (подача охлаждающей жидкости из рубашки охлаждения двигателя к радиатору) при полном перекрытии байпасного канала. Обеспечение максимального проходного сечения каналов поворотом подвижного диска на угол 45° (в устройстве прототипа 180°) позволяет повысить быстродействие клапана термостата по сравнению с прототипом в несколько раз.
Поскольку работа автомобильного термостата с электронным управлением осуществляется по специальной программе, заложенной в контроллер двигателя, обеспечивается определенное позиционирование подвижного диска 3 относительно неподвижного диска 2 в зависимости от режимных параметров работы двигателя. Изменением углового положения подвижного диска 3 осуществляется распределение потоков охлаждающей жидкости в системе охлаждения.
Данное техническое решение обладает рядом преимуществ – простотой и компактностью конструкции, широкими возможностями регулирования распределения потоков теплоносителя в системе охлаждения двигателя, достаточно высоким быстродействием. Заявленные форма, количество и расположение окон дискового клапана позволяют максимально использовать поперечное сечение корпуса термостата для прохода охлаждающей жидкости, что существенно снижает гидравлическое сопротивление термостата в целом и повышает его надежность.
Регулирование температуры охлаждающей жидкости в рубашке охлаждения двигателя в зависимости от режимов работы двигателя с использованием заявленной конструкции термостата позволяет ускорить прогрев двигателя и каталитического нейтрализатора отработавших газов при холодном пуске и снизить эксплуатационный расход топлива при одновременном уменьшении выброса токсичных компонентов. За счет ускорения прогрева холодного двигателя повышается комфорт в салоне автомобиля в зимнее время года.
Применение заявленного технического решения позволит повысить быстродействие и надежность, что обеспечивает улучшение энергетических и экологических показателей автомобильных двигателей, повышая в целом технический уровень автомобилей.
ФОРМУЛА ИЗОБРЕТЕНИЯ
Автомобильный термостат с электронным управлением, содержащий корпус с каналами подвода охлаждающей жидкости от двигателя и отвода охлаждающей жидкости к насосу через байпасный канал и к радиатору через радиаторный канал, а также дисковый клапан, состоящий из установленных в корпусе подвижного и неподвижного дисков, в каждом из которых имеются окна для прохода охлаждающей жидкости, при этом подвижный диск поджат к неподвижному диску пружиной и имеет возможность поворота от приводного валика, связанного с электроприводом, до частичного или полного совмещения окон обоих дисков, отличающийся тем, что окна обоих дисков выполнены в форме усеченных секторов, радиально расположенных на плоскости дисков, при этом в неподвижном диске окна выполнены с угловой величиной и равномерно расположены на его плоскости, причем одно окно сообщено с байпасным каналом, а остальные – с радиаторным каналом, в подвижном диске выполнено на одно окно меньше, чем в неподвижном, причем одно из окон имеет угловой размер 2 , а остальные – угловой размер , где – полный рабочий угол поворота подвижного диска, при этом окно неподвижного диска, сообщенное с байпасным каналом термостата, имеет возможность взаимодействия только с окном с угловым размером 2 подвижного диска, и в одном из крайних его положений указанные окна совмещены, а остальные окна неподвижного диска, сообщенные с радиаторным каналом, имеют возможность взаимодействия со всеми окнами подвижного диска, и в другом крайнем его положении эти окна совмещены.
www.freepatent.ru
Термостат – как это работает
Водитель, который хочет всегда иметь исправный автомобиль, должен знать и понимать принципы функционирования всех деталей его «железного коня». Для тех, кто только начал вникать в такую сложную механику, подобная задача может показаться недостижимой. Однако, чем больше удается узнать обо всех системах автомобилях, тем лучше запоминается информация и о каждой, даже самой незначительной, его детали. На нашем блоге мы уже успели ознакомить Вас с особенностями функционирования системы охлаждения двигателя, однако сегодня мы посвятим статью одному из самых важных ее элементов – термостате.
Это устройство является обязательным элементом каждого автомобиля и без него любой двигатель может закипеть. Чтобы понять, как же происходит охлаждение двигателя и какую роль в этом играет термостат, ознакомимся с главными принципами его функционирования, видами и спецификой разных моделей. Отдельно обратимся к вопросу об неисправностях термостатов и тому, как именно можно определить поломку путем простой диагностики.
1. Конструкция, особенности работы и выполняемые функции: все, что нужно знать о термостатах

Естественно, Вы хотите задать нам вопрос, как работает термостат? Отвечаем. Когда Вы заводите холодный двигатель, охлаждающая жидкость (антифриз или же тосол) поначалу функционирует лишь по малому кругу системы охлаждения. А все это потому, что термостат находится в закрытом состоянии и через него охлаждающая жидкость начнет проходить только после того, как ее температура достигнет 95°С. Благодаря такой небольшой особенности термостата, является возможным не только быстро разогревать двигатель, но и в разы уменьшать его износ, сокращать количество вредных выхлопов. Таким образом, основная функция термостата – это блокирование подачи жидкости в большой круг охлаждения автомобильного двигателя.
Происходит это благодаря специальному клапану, который и задерживает тосол при попытке попасть в радиатор, ограничивая его движение исключительно свободным пространством двигателя. Но как мы уже отметили, одновременно с тем, как температура жидкости достигнет рабочего уровня, этот клапан автоматически открывается и пропускает жидкость по полному кругу, где она имеет возможность охладиться. Происходит это благодаря специальному наполнителю внутри устройства, который способен реагировать на повышение температуры. Если она высокая, наполнитель расширяется, тем самым открывая клапаны. Если низкая – вся процедура происходит с точностью до наоборот.
Функции термостата довольно просты, однако играют огромную роль в исправности работы всего автомобиля. Ознакомившись с таким простым принципом его работы, Вы сами догадаться, где именно это устройство можно найти под капотом машины. Большинство конструкторов последовали такой простой логике и разместили данное приспособление между автомобильным мотором и его радиатором. Однако стоит учесть, что на некоторых автомобилях можно встретить и исключения, которые вызваны особенностями конструкции главного силового агрегата автомобиля или его системы охлаждения.
Из каких рабочих элементов состоит автомобильный термостат?
Основной рабочей деталью, благодаря которой функционирует термостат, является термоэлемент, внутри которого находится сложное по своему составу твердое вещество. Так, оно включает в себя:
– гранулированный воск;
– медь в порошкообразном состоянии;
– такие же порошкообразные графит и алюминий.
Температурные режимы для открывания и закрывания основного клапана устанавливаются соответственно конкретной модели двигателя. Зачастую они находятся в промежутке между 70 и 95°С или же между 100 и 105°С. Чтобы определить это, достаточно посмотреть на корпус термостата, на котором подобная информация должна быть обязательно обозначена.
К двигателю термостат подключается благодаря трем патрубкам, каждый из которых выполняет свою функцию:
– входной патрубок – через него жидкость из двигателя поступает в радиатор для охлаждения;
– патрубок перепускного шланга, благодаря которому происходит попадание жидкости в термостат непосредственно из головки самого цилиндра;
– третий патрубок, который обеспечивает подачу жидкости в насос.
Можем заключить, что термостат по своей сути является ни чем иным, как регулятором температурного уровня охлаждающей жидкости двигателя. На некоторых автомобилях, который предназначены для особенно интенсивной эксплуатации, может устанавливаться даже не один, а несколько термостатов. Не смотря на идентичный принцип функционирования, они могут отличаться друг от друга конструкционными особенностями, типом наполнителя или же температурному уровню, на который они способны реагировать. Но чтобы не путать Вас, посвятим разнообразию термостатов отдельный раздел.
2. Какие бывают термостаты: знакомимся с наиболее распространенными видами и их конструктивными особенностями
В первую очередь все термостаты стоит различать по видам, из которых выделяют:
1. Одноклапанные.
2. Двухступенчатые.
3. Двухклапанные.
4. Термостаты с электронным управлением.
Если говорить о них в целом, то следует сразу отметить, что первая тройка функционируют практически по одному и тому же принципу. Так, самый простой вид термостатов, которыми являются одноклапанные, имеет всего одну клапанную тарелку и терморегулирующий элемент, который способен ее закрывать и открывать. Таким образом, такой клапан может либо пропускать охлаждающую жидкость, либо не пропускать, других функций у него нет. Что же касается двухступенчатого термостата – то тут уже имеется целых два клапана, один из которых основной, а второй – вспомогательный. Что же касается двухклапанного термостата, то он состоит из двух затворов, которые являются абсолютно равноправными. Функционируют они по обратной связи друг с другом.
Самым совершенным на сегодняшний день видом термостатов является тот, который обладает возможностью электронного управления. Его конструкция позволяет регулировать открытием/закрытием клапана, что, в свою очередь, позволяет достигать разных режимов функционирования двигателя. Оказывается, что под влиянием разных температурных режимов, можно добиться того, что двигатель будет использовать в разы меньше горючего, при этом, не теряя мощности и не изнашиваясь от такой «хитрой» эксплуатации. Но и это еще не все. Благодаря электронному регулированию стало возможным двухконтурное охлаждение антифриза, что особенно важно при управлении автомобилем в сложных условиях. Но кроме отличий конструктивного характера, каждый все виды термостатов имеет свои особенные принципы функционирования. Их мы и рассмотрим далее
3. В чем заключается принцип работы термостатов разных моделей
По сути, принцип функционирования любого термостата схож с принципом работы реле. Внутренний рабочий элемент, о котором упоминалось выше, имеет форму небольшого цилиндра. Поскольку в состав смеси, которая помещена внутри него, входит искусственный воск, при температуре в 82°С он начинает потихоньку таять. В следствие этого происходит естественное расширение жидкости, которое и выталкивает из цилиндра специальный штырек. Как Вы догадались, данный штырек и открывает клапан. Описанный принцип работы присущ обычному капиллярному термостату и понять его несложно даже восьмикласснику, который прошел основы термодинамики и механики.
Что же касается двухступенчатых термостатов, которые имеют уже два клапана, то тут стоит обратить внимание на некоторые отличия. Основной клапан приводится в действие тем же способом, что и в вышеописанном варианте. Однако, здесь есть еще и вспомогательный клапан, который позволяет усиливать все действия основного. Зачем это нужно, спросите Вы? Ответ будет довольно простым. Дело в том, что в моторах с большим объемом и повышенным давлением работы охладительная жидкость движется под довольно высоким давлением. Поэтому, без «дружественной подмоги» основной клапан не сможет перекрыть трубку, даже если температуры жидкости сильно опустится.
В двухклапанных системах термостатов все происходит еще проще, хотя конструкция у них и сложнее. Поскольку конструкция таких термостатов состоят из двух заслонов, абсолютно независимых друг от друга, то один из них отвечает за движение охлаждающей жидкости по маленькому кругу, а второй – за ее движение по большому кругу. Но как же это возможно? Просто когда открывается один из клапанов, автоматически закрывается один. Ну и наоборот.
И наконец-то мы переходим к термостатам, управляемых электронно. По сути, они функционирует так же, как и обычные одноклапанные. Только вот у описываемых здесь моделей есть одна своя существенная особенность. Терморегуляция клапанов осуществляется при помощи температурного резистора. Именно нагрев этого элемента и дает сигнал для того, чтобы заслонка открылась. Проходит сигнал непосредственно через электронный блок управления, который и управляет клапаном. Правильно запрограммировав блок, Вы сможете сразу почувствовать все достоинства езды на автомобиле с электронным термостатом. Ведь он будет обеспечивать необходимое охлаждение, опираясь на темп езды, сложность дорог и тип Вашего двигателя.
4. Неисправности термостата: к чему нужно быть готовым во время эксплуатации двигателя?
В том, что термостат является очень важной составляющей системы охлаждения двигателя, Вы должны были убедиться исходя из всего вышеописанного материала. Однако, так же как и любой другой механизм, термостат может сломаться, и причины и последствия этого могут проявляться совершенно по-разному. То, что чаще всего поражает термостат и нарушает его работу, является самой обычной коррозией. Последствия, к которым она может привести, могут быть очень разнообразными. Поэтому, рассмотрим неприятные ситуации, которые могут случиться с термостатом и автомобилем, когда на нем вдруг появилась коррозия (хотя сразу отметим, что нижеописанные происшествия могут возникнуть не только по этой причине).
К примеру, термостат находится в полностью закрытом виде, однако неожиданно заклинивает и отказывается пропускать жидкость по большому кругу системы охлаждения. Последствия подобного могут привести к перегреву двигателя. При чем, произойти подобное может при любых погодных условиях и при любой нагрузке на сам двигатель (ну и естественно на термостат). Также, термостат может открываться только наполовину. Это может уберечь мотор автомобиля от закипания, однако он все равно будет эксплуатироваться «на грани».
Бывают случаи, когда клапан «замирает» в полностью открытом или частично открытом положении. Из-за этого двигатель будет нереально долго прогреваться до уровня рабочей температуры. Бывают случаи, когда зимой двигатель вообще не прогревается. Подобная неисправность систему охлаждения сразу же должна Вам указать на то, в чем действительно кроется настоящая причина поломки. Отметим, что при полностью исправной системе охлаждения и при температуре воздуха в 0°С двигатель можно разогреть всего за 5-10 минут. Если же клапан термостата открыт изначально, двигатель не сможет разогреться до температуры выше, чем 70°С. Понятно, что при таком состоянии двигателя Вы не сможете никуда уехать.
Однако, прежде чем приступать к замене или ремонту термостата, необходимо на все 100% убедиться в том, что причина неисправности – это действительно он. Для этого можно провести несколько нехитрых манипуляций, который мы описали в отдельном разделе.
5. Диагностирование исправности термостата
Полную диагностику термостата можно проводить самостоятельно, без автомехаников и других помощников. И так, при обнаружении неисправности системы охлаждения двигателя, следует прибегнуть к одному из нижеописанных вариантов диагностики термостата:
1. Запустите двигатель на холостом ходу, чтобы он смог немного прогреться. Проследите, чтобы стрелка, указывающая на температуру внутри двигателя, не успела дойти до красной отметки. После этого необходимо сразу же выключить двигатель и перейти к осмотру «ситуации» под капотом автомобиля. Сразу же отыщите радиатор и его верхний шланг. Он изготовлен из черной резины и имеет в диаметре примерно 5 сантиметров. Также найдите нижний шланг, который выглядит идентично верхнему (будьте очень осторожны, поскольку шланги могут быть очень горячими; чтобы это понять, иногда достаточно поднести к ним руку). Если датчик показал Вам нормальное прогревание двигателя, а один из шлангов остался холодным – то верный признак того, что клапан не пропускает жидкость и она не попадает в радиатор. В этом случае остается одно – полная замена термостата.
2. Второй способ называют «народным», хотя он и дает не менее точные результаты. Проводить его рационально в том случае, когда изначально Вы заподозрили поломку в другой составляющей системы охлаждения и в результате обширной диагностики уже успели снять термостат с двигателя. Для проверки его исправности, просто поместите устройство в сосуд с водой и начинайте понемногу его подогревать. Учтите, что температура воды должна практически достигнуть температуры закипания (помните о рабочей температуре каждого термостата). После этого Вам будет необходимо всего-навсего визуально оценить, открылся ли клапан, или же нет. Если термостат рабочий – он несомненно откроется, если нерабочий – так и останется в прежнем положении, что требует замены данного термостата на новый.
Касательно второго варианта следует отметить, что иногда для оценки работоспособности термостата его даже не приходится опускать в воду. Речь идет о ситуациях, когда клапан заклинивает в открытом состоянии. Отметить подобное Вы сможете сразу же, как только снимете устройство, предварительно успевшее охладится.
Важно обратить Ваше внимание на ситуацию замены термостата. Для того, чтобы он подошел Вашему автомобиля «как родной», необходимо узнать температуру открывания клапана и уже с этой информацией отправляться за покупкой в специализированный магазин. Думаем, Вы понимаете, что если на обычное авто поставить термостат с температурой открывания клапана свыше 100°С, двигатель постоянно будет перегреваться. Так что будьте внимательны не только на дорогах, но и в автомагазинах. Удачных Вам поездок!
Подписывайтесь на наши ленты в таких социальных сетях как, Facebook, Вконтакте, Instagram, Twitter и Telegram: все самые интересные автомобильные события собранные в одном месте.
auto.today




Добавить комментарий