Сцепка скреперов: Классификация скреперов с учетом основных признаков
Классификация скреперов с учетом основных признаков
Скреперы применяют при разработке грунтов до IV категории включительно. Для облегчения процесса копания грунты выше 2-й категории предварительно разрыхляют рыхлителями.
Дальность транспортирования грунта прицепными скреперами экономически эффективна на расстояние до 300 м и самоходными до 5000 м. Рабочий процесс техники состоит из следующих операций: набора грунта, транспортирования груженого скрепера, разгрузки, транспортирования пустогй машины к забою. С помощью такого рода техники можно возводить насыпь земляного полотна из боковых резеровов или грунтовых карьеров, устраивать выемки с отвозкой грунта в насыпи или кавальеры, планировать строительные площадки, срезать растительный слой грунта в полосе отвода дороги.
С учетом основных признаков скреперы классифицируются:
1. По емкости ковша (м3) — малой емкости, с ковшом емкостью до 5; средней емкости, с ковшом емкостью до 6—15; большой емкости с ковшом емкостью более 15;
2.
По способу загрузки — на заполняемые за счет подпора грунта при реализации тягового усилия базового тягача и загружаемые с помощью загрузочного устройства. К первому типу относятся скреперы обычного исполнения, а к второму типу — элеваторные, гребковые, роторные.
3. По способу разгрузки — на машины со свободной, принудительной и полупринудительной (комбинированной) разгрузкой. В скреперах со свободной разгрузкой опорожнение ковша осуществляется под действием собственного веса грунта. При принудительной разгрузке полное опорожнение ковша осуществляется с помощью задней стенки. В технике с полупринудительной (комбинированной) разгрузкой часть объема грунта высыпается под действием собственного веса, а часть с помощью принудительной очистки.
4. По типу привода — на скреперы с канатным, электромеханическим и гидравлическим приводом.
Канатный привод состоит из следующих узлов: механической лебедки, системы полиспастов и направляющих блоков, а также рычагов управления. Электрический привод состоит из электродвигателя, шестеренчатого редуктора и зубчатого реечного механизма.
К электромеханическому приводу следует отнести также привод, состоящий из электролебедки и канатно-блочного механизма. Гидравлический привод включает насос, бак с жидкостью, гибкие шланги и гидрораспределитель.
5. По способу агрегатирования — на прицепные, полуприцепные, самоходные и скреперные поезда.
Прицепной скрепер буксируется гусеничным или двухосным колесным трактором. Полуприцепной скрепер – находится в сцепке с гусеничным или двухосным колесным трактором (тягачом) передней частью (хоботом) через опорно-сцепное устройство.
Самоходный скрепер представляет собой единую конструкцию с индивидуальной энергетической установкой, обеспечивающей передвижение машины и работу всех агрегатов, в том числе и управление рабочими органами.
6. По типу тягача или самоходного оборудования — на колесные и гусеничные. Самоходный скрепер, как правило, выполнен на пневмоколесном ходу.
7. По типу трансмиссий — на механические, гидромеханические, электрические и гидростатические.
Рис. 1. Схемы скреперов:
а и б — двухосный прицепной и одноосный прицепной к гусеничному трактору; в — прицепной к колесному тягачу; г — полуприцепной к двухосному тягачу; д — полуприцепной к одноосному тягачу или самоходный скрепер с мотор-колесами; е — самоходный двухмоторный; ж — самоходный с задним двигателем; з — скрепер-бульдозер; 1 — гусеничный трактор или колесный тягач; 2 —ковш; 3 — заслонка; 4 — буфер; цифры указывают примерное распределение, массы скрепера с груженым ковшом по осям.
Рис. 2. Схемы разгрузки ковша скрепера:
а — свободная разгрузка вперед; б — свободная разгрузка назад; в — принудительная разгрузка; г — полупринудительная разгрузка через нож; д — щелевая разгрузка; 1 — передняя заслонка; 2 — ковш; 3— нож; 4 — задняя заслонка; 5 — задняя стенка; 6 — диище; 7 — заслонка
Наиболее распространенной для самоходных машин является гидромеханическая трансмиссия. Основные конструктивные схемы скреперов показаны на рис. 1.
Устройство.
Рабочим органом данного типа техники является сварной ковш, имеющий на передней кромке днища во всю ширину ступенчатые ножи. В задней части ковша находится буфер, который имеет двоякое назначение. В первом случае он предназначен для упора отвала бульдозера при подталкивании машины. Во втором случае центральная балка буфера служит как направляющая хвостовика задней стенки. Боковые стенки ковша изготовлены из стального листа, усиленного балками жесткости. В боковых стенках ковша имеются проушины и кронштейны для крепления гидроцилиндров управления заслонкой, для рычага заслонки, а также имеется опора для крепления упряжного шарнира и гнезда для крепления оси заднего колеса. Задняя стенка ковша представляет собой подвижный щит и по бокам имеет направляющие ролики. Однако эти ролики не удерживают заднюю стенку от опрокидывания при выгрузке грунта. Стенку удерживает и центрирует хвостовик. Заслонка может быть плавающей и управляемой с помощью гидроцилиндров.
Передняя рама скрепера выполнена в виде арки и в своей конструкции имеет шкворень для соединения с тягачом, арку, рычаги и упряжной шарнир.
Ковш прицепного скрепера с канатным управлением имеет несколько другую конструкцию. Отличие состоит в том, что сам ковш является одновременно задней рамой скрепера и состоит из двух боковых стенок и днища ковша, служащего одновременно задней стенкой.
На рис. 2 представлены схемы разгрузки ковша скрепера. При свободной разгрузке, а она применяется в ковшах небольшой емкости, ковш опрокидывается и грунт высыпается под действием собственного.веса (рис. 2, а, б).
Скреперные ковши с полупринудительной разгрузкой (рис. 2, г) имеют неподвижные боковые стенки, а разгрузка выполняется при повороте днища и задней стенки вокруг оси. Грунт под собственным весом и напором задней стенки высыпается из ковша.
Способ принудительной разгрузки с помощью задней стенки, приводимой в движение гидроцилиндрами, является прогрессивным, так как полностью очищает ковш от грунта (рис. 2, в). Щелевая разгрузка (рис. 2, д) менее прогрессивна и не нашла широкого применения.
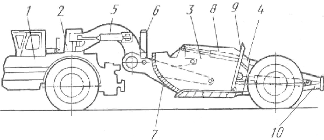
Прицепные скреперы с гидравлическим управлением (рис.
3) состоят из серьги для сцепления скрепера с трактором, шкворневого устройства для поворота передних колес, несущей рамы, ковша, заслонки и задней стенки. Рабочими органами управляют из кабины трактора с помощью рычагов управления трехсекционным гидрораспределителем.
Рис. 3. Скрепер ДЗ-3.3 (Д-569):
1 — трактор; 2—серьга; 3 —шкворневое устройство шарового типа; 4 —рама; 5—рукава и трубопроводы; 6 — гидроцилиндр подъема и опускания ковша; 7 — гидроцилиндр управления заслонкой ковша; 8 — заслонка ковша; 9 — ковш; 10 — задняя стенка ковша; 11 — гидроцилиндр управления задней стенкой ковша; 12 — колеса с шиной; 13, 14 — нижний и боковой ножи; 15 — дышло
Необходимо отметить, что прицепные скреперы обычно применяются в условиях переменного рельефа местности. Прицепной скрепер с канатным управлением имеет полупринудительную выгрузку грунта опрокидыванием днища и задней стенки вокруг шарнира. Самоходная машина с принудительной разгрузкой состоит из базового одноосного тягача и одноосного полуприцепного скреперного оборудования.
Полуприцепной и самоходный скрепер с пневмоколесными тягачами имеют большую транспортную скорость: например, с одноосным тягачом имеют скорость 40—52 км/ч, а при двухосном тягаче до 70 км/ч. Скреперные агрегаты из двух или трех машин позволяют резко увеличить производительность этих машин. Важным фактором для повышения производительности данного типа техники является применение скребкового конвейера (рис. 4), для загрузки ковша. В движение конвейер приводится от электродвигателя или гидродвигателя.
Применение элеваторной загрузки обеспечивает высокий коэффициент загрузки ковша и снижение тягового усилия при заполнении машины на 20—25.
Автоматизация работы скрепера значительно облегчает условия работы и повышает производительность. С помощью автоматического регулирования можно поддерживать оптимальный режим работы двигателя, а также тяговое усилие машины на постоянном уровне регулированием толщины стружки грунта. Автоматическая система и устройства, применяемые на скреперах, аналогичны системам, приведенным в разделе «Бульдозеры».
Для повышения точности планировочных работ при отделке дорожных насыпей и выемок применяют систему автоматического управления «Стабилоплан-I», которая обеспечивает автоматическую стабилизацию продольного углового положения ковша скрепера при выполнении планировочных работ.
Рис. 4. Принципиальные схемы скреперов со скребковым конвейером: а — набор грунта; б — выгрузка грунта
На тракторе в кабине водителя смонтирован блок и пульт дистанционного управления, а за кабиной размещен электрозолотник управления. На буфере скрепера установлен датчик углового положения, который включен в электросхему управления и регулирует толщину срезаемой стружки грунта.
Технологические схемы работы. Для разработки грунта заранее составляют схему, по которой будет работать скрепер. Производительность зависит от того, насколько полно используется емкость ковша и рационально выбирается схема резания и набора грунта. Рекомендуется набирать грунт на передаче базовой машины при скорости 2—3 км/ч, при толщине срезаемой стружки от 7 до 35 см, что в свою очередь определяется категорией грунта и мощностью базового тягача и толкача.
Трактор-толкач обеспечивает полную загрузку ковша скрепера в плотных грунтах. Наполнение ковша с постепенным выглуб-лением ножа производят при постоянной толщине стружки и ширине резания. Этот способ используют при планировке грунта. Для сокращения времени набора грунта используют ступенчатый способ наполнения ковша. Зарезание грунта при устройстве выемок и разработке резервов ведут по ребристо-шахматной схеме, по которой разработка грунта ведется последовательными рядами проходок, одинаковыми по длине и расположению. При работе скрепера по этой схеме между проходами первого ряда оставляют полосы неразработанного грунта шириной не более 1,3 м. Второй ряд разработок ведется на расстоянии половины длины проходки от первого и расположен по оси оставленных полос грунта. Работа по этой схеме увеличивает заполнение ковша до 110% его геометрической емкости, сокращая при этом на 10—15% путь и время набора грунта. По этой схеме скрепер может работать без трактора-толкача. При работе в рыхлых сыпучих грунтах применяют способ, называемый «клевок».
По этому способу величина заглубления ковша в 2 раза больше той, которая соответствует устойчивой работе двигателя с полной нагрузкой. При работе базового тягача на неустойчивой характеристике двигателя ковш выглубляется, в это время двигатель снова набирает нужные обороты, и так повторяется до тех пор, пока ковш будет полным.
В зависимости от расположения забоев относительно мест отсыпки грунта движение скреперов может быть организовано по различным схемам. Рациональную схему движения скреперов инженерно-технические работники выбирают заранее в проектах производства работ на основании технико-экономических расчетов, а также с учетом следующих требований:
- путь транспортирования грунта должен быть кратчайшим;
- забой должен быть такой длины, чтобы ковш скрепера загружался полностью;
- длина участка разгрузки должна обеспечивать полную разгрузку ковша;
- при возведении полотна должны быть въезды и съезды.
Наиболее распространенными схемами движения скреперов являются: эллиптическая, восьмеркой и зигзагообразная.
Кроме этих схем применяют следующие: схему «спираль», поперечно-челночную, продольно-челночную.
Технология работы скреперов для разработки выемок
Страницы: 123
Наиболее рациональное их использование возможно при организации земляных работ одним из следующих способов: 1) заполнение ковша скрепера с помощью бульдозера-толкача; 2) последовательное заполнение ковшей двух скреперов, когда один помогает другому (способ двойной сцепки, часто называемый способом сдвоенных скреперов). Первый способ оправдан лишь при оптимальном количестве скреперов, обслуживаемых одним толкачом.
Для скреперов с объемом ковша более 15 м3 нужны толкачи, не менее чем в 3 раза превосходящие по мощности базовый трактор Т-100 (тяговое усилие 94 кН).
Как известно, чем больше вместимость ковша скрепера, тем выше стоимость самой машины. Значит при вынужденных ее простоях по различным причинам выше будет и стоимость земляных работ.
Отсюда видна важность рационального выбора типа машины.
Современные скреперы с двумя двигателями, несмотря на более высокую стоимость эксплуатации, по сравнению со скреперами с одним двигателем, успешно работают на землевозных путях с крутыми подъемами благодаря приводу на все колеса. Такие скреперы могут работать в периоды, когда грунты землевозных путей находятся во влажном и далее переувлажненном состоянии.
В последние годы в зарубежной практике применяют и второй способ производства земляных работ. При этом скреперы оборудуют плитой-толкателем с серьгой, автоматически опускающейся и поднимающейся по сигналу оператора. Скреперы, заезжая на участок погрузки, выстраиваются один за другим. Когда первый скрепер в процессе движения опускает нож в грунт, в его плиту упирается второй скрепер, способствуя более быстрой загрузке первого скрепера. Одновременно оператор переднего скрепера опускает серьгу на крюк заднего скрепера. После заполнения ковша первого скрепера оператор поднимает нож, а оператор второго, наоборот, опускает его для зарезания грунта.
Таким образом, в процессе движения восьми ведущих колес под действием четырех двигателей последовательно наполняются ковши двух скреперов. Затем оператор первого скрепера автоматически снимает серьгу с крюка второго скрепера и они разъединяются. При скальных горных породах данный способ неэкономичен из-за высокого износа покрышек; неэкономичен он и при неровном участке забора грунта. Вертикальная несоосность двух скреперов во время сцепки должна быть минимальной. Длину прямолинейного участка нужно принимать не менее 60 м.
Зоны экономичного использования скреперов связаны также с продольным профилем землевозных путей: с увеличением сопротивления качению или уклона загрузка скрепера толкачом становится все более рентабельной (рис. 12.14). При увеличении продолжительности кругового рейса (цикла) или при движении под уклон груженых скреперов один толкач в состоянии обслужить большее число машин, т. е. снижается стоимость погрузки.
Рис. 12.14. Зоны экономичного использования самоходных скреперов с ковшом вместимостью 36 т
:
а — путь находится в среднем состоянии, с подъемом; б — то же, без подъема; 1 — зона скрепера с толкачом; 2— зона скреперов при работе по способу двойной сцепки (способ сдвоенных скреперов)
Первый способ производства работ требует ритмичной подачи скреперов под погрузку, что на практике организовать нелегко.
Второй способ применим при любых расстояниях перевозки грунта и любых значениях сопротивления качению.
Скреперы с элеваторами обычно работают самостоятельно т. е. без толкача. В отличие от сдвоенных скреперов им требуется меньшей длины участок зарезания.
Скрепер с элеватором имеет и другие преимущества, а именно: ковш наполняется каждый раз на полный объем даже при сыпучих песках;
при липких грунтах элеватор способствует более быстрой разгрузке ковша.
Товары > Коробка для скребка сцепного устройства
Оценка 4 из
5
к
хогманмайк из
отвал коробчатого скребка сцепного устройства
Я купил его для ухода за своим двором и подъездной дорогой, он действительно хорошо работает на рыхлой неуплотненной почве и камнях, твердой глине и очень плохо уплотненных каменистых дорогах, не так уж и много.
Сборка прошла на ура. Он также может использовать лоток для шлакоблоков для дополнительного веса, чтобы он лучше копался.
Дата публикации: 02.06.2014
Оценка 2 из
5
к
патрик68 из
Сломался при первом использовании
Я купил это несколько недель назад и, наконец, смог использовать его, чтобы отремонтировать мою подъездную дорожку. Как отмечали другие, мне пришлось добавить шлакоблок, чтобы он не подпрыгивал и не копался в диске. Я использовал его около часа и почти закончил, когда лезвие отвалилось. После осмотра я заметил, что сварка на валу была сделана не очень хорошо. Я также заметил, что между валом и пластиной, к которой он был приварен, есть немного ржавчины. Я обратился к продавцу газонов и садов, через которого я купил это, чтобы получить замену. Я надеюсь, что это разовая проблема, иначе я попрошу вернуть свои деньги и посмотрю на продукт конкурента. Тот, у которого может быть лоток для дополнительного веса.
Дата публикации: 14.03.2021
Оценка 2 из 5 к либакбей из Мне нравится дизайн скребка для коробок, но он определенно нуждается в некоторых обновлениях. Я купил этот продукт в декабре 19, чтобы справиться с некоторыми выбоинами на моей дороге. Мне пришлось добавить около 30 фунтов к скребку, чтобы он не подпрыгивал. Это начало работать очень хорошо, но примерно после 8 или 9 проходов по подъездной дорожке зубья на коробке скребка полностью изнашивались. Я надеюсь, что у них есть возможность заменить стержень сталью более высокого качества, иначе я сделаю такой, который не изнашивается так быстро. Это может быть отличный продукт с некоторыми довольно простыми модификациями.
Дата публикации: 26.12.2019
Оценка 4 из
5
к
LenJ из
Хорошо, могло быть намного лучше
Я купил скребок для ящиков в TSC по распродаже, и по цене это очень хороший скребок для ящиков.
Дата публикации: 29.04.2019
Оценка 3 из
5
к
Тонкий от
Заманчивые особенности. Только легкий режим
Я купил это, чтобы иметь возможность немного выравнивать и удалять легкие снегопады до 8 дюймов или около того, не снимая косилку для живота. Уинт слишком легкий для меня. Если бы вы предложили модель HD, я был бы заинтересован. Если вы покупаете один, я рекомендую следующие моды.
Дата публикации: 18.03.2017
Рейтинг 5 из
5
к
Шон из
Справляется со всеми задачами, для которых я его использовал
Я использую скребок для ящиков, чтобы содержать акр собственности. Я использовал его для очистки сорняков, разбрасывания гравия, а также для разрыхления и разбрасывания почвы. До сих пор ему удавалось справиться со всеми задачами, для которых я его использовал. У меня не было проблем с инструкцией или сборкой, все было собрано легко, без утерянных или поврежденных компонентов. Я обнаружил, что балластировка передних колес моего трактора значительно помогает при повороте, когда прикреплен скребок для коробок.
Дата публикации: 16.03.2017
Оценка 4 из 5 к сломалIT из хорошо построенный У меня есть 1/4 мили + участок дороги из твердого камня и глины. хотя этот предмет хорошо сложен, он требует большей длины и более длинных и толстых копающих зубов. примерно через три часа я изнашивал свои до такой степени, что они больше не соприкасались раньше, чем лезвие. но я могу сварить или сделать новые. в целом мне это нравится, и я вижу много будущего использования.
Дата публикации: 2015-02-19
Оценка 4 из
5
к
Nightcelica от
Царапина коробки сцепного устройства рукава
Я купил коробку, которая помогает мне поддерживать мой привод, который он делает очень хорошо, и помогает выровнять мой двор, который до сих пор выполнялся только хорошо, но я считаю, что это больше похоже на заминку рукава.
Вещи, которые я хотел бы видеть улучшенными:
1) Возможность регулировки зубцов ниже отвала для более эффективного копания.
2) Устройство крутит больше, чем мне нравится, но я не видел повреждений от него, так что это может быть немой точкой.
3) Возможность регулировать угол наклона лезвия, но, опять же, это можно исправить с помощью модифицированного сцепного устройства.
4) наконец, я хотел бы, чтобы у него было крепление, чтобы прикрепить к нему дополнительный вес, чтобы помочь преодолеть отсутствие давления вниз от сцепки рукава. В целом, я очень доволен коробкой Scratch, она не предназначена для трактора, поэтому у нее нет всех функций, которые вы могли бы найти в предыдущей версии.
Дата публикации: 02.12.2017
Скрепер Pulldozer 1220A
Полукрепление для серьезной тяги
Новые скреперы Pulldozer серии 1220 A созданы для эффективных земляных работ в тяжелых условиях. Основные конструктивные особенности:
- Полунавесная сцепка для превосходной тяги
- Высокие точки поворота защищают уязвимые механизмы
- Конструкция с двумя шинами для облегчения буксировки в мягких условиях
Скребки Pulldozer проходят неустанные испытания в твердых и каменистых условиях.
Новые модели серии A предлагают множество новых функций и преимуществ, повышающих надежность и повышающих производительность.
Прочная конструкция
Скребки для бульдозеров часто используются в твердых глинистых, илистых и каменистых условиях. Эффективность зависит от загрузки чаши каждый раз и , что сокращает время простоя из-за повреждений.
В этих условиях есть две выдающиеся особенности, которые делают скрепер Pulldozer успешным. Во-первых, это полунавесная сцепка. С 26% веса переносится на трактор , вы получите всю необходимую тягу, чтобы собрать чашу. Это прочное соединение трактора со скребком также улучшает контроль резания. Вы получите более гладкие срезы и лучшую отделку по сравнению с блоками в стиле тележки.
Другая ключевая особенность — чистый профиль боковины. На скребке Pulldozer единственными частями, контактирующими с землей, являются твердая сталь и закаленные износостойкие пластины.
Все точки поворота, гидравлические цилиндры, шланги, экраны и защитные панели устанавливаются вверх и вдали от камней, корней и мусора. Мы приложили немало усилий, чтобы скрыть гидравлику, уменьшить потребность в легких щитах и придать машине такую форму, чтобы она не повреждала заторы горных пород.
В дополнение к отвалу Pulldozer, скребки идеально подходят для глубокого копания или для дальних вывозов.
Обзор
- 12 футов в ширину x 20 кубических ярдов (номинальная вместимость)
- Вместимость с шапкой – 22 кубических ярда
- Полукрепление
- Тип эжектора
- 2 Шина (стандартная радиальная)
- Возможность тандема
Стандартные характеристики
Дежа – Модель 1220A оснащена 20-ярдовой чашей с шириной резания 131-1/2″. Его можно увеличить до 22 кубических ярдов.
Это самозагружающийся или может загружаться экскаватором (со снятой опциональной мачтой GPS)
Двойной центральный 3-дюймовые подъемные цилиндры обеспечивают точный контроль глубины.
Чистые наружные боковые стенки чаши обеспечивают защиту от повреждения камнями и позволяют копать вертикальную траншею шириной с скребком.
Чаша и фартук скребка усилены пластиной QT-100 в стратегических зонах для увеличения срока службы Гидравлический эжектор выталкивает весь материал, включая почву с высокой влажностью и глину, вперед для полной выгрузки.
Панель с высокой опорой изгибается вверху, чтобы перенаправить плиты глины обратно в чашу. Отверстия с прорезями обеспечивают лучшую видимость скребка и скребка при работе в тандеме.
Пластина эжектора перемещается за край лезвия для полной очистки чаши . Боковые направляющие UMHW и большие стальные опорные ролики защищают изнашиваемые поверхности.
Эжектор и фартук работают с одного пульта через клапан последовательности . Выталкиватель автоматически выдвигается, когда фартук полностью поднят.
Шестисторонняя полунавесная сцепка поддерживает груз, обеспечивая широкий диапазон движения во всех направлениях.
Pulldozer 1220A без проблем следует за вашим трактором по пересеченной местности.
Подсоединение к трактору упрощается с помощью быстроразъемной вилки .
Для повышения долговечности соединения штифта и втулки, рассчитанные на высокие нагрузки, имеют линейное отверстие для соблюдения жестких допусков.
Гидравлические наконечники 1/2″ Pioneer входят в стандартную комплектацию. Наконечники 3/4″ не являются обязательными. Требуются два гидравлических пульта дистанционного управления: один для подъема и один для комбинированного контура катапультирования/перрона.
Аккумулятор системы плавности хода — Стандартный аккумулятор системы плавности хода поглощает удары и улучшает ходовые качества, когда чаша поднята. На глубине резания аккумулятор отключается для постоянного контроля глубины.
Держатель шланга имеет широкий диапазон регулировки для различных моделей тракторов.
Радиальные колеса – Twin Шины 875/65R29 тяга с меньшим сопротивлением качению в мягких условиях.
Эти радиальные шины премиум-класса входят в стандартную комплектацию.
Широкая 136-дюймовая шина (снаружи наружу) обеспечивает превосходную устойчивость на склонах и неровной поверхности.
Доступны гидравлические тормоза.
Отвал: Опущенная центральная часть отвала действует как клин. Он удерживает устройство, чтобы свести к минимуму эффект ходьбы.
Зубчатые ножи проникают с большей силой на дюйм ножа в плотно утрамбованную почву, что означает более быстрое заполнение и меньшую нагрузку на трактор. Доступны гладкие лезвия Стандартные датчики включают:
- Указатель глубины резания
- Индикатор положения фартука
При тандемной работе опциональный набор датчиков перемещает эти индикаторы на высоко установленную башню GPS для облегчения обзора над ведущим скребком
Башня GPS – Дополнительная башня GPS размещает приемник прямо над режущей кромкой для упрощения калибровки и точный контроль.
Прочие характеристики:
- Транспортный замок на подъемных цилиндрах
- Предохранитель на фартуке для обслуживания
- Пескоструйная обработка и порошковое покрытие
- Точки смазки в легкодоступных местах
Технические характеристики
- Сухой вес: 28000 фунтов
- Вес сцепки: 26% (пустой), 28% (с шапкой)
- Габаритные размеры: 143,5″Ш x 400″Д
- Размеры чаши: 132″Ш x 98″Д x 50,5″В
- Требования к трактору: 400+ л.с.
- Требуемые пульты: 2
Обновления и опции
Совместимость с тандемом: Тандемные скреперы незаменимы для дальних перевозок. Почти вдвое увеличьте свою производительность без удвоения количества тракторов и рабочей силы. В комплект для тандема входят:
- Заднее быстросъемное устройство
- Скрытые шланги, проложенные сзади ведущего скребка
Тандемный комплект можно добавить к 1220A в любое время.

Добавить комментарий