Не работает навеска мтз 1523: Ремонт гидросистемы задней навески трактора МТЗ-80, МТЗ-82
Ремонт гидросистемы задней навески трактора МТЗ-80, МТЗ-82
________________________________________________________________________
Ремонт гидросистемы задней навески трактора МТЗ-80, МТЗ-82
Навесное оборудование (навеска) трактора МТЗ-80, МТЗ-82 поднимается медленно, масло в гидросистеме перегревается вследствие больших утечек – в соединениях перепускной клапан — седло распределителя гидросистемы задней навески, при (разрегулировке предохранительного клапана, нарушении герметичности в сопряжении золотник — корпус.
Та же неисправность наблюдается при работоспособном распределителе гидросистемы, но неисправном насосе высокого давления вследствие больших внутренних утечек, из-за износа шестерен, корпуса, втулок или разрушения резиновых уплотнений.
При неисправном насосе нагреваются его корпус и прилегающие к нему
участки трубопровода. При неисправном распределителе масло поступает
на слив и в этом случае нагреваются все трубопроводы большого
диаметра.
Преждевременная остановка навесного оборудования (навески) трактора МТЗ-80, МТЗ-82, невозможность ее подъема без удержания рукоятки золотника рукой, медленный, рывками, подъем машины, перегрев масла в гидросистеме — все это следствие разрегулировки автоматов возврата золотников.
На медленный подъем навесного орудия трактора МТЗ-80, МТЗ-82, кроме неисправности насоса или гидрораспределителя, влияют и такие факторы, как:
– использование масла, сорт которого не соответствует рекомендованному, в том числе по вязкости;
– недостаточное количество масла в баке;
– попадание инородного тела в сопряжение седло — перепускной клапан распределителя, в результате масло сливается через нижнюю крышку распределителя в бак, минуя силовые цилиндры;
– большие утечки масла в сопряжении седло—шарик предохранительного клапана распределителя, которые возникают вследствие износа сферической поверхности шарика;
– утечки масла в сопряжении расточка корпуса распределителя —
золотник.
Появление пены в баке свидетельствует о подсосе воздуха через неплотности трубопроводов всасывающей магистрали или повреждении уплотнения вала насоса трактора МТЗ-80, МТЗ-82. В этом случае подтягивают все соединения трубопроводов; если пенообразование не прекратилось, снимают гидронасос с трактора и заменяют манжету уплотнения вала.
Появление масла на сферических рычагах управления золотниками распределителя указывает на повышенное давление в сливной полости вследствие засорения основного фильтра гидросистемы или неисправности предохранительного клапана.
Техническое состояние фильтра определяют с помощью прибора КИ-13936, подсоединяя его к сливному трубопроводу. Давление в полости слива распределителя трактора МТЗ-80, МТЗ-82 должно быть не более 0,25 МПа. Если давление выше, фильтр снимают, очищают от загрязнений и проверяют техническое состояние предохранительного клапана.
Значительная усадка находящейся в поднятом состоянии навешенной
машины указывает на износ или разрушение уплотнений поршня силового
цилиндра, износ сопрягаемых деталей корпус — золотник
распределителя, негерметичность запорного и обратного клапанов
силового регулятора, утечку масла через запорный клапан
гидроувеличителя сцепного веса.
Для определения технического состояния уплотнений поршня силового гидроцилиндра трактора МТЗ-80, МТЗ-82 поднимают навешенную машину на 3/4 хода штока и разъединяют запорное устройство магистрали, связанное с полостью подъема. Затем измеряют расстояние от головки штока цилиндра до его крышки и включают секундомер. При массе навесного оборудования (или груза) 500 кг усадка штока за 30 мин должна быть не более 25 мм.
При определении суммарных утечек масла в золотниковой паре распределителя и силового цилиндра поднимают груз (оборудование). Рукоятку распределителя устанавливают в нейтральное положение, рукоятку гидроувеличителя сцепного веса — в положение «Заперто», а рукоятку управления силовым регулятором — в положение «Выключено».
Замеряют размер по штоку линейкой и следят за стрелкой часов в
течение 1 мин. Через 30 мин замер повторяют. Разность замеров усадок
поршня силового цилиндра трактора МТЗ-80, МТЗ-82 при подключенной и
отключенной магистрали, превышающая 15 мм, свидетельствует об износе
золотниковой пары распределителя.
В этом случае распределитель
снимают с трактора и заменяют новым.
Если результаты замеров находятся в пределах нормы, но при установке рукоятки управления силовым регулятором в положение «Выключено» и удержании навешенной машины в поднятом состоянии наблюдается усадка штока силового цилиндра, это свидетельствует о негерметичности обратного и запорного клапанов силового регулятора.
Для устранения такой неисправности вынимают из корпуса регулятора детали клапанов, промывают их в чистом дизельном топливе и прочеканивают шарики по их седлам. Если после этого навешенная машина самопроизвольно опускается, то регулятор снимают с трактора и заменяют новым или отремонтированным.
Если при работе трактора МТЗ-80, МТЗ-82 отсутствуют характерные
признаки, по которым можно судить о неисправности конкретного
агрегата, а гидросистема работает недостаточно четко (медленный
подъем орудия, большая его усадка в транспортном положении, перегрев
масла или пенообразование и т.
п.), то в первую очередь проверяют
техническое состояние насоса высокого давления и распределителя.
Проверку начинают с определения общего состояния соединений
гидросистемы: отсутствия подтекания масла и подсоса воздуха.
На тракторе техническое состояние агрегатов гидросистемы навески определяют с помощью прибора КИ-5473. В комплект прибора входят дроссель-расходомер, набор подсоединительной арматуры и рукавов.
Ремонт гидрораспределителя трактора МТЗ-80, МТЗ-82
Техническое состояние распределителя трактора МТЗ-80, МТЗ-82 определяют по величине утечек масла вследствие износа золотников, негерметичности перепускного и предохранительного клапанов, давлению срабатывания автоматов возврата золотников или предохранительного клапана. Для проверки выворачивают пробки-заглушки из корпуса распределителя и подключают нагнетательный рукав (вход) прибора к полости подъема, а сливной рукав к полости опускания.
Вход прибора подключают к нагнетательному (метка «П»), а выход — к
сливному (метка «0») трубопроводам распределителя.
При исправном гидрораспределителе трактора МТЗ-80, МТЗ-82 количество масла, проходящего через пего (один из золотников находится в положении «Подъем»), должно соответствовать замеренной производительности насоса.
Для замера количества масла, протекающего через распределитель, и определения утечек в ело сопряжениях пускают дизель и устанавливают номинальную частоту вращения коленчатого вала (определяют по тахоспидометру на щитке приборов или по частоте вращения вала отбора мощности).
Поворотом рукоятки прибора создают противодавление по манометру, а
по шкале лимба и указателю отсчитывают количество масла,
протекающего через прибор.
Основные параметры распределителя Р75-ЗЗР гидросистемы навески трактора МТЗ-80, МТЗ-82
Давление срабатывания, МПа:
– автомата золотника – 12,5—13,5
– предохранительного клапана – 15,5—16,0
Допустимые утечки масла, л/мин – 5,0
При значительных утечках масла в распределителе трактора МТЗ-80, МТЗ-82 нередко заменяют один перепускной клапан. Такая частичная замена не дает желаемых результатов, так как изнашивается не только конусная (запорная) поверхность клапана, но и его седло. Износ острых кромок седла клапана зачастую неравномерный и в результате полная герметичность сопряжения не обеспечивается при установке нового перепускного клапана.
Поэтому, если утечки превышают допустимое значение, дальнейшую
проверку прекращают, распределитель снимают с трактора и
ремонтируют. Если же утечки масла в распределителе не превышают
нормы, то продолжают проверку распределителя.
Не отключая прибора, определяют давление срабатывания автоматов возврата золотников. Для этого пускают дизель и устанавливают среднюю частоту вращения коленчатого вала. Рукоятку прибора поворачивают в положение «Открыто», а проверяемый золотник — в положение «Подъем».
Поворачивая рукоятку, создают давление в сливной магистрали и следят за показанием манометра прибора. По достижении определенного давления рукоятка золотника должна возвращаться в нейтральное положение.
Наибольшее давление, отмеченное по манометру в момент возврата рукоятки золотника в нейтральное положение, принимается за давление срабатывания автомата. Давление срабатывания автоматов других золотников распределителя МТЗ-80, МТЗ-82 проверяют, не переключая рукавов прибора.
Для этого рукоятку золотника, к каналам которого подключен прибор,
фиксируют в положении «Подъем», а рукоятку проверяемого золотника
включают в это положение и слегка поддерживают рукой.
Прибором
создают давление до момента срабатывания второго золотника.
Аналогичные операции проводят при проверке автомата третьего
золотника.
Давление срабатывания автоматов золотников должно быть в пределах 12,5—13,5 МПа. Если давление выше или ниже нормы, то гидрораспределитель снимают с трактора МТЗ-80, МТЗ-82 для регулировки на стенде или ремонта.
При удовлетворительном состоянии автоматов золотников заключительной операцией проверки технического состояния распределителя является определение давления срабатывания предохранительного клапана.
Для этого устанавливают максимальную частоту вращения коленчатого вала дизеля и переводят рукоятку золотника распределителя трактора МТЗ-80, МТЗ-82 в положение «Подъем» (лучше перевести рукоятку выносного цилиндра, чтобы не поднимать навесное оборудование).
Удерживая рукоятку рукой, плавно перекрывают поток масла,
протекающего через прибор. При полном перекрытии потока масла
фиксируют показание манометра, которое характеризует фактическую
величину давления срабатывания предохранительного клапана.
Если давление срабатывания не соответствует 15,5—16 МПа, то есть выше или ниже указанных значений, клапан регулируют, не снимая распределитель с трактора. Отворачивают и снимают колпачок предохранительного клапана, ослабляют контргайку и винтом регулируют давление. Рукоятка золотника при этом удерживается в положении «Подъем», а поток масла перекрыт прибором.
При значительных потерях масла вследствие утечек через перепускной и предохранительный клапаны, через сопряжение золотник— корпус, а также при неподдающемся регулировке предохранительном клапане или неисправностях автоматов золотников распределитель снимают с трактора и ремонтируют.
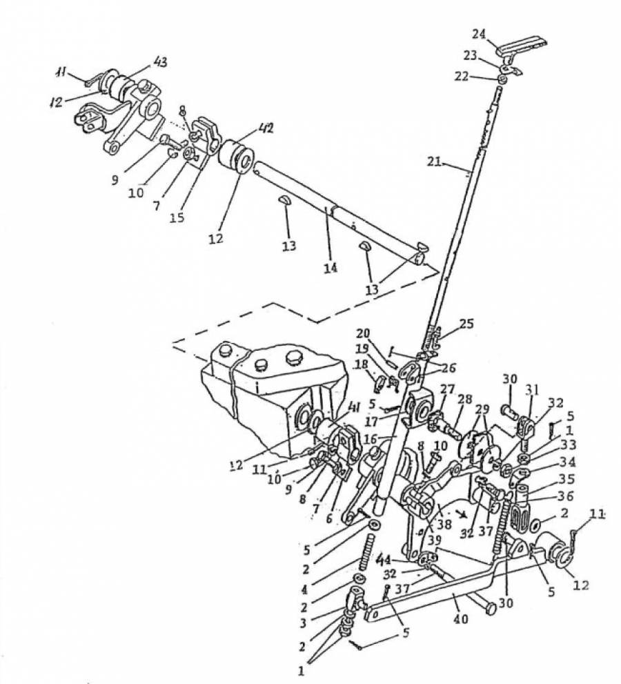
Для разборки распределитель трактора МТЗ-80, МТЗ-82 устанавливают на специальное приспособление. Снимают рукоятки управления и пластины пыльников с верхней крышки, удаляют пыльники и уплотнительные кольца, вынимают сферические рычаги управления золотниками.
Затем снимают верхнюю и нижнюю крышки, маркируют и извлекают
золотники из корпуса, разбирают предохранительный и перепускной
клапаны.
Седло перепускного клапана выпрессовывают из корпуса
ступенчатой оправкой, а гнездо предохранительного — специальным
ключом.
На конусной поверхности перепускного клапана гидрораспределителя МТЗ-80, МТЗ-82 в месте ее соприкосновения с кромкой седла могут быть значительные следы износа, что обусловливает потерю герметичности сопряжения, увеличение потерь масла.
Изношенную конусную поверхность клапана восстанавливают шлифованием в центрах шлифовального станка под углом 45°. Допускается протачивание конусной поверхности клапана в центрах токарного станка с последующим шлифованием мелкой наждачной шкуркой.
Торцовую поверхность седла клапана в этом случае следует также прошлифовать на плоскошлифовальном станке или проточить на токарном станке в разрезной оправке. Внутреннее отверстие седла и его торцовая поверхность должны образовывать острую кромку. После обработки седло размагничивают.
Ремонт силового гидроцилиндра трактора МТЗ-80, МТЗ-82
Основные неисправности силовых цилиндров трактора МТЗ-80, МТЗ-82:
износ уплотнений цилиндра и штока, погнутость штока, появление течи
в местах крепления крышек.
Если наблюдается значительная усадка штока (при исправном распределителе) или навешенное орудие поднимается рывками, то силовой цилиндр снимают и разбирают для проведения технической экспертизы деталей. Уплотнительные резиновые (кольца и манжеты при износе и потере упругости заменяют новыми.
Если диаметр штока на 0,1—0,2 мм меньше номинального размера (в месте наибольшего износа), шток заменяют. Прогиб штока допускается не более 0,1 мм на всей длине. Шток правят под прессом в холодном состоянии. Поршни и внутренняя поверхность цилиндров обычно изнашиваются незначительно и практически не требуют ремонта.
Для проверки силовой гидроцилиндр трактора МТЗ-80, МТЗ-82 устанавливают на стенд КИ-4815М или КИ-4200 и подключают к распределителю, соединяя рукавами полости слива и нагнетания.
Включают стенд и рукояткой распределителя несколько раз перемещают
поршень силового цилиндра, заполняя обе полости прогретым маслом.
Поршень в цилиндре должен перемещаться из одного крайнего положения
в другое при давлении не более 0,7 МПа.
Увеличение давления
свидетельствует о погнутости и заедании штока.
Подтекание масла по штоку не допускается. Затем поршень перемещают в одно из крайних положений, отсоединяют от полости цилиндра трактора МТЗ-80, МТЗ-82 рукав слива и опускают его в мерный бачок. Создают давление в гидросистеме стенда 10 МПа и наблюдают за состоянием соединений цилиндра. Утечек масла через уплотнения соединений маслопровода не должно быть.
________________________________________________________________________
________________________________________________________________________
________________________________________________________________________
Ходоуменьшитель МТЗ 82, передний ВОМ и передняя навеска МТЗ 1221, дополнительные грузы для тракторов МТЗ.
Тракторы Беларус пользуются заслуженным спросом у сельхозпроизводителей за простоту конструкции и годами отработанные решения. Начиная с тракторов Беларус 82, а за тем и модели Беларус 1221 , 1523 и 2022 уже хорошо знакомы в хозяйствах.
Минский тракторный завод вплоть до модели
Беларус 2022 сохраняет простоту конструкции. Все необходимые
регулировки, схемы, данные по обслуживанию описаны прямо в инструкции
по эксплуатации тракторов Беларус, чего не встретишь в руководствах
иностранных производителей. Для условий России, где дилерская сервисная
сеть разбросана на большие расстояния такой подход имеет смысл.
Тракторы Беларус есть возможность отремонтировать своими силами – и это
хорошо знают потребители.Тем не менее, существуют ограничения при агрегатировании тракторов Беларус современными импортными агрегатами. Нам приходилось встречаться с ситуацией, когда потребитель вынужден приобретать импортный трактор в 1,5-2 раза дороже только из-за того, что подходящий по всем параметрам Беларус 2022 не имеет нужного гидровыхода для питания гидромоторов сеялки.
В то же время, для всех тракторов Беларус имеется множество
дополнительных решений, которые существенно расширяют область
применения и устраняют слабые места. В этой статье приведены примеры
опций, которые уже сегодня доступны для приобретения.
Беларус 82.1
Передняя трехточечная навеска. Существуют передние навесные устройства без вала отбора мощности. Наличие 3-точечной передней навески позволяет установить спереди разбрасыватель удобрений с гидроприводом и выполнять две операции за проход, так же удобно на переднее навесное устройство крепить специальные снеговые отвалы и для чистки садов, бункеры для удобрений. При необходимости, на передней навеске легко установить противовес простой конструкции для работы с тяжелыми сеялками на задней навеске. Вал отбора мощности на передней навеске трактора МТЗ 82 не устанавливается.
Ходоуменьшитель . Для трансмиссии МТЗ-82 есть два типа ходоуменьшителей : с планетарным механизмом и гидравлическим подтормаживанием и с прямым гидроприводом от гидромотора. Конструктивно заводом предусмотрен гидроходоуменьшитель с планетарным механизмом.
Беларус 1221
Передняя
трехточечная навеска с валом отбора мощности, или без него.
Возможно устанавливать переднюю трехточечную навеску, в том числе и с
ВОМ (валом отбора мощности).
Это позволяет применять агрегаты,
требующие наличия у трактора передней навески. Частота вращения вала
отбора мощности 1000 об/мин (против часовой стрелки). Следует помнить,
что передний ВОМ имеет меньшую мощность, чем задний ВОМ, хотя это
справедливо практически для всех тракторов.
Реверсивный пост управления. Данная опция доступна при заказе нового трактора, при этом в России уже работает довольно большое количество тракторов 1221В.2 с таким постом управления. Реверсивный пост позволяет развернуть сиденье оператора на 180 градусов, переставить руль на дополнительную рулевую колонку, стандартные педали тормоза и сцепления дублируются такими же педалями позади кабины. Реверсивный режим трактора очень удобен при работах с жатками, мульчерами. Становится возможным практически превратить трактор в кормоуборочный комбайн при соответствующем выборе навесного оборудования.
Такой режим часто применяется при работе тракторов Беларус 1221В,
1523В, 2022В на кормоуборке при наличии подходящих жаток и
измельчителей.
Так же удобно использовать реверсивный режим при
расчистке снега специальными шнекороторными навесками. Наличие такого
режима обязательно для работы по расчистке лесов и заросших полей при
помощи мульчеров.
Ходоуменьшитель для МТЗ 1221. При использовании ходоуменьшителя получаем дополнительные 4 замедленные передачи вперед -от 0,3 до 1,0 км/час и 4 назад- от 0,6 до 1,6 км/час , что необходимо для работы с высоконагруженными агрегатами – мульчеры, фрезы . Все 4 передачи доступны на 1 диапазоне при включении ходоуменьшителя. Ходоуменьшитель на МТЗ 1221 – механический, без гидравлики.
Усиленный задний ВОМ для тракторов Беларус 1221 прошлых лет выпуска
Тракторы Беларус 1221 ранних годов выпуска комплектовались валом отбора
мощности с тормозными лентами, конструкция которого аналогична
тракторам Беларус 82. При работе с высоконагруженными агрегатами
– особенно гребнеобразователями для картофеля и почвофрезами
такой механизм ВОМ не выдерживает высоких нагрузок и приходится часто
менять тормозные ленты.
Возможна переделка ВОМ такого трактора на более
надежный механизм с дисковыми гидроподжимными муфтами, который имеет
более высокую передаваемую мощность.
Беларус 1523
Передняя трехточечная навеска с валом отбора мощности или без него. Аналогично модели Беларус 1221 имеется переднее навесное устройство и ВОМ с вращением против часовой стрелки, частота вращения 1000 об/мин.
Ходоуменьшитель для МТЗ 1523 – обеспечит замедленные 4 дополнительные скорости вперед и назад на 1 диапазоне.
В модификации 1523В – с реверсивным постом управления и ходоуменьшителем трактор является хорошим энергосредством для лесных мульчеров. Трактор относительно легкий для мощности 150 л.с., что необходимо для работы в лесу и с мульчером – оператор хорошо видит рабочую зону.
Беларус 2022
Устанавливается передняя трехточечная навеска без вала отбора мощности.
Ходоуменьшитель – для трактора Беларус
2022 вместо ходоуменьшителя возможен вариант
комплектации с замедленной сеткой передач с той целью, что-бы при
пониженных передачах добиться низких скоростей, пригодных для
работы с мульчерами и другой нагруженной техникой.
При этом снизится максимальная транспортная скорость.:
С реверсивным постом управления трактор является хорошим энергосредством мощностью 200 л.с. для лесных мульчеров.
Кроме вышеперечисленных опций, для всех тракторов Беларус существует возможность дополнительной установки кондиционера в кабине,
Передние балластные грузы – для улучшения развесовки трактора при работе с задненавесными агрегатами.
Задние балластные грузы – на колеса тракторов Беларус 82 и аналогичных – для работы с фронтальным погрузчиком.
Сдвоенные колесные системы для тракторов Беларус, так же как и специальные колесные системы для работы в междурядьях уже хорошо известны , потому на этих опциях мы не останавливаемся отдельно.
При покупке любых тракторов Беларус имеется возможность
переоборудования рулевого управления трактора для установки спутниковых
систем вождения Trimble . Эти системы чаще используют при возделывании
овощей и устанавливаются на тракторах Беларус небольших мощностей
80–100 л.
с.
Характеристики МТЗ 1523 (БЕЛАРУС 1523). Обзор трактора МТЗ 1523
Источник фото: samaragd.ruФото МТЗ 1523
Технические характеристики МТЗ 1523 (БЕЛАРУС 1523)
Задние колеса МТЗ 1523 являются ведущими, передние – ведущими и направляющими. Допускается сдваивание колес с помощью проставки. На трактор может быть установлен передний балласт общей массой до 1 025 кг (таким образом можно повысить сцепные качества машины и ее управляемость).
| Тяговый класс | 3 |
| Эксплуатационная масса | 6 000 кг |
| Габаритная длина | 4 710 мм |
| Габаритная ширина | 2 250 мм |
| Габаритная высота | 3 000 мм |
| Наименьший радиус поворота | 5,5 м |
| Дорожный просвет | 380 мм |
| Скорость движения транспортная | 32,4 км/ч |
| Скорость движения рабочая | 14,9 км/ч |
| Передние шины | 420/70R24 |
| Задние шины | 520/70R38 |
| Колесная формула | 4х4 |
Мощность двигателя
Трактор МТЗ 1523 (а также версия 1523В) комплектуется двигателем Д-260.
1 мощностью 155 л.с. Экокласс – Tier 1. Кроме этого, предлагаются модификации с дизелями Д-260.1S2 (Tier 2), Д-260.1S3А (Tier 3) и Д-260.1S3В (Tier 4i). Мощность данных силовых агрегатов – 157,8 л.с.
Двигатель закрыт капотом, который откидывается вперед. Система охлаждения является жидкостной, с функцией принудительной циркуляцией охлаждающей жидкости от центробежного насоса.
| Количество цилиндров | 6 |
| Тип | с турбонаддувом |
| Мощность | 155-157,8 л.с. |
| Максимальный крутящий момент | 596,8-660 Н•м |
| Диаметр цилиндра | 110 мм |
| Ход поршня | 125 мм |
| Рабочий объем | 7,12 л |
| Номинальная частота вращения | 2100 об/мин |
Заправочные емкости, расход топлива
Самым экономным из перечисленных выше двигателей является Д-260.
1S3В, устанавливаемый на трактор BELARUS-1523.5: средний расход топлива ограничен значением 222 г/кВт•ч. Дизель Д-260.1 потребляет 227 г/кВт•ч, Д-260.1S2 и Д-260.1S3А – 250 г/кВт•ч.
Источник фото: mtzchita.ruФото МТЗ 1523
На МТЗ 1523 установлено два топливных бака, которые расположены под полом кабины и с правой стороны трактора.
| Емкость бака гидросистемы | 30,5 л |
| Суммарный объем двух топливных баков | 250 л |
КПП, тормоза МТЗ 1523
Тип трансмиссии – механическая синхронизованная. На BELARUS-1523.4 и BELARUS-1523.5 возможна установка гидромеханической трансмиссии. Муфта сцепления – фрикционная двухдисковая постоянно-замкнутого типа, привод управления – гидростатический. Число передач вперед/назад – 16/8 или 24/12. Максимальная скорость при передвижении вперед достигает 36,3 км/ч, назад – 17,1 км/ч.
На трактор МТЗ 1523 ставятся сухие или мокрые тормоза, место их расположения – на ведущих шестернях бортовых передач.
Управление сблокировано с тормозами прицепа.
BOM, гидравлика
Двухскоростной задний BOM (доступны независимый или синхронный варианты) входит в базовый комплект поставки МТЗ 1523 (БЕЛАРУС 1523). Передний BOM устанавливается по спецзаказу. Трактор может работать с навесными и полунавесными орудиями, а также прицепными машинами.
Источник фото: mtzchita.ruТехнические характеристики МТЗ 1523: мощность двигателя составляет 155-157,8 л.с.
В состав тягово-сцепного устройства МТЗ 1523 входит буксирная вилка и присоединительное устройство типа “Питон” (последнее предлагается поспецзаказу), а также тяговый брус. Грузоподъемность заднего навесного устройства составляет 6 500 кг. Общая масса буксируемого прицепа не должна превышать 15 000 кг (речь идет о работе на уклонах не более 12°).
Раздельно-агрегатная гидравлическая система управления оборудована интегральным блоком BOSCH. Имеется возможность силового, позиционного и смешанного регулирования положения сельхозмашин.
Гидравлический насос трактора является шестеренным, его производительность составляет 55 л/мин. Модели: НШ32-3, УКФ-3 и Д-3. Максимальное давление в гидросистеме – 200 МПа.
| Задний ВОМ | 540/1000 мин-1 |
| Производительность насоса | 55 л/мин |
| Емкость гидросистемы | 35 л |
Кабина МТЗ 1523
Кабина трактора МТЗ 1523 имеет цилиндрические тонированные стекла и защитный жесткий каркас. Стандартный комплект поставки включает зеркала заднего вида, электрические снегоочистители. Кондиционер устанавливается по спецзаказу. Также возможен монтаж дополнительного сиденья с откидной спинкой.
Аналоги
Исходя из основных технических характеристик МТЗ 1523 (БЕЛАРУС 1523) к числу аналогов можно отнести следующие модели: МТЗ 1523В.3, МТЗ 1523В, МТЗ 1523.5, МТЗ 1523.4, МТЗ 1523.3, ХТЗ 242К, ХТЗ 242К.21, ХТЗ 242К.20, Алттрак Т-402-01, Слобожанец ХТА-220-10 (ЯМЗ-236НЕ).
Видео
Видео с канала Beltrakt
Анонсированоновых белорусских МТЗ 1523!
6-цилиндровый трактор мощностью 155 л.с. или 175
ООО «МТЗ Оборудование» объявило о выпуске нового 6-цилиндрового трактора – модели МТЗ 1523. Этот трактор доступен либо с мощностью 155 л.с., либо с опциональной мощностью 175 л.с. МТЗ 1523 экономичен по топливу и имеет большую массу, вес 13 900 фунтов, с одним из самых больших 3pt. грузоподъемность сцепного устройства в промышленности, рассчитанная на 14 400 фунтов.
Другие особенности включают в себя воздушный компрессор на двигателе, который накачивает шины в поле, и двигатель с малым числом оборотов и длинным ходом поршня, рассчитанный на 10 000+ часов до капитального ремонта.Существует также опциональный двунаправленный пакет со вторым набором органов управления, предназначенным для движения задним ходом, а также опциональная передняя сцепка и пакет ВОМ.
Как и другие белорусские машины, МТЗ 1523 имеет надежный и выносливый двигатель, без DEF, DPF и без компьютеров. Каждый двигатель должен иметь прочную конструкцию, обеспечивающую долгие годы беззаботной работы, поскольку белорусские тракторы хорошо зарекомендовали себя как машины, созданные для выносливости и мощности.
Этот полноприводной трактор не только создан для тяжелых и надежных работ, но и обладает непревзойденной стоимостью по сравнению с другими брендами того же диапазона мощности.
ООО “МТЗ Оборудование” основано в 1946 году в городе Минске, Беларусь. За более чем 60 лет успешного бизнеса МТЗ превратился в одного из крупнейших производителей сельскохозяйственных тракторов в мире. ООО «МТЗ Оборудование» произвело более 3 миллионов тракторов, в нем работает более 30 000 человек, и экспортирует свою продукцию более чем в 100 стран мира. Клиенты имеют возможность выбирать из 62 различных моделей с широким выбором вариантов сборки для любых условий эксплуатации и климата.
Имеются склады запасных частей как в США, так и в Канаде, которые помогают обеспечить оригинальные запчасти и обслуживание старых моделей «Беларус», а также новых тракторов МТЗ. ООО «МТЗ Оборудование» является эксклюзивным дистрибьютором тракторов белорусского производства в Канаде и США.
Для получения дополнительной информации о МТЗ 1523 или другом оборудовании МТЗ посетите сайт www.mtzequipment.com.
Беларус серия 300. Малогабаритные тракторы МТЗ
Предназначен для выполнения широкого спектра сельскохозяйственных работ – от подготовки почвы к посеву до уборочно-транспортных работ; могут применяться в лесном хозяйстве, коммунальном хозяйстве, строительстве и промышленности, адаптированы для работы в различных климатических зонах.
- Тракторы этой серии отличаются следующими параметрами:
- Тяговое усилие не менее 6 кН.
- Наличие необходимого рабочего оборудования для агрегатирования.
- Возможна комплектация навесными и тягово-сцепными устройствами различной конструкции.

- Небольшие размеры.
- Трехцилиндровый дизельный двигатель с непосредственным впрыском.
- Механическая коробка передач с редуктором, 24 передачи, диапазон скоростей от 1 до 25 км/ч.
- Система гидронавески универсальная, раздельно-модульная, максимальное давление 200 кг/см², грузоподъемность 750 кг.
- ВОМ зависимый двухскоростной 540 и 1000 об/мин, синхронный двухскоростной 3,4 и 6,3 об/мин.
- Передняя сцепка; передний ВОМ, дополнительные грузы (по запросу).
- Рулевое управление гидрообъемное, с гидроусилителем на базе насоса-дозатора.
Передний ведущий мост портального типа с одноступенчатыми бортовыми редукторами обеспечивает оптимальные условия работы в междурядьях высокостебельных технических культур. Самоклеящийся храповой дифференциал с автоматическим включением, приводимый в действие выходным валом коробки передач, повышает проходимость передних колес.Его конструкция проста и не требует дополнительного блока привода управления ПВМ.
Автоматическое включение блокировки в сочетании с другими мероприятиями по повышению производительности труда оператора обеспечивает необходимую концентрацию внимания при выполнении технологических операций на сельскохозяйственных, транспортных и других видах работ. Поставляется с неведущей передней осью.
Основные тормоза дисковые, работающие в масле, раздельные для левого и правого задних колес; стояночный – фиксируется отдельным рычагом, в заторможенном состоянии основные тормоза.
Электрооборудование: генераторная установка мощностью 630 Вт с выпрямленным напряжением 14 В и аккумуляторной батареей емкостью 88 Ач напряжением 12 В, пусковая система со стартером 12 В мощностью 2,2 кВт .
Кабина безопасная, соответствует требованиям OESD, комфортная, шумо-виброизолированная с открывающимся люком в крыше, боковыми и задними стеклами, с электростеклоочистителем. Площадь остекления обеспечивает хороший обзор всех зон технологической работы трактора, прицепных машин, а также навесных орудий.
В кабине используется теплопоглощающее стекло. Интерьер кабины выполнен с использованием формованных звукопоглощающих панелей и напольных ковриков. Кабина оснащена эффективной системой вентиляции и отопления, зеркалами заднего вида и солнцезащитным козырьком. В конструкции кабины предусмотрены места для установки средств пожаротушения и аптечки.
Комплектация: рабочие фары, 2 пары отводов гидросистемы для дополнительных гидромеханизмов, механизм крепления задней поперечины тягово-сцепного устройства.По запросу – кронштейн с передними грузами, тягово-сцепное устройство, передняя сцепка, передний карданный вал, тягово-сцепное устройство, пневмопривод тормозов прицепа, дуга безопасности или каркас тента, шины 210/80R16 и 11,2-20.
Все тракторы имеют гидравлические выходы. Гидравлическая система трактора с трехзолотниковым гидрораспределителем позволяет трактору работать в агрегате с машинами и орудиями массой до 750 кг и имеет гидровыводы, которые можно использовать для гидрообъемного привода агрегатируемых машин.
Задний и передний (дополнительно) ВОМ обеспечивают механический привод машин (активные полуприцепы, посадочные машины, фрезы-культиваторы, косилки, насосы и т.д.).
Тягово-сцепное устройство и навесное оборудование изготовлены в соответствии с международными стандартами, что гарантирует агрегатирование с машинами, эксплуатируемыми в различных странах мира.
- Виды выполняемых работ:
- Транспортные работы.
- Погрузочно-уборочные работы.
- Обработка почвы на неглубоких полях.
- Выращивание и уборка картофеля.
- Выращивание и уборка овощей.
- Оплодотворение.
- Химическая защита растений.
- Уход за растениями в теплицах.
- Сельскохозяйственные работы.
- Модели 310P и 320P предназначены для выращивания риса.
Тракторы серии 300 дополнительно оснащаются задними и передними трехточечными навесками, кат. II или I (стандарт ISO). Это обеспечивает соединение агрегатируемых машин непосредственно с шарнирами тяг или с помощью различных типов автосцепок.
Раскосы насадки, кроме основного отверстия для соединения с нижними тягами, имеют паз для агрегатирования с широкозахватными машинами для улучшения следования рельефу (культиваторами, сеялками и др.).
Основное назначение тракторов этой серии – выполнение работ на мелкоконтурных участках, участках, террасах, в фермерских, крестьянских и коммунальных хозяйствах. Трактор может агрегатироваться с машинами от тракторов своего класса, охватывая практически все операции в растениеводстве, включая выращивание овощей в теплицах, выращивание клюквы и т.д.
Конструкция трактора обеспечивает удобный доступ к агрегатам трактора при техническом обслуживании: заправочные горловины выведены в доступные места. Станция управления обеспечивает комфортные условия работы оператора. Органы управления сосредоточены в компактных функциональных группах. Педали управления сцеплением и тормозом расположены в зонах оптимального вылета и обеспечивают рациональную траекторию и удобство управления трактором.
Органы управления гидросистемой установлены с правой стороны от водителя.
Тракторы БЕЛАРУС серии 300 предназначены для выполнения различных сельскохозяйственных работ: основной и предпосевной обработки почвы, посева зерновых культур, посадки картофеля, выполнения работ на кормозаготовках и на животноводческих фермах, уборки зерновых и технических культур, пропашных работ в междурядьях 450, 600 и 700 мм, перевозка всех видов грузов в агрегате с навесными, полунавесными, прицепными машинами и орудиями.
Тракторы этой серии отличаются следующими параметрами:
Область применения таких тракторов далеко не ограничивается сельским хозяйством.Он находит широкое применение практически во всех отраслях народного хозяйства: промышленности, строительстве, лесозаготовке, коммунальном хозяйстве, где использование более мощной крупногабаритной техники невозможно или нецелесообразно. Тракторы БЕЛАРУС
этих моделей наиболее эффективно используются для следующих видов работ:
Тракторы серии 300 оснащены задними и передними (опционально) трехточечными навесками, выполненными по категории 2 (НУ-2) или категории 1 (стандарт ISO).
Обеспечивает присоединение агрегатируемых машин непосредственно к шарнирам тяг или с помощью различных типов автосцепок.
Раскосы навесного оборудования, помимо основного отверстия для соединения с нижними тягами, имеют паз для агрегатирования с широкофрезерными машинами для улучшения копирования рельефа (культиваторы, сеялки и др.).
Все тракторы имеют гидравлические выходы. Гидравлическая система трактора с трехзолотниковым гидрораспределителем позволяет трактору работать в агрегате с машинами и орудиями массой до 750 кг и имеет гидровыводы, которые могут использоваться для гидрообъемного привода агрегатируемых машин.
Задний и передний (опционально) ВОМ обеспечивают механический привод машин (активные полуприцепы, посадочные машины, фрезы-культиваторы, косилки, насосы и т.д.).
Тягово-сцепное устройство и навесное оборудование изготовлены в соответствии с международными стандартами, что гарантирует агрегатирование с машинами, эксплуатируемыми в различных странах мира.
Основное назначение тракторов данной серии – выполнение работ на мелкоконтурных участках, участках, террасах, в фермерских, крестьянских и коммунальных хозяйствах. Трактор способен агрегатироваться с машинами от тракторов своего класса, охватывая практически все операции в растениеводстве, включая выращивание овощей в теплицах, выращивание клюквы и т.д.
Тракторы колесные универсальные Беларус 320/321 класса 0,6 мощностью 24,6 кВт (37,5 л.с.) со всеми ведущими колесами предназначены для выполнения широкого спектра сельскохозяйственных операций – от подготовки почвы к посеву до уборочно-транспортных работ; могут использоваться в лесном и коммунальном хозяйстве, строительстве и промышленности. Тракторы адаптированы для работы в различных климатических зонах, могут использоваться на переувлажненных почвах.
Тракторы отличаются высокой надежностью и экономичностью, низкими эксплуатационными расходами и высокой производительностью.Универсальность и высокая навеска тракторов обеспечивают их агрегатирование с различными машинами отечественного и зарубежного производства.
инструменты.
Конструкция трактора обеспечивает удобный доступ к агрегатам при обслуживании: заправочные горловины выведены в доступные места.
| Технические характеристики: | |
| Двигатель | |
| Модель | LDW 1503 NR |
| Мощность, кВт (л.с.) | 24,6 (33,5) |
| Скорость номинальная, об/мин | 3000 |
| Количество цилиндров | 3 |
| Диаметр цилиндра/ход поршня, мм | 85/85 |
| Рабочий объем, л | 1501 |
| Максимальный крутящий момент при 1400 об/мин, Нм (кгсм) | 87 (8,7) |
| Удельный расход топлива при номинальной мощности, г/кВтч | 316 |
| Коэффициент запаса крутящего момента, % | 12 |
| Емкость топливного бака, л | 32 |
| Трансмиссия | |
| Сцепление | сухое, однодисковое, фрикционное, постоянно замкнутое, с механическим управлением |
| Трансмиссия | механическая, ступенчатая, с постоянным зацеплением, с зубчатыми муфтами легкого включения, шестидиапазонная |
| Количество передач: вперед/назад | 16/8 |
| Скорость движения, км/ч: | |
| вперед | 1,0 – 25,0 |
| задняя часть | 1,83 – 13,37 |
| Задний ВОМ: | |
| независимый I, об/мин | 540 |
| независимый II, об/мин | 1000 |
| синхронный, об/м путь | 3. 4 и 6.3 |
| Гидравлическая рычажная система | |
| Грузоподъемность на оси подвеса, кН | 11 |
| Максимальное давление, МПа (кгс/см?) | 20 (200) |
| Производительность насоса, л/мин | 16 |
| Объем гидросистемы, л | 9,5 |
| размеры | Беларусь 321 |
| Продольная база, мм | 1700 |
| Длина, мм | 2900 |
| Ширина, мм | 1300 |
| Высота кабины, мм | 2150 |
| Колея, мм | |
| на передние колеса | 1060, 1210 |
| на задние колеса | 1000, 1160 |
| Дорожный просвет под втулками полуосей, мм | 320 |
| Наименьший радиус поворота, мм | 3500 |
| Масса, кг | Беларусь 321 |
| конструктив с кабиной (без кабины) | 1560 (1310) |
| действующий без балласта с кабиной (без кабины) | 1700 (1450) |
| максимум | 2500 |
| Размеры шин для базовой комплектации: | |
| передние колеса | 7. 5Л-16 |
| задние колеса | 12.4L-16 |
| Рулевое управление | Гидростатическое, с гидроусилителем на базе насоса-дозатора. |
| Ведущий мост передний | Портальный тип с одноступенчатыми редукторами главной передачи, обеспечивает оптимальные условия работы в междурядьях технических высокостебельных культур. Самоклеящийся храповой дифференциал с автоматическим включением, приводимый в действие выходным валом коробки передач, повышает проходимость передних колес.Его конструкция проста и не требует дополнительного блока привода управления ПВМ. Автоматическое включение блокировки в сочетании с другими мероприятиями по повышению производительности труда оператора обеспечивает необходимую концентрацию внимания при выполнении технологических операций на сельскохозяйственных, транспортных и других видах работ. Поставляется с неведущей передней осью. |
| Тормоза | Основные дисковые, работающие в масле, раздельные для левого и правого задних колес; стояночный – фиксируется отдельным рычагом, в заторможенном состоянии основные тормоза.![]() |
| Электрооборудование | Генераторная установка мощностью 630 Вт с выпрямленным напряжением 14 В и аккумуляторной батареей емкостью 88 Ач напряжением 12 В, Система пуска со стартером 12 В мощностью 2,2 кВт . |
| Кабина | Безопасная кабина, устанавливаемая на трактор Беларус-320, соответствует требованиям ОЭСР, комфортная, шумо-виброизолированная с открывающимся люком в крыше, боковыми и задними окнами, с электроочистителем стекол.Площадь остекления обеспечивает хороший обзор всех зон технологической работы трактора, прицепных машин, а также навесных орудий. В кабине используется теплопоглощающее стекло. Интерьер кабины выполнен с использованием формованных звукопоглощающих панелей и напольных ковриков. Кабина оснащена эффективной системой вентиляции и отопления, зеркалами заднего вида и солнцезащитным козырьком. В конструкции кабины предусмотрены места для установки средств пожаротушения и аптечки.Станция управления обеспечивает комфортные условия работы оператора. Органы управления сосредоточены в компактных функциональных группах. Педали управления сцеплением и тормозом расположены в зонах оптимального вылета и обеспечивают рациональную траекторию движения и удобство управления трактором. Органы управления гидросистемой установлены с правой стороны от водителя. Кабина оборудована удобным сиденьем с регулировкой по росту и весу тракториста. Приборы контроля состояния двигателя и трактора расположены на щитке приборов. |
| Оснащение | Фары рабочие передние и задние, 2 пары выходов гидросистемы для дополнительных гидромеханизмов, механизм блокировки задней навески, поперечина сцепки. По запросу – кронштейн с передними грузами, тягово-сцепное устройство, передняя сцепка, передний карданный вал, регулируемое по высоте тягово-сцепное устройство, однолинейный пневмопривод тормозов прицепа в соответствии с ISO и CEE/EEC, дуга безопасности или каркас тента (Беларус-321 комплектуется только дугой безопасности), шины для междурядья 210/80R16 и 11. 2 – 20. |
Беларус 321
Тракторы БЕЛАРУС серии 300 предназначены для выполнения различных сельскохозяйственных работ: основной и предпосевной обработки почвы, посева зерновых культур, посадки картофеля, выполнения работ по заготовке кормов и на животноводческих фермах, уборки зерновых и технических культур , междурядье 450, 600 и 700 мм, перевозка всех видов грузов в агрегате с навесными, полунавесными, прицепными машинами и орудиями.
Тракторы этой серии различаются по следующим параметрам:
«Тяговое усилие не менее 6 кН.
“Наличие необходимого рабочего оборудования для агрегатирования.
“Возможна комплектация навесными и прицепными устройствами различной конструкции.
“Малогабаритный.
Область применения таких тракторов далеко не ограничивается сельским хозяйством. Он широко используется практически во всех отраслях народного хозяйства: промышленности, строительстве, лесозаготовках, коммунальном хозяйстве, где требуется применение более мощных крупногабаритных габаритов техники невозможно или нецелесообразно.
Тракторы БЕЛАРУС этих моделей наиболее эффективно используются для следующих видов работ:
«Транспортные работы.
“Погрузочно-уборочные работы.
“Обработка почвы на мелкоконтурных полях.
«Выращивание и уборка картофеля».
«Выращивание и уборка овощей.
«Удобрения».
«Химическая защита растений.
«Уход за растениями в теплицах».
«Работа в фермерских хозяйствах.
Тракторы серии 300 оснащены задними и передними (опционально) трехточечными навесками, выполненными по категории 2 (НУ-2) или категории 1 (стандарт ISO). Он обеспечивает присоединение агрегатируемых машин непосредственно к шарнирам тяг или с помощью различных типов автосцепок.Раскосы навесного оборудования, кроме основного отверстия для соединения с нижними тягами, имеют паз для агрегатирования с широкозахватными машинами для улучшения прикатывающего рельефа (культиваторы, сеялки и др.).
Все тракторы имеют гидравлические выходы. Гидравлическая система трактора с трехзолотниковым гидрораспределителем позволяет трактору работать в агрегате с машинами и орудиями массой до 750 кг и имеет гидровыходы, которые могут использоваться для гидрообъемного привода агрегатируемых машин.
Задний и передний (дополнительно) ВОМ обеспечивают механический привод машин (активные полуприцепы, посадочные машины, фрезы-культиваторы, косилки, насосы и т.д.).
Тягово-сцепное устройство и навесное оборудование изготовлены в соответствии с международными стандартами, что гарантирует агрегатирование с машинами, эксплуатируемыми в различных странах мира.
Основное назначение тракторов данной серии – выполнение работ на мелкоконтурных участках, участках, террасах, в фермерских, крестьянских и коммунальных хозяйствах. Трактор способен агрегатироваться с машинами от тракторов своего класса, охватывая практически все операции в растениеводстве, включая выращивание овощей в теплицах, выращивание клюквы и т.д.
Тракторы колесные универсальные Беларус 320/321 класса 0,6 мощностью 24,6 кВт (37,5 л.с.) со всеми ведущими колесами предназначены для выполнения широкого спектра сельскохозяйственных операций – от подготовки почвы к посеву до уборочно-транспортных работ; могут использоваться в лесном и коммунальном хозяйстве, строительстве и промышленности.
Тракторы адаптированы для работы в различных климатических зонах, могут использоваться на переувлажненных почвах.
Тракторы отличаются высокой надежностью и экономичностью, низкими эксплуатационными расходами и высокой производительностью.Универсальность и высокая навеска тракторов обеспечивают их агрегатирование с различными машинами отечественного и зарубежного производства. инструменты. Конструкция трактора обеспечивает удобный доступ к агрегатам тягача при обслуживании: заправочные горловины выведены в доступные места.
Трактор Беларус выпускается Минским тракторным заводом. Легендарные технологии работают по всей нашей огромной планете. За годы существования предприятия с главного конвейера сошли миллионы единиц продукции.Завод выпускает только колесные модели тракторов, предназначенных для выполнения всех транспортных и сельскохозяйственных работ в промышленных цехах, на полях, сенокосах, дорогах и в лесах.
Минский тракторный завод (МТЗ)
История завода начинается 29.
05.1946. Штаб-квартира предприятия находится в городе Минске, Республика Беларусь. Производство началось с изготовления пусковых двигателей. Первые трактора сошли с главного конвейера завода в 1948 году. Это были машины на гусеничной тяге, на которых устанавливались 37-сильные дизели.
В то время молодое предприятие выпускало 50 единиц техники в сутки. Сборка машин, оснащенных пневматическими колесами, началась в 1953 году. Это определило всю последующую специализацию завода. 1958 год ознаменовался для белорусского гиганта выпуском стотысячного трактора. Сейчас МТЗ — мощное современное машиностроительное предприятие.
Каждый десятый колесный трактор, работающий в полях, лесах, на трассах нашей планеты, производится в Минске.В ноябре 1972 года с главного конвейера МТЗ сошел миллионный колесный трактор. Прошедшие семьдесят лет стали для белорусского гиганта годами становления как крупнейшего в мире производителя различной техники для промышленности и сельского хозяйства.
Сегодня на Минском тракторном заводе работает более 17 тысяч человек.
С 2000 года началось массовое завоевание европейских, американских и мировых рынков сельскохозяйственной продукции. Предприятие блестяще прошло сертификацию системы качества и всей продукции в системе ISO-9001.Всемирный орган по сертификации, международная аудиторская компания TUV-Thuringia из Германии, подтвердил высокую степень готовности к выпуску сертифицированной продукции.
Модельный ряд тракторов МТЗ
По состоянию на 2018 год в семейство тракторов входят следующие популярные во всем мире серии базовой комплектации:
- Беларусь-300. Эта модель относится к серии машин с небольшими габаритами.
- Беларусь-500. Машина получена в результате глубокой модернизации модели МТЗ-50.
- Беларусь-800. Серия тракторов из глубокой модернизации популярной марки МТЗ-80.
- Беларусь-900. Универсальная пропашная культура.
- Беларусь-1000. Универсальная пропашная культура.
- Беларусь-1200. Универсальная пропашная культура.

- Беларусь-1500. Универсальная пропашная культура.
- Беларусь 2000. Энергетик.
- Беларусь-3000. Энергичный.
Каждая из вышеперечисленных моделей тракторов выпускается в разной комплектации и имеет разные технические характеристики, которые различаются в зависимости от условий эксплуатации.Каждая серия тракторов МТЗ подробно представлена ниже.
Беларусь-300
Модель малогабаритного трактора Беларус-300 выполняет следующие операции:
- предпосевная, основная обработка пашни;
- посевных культур в зерновом хозяйстве;
- посадка клубней картофеля;
- Заготовка кормов на зиму для животноводческих ферм и фермерских хозяйств;
- массовая уборка технических культур, зерновых культур;
- обработки почвы междурядьями 450, 600, 700 мм;
- перевозки различных грузов по грунтовым дорогам, грунтовым дорогам, лугам, проселкам, временным проездам, лесным просекам.
Преимущества
- надежность, эффективность;
- низкие эксплуатационные расходы;
- высокая производительность;
- отличная подвесная способность и универсальность; совместимость
- с зарубежными и отечественными инструментами, механизмами;
- конструктивные особенности трактора обеспечивают идеальный доступ к узлам и агрегатам при обслуживании и ремонте;
- заливных горловин для всех рабочих жидкостей выведены в наиболее доступные места.

Дефекты
- гидравлика трактора часто засоряется и нуждается в чистке;
- дизель эстонского производства, часто не заводится при минусовой температуре, несмотря на жидкостное охлаждение системы;
- сложная вспашка участков с твердыми почвами;
- при малейших перегрузках прицепов, перевозимых тягачом, коробки передач не выдерживают;
- ослабление болтов крепления передней полурамы при агрегатировании трактора с погрузчиком;
- трактор оснащен слабой аккумуляторной батареей;
- расход топлива интенсивный, для этого маловат объем топливного бака;
- цена трактора с учетом перечисленных недостатков завышена.
Технические характеристики
| Комплектация по типу двигателя | 310 | 310Р | 320 | 320Р | 321 |
| LDW 1503 CHD | LDW 1503 NR | ЛДВ 1603/В3 | LDW 1503 NR | ||
| Размеры и масса трактора | |||||
| Длина, мм | 2900 | 3000 | 2900 | 3000 | 2900 |
| Ширина, мм | 1530 | 1600 | 1550 | 1600 | 1300 |
| Высота, мм | 2190 | 2300 | 2150 | 2300 | 2150 |
| Масса, кг | 1670 | — | 1700 | — | |
| Колесная база, мм | 1700 | ||||
| Колея передних колес, мм | 1260-1410 | 1060-1210 | |||
| Колея задних колес, мм | 1250-1400 | 1000-1160 | |||
| Дорожный просвет под втулками полуосей, мм | 320 | ||||
| Радиус поворота, мм | 2500 | 3700 | 2500 | 3500 | |
| Масса с платформой, кг | 1530 | 1480 | 1560 | 1450 | |
| Система гидравлической связи | |||||
| Производительность насоса, л/мин | 16 | 17 | 16 | ||
| Грузоподъемность на оси шарнира нижней тяги, кгс | 750 | 1122 | 750 | 1122 | |
| Грузоподъемность на оси шарнира нижней тяги, кН | 7,4 | 11 | 7,4 | 11 | |
Максимальное давление, кг с/кв. см | 200 | ||||
| Объем гидросистемы, л | 10 | 9,5 | 9 | 10 | 9,5 |
| Двигатель | |||||
| Торговая марка | ЛДВ 1503 СН | LDW 1503 NR | ЛДВ 1603/В3 | LDW 1503 NR | |
| Мощность номинальная, кВт | 24,6 | 24,5 | 24,6 | ||
| Мощность номинальная, л.с. | 33,5 | 36 | 33,5 | ||
| Объем двигателя, л | 1,55 | 1,5 | 1,65 | 1,55 | 1,5 |
| 3000 | |||||
| Максимальный крутящий момент, Н/м | 87,7 | 87 | 97 | 87,7 | 87 |
| Частота вращения двигателя при максимальном крутящем моменте, об/мин | 1400 | 1600 | 1400 | ||
| Объем топлива в баке, л | 32 | ||||
Количество цилиндров, шт.![]() | 3 | ||||
| Диаметр цилиндра, мм | 85 | 88 | 85 | ||
| Ход поршня, мм | 85 | 90,4 | 85 | ||
| 12 | |||||
| Трансмиссия | |||||
| Диапазон скоростей движения, км/ч | 1-25 | ||||
| ВОМ типа | Независимая скоростная автомагистраль | ||||
| ВОМ, об/мин | 540/1000 | ||||
| Количество передач переднего хода, шт. | 16 | ||||
| Количество передач заднего хода, шт. | 8 | ||||
| Муфта | Сухое однодисковое фрикционное постоянно закрытое | ||||
| Трансмиссия | Шестой механический диапазон | ||||
| Диапазон скорости заднего хода, км/ч | 1,83-13,37 | ||||
| ВОМ задний синхронный об/мин | 3,4 | 3,4/6,3 | 3,4 | 3,4/6,3 | |
| Шасси | |||||
| Передние шины | 7. 5Л-16 | ||||
| Задние шины | 11,2 – 16 | 12,4 л – 16 | |||
Оборудование
Новый универсальный трактор Беларус-300 относится к компактным разработкам завода последних лет. В эту цепь входят: МТЗ-320, 321, 320Р. Массовое появление ферм диктует необходимость в малых тяговых механизмах. Конструктивной особенностью модели является наличие и отсутствие кабины водителя.
Модельный ряд таких тракторов продолжают специализированные тракторы для муниципальных образований, малогабаритные погрузчики.Предприятие разрабатывает новые модели – МТЗ-322, 422, 622. Их планируется оснастить 55-сильными дизелями, независимыми механизмами отбора мощности, гидросистемами навески повышенной производительности.
Использование тракторов Беларус-300
Цена: от 557 000 руб. до 836 000 руб.
Аналоги других производителей: немецкий Deutz-Fahr Agrofarm 410, турецкий Case IH Farmall JX 110, китайский John Deere 6135B.
Беларусь-500
Модельный ряд минских тракторов среднего класса Беларус-500 происходит от модернизации некогда очень популярной марки МТЗ-50.В данный модельный ряд входят: МТЗ-510, 512, 520, 532, 550, 592. В мире массово используются тракторы с дизелями 510/512:
- в сельскохозяйственном производстве;
- во всех сферах промышленности;
- строительство;
- коммунальное хозяйство.
Это полноприводные автомобили, силовые агрегаты которых изготавливаются с коэффициентом запаса крутящего момента 15%. Применяются там, где работа предполагает режимы со значительным превышением номинальных нагрузок.
Преимущества
- универсальность;
- основное, дополнительное оборудование;
- выполнение комплекса операций с навесными, полунавесными механизмами, прицепами, полуприцепами;
- использовать круглый год;
- тяговое усилие на крюке – не менее 14 кН;
- более 300 наименований бывших в употреблении рабочих органов российского, белорусского, зарубежного производства.

Видео трактора Беларус-500:
Технические характеристики
Использование тракторов Беларус-500
Отрасли народного хозяйства для эффективного использования тракторов Беларус-500:
- Растениеводство.
- Транспортные средства.
- Погрузочно-разгрузочные сооружения.
- Основная обработка почвы.
- Поверхностная обработка почвы.
- Оплодотворение.
- Химическая защита растений.
- Посев, выращивание, уборка зерновых.
- Посадка, выращивание, уборка картофеля.
- Посадка, выращивание, уборка свеклы.
- Посадка, выращивание, уборка кукурузы.
- Посадка, выращивание, сбор овощей.
- Уборка льна.
- Корм для сбора урожая.
- Рекламация.
- Коммунальные услуги.
- Промышленность.
Цена: от 930 000 руб. до 1 250 000 руб.
Аналоги: Xingtai, Chery, Foton, DongFeng – Китай./87.gif)
Беларусь-800
Модельный класс этих тракторов воплотил в себе все лучшие качества популярных минских машин МТЗ-80. И сейчас высокотехнологичные образцы модельного ряда МТЗ-80.1 и 82.1 пользуются небывалым спросом у аграриев.Весь сельскохозяйственный бизнес построен на безупречном качестве, выносливости и долговечности этих машин.
Ежегодно производитель отправляет тысячи автомобилей за границу в разные уголки мира. 800-я серия собрана с усиленными передними мостами, движение контролируется надежной гидравлической системой. Значительно обновлен дизайн трактора и интерьер кабины водителя.
Модель Беларус-800 с колесной формулой 4х4 практически не претерпела существенных изменений за последние 50 лет.Широкая унификация трактора делает несущественной разницу между дисковым культиватором и дисковой бороной. Любой узел и механизм найдет свое место в его конструкции.
Преимущества
- повышенной проходимости;
- возможность использования в различных климатических зонах;
- задние колеса сдвоенные;
- большая комфортабельная кабина;
- широкий круговой обзор, комфортные условия работы;
- повышенная безопасность водителя;
- установлен электростартер;
- широкая унификация;
- предусмотрен дисковый культиватор;
- надежная гидравлическая система;
- огромный ассортимент навесных, полунавесных, прицепных орудий.

Дефекты
- В современных моделях снижено качество изготовления узлов и агрегатов.
- Благодаря широкой доступности запчастей, расходных материалов, комплектующих проблема легко решается.
Видео МТЗ 800 серии:
Технические характеристики
Цена: от 1 000 000 до 1 359 000 руб.
Аналоги: New Holland TD5.110, производства Турции и Нидерландов, и Massey Ferguson 470 Xtra, производства Бразилии.
Беларусь-900
Модификация – универсальная пропашная машина, агрегатируемая с различной строительной, дорожной, полевой техникой:
- бульдозер
- ; Экскаватор
- ; погрузчик
- ; копатель ямы
- ; Автомобиль
- .
Машина эффективно передает привод на различные стационарные механизмы промышленного и сельскохозяйственного назначения. В эту серию входят модификации: 900, 920, 950, 952.
Технические характеристики
| Модификация | МТЗ-920 | МТЗ-900 |
| База трактора, мм | 2450 | 2370 |
| Длина, мм | 3930 | 3835 |
| Ширина, мм | 1970 | 1970 |
| Высота с кабиной, мм | 2785 | 2785 |
| Колея, мм: | ||
| На передние колеса | 14:00-18:50 | 14:00-18:50 |
| На колеса хвоста | 1460-2100 | 1460-2100 |
| Дорожный просвет, мм: | ||
| Под передним мостом | 645 | 645 |
| Под хвостовым мостом | 465 | 465 |
| Минимальный радиус поворота, м | 3,7 | 3,8 |
| Масса эксплуатационная, кг | 3900 | 3700 |
| Стандартные размеры шин, мм: | ||
| Передние колеса | 13. 6-20 | 9,0-20 |
| Хвостовое колесо | 16.9R38 | 16.9R38 |
| Шины по запросу | 11.2-20; 18,4R30; 15,5R38; 18.4R34 | |
| Скоростные режимы, км/ч: | ||
| Без редуктора хода | ||
| Курс вперед | 2,40-34,30 | 2,40-34,30 |
| Реверс | 5,00-11,30 | 5,00-11,30 |
| Переходник | ||
| Курс вперед | 0-3,0 | 0-3,0 |
| Реверс | 0-6,2 | 0-6,2 |
Преимущества
- компактность, малые габариты;
- высокая маневренность;
- рентабельность;
- неприхотливость в обслуживании, ремонте;
- плавное переключение передач;
- относительно низкая цена.

Видео:
Все модификации оснащены дизельным четырехцилиндровым двигателем Д-243 собственного производства завода МТЗ, мощностью 60 кВт и мощностью 81 л.с. с участием. Удельный расход топлива – 220 г/кВтч или 162 г/л. с участием. час Емкость топливного бака – 130 литров. Унифицированный редуктор создает дополнительные эксплуатационные преимущества. Турбинный двигатель значительно увеличивает тяговое усилие на крюке. Тяговый класс – 1,4.
Цена: от 1 284 000 руб. до 1 986 000 руб.
Аналоги: ЮМЗ-8040.2, производитель – Днепр, Украина, ВТЗ-2048 – Владимир, Россия, ХТЗ-2511 – Харьков, Украина.
Беларусь-1000
Тяговый класс данных универсальных пропашных машин 2,0, колесная формула 4х4. Все модификации тысячной серии: МТЗ-1021, 1021.3, 1021.4, 1025.2, 1025.4, 1025.4-10/99. Они оснащены турбированным двигателем мощностью 100 л. с участием. и 105 литров. с участием.
Техника хорошо зарекомендовала себя в лесном хозяйстве, коммунальном хозяйстве, строительстве, при погрузочно-разгрузочных работах.
Основная задача минских героев Беларусь-1000 — все без исключения полевые работы в аграрной отрасли.
Технические характеристики
| Масса конструкции, кг | 4250 |
| Заводская масса, кг | 4400 |
| Масса эксплуатационная, кг | 4675 |
| Полная масса, кг | 7500 |
| Базовая длина, мм | 2445 |
| Общая длина, мм | 4525 |
| Габаритная ширина, мм | 2250 |
| Габаритная высота, мм | 2840 |
| Мощность номинальная, кВт (л.с.) | 81 (110) |
| Запас крутящего момента, % | 14 |
| Мост | Сплошная балка |
| Навесная гидравлическая система | Есть |
| Максимальное давление гидросистемы, МПа | 20 |
| Производительность гидронасоса, МПа | 45 |
| Колесная формула | 4К4 |
| КПП | Синхронизированный |
Преимущества
- надежность, высокая производительность, долговечность;
- повышенной маневренности;
- универсальность, неприхотливость;
- множество модификаций для разных климатических зон;
- хорошая приспособляемость к различным навесным и прицепным орудиям.

Дефекты
- крупные зубья шестерни выкрашиваются и выходят из строя;
- Через 5 лет после покупки трактора чрезмерно увеличивается расход топлива; Внешний вид
- значительно уступает западным производителям;
- по сравнению с другими моделями тракторов Беларус цена сильно завышена.
Видео:
Полный комплект, конструктивные особенности
Тракторы Беларус-1000 комплектуются:
- топливный бак объемом 156 или 160 литров;
- система гидравлической блокировки дифференциала;
- механическая 14-ступенчатая или 16-ступенчатая коробка передач; Двигатель
- ММЗ Д-245 дизель турбированный, мощностью 100-105 л.с.; Двигатель
- Deutz TCD2012L04-2V (турбированный дизель).
Цена: от 1 872 000 руб. до 2 100 000 руб.
Аналоги: Россия – ЛТЗ-155, ЛТЗ-95, Беларусь – Беларус-ШУ-356.
Беларусь-1200
Тракторы пропашные универсальные Беларус-1200 тягового класса 2,0 выпускаются с дизельными турбированными двигателями ММЗ Д-260.
2С, ММЗ Д-245.2С2, Deutz TCD2012L06-2V C3UT104 мощностью 122, 130, 132, 136, 141 л.с. . с участием. Эти многофункциональные машины предназначены для широкого спектра применения в сельскохозяйственных, промышленных, транспортных работах.
Модификации тракторов Беларус-1200: МТЗ 1221.2 Тропик, 1221.Б2, 1221.2, 1221.Б2-51.55, 1221.2-51.55 Беларус, 1221Т.2 Беларус, 1221.3, 1220.3, 1222.4-10/91, 1201.4/91, 1201.4- 1222.4-10/9117/210, 1221.4-10/91.
Преимущества
- улучшенный дизайн трактора в сочетании с пластиковой облицовкой кузова;
- кабина унифицированная;
- усиленная задняя подвеска;
- Передняя балка моста ПВМ-822;
- задний ВОМ с независимым синхронным приводом; Передний и задний мосты
- оснащены планетарными редукторами.
Дефекты
- исходя из объема расхода топлива, небольшая емкость топливного бака;
- передний работает только при движении вперед;
- завышенная цена.

Видео:
Технические характеристики
| Общие индикаторы | |
| Масса конструкции, кг | 5783 |
| 6240 | |
| Масса эксплуатационная, кг | 6273 |
| 8000 | |
| Основание, мм | 2760 |
| Габаритные размеры, мм | 5220x2300x2850 |
| 1540 | |
| 2090 | |
| 5,4 | |
| Дорожный просвет, мм | 480 |
| 620 | |
| 420/70R24 | |
| 18,4R38 | |
| 140 | |
| Объем топливного бака, л | 170 |
| 35 | |
| 15 | |
| Двигатель | |
| Торговая марка | ММЗ |
| Модель | Д-260. 2 |
| Тип А | 4-тактный дизельный двигатель с турбонаддувом |
| Количество цилиндров | 6 |
| Сечение цилиндра, мм | 110 |
| Ход поршня, мм | 125 |
| Рабочий объем, л | 7,12 |
| Скорость номинальная, об/мин | 2100 |
| 95,6/130 | |
| 500 | |
| Коэффициент запаса крутящего момента, % | 15 |
| 233/225 | |
Полный комплект, конструктивные особенности
Тракторы серии Беларус-1200 оснащены гидроподъемником, отвечающим требованиям системы TIER-1.Конструкция агрегата позволяет длительное время работать в рабочих режимах на реверсе. Двигатель полностью соответствует всем требованиям безопасности и экологии по выбросу в атмосферу тяжелых частиц и вредных ядовитых веществ.
Все узлы двигателя и трансмиссии адаптированы для работы на отечественных и зарубежных рабочих жидкостях и горюче-смазочных материалах. Запаса крутящего момента достаточно для выполнения любых технических операций. Характеристики трактора соответствуют техническому уровню лучших зарубежных аналогов такой техники.
Цена: от 1 820 000 руб. до 2 401 000 руб.
Аналоги: Россия – ЛТЗ-155, Китай – John Deere 6020, 6130D, Бразилия – New Holland T6050 Delta, Великобритания – CASE IH Maxxum 125, Германия – Deutz Agrofarm 430.
Беларусь-1500
1500-я модель МТЗ идеальна во всех отношениях. Этот современный тягач представляет собой настоящее европейское техническое средство тягового класса 3.0. Универсальный пропашной трактор Беларус-1500 обеспечивает эффективную работу различных орудий в промышленности, на сельскохозяйственных угодьях, полях, лугах, сенокосах, на всех видах дорог и бездорожье.
Агрегаты выполняют сотни операций в качестве бульдозеров, экскаваторов, погрузчиков, отбойных молотков и многих других технических средств.
Модификации трактора Беларус-150: МТЗ-1523, 1523.3, 1523.4-10/91, 1523.4-10/91-17/210, 1523.4-10/99, 1523В, 1525, 1502. Все представители данной модели агрегатируются с более 300 наименований различных орудий, навесных, прицепных машин. Краткий перечень сельскохозяйственных работ, выполняемых тракторами:
- возделывание, уборка пропашных культур;
- посев зерновых культур;
- уборка травы, соломы;
- перевозка прицепов, полуприцепов;
- оплодотворение;
- опрыскивание полей, лугов, лесных массивов;
- непрерывное культивирование;
- вспашка и боронование.
Технические характеристики
| Общие индикаторы | |
| Масса конструкции, кг | 5700 |
| Заводская масса в упаковке, кг | 5800 |
| Масса эксплуатационная, кг | 6000 |
| Полная или максимально допустимая масса, кг | 9000 |
| Основание, мм | 2760 |
| Габаритные размеры, мм | 4710х2250х3000 |
| Минимальная колея на передних колесах, мм | 1540 |
| Колея наибольшая на передних колесах, мм | 2115 |
| Минимальная колея на задних колесах, мм | 1520 |
| Колея наибольшая на задних колесах, мм | 2435 |
| Минимальный радиус поворота, м | 5,5 |
| Дорожный просвет, мм | 380 |
| Агротехнический просвет трактора под втулками передней и задней полуоси, не менее, мм | 620 |
| Размер шин для передних колес | 420/70R24 |
| Размер шин для задних колес | 520/70R38 |
| Удельное давление на грунт, кПа | 150 |
| Объем топливного бака, л | 130 |
| Объем дополнительного топливного бака, л | 120 |
| Максимальная транспортируемая скорость, км/ч | 32 |
| Максимальная рабочая скорость движения, км/ч | 14 |
| Двигатель | |
| Торговая марка | ММЗ |
| Модель | Д-260. 1С |
| Тип А | 4-тактный дизель с турбонаддувом, промежуточным охлаждением наддувочного воздуха |
| Количество цилиндров | 6 |
| Сечение цилиндра, мм | 110 |
| Ход поршня, мм | 125 |
| Рабочий объем, л | 7,12 |
| Скорость номинальная, об/мин | 2100 |
| Мощность номинальная, кВт/л.с. | 114/153 |
| Максимальный крутящий момент, Н.м | 596 |
| Коэффициент запаса крутящего момента, % | 15 |
| Удельный расход топлива при рабочей/номинальной мощности, г, кВтч | 227 |
Преимущества
- гидравлика BOSH;
- передний и задний мосты балочного типа;
- обновленный дизайн кабины;
- наличие реверсивного поста управления;
- улучшенная, более совершенная коробка передач и трансмиссия;
- двигатель соответствует уровню Tier IIIa по выбросу вредных веществ;
- Коробка передач 16/8 с переключением передач без прерывания потока мощности;
- система гидравлической связи и трансмиссия синхронизированы друг с другом;
- за счет реализации управления от микропроцессора машинно-тракторный агрегат имеет значительно повышенную производительность.

Дефекты
- отсутствие кондиционера;
- в процессе работы иногда пропадает напряжение в цепи управления гидросистемой;
- забился нижний патрубок системы охлаждения – надо прочистить;
- болты крепления головки блока цилиндров ослаблены.
Видео:
Полный комплект, конструктивные особенности
Под заказ трактор Беларус-1500 комплектуется заводом-изготовителем следующими опциями:
- кондиционер;
- передняя навеска;
- передний ВОМ;
- дополнительное место; Передний балласт
- весом до 1025 кг.
Все модификации машины оснащены дизельными двигателями с турбонаддувом: ММЗ Д-260.1, ММЗ Д-260.1С2, ММЗ Д-260.1С3А, ММЗ Д-260.4С3А, Deutz TCD 2012L06-2V C3UT104. Силовые агрегаты: 116, 153, 158, 161 л.с.
Цена: от 2 445 000 руб. до 3 213 000 руб.
Аналоги: Т-150К, Харьков, Украина, ЛТЗ-155, Россия, John Deere 6020, 6130D, США, New Holland T6050 Delta, Бразилия, CASE IH Maxxum 125, Великобритания, Deutz Agrofarm 430, Германия.
Беларусь-2000
По мировой классификации энергонасыщенные тракторы Беларус-2000 относятся к 4-му тяговому классу.0 с колесной формулой 4х4. В модельный ряд входят следующие модификации: МТЗ-2022.3, 2022.4-10/91, 2022.4-10/99, 2022В.3, 2103. Они предназначены для выполнения всего комплекса общесельскохозяйственных операций, предпосевной, основной обработки все виды почв, вспашка, посев, уборка, перевозка любых грузов.
Машиныкомплектуются навесными и прицепными орудиями в количестве более 400 наименований. Тракторы Беларус-2000 относятся к всесезонной технике.Оснащается дизельными двигателями: ММЗ Д-260.4С2, Д-260.4С3А, Deutz TDC2013L06-2V. В их конструкции используются новейшие технологии, современные материалы, роботизированные и автоматизированные комплексы.
Машины отличаются внешним дизайном, соответствующим лучшим образцам мировой техники. При своевременном и надлежащем техническом обслуживании тракторы могут работать продолжительное время без простоев.
Преимущества
- значительное увеличение тяговой мощности трактора Беларус-2000 позволяет более эффективно использовать машину при выполнении всех штатных операций;
- агрегат использует более 350 единиц навесного и прицепного оборудования, что значительно расширяет сферу его применения;
- использование современных материалов позволило улучшить условия труда водителя и повысить эффективность работы обслуживающего персонала;
- значительно расширился круговой обзор, что повышает безопасность во время вождения и при выполнении различных работ;
- значительно снижен уровень выброса вредных веществ в атмосферу;
- достигнута низкая стоимость запчастей, хорошая ремонтопригодность и ремонтопригодность трактора.
Дефекты
- недостаточно эффективное сцепление для трактора такой мощности;
- уровень сборки оборудования на заводе отстает от мировых стандартов, поэтому большое количество отказов по сравнению с зарубежным оборудованием того же класса.

Видео:
Технические характеристики
| Габаритные размеры, мм | 5230x2400x3120 |
| База между колесами, м | 2,92 |
| Изменяемая колея задних колес, м | 1.от 8 до 2,5 |
| Колея передних колес, регулируемая в 8 позициях, м | от 1,64 до 2,19 |
| Клиренс в транспортном положении, м | 0,54 |
| Агротехнический просвет, м | 0,62 |
| Радиус поворота, м | 5,8 |
| Эксплуатационная масса, т | 7,22 |
| Масса максимально возможная, т | 10 |
| Передние шины | 420x70R24LS |
| Задние шины | 580x70R42 |
| Максимальная скорость при транспортировке груза, км/ч | 40 |
| Максимальная рабочая скорость, км/ч | 13 |
| Двигатель | ММЗ Д-260. 4С2 |
| Топливо | дизель |
| Мощность, л.с. | 212 |
| Количество цилиндров | 6 |
| Объем двигателя внутреннего сгорания, л | 7,12 |
| Максимальный крутящий момент, Нм | 900 |
Оборудование, особенности конструкции
- новый дизельный двигатель, устанавливаемый на тракторы серии 2000, оснащен турбокомпрессором с охлаждением окружающего воздуха промежуточного типа;
- глушитель двигателя машины расположен в моторном отсеке, а выход патрубка отвода выхлопных газов выведен на правую стойку кабины;
- радиатор монтируется за передней решеткой, а перед ним одноступенчатый очиститель воздуха;
- автомобиль оборудован насосом высокого давления с устройством аварийной остановки силового агрегата;
- улучшена и обновлена система охлаждения; топливные баки увеличенного объема
- позволяют работать длительный период без дозаправки;
- ВОМ, расположенный на задней балке, более мощный, чем у предыдущих моделей;
- доработка конструкции заднего моста и коробки передач позволила значительно повысить тяговые характеристики МТЗ-2000
- обновленная конструкция заднего моста создает благоприятные условия для сдваивания колес трактора;
- Многодисковые тормоза всех колес работают в масляных ваннах, что значительно повышает их эффективность.

Цена: от 4 281 000 руб. до 4 366 000 руб.
Аналоги: Террион АТМ 3180/4200, ХТЗ-181, ХТЗ-17221, New Holland, John Deere.
Беларусь-3000
Самая мощная модификация белорусских колесных энергонасыщенных тракторов 5 тягового класса. В него входят две базовые модели: МТЗ-3022 ДС.1 и МТЗ-3522. Первый тип оснащен двигателем Deutz BF06M1013FC, второй – Deutz 2013L 06-4L. Оба силовых агрегата — турбированные дизели мощностью 303 и 355 л.с.с участием. соответственно. Колесная формула обоих тракторов — 4х4. Двигатели соответствуют ступени Tier II по выбросам вредных веществ в атмосферу. Помимо базовых моделей, МТЗ выпускает на их основе несколько комплектаций.
Тракторы Беларус-3000 предназначены для следующих видов работ:
- обработка всех видов почвы;
- вспашка, культивация, уборка урожая;
- посев всех видов культур;
- эффективно выполнять операции в составе комбинированных и широкозахватных агрегатов;
- работа в тяговом, тягово-прицепном режиме;
- колоссальный набор прицепных, навесных приспособлений и орудий, доступных для агрегатирования;
- широкое применение в промышленных, погрузочно-разгрузочных, строительных, стационарных, транспортных работах.

Преимущества
- мощный передний ВОМ;
- улучшенная гидравлическая система механического управления;
- комплект для сдваивания задних колес; кондиционер
- в стандартной комплектации;
- передняя навеска.
Видео:
Технические характеристики
Полный комплект, конструктивные особенности
Двигатель TCD2013 L064V C3UT261 оснащен комбинированным воздухоочистителем, состоящим из основного фильтрующего элемента, дополнительного фильтрующего элемента и фильтра предварительной очистки с блоком «Мультициклон».Силовой агрегат оснащен системой пуска электростартером. Специальный электрический подогреватель воздуха, установленный во впускном коллекторе, облегчает запуск двигателя в тяжелых условиях.
МТЗ-3522 оснащен замкнутой жидкостной системой охлаждения двигателя с принудительной циркуляцией жидкости. Ускорение прогрева мотора после пуска достигается за счет работы термостата.
Также предусмотрена автоматическая регулировка температурного режима с учетом температуры воздуха и степени нагрузки.
Цена: от 6 500 000 руб. до 7 500 000 руб.
Аналоги: К-700, линейка Buhler 2000, John Deere 8050, серия Magnum/STX от Case New Holland.
Заключение
Рассмотрев различные модели тракторов Минского тракторного завода, становится понятно, что предприятие выпускает серьезную технику, рассчитанную на длительный период эксплуатации в самых разных условиях. Цены белорусского производителя умеренные, сравнимы с лучшими образцами мирового машиностроения.Всех, кто желает приобрести тракторы для всех видов работ, МТЗ гостеприимно приглашает в свои офисы и дилерские центры.
4044р
Мощный двигатель Yanmar.Дизельный двигатель Yanmar имеет резерв высокого крутящего момента, который обеспечивает достаточную мощность при большой нагрузке.
Этот 4-цилиндровый двигатель отличается более низким уровнем выбросов выхлопных газов и пониженным уровнем шума.
Он соответствует стандартам выбросов EPA Final Tier 4 (FT4).
Модель | Количество | Двигатель | Аспирация | Номинальная | Полная мощность двигателя | Полная мощность, л.с.* | ВОМ л.с. |
4044М/Р | 4 | 2. | Натуральный | 2600 | 42,5 | 43,1 | 32,5 |
4052М/Р | 4 | 2,1 л | С турбонаддувом | 2600 | 50,8 | 51,5 | 39.9 |
4066М/Р | 4 | 2,1 л | С турбонаддувом | 2600 | 65,0 | 65,9 | 52,0 |
с. (кВт), полная SAE J1995: 43,1 (31,7) при 2600 об/мин, л.с. *Мощность двигателя (кВт), полная мощность SAE J1995: 51.5 (37,9) при 2600 об/мин, PS Рабочий объем, куб. дюйм (л): 128,15 (2,1)
*Двигатель, л.с. (кВт), полная SAE J1995: 65,9 (48,5) при 2 600 об/мин, л.с.
Рабочий объем, куб. дюйм (л): 128,15 (2,1) точность и уменьшить воздействие на окружающую среду.
Система Common Rail (CRS) оптимизирует топливную экономичность и снижает эксплуатационные расходы*. Впрыск под высоким давлением распыляет топливо на более мелкие частицы, которые сгорают более полно.Это приводит к улучшению топливной экономичности и снижению эксплуатационных расходов.
Электронный блок управления (ECU) обеспечивает оптимальный контроль подачи топлива и точность. ECU контролирует и управляет двигателем. Он постоянно отслеживает состояние двигателя и соответствующим образом регулирует подачу топлива, чтобы обеспечить оптимальную производительность и уровень выбросов.
Новый двигатель оснащен системой доочистки выхлопных газов. Система работает автоматически. Выхлопной фильтр состоит из дизельного сажевого фильтра (DPF), который улавливает твердые частицы (ТЧ), содержащиеся в выхлопных газах.При использовании естественного процесса очистки большая часть твердых частиц, попавших в выпускной фильтр, удаляется за счет тепла выхлопного потока, образующегося при обычном использовании. В условиях низкой температуры, частоты вращения двигателя или коэффициента нагрузки запускается активный цикл очистки. В этом цикле очистки температура выхлопных газов повышается за счет впрыска дополнительного топлива во время такта выпуска в нормальном режиме работы автомобиля в дизельный катализатор окисления (DOC).
После многих часов использования выпускного фильтра может потребоваться удаление золы.
ПРИМЕЧАНИЕ: *По сравнению с двигателями, не использующими технологию CRS.
Очистка сажевого фильтра
В зависимости от нагрузки трактора, а также температуры окружающей среды, влажности и частоты вращения двигателя в DPF могут накапливаться твердые частицы, что требует очистки.
Очистка фильтра определяется одним из трех условий:
- Предписанная повременная оценка необходимой очистки фильтра
- Датчики давления DOC/DPF
- Оценка накопления твердых частиц на основе условий нагрузки
При выполнении одного из трех условий происходит очистка фильтра.
Существует три различных типа процессов очистки фильтров:
- Пассивная очистка фильтра
- Активная очистка фильтра
- Очистка фильтра на стоянке
Пассивная очистка фильтра
Пассивная очистка фильтра происходит естественным образом, когда двигатель вырабатывает достаточно тепла для окисления твердых частиц. Этот автоматический процесс происходит непрерывно во время нормальных рабочих условий. Во время пассивной очистки фильтра на дисплее не отображаются значки или символы трактора.
ПРИМЕЧАНИЕ. Пассивная очистка фильтра не требует участия оператора и не прерывает работу трактора.
Активная очистка фильтра
Если условия (температура, нагрузка или скорость) для пассивной очистки фильтра не могут быть достигнуты, то ТЧ удаляются с помощью активного очистителя фильтра.
Для достижения требуемых условий система управления температурой выхлопных газов (ETM) управляет запуском и продолжительностью активной очистки фильтра.ETM может регулировать многочисленные параметры двигателя и/или впрыскивать небольшое количество топлива в поток выхлопных газов на короткое время. Топливо превращается в пар и вступает в химическую реакцию с катализаторами в DOC с выделением тепла для окисления ТЧ.
Важно отметить, что топливо в DOC/DPF никогда не воспламеняется, и внутри DOC/DPF нет пламени.
Как и пассивная очистка фильтра, активная очистка фильтра не требует участия оператора и не прерывает работу трактора.
Очистка фильтра на стоянке
В некоторых случаях, когда пассивная и активная очистка фильтра не полностью очистила систему от твердых частиц, может потребоваться очистка припаркованного фильтра.
Скорее всего, чистка фильтра на стоянке потребуется только в том случае, если автоматическая очистка фильтра была отключена в течение длительного периода времени, а многочисленные предупреждения о включении очистки фильтра были проигнорированы или если трактор использовался в условиях малой нагрузки.Кроме того, если процесс автоматической очистки фильтра несколько раз преднамеренно прерывался или если активная очистка фильтра несколько раз не удавалась из-за неисправного компонента, может быть запрошена очистка припаркованного фильтра. В этих редких случаях оператору придется припарковать трактор и начать процесс очистки фильтра.
Процесс очистки припаркованного фильтра необходимо активировать в зависимости от использования и эксплуатации трактора. Процесс займет примерно 30 минут.Более подробную информацию см. в руководстве оператора.
Эта система постоянно отслеживает уровень сажи в тракторе, обеспечивая его максимальную производительность. Это гарантирует высокую производительность в любое время.
ПРИМЕЧАНИЕ. Количество часов с момента последней регенерации и процентное содержание сажи, отображаемые на ЖК-дисплее.
Основные характеристики двигателя:
- Более низкая номинальная скорость для работы коробки отбора мощности (ВОМ) на 540 об/мин означает лучшую экономию топлива, меньший уровень шума и вибрации, а также более длительный общий срок службы двигателя
- Цилиндр с литым блоком для хорошего охлаждения и длительного срока службы
- Гидравлические подъемники работают тише и не требуют регулировки
- Усиленный коленчатый вал обеспечивает большую площадь опорной поверхности для увеличения срока службы
- CRS оптимизирует экономию топлива, снижая эксплуатационные расходы ЭБУ
- обеспечивает оптимальное управление и точность
- Непосредственный впрыск топлива
- Улучшает запуск
- Впрыск топлива непосредственно над поршнями для более эффективного сгорания
- Развивает больше лошадиных сил на галлон топлива
- Свечи накаливания (облегчение холодного пуска)
- Масляный радиатор двигателя, охлаждает моторное масло, продлевая срок службы двигателя
- Запуск и отключение с помощью ключа устраняет необходимость в ручке отключения подачи топлива
- Электромагнитный клапан немедленно отключает подачу топлива при выключении зажигания
- Прозрачный расширительный бачок охлаждающей жидкости позволяет оператору проверять уровень охлаждающей жидкости, не снимая крышку радиатора.

- Герметичный отсек радиатора удерживает мусор и мусор снаружи капота
- Воздухоочиститель сухого типа с предохранительным элементом и электронным индикатором обслуживания воздуха
- Электронный индикатор загрязнения воздуха предупреждает оператора о необходимости обслуживания воздушного фильтра
- Двухэлементная конструкция для дополнительной защиты двигателя
- Простота обслуживания
- Стандартный боковой выпуск
- Отводит выхлопные газы от оператора, снижая шум двигателя
- Улучшает обзор оператора при использовании погрузчика или фронтального орудия
- Дополнительный вертикальный выхлоп
Yanmar является товарным знаком Yanmar Company Limited.
Самодельный мини-трактор с ломающейся рамой. Делаем самодельный минитрактор с ломающейся рамой своими руками Минитрактор ломающийся 4х4 самодельный размеры рамы
Многих фермеров интересует, как сделать минитрактор переломный своими руками.
Мини-трактор помогает качественно и быстро вспахать даже самые обширные площади. Самодельный трактор с ломаной рамой можно сделать самому, чтобы не тратиться на покупку промышленного агрегата.
Что такое минитрактор переломный
Внешне такой самодельный минитрактор переломный 4х4 это обычный механизм. Работу такой машины обеспечивает лежащий в ее основе мотоблок.
Условно минитрактор с ломаной рамой можно разделить на 3 категории:
- Самоделка – трактор 4х4, собранный своими руками.
- Заводская модель – классика для тех, кто не рискует ломать своими руками.
- 50/50 – заводской трактор, дорабатываемый трактористом до нужного результата самостоятельно.
Представляем обзор самодельного мини-трактора для перелома. Рассмотрите себя из самых простых элементов.
Как сделать мини-трактор переломник своими руками
Самодельные минитракторы с ломаемой рамой требуют от их производителя определенных навыков.
Построить такую машину непросто. Вариантов изготовления самодельного минитрактора довольно много, однако среди самоделок есть оптимальный вариант, который под силу сделать практически каждому, даже начинающему конструктору, исходя из необходимых чертежей.Необходимые расчеты и схему сборочных единиц вы можете найти в Интернете.
Приступить к сборке самодельного трактора поломка 4х4 необходимо для того, чтобы внимательно изучить, как сконструировать раму. Рама состоит из 2-х основных компонентов:
- Лонжероны представляют собой трехступенчатый сборный элемент. Парадные ступени собираются из швеллеров (десятого размера), крайние ступени сооружаются из стальной квадратной трубы, ширина и длина сторон которой 80 мм.
- Траверса задняя на тракторе из 16 швеллеров, передняя траверса из 12 швеллеров. Таким же образом изготавливается поперечина.
Силовая установка трактора
Что касается двигателя для самодельного трактора-переломщика 4х4, то может использоваться любая силовая установка, отвечающая требованиям по мощности.
Как правило, специалисты рекомендуют использовать четырехцилиндровый дизель, оснащенный водяной системой охлаждения. Мощность 40 л.с. вполне подходит для трактора, на котором планируется работать на небольших приусадебных участках.Часто используется трактор с двигателем «Ока», иногда с двигателем ВАЗ. В редких случаях допускается запуск трактора с двигателем Lifan. Лучше всего делать агрегат с двигателем «Ока».
См. «Обзор и технические характеристики трактора МТЗ-1523»
Коробка передач может быть использована от нерабочего автомобиля ГАЗ. Для подключения корзины сцепления к двигателю необходимо спроектировать маховик с двигателем с нуля и изготовить модернизированную крышку корзины, чтобы ее можно было подогнать под необходимые размеры.
Мост не требует специальных знаний и навыков, так как устанавливается на оборудование без каких-либо изменений. Он крепится к раме с помощью 2 пар лестниц.
Карданный вал можно взять от любого автомобиля, а чтобы обеспечить автомобилю качественную амортизацию, нужно установить шины диаметром 18 дюймов.
Колеса устанавливаются на ступицы просто. Из диска вырезается центральная часть, где находится отверстие для установки.Вместо этой детали конструктор приваривает центр диска от ЗИЛ-130. Передний мост можно сделать самостоятельно, так как это не требует особых навыков: этот мост не будет ведущим. Если вы боитесь браться за столь ответственное дело, просто возьмите мост с другой машины.
Производство тракторных колес
Рассмотрим создание колесной базы мини-трактора. На самодельный трактор поломки можно установить снятые с автомобиля колеса, но здесь нужно будет учитывать сразу ряд факторов.Например, колеса, установленные на переднюю ось, должны иметь диаметр примерно 14 дюймов. В том случае, если вы выберете колеса меньшего размера, велик риск выхода из строя конструкции в будущем: трактор рискует провалиться под землю. Однако с габаритами перебарщивать нельзя, иначе трактористу придется прилагать большие усилия для выполнения даже самых простых маневров: руль будет очень тяжело крутить.
Однако эту задачу можно немного упростить, если рулевую колонку оснастить гидроусилителем.
Обратите внимание, что шины трактора должны быть оснащены хорошими грунтозацепами. Это сделает минитрактор, созданный своими руками, более маневренным, снизит нагрузку на колесную базу и упростит работу на нем.
См. » ТОП-3 самых популярных моделей китайских минитракторов Файтер
Для большей маневренности минитрактор пролома своими руками можно оснастить рулевой колонкой с гидроусилителем. Гидравлику можно снять с любой другой сельскохозяйственное оборудование.Для сборки такого оборудования понадобится масляный насос, который будет работать от двигателя. Этот элемент создает правильное давление в гидромоторе.
Если вы хотите добиться максимального удобства эксплуатации, то можете сделать полноприводный мини-трактор переломный самостоятельно. Полный привод, даже сделанный своими руками, позволяет добиться хорошей маневренности. Конечно, полный привод усложняет сборку всех элементов конструкции, так как придется делать вал со всеми качественными и правильными соединениями.
Если вы собираетесь делать трактор с полным приводом, рекомендуется найти видеообзор, где будет подробно показано и рассказано, как и что делать. Помните, что сборка минитрактора потребует предельной внимательности.
Мини-трактор Перелом 4х4 своими руками конструируется с помощью множества запчастей, большая часть которых позаимствована с автомобилей, но не только они понадобятся в работе. Например, чтобы сделать точку поворота или точку излома, вам необходимо обзавестись сварочным аппаратом, дрелью, крепежом и инструментом для соединения деталей.Узел перелома для минитрактора требует особого внимания при сборе и, возможно, потребуется обратиться хотя бы за консультацией к профессионалам.
Трактор для перелома своими руками не может обойтись без установки водительского сиденья. Как правило, система управления, в том числе и сиденье, устанавливается после того, как основная часть работы с рамой своими руками окончена. В этой технике часто используются сиденья, снятые с автомобилей.
Такой элемент легко приобрести в любом автомобильном магазине.Помните, что руль должен находиться на удобной для тракториста высоте. Его не следует располагать слишком низко над коленями, но и высоко устанавливать тоже нельзя: руки могут быстро устать.
Как сделать классический трактор 4х4 своими руками
Самодельный трактор можно сделать из запчастей, которые есть в гараже. Возможно, хозяин давно собирался что-то выбросить, но большая часть поможет в постройке мини-трактора. Самодельный трактор, оснащенный ломаной рамой, — это классика.
Полноприводный минитрактор собственной разработки может иметь хорошие технические характеристики. Это позволит трактору почти ни в чем не уступать аналогам, представленным в специализированных магазинах, даже несмотря на мощность самодельного трактора будет меньше. На практике разница в мощности практически незаметна.
Мини-трактор классический используется для сельскохозяйственных работ, в том числе:
- вспашка приусадебных участков для подготовки их к дальнейшей работе;
- обработка почвы, удаление сорняков;
- боронование почвы;
- посевные работы на подготовленную почву;
- посадка и копка картофеля.

Применение самодельного агрегата может быть шире, если это предусмотрено заранее при его проектировании. Если ничего не упустить, его можно использовать для перевозки грузов, уборки снега и стрижки газонов и лужаек. Его также можно использовать для заготовки сена для скота.
Таким образом, Classic 4×4 может значительно улучшить жизнь сельхозработника и жителя загородного дома, так как на этой технике можно выполнять абсолютно любые работы.
Обратите внимание на инструкции по проектированию.Самой важной частью изготовления самодельного агрегата является чертеж. Правильно составленная схема позволит удачно спроектировать агрегат. При такой сборке важно понимать, что некоторые детали придется подгонять под особенности мотора и рамы, ведь комплектующие, как правило, берутся с разной техники, отсюда и несоответствие размеров. Подгонка деталей осуществляется на токарном станке.
См. » Обзор мощного трактора МТЗ Беларус-3022 и его модификаций
После составления чертежа можно переходить непосредственно к сборке, которая включает в себя несколько этапов.
Рама собрана из траверс и лонжеронов трехступенчатой конструкции. 1 ступень – швеллер №10, последняя – стальная квадратная труба 80х80.
Траверса сзади из швеллера №16, траверса спереди из швеллера №12.
Если мини-трактор спроектирован на базе мотоблока, то в качестве силового агрегата будет выступать двигатель, расположенный на нем. Если агрегат собран по-другому, мотор придется покупать отдельно. Любой агрегат, работающий на дизельном топливе, мощностью более 12 л.с.Оптимальный вариант – мотор мощностью 40 л.с. с функцией водяного охлаждения.
Коробка передач, вал отбора мощности, сцепление можно “позаимствовать” от ГАЗ-53 или ГАЗ-52.
Детали придется доработать – сконструировать маховик мотора, немного сняв заднюю часть и сделав отверстие посередине.
Мост можно установить как есть, ничего с ним не делая. Он крепится к раме четырьмя лестницами.
Колеса подходят для любого легкового автомобиля, оптимальный диаметр 18 дюймов.
Для небольших фермерских хозяйств мини-тракторы – это лучший вариант при выборе технологического оборудования. Цены на новую заводскую технику высоки, а б/у вариант есть не всегда. В этом случае выручают самостоятельно собранные образцы. Большой популярностью среди фермеров пользуются самодельные мини-тракторы с ломающейся рамой.
Поломка мини-трактора: что это такое
Разрывная рама трактора – это две полурамы, сочлененные подвижным шарнирным механизмом.Данная конструкция имеет ряд существенных преимуществ:
- улучшенная балансировка и, как следствие, повышенная проходимость;
- малый радиус поворота, такие трактора могут буквально развернуться вокруг себя, что немаловажно на небольших участках;
- хорошая удельная мощность и, соответственно, высокий КПД.
Собрать трактор своими руками ломаемая рама сложнее цельной, но преимущества этой модели оправдывают затраченные усилия.

Знаете ли вы? Шарнирно-сочлененные рамы часто используются в конструкции вездеходов. Самодельные каракаты (квадроциклы на шинах низкого давления) с ломающейся рамой и полным приводом.
Характеристики сборного устройства
Сборка такого сложного устройства, как трактор, потребует значительных временных и финансовых вложений.
Помимо закупки деталей и узлов агрегата, необходимо учитывать, что вам потребуются некоторые инструменты.Если у вас их нет, то вы можете попросить помощи у друзей или воспользоваться прокатом.
Какие инструменты вам понадобятся
Так как многие детали придется подгонять друг к другу, а некоторые даже изготавливать самостоятельно, то вам понадобится много инструментов :
Необходимые материалы для строительства
Устройство состоит из нескольких узлов , некоторые можно взять целиком с другого оборудования, некоторые придется переделывать:
- составной каркас; двигатель
- ;
- шасси, включая подвеску, оси и колеса;
- в сборе с тормозными дисками;
- рулевой механизм;
- сиденье;
- механизм крепления насадок.

Важно! Для создания самодельных переломов нецелесообразно использовать новые материалы и детали, лучше использовать «б/у станок». Идеальным вариантом будет приобретение старого автомобиля: « Запорожец » , « Москвич » или « Лада » , то не будет необходимости стыковать двигатель с ходовой частью и трансмиссией.
Конструирование самодельного трактора (чертежи)
В процессе сборки придется сочленять и подгонять множество деталей, а сделать это, не имея общей картины и детализации, очень сложно.
Если у вас нет дизайнерских навыков, обратитесь к друзьям, которые помогут вам в столь непростом деле, или к коллективному разуму: в интернете можно найти массу вариантов, которые вам подойдут.
Как сделать трактор с ломающейся рамой своими руками
Сборка трактора начинается с изготовления рамы, поэтапной установки остальных агрегатов на базу, монтажа гидросистемы и электропроводки.
Рассмотрим подробнее каждый этап.
Рама и корпус
Детали рамы сваривают из металлических швеллеров (в зависимости от планируемой мощности агрегата используют швеллер от №5 до №9) и соединяют их между собой шарнирным механизмом (для этих целей часто используют карданные валы от грузовиков).
На заднюю раму при необходимости установить усиленную вертикальную стойку для навесного оборудования.
Для кузова, который не выдерживает таких же нагрузок, как рама, можно использовать менее дорогой материал.Каркас, например, можно сварить из металлического прутка .
Сверху рама и место ее сочленения затем закрываются металлическим листом.Рулевое управление и сиденье
Рулевое управление Настоятельно рекомендуется оснастить его гидравлическим приводом: управлять трактором на вязкой почве в поле одной только силой мышц будет очень сложно. Гидравлическую систему можно снять с любой другой сельскохозяйственной техники.
Так как подвеска на тракторе жесткая, сиденье следует сделать мягким и, возможно, амортизированным – в нем придется проводить довольно много времени.
Для самодельной техники часто используются ульяновские двигатели (УД-2, УД-4), но есть масса альтернатив, начиная от описанного выше варианта с автомобилем и заканчивая двигателями от мотоциклов, мотоблоков и вилочных погрузчиков.
Важно! При использовании двигателя мотоцикла необходимо предусмотреть дополнительное принудительное воздушное охлаждение – нагрузки трактора не идут ни в какое сравнение с его нормальной работой.
Также потребуется установить передаточное число, чтобы при скорости около 4 км/ч частота вращения двигателя составляла около 2000 об/мин.Эти показатели оптимальны для пахотных работ.
Колеса
Мосты (как задние, так и передние) берутся от легковых или грузовых автомобилей, предварительно укорачивая полуоси до необходимой длины. На переднюю ось можно установить независимую подвеску (например, от «Запорожца»), заднюю ось лучше оставить жесткой.
Колеса выбирают в зависимости от основных задач агрегата. Если его основная работа будет проходить в поле и на пересеченной местности, то лучше использовать колеса диаметром 18-24 дюйма.Если в основном он будет использоваться для транспортных задач, то подойдут и колеса меньшего диаметра – от 13 до 16 дюймов.
Имея дачу или огород, невозможно обойтись без хорошего механического приспособления, которое поможет перекопать почву для посадки всех видов сельскохозяйственных культур. Однако для приобретения такого агрегата потребуется выложить не малую сумму денег, однако существует альтернативный вариант, который позволит приобрести необходимое устройство и при этом сэкономить свои финансы.Самодельный мини-трактор с ломающейся рамой вполне можно сделать своими руками.
Самодельный мини-трактор перелом 4х4 аналогичен обычному трактору, построенному на базе мотоблока. Условно тракторы можно разделить на три типа: самодельные, заводские, переделанные с помощью заводских деталей.
Минитрактор своими руками
Минитрактор своими руками построить не так просто, однако достаточно интересно, что требует внимания и усердия.Сегодня можно найти множество различных вариантов сборки, но есть наиболее подходящая конструкция, которая подойдет как опытным дизайнерам, так и новичкам. Прежде всего, давайте взглянем на конструкцию рамы. Несмотря на угловатость снаружи, все соединительные углы и детали шасси распределены пропорционально.
Чертежи минитрактора с ломаной рамой
Детали ключевого кадра:
лонжероны;
Траверс.
Лонжероны имеют трехступенчатую сборную конструкцию. Передние ступени изготовлены из швеллеров размера 10, а последняя из трубы квадратного сечения. Задняя траверса выполнена из шестнадцатого швеллера, а передняя – из двенадцатого. Абсолютно такая концепция подошла бы для поперечины. Трактор может комплектоваться любым двигателем, соответствующим мощности агрегата.
Наиболее подходящий вариант – 4-цилиндровый дизельный двигатель водяного охлаждения. Оптимальная мощность самодельного минитрактора, предназначенного для работы на приусадебных участках, составляет 40 л.с.
Для стыковки корзины сцепления с силовым агрегатом необходимо изготовить новый маховик двигателя и изготовить реконструированный корпус корзины под требуемые размеры. Маховик обычно вытачивают на токарном станке. Нужно подрезать заднюю часть и вырезать еще одно отверстие посередине. Мост не нуждается в значительных корректировках, поэтому подойдет на любой размер. Для крепления к раме используются 4 лестницы. Для создания карданного вала подойдут детали от любой машины. Для достижения высокого уровня амортизации рекомендуется устанавливать шины размером 18 дюймов.Установить колеса легко и просто. Стоит отметить, что от диска необходимо посередине вырезать небольшую деталь с отверстием для установки. После этого вместо него следует приварить центральный элемент диска от ЗИЛ-130.
Мост впереди можно построить самостоятельно, так как для этого не нужно иметь особых способностей. Однако, если вы хотите упростить процедуру сборки, вы можете просто использовать ось от другого автомобиля.
Видео: Устройство ВОМ на самодельном минитракторе с ломающейся рамой
Конструкция колесной базы трактора
Именно этой составляющей минитрактора следует уделить особое внимание.Конечно, можно использовать и обычные колеса от автомобиля, но здесь нужно ехать не спеша. Требуемые размеры обода колеса для передней оси составляют около 14 дюймов. Если установить колеса меньшего диаметра, велика вероятность того, что в дальнейшем трактор будет работать некорректно. И для нас главная задача – не дать минитрактору погрузиться в почву. Но есть еще один аспект, который также следует учитывать. В том случае, если передние колеса будут слишком большими, водителю будет достаточно сложно управлять этим агрегатом.Однако этот процесс можно облегчить, установив гидроусилитель руля./125.gif)
Кроме того, важно, чтобы шины колес имели хорошие грунтозацепы. Это сделает минитрактор более маневренным, уменьшит нагрузку на шасси, а также упростит эксплуатацию устройства.
Рулевое управление
Для улучшения маневренности трактора целесообразно установить гидравлическое управление. Есть возможность найти гидравлику для списанной сельхозтехники.Для его сборки необходим масляный насос, который будет приводиться в движение двигателем. Благодаря ему поддерживается необходимый уровень давления в гидромоторах. Лучше всего, если колеса главного вала будут управляться с помощью редуктора.
Чертеж рулевого управления
Тормозная система
Подвеска
Направление вращения достигается простым распределением по 4 рабочим позициям.Основное преимущество полноприводного минитрактора с рамой 4х4 в том, что он обладает отличной маневренностью. Это, несомненно, усложняет сборку, так как необходимо спроектировать надежный и правильный вал с соединениями.
Для конструкции самодельного трактора рекомендуется использовать карданные валы главной передачи от грузовых автомобилей. Сегодня можно найти массу видеоматериалов с подробными инструкциями по изготовлению минитрактора своими руками, однако, как правило, основные правила изготовления одинаковы.На всех тракторах коробка передач закреплена на раме, а рулевые тяги помогают управлять. Как правило, везде используется гидромеханический барабанный тормоз, который управляется педалью. Ускоритель и вложения применяются вручную.
Конструирование минитрактора требует различных запчастей, которые идеально подходят для автомобилей. Таким образом, барабанный тормоз пригодится для передней колесной базы. Рулевую рейку и педальное управление можно взять от маленького ВАЗа.
Строительные инструменты
В дополнение к деталям следует использовать широкий спектр различных инструментов:
Сварочный аппарат;
Гаечные ключи;
Дисковая пластина и так далее.
В некоторых случаях может потребоваться обращение к профессиональным сварщикам или в автосервис. Однако здесь важно объективно оценить собственные способности и навыки в этой отрасли. Устройство управления и установка места водителя Как правило, установка системы управления и кинематической схемы осуществляется после проектирования шасси. Один из важнейших факторов в этом деле – правильно разместить водительское сиденье. Сиденье рекомендуется устанавливать от любого легкового автомобиля, который совсем не проблематично найти в автосервисах.Также важно положение руля, он должен крепиться на максимально удобном для водителя уровне. Рулевое колесо не должно давить на колени, в связи с этим его необходимо монтировать так, чтобы у водителя не возникало ощущения дискомфорта при управлении агрегатом.
Двигатель и оборудование кузова минитрактора
Как только сконструирована ходовая часть аппарата, реализован кинематический план и установлено сиденье, пора приступать к установке основного элемента агрегата – двигателя.
Для его качественной фиксации на раме следует использовать специальную пластину с прорезями. Кроме того, это позволит придать необходимый уровень жесткости ходовой части трактора. После этого необходимо смонтировать электрическую и механическую схемы системы управления. Обшивка кузова может быть любой, в зависимости от пожеланий производителя. Однако некоторые узлы и узлы кузова рекомендуется прятать во избежание загрязнения и поломок из-за контакта с грунтом.
Техника сборки
Перед тем, как создать эту махину своими руками, необходимо выделить основные цели, для которых будет предназначено это устройство. Саму процедуру разбивки можно описать достаточно просто: мотоблок устанавливается на самодельную раму. Тормозная система должна быть барабанной, а рулевую рейку можно снять с российских Жигулей.
Если в качестве базы используется мотоблок Нева, лучше выбирать его со сцепкой, так как это позволит перевозить прицепы.Конечно, если использовать профильный мотоблок, срок службы такой машины, а также ее производительность значительно возрастут.


4 и 6.3
5Л-16
Органы управления сосредоточены в компактных функциональных группах. Педали управления сцеплением и тормозом расположены в зонах оптимального вылета и обеспечивают рациональную траекторию движения и удобство управления трактором. Органы управления гидросистемой установлены с правой стороны от водителя. Кабина оборудована удобным сиденьем с регулировкой по росту и весу тракториста. Приборы контроля состояния двигателя и трактора расположены на щитке приборов.
2 – 20.

см
5Л-16

6-20


2
1С

4С2

2 л



Добавить комментарий