Км 5 мостовой кран: 5 (5k,7k) – – , 5 (5, 7) –
Краны мостовые двухбалочные электрические общепромышленные
Заполнить опросный лист«Кран мостовой электрический двухбалочный опорный»
Краны двухбалочные, которые еще называют опорными двухбалочными мостовыми кранами, выполняют широкий спектр погрузочно-разгрузочных работ при строительстве, монтаже, ремонте различных объектов на открытых территориях и в закрытых помещениях.
Конструкция крана состоит из двух параллельных балок коробчатого сечения, соединенных между собой общими концами. Такая геометрия балок вместе со специальными большими и малыми диафрагмами обеспечивает высокие ходовые характеристики работы крана, а также снижает изнашиваемость рабочих частей механизма. На пролетной балке закреплен подтележный рельс, по которому на колесах движется грузовая тележка. Последняя состоит из рамы, которая включает в себя две поперечные балки, покрытые листом настила, с присоединенными к ним колесами.
Технические характеристики двухбалочных кранов
Грузоподъемность двухбалочных кранов может достигать 320 тонн, высота подъема груза – 6 – 18 м, тогда как пролет крана составляет 10,5 – 32 м.
К рабочей части кранов присоединены различные грузозахватные и грузоподъемные механизмы: грейферы, крюки, электромагниты, тали. Грузоподъемный механизм крепится к ездовой дорожке, которая, в свою очередь, присоединена к двум мостовым балкам, что обеспечивает равномерное распределение груза между пролетными балками.
Мостовые двухбалочные краны имеют ряд преимуществ по сравнению с другими видами такого грузоподъемного оборудования:
- более низкое энергопотребление во время эксплуатации;
- минимальное раскачивание груза, плавное опускание и торможение;
- сравнительно меньший вес конструкции.
Дополнительные возможности двухбалочных мостовых кранов
Частотные преобразователи двухбалочных кранов обеспечивают медленное, равномерное и безопасное передвижение поднятых грузов, снижая раскачивание и вибрацию во время работы техники. Наличие системы предупреждения столкновения позволяет работать одновременно с несколькими кранами на одном пути.
Еще одним преимуществом устройств этого типа является наличие дополнительного оснащения для облегченного доступа к рабочим деталям и элементам на производстве (освещению, трубопроводам, электрике, вентиляции и т. д.).
Заказать проектирование и производство двухбалочных кранов как в общепромышленном, так и специальном исполнении можно в нашей компании.
Наша продукция
Краны двухбалочные мостовые опорные, ТУ 3151-010-60609109-2009
Характеристики:
- грузоподъемность от 5 до 32 тонн
- пролет от 10,5 до 34,5 метров
- управление с пола, из кабины
- вспомогательный подъем
Краны двухбалочные мостовые грейферные, ТУ 3152-016-60609109-2011
Характеристики:
- грузоподъемность от 10 до 20 тонн
- пролет от 10,5 до 34,5 метров
Краны двухбалочные мостовые траверсные, ТУ 3152-016-60609109-2011 (управление из кабины)
Характеристики:
- грузоподъемность от 5 до 10 тонн
- пролет от 10,5 до 34,5 метров
Краны общего назначения
youtube.com/embed/HEgv4z2qnOw” frameborder=”0″ allowfullscreen=””/>Монтаж. Мостовой двухбалочных кран, пролетом 22,5 метра. Режим работы А7. Грузоподъемностью 50/12,5 тонн. На электронной системе управления Двеста.
Предлагаем Вашему вниманию:
- Кран 16 (ТУ 24.09.404-83)
- Кран 16/3,2 (ТУ 24.09.404-83)
- Кран 32/5-А5 (ТУ 24.09.404-83)
- Кран УП20/5-А2 (ТУ 24.09.404-83)
- Кран 32/5-А5 (ТУ 24.09.404-83)
- Кран 20/5-А5 (ТУ 24.09.404-83)
- Кран 16/3,2-А5 (ТУ 24.09.404-83)
- Кран 16-А7 (ТУ 24.09.656-86)
- Кран 16/3,2-А7 (ТУ 24.09.656-86)
- Кран 20/5-А7 (ТУ 24.09.656-86)
- Кран 32/5-А7 (ТУ 24.09.656-86)
- Кран 5 т (ТУ 24.09.404-83)
- Кран 10 т (ТУ 24.09.404-83)
- Кран 10 управляемый с пола (ТУ 24.09.404-83)
- Кран 5 т управляемый с пола (ТУ 24.09.404-83)
- Кран 5 т (ТУ 24.
09.656-86) - Кран 10 т (ТУ 24.09.656-86)
- Кран 50/10 (ТУ 24.09.404-83)
- Кран 5–А7 для перемещения расплавленного металла
- Кран 50/10 (ТУ 24.09.656-86)
Краны специального назначения
Испытания. Мостовой двухбалочных кран, пролетом 22,5 метра. Режим работы А7. Грузоподъемностью 50/12,5 тонн. На электронной системе управления Двеста.
Предлагаем Вашему вниманию:
- Кран 16-А6 для перемещения расплавленного металла (ТУ 24.09.404-83)
- Кран 16/3,2-А6 для перемещения расплавленного металла (ТУ 24.09.404-83)
- Кран 20/5-А6 для перемещения расплавленного металла (ТУ 24.09.404-83)
- Кран 32/5-А6 для перемещения расплавленного металла (ТУ 24.09.404-83)
- Кран МТ20-А2 (ТУ 21.
006.-84) - Кран Г10-А7 (ТУ24.09.691-88)
- Кран мостовой МГ10/10-А7 (ТУ24.09.691-91)
- Кран МГ16/3,2-А6 (ТУ 24.09.691-91)
- Кран МГ20/5-А7 (ТУ 24.09.691-91)
- Кран магнитный (ТУ 24.09.691-91)
- Кран с гибким подвесом траверсы (ТУ 24.09.691-91)
- Кран 10-А7-ВТ ( ТУ 24.09.691-91)
- Кран К16-А6 (ТУ 24.09.691-91)
- Кран магнитный с гибким подвесом траверсы (ТУ 24.09.691-91)
- Кран 10×2т
- Кран Г5-А7 (ТУ24.09.691-91)
- Кран Г16-А7 (ТУ24.09.691-91)
- Кран 10 –А7 для перемещения расплавленного металла
- Кран ММ16/10-А6
Краны взрывобезопасные
Предлагаем Вашему вниманию:
- Кран УПВБ 32/5-А2 (ТУ 24.09.557-81)
- Кран УПВБ 20/5-А2 (ТУ 24.09.557-81)
- Кран ВБ 16-А2 (ТУ 24.09.557-81)
- Кран УПВБ 16/3,2-А2 (ТУ 24.09.557-81)
- Кран ВБ 16/3,2-А2 (ТУ 24.09.557-81)
- Кран УПВБ 16-А2 (ТУ 24.09.557-81)
- Кран ВБ 32/5-А2 (ТУ 24.
09.557-81) - Кран ВБ 20/5-А2 (ТУ 24.09.557-81)
- Кран УПВБ 10-А2 (ТУ 24.09.557-81)
Краны мостовые электрические двухбалочные – заказать в Екатеринбурге
Продукция / Краны мостовые электрические
Для облегчения работ по транспортировке груза в пределах одной установленной территории широкое применение получил двухбалочный мостовой электрический кран.
В отличие от однобалочного двухбалочный кран имеет большую грузоподъемность, что позволяет решать самые серьезные задачи при организации и проведении определенных строительных или ремонтных работ.
Подобное название появилось благодаря внешнему виду. Мостовые краны в самом начале своей эволюции усиливались арочными конструкциями, что издалека напоминало мост. У двухбалочного крана имеется два моста за счет наличия двух главных балок. Передвижение крана осуществляется по крановому пути.
Количество подкрановых колес может быть от 4 до 8 штук.
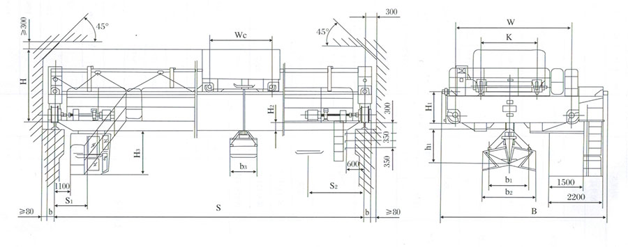
Технические характеристики
Кран мостовой двухбалочный 5 тонн (подробные характеристики)
| 1. Грузоподъемность, т | 5 | ||||||||||||
| 2. Пролет крана Ln, м | 10,5 | 13,5 | 16,5 | 22,5 | 28,5 | 34,5 | |||||||
| 3. Высота подъема крюка, м | 6; 9; 12; 18 | ||||||||||||
|
4. Размеры, мм *размеры определяются типом выбранного механизма подъема |
А | 2900 | 4000 | 5000 | |||||||||
| B | 3660 | 4800 | 5800 | ||||||||||
| h2 | 300 | 365 | |||||||||||
| B11 | 2250 | 2400 | |||||||||||
| H | 1900 | 2200 | 2300 | ||||||||||
| h21* | 1700 | 2000 | 2100 | ||||||||||
| h* | 240 | 340 | |||||||||||
| h21 | 1700 | 1900 | 2000 | ||||||||||
| Н1 | 2100 | 2300 | 2500 | ||||||||||
| B1 | 190 | 230 | 260 | ||||||||||
| F | 100 | 200 | 300 | ||||||||||
| L1* | 1020 | 1150 | |||||||||||
| L2* | 1130 | 1270 | |||||||||||
5. Группа режима работы крана по ГОСТ 25546-82 (ISO 4301/1-86) |
2К; 3К; 5К | ||||||||||||
| главного подъема | 1,5/8, 1,4/12, 16 | ||||||||||||
| 6. Скорость, м/мин | передвижения грузовой тележки | 33 | |||||||||||
| передвижения крана | 42 | 52,8 | |||||||||||
| 7. Управление краном | из кабины, радиоуправление | ||||||||||||
| 8. Токоподвод | Кабельный; открытый троллейный; закрытый троллейный | ||||||||||||
| 9. Род тока и напряжение: | переменный – 380 В; 50 Гц | ||||||||||||
10. Суммарная мощность электродвигателей (ПВ 40%) Квт |
8; 12 – подъем | ||||||||||||
| 2х2,2 – передвиж. крана | |||||||||||||
| 1,1 – передвижение тележки | |||||||||||||
| 11. Масса крана, не более, т | 8,7 | 11,7 | 10,8 | 12,9 | 15 | 17,1 | |||||||
| 12. Нагрузка на колесо крана, не более, кН | 50 | 55 | 57 | 63 | 69 | 74 | |||||||
| 13. Тип кранового рельса | Р43, Р50, Р65, КР70, КР80 | ||||||||||||
14. Климатическое исполнение, категория размещения |
У1, У2, У3, тропическое | ||||||||||||
| 15. Температура окружающей среды, °С | -20…+40 (-40…+40) | ||||||||||||
| 16. Исполнение крана | Общепромышленное, пожаробезопасное, взрывобезопасное | ||||||||||||
| 17. Характеристики взрывозащиты | |||||||||||||
| Класс взрывоопасной зоны | В1, В1а, В1г | ||||||||||||
| Категория взрывоопасной смеси | IIA, IIB, IIC | ||||||||||||
| Группа взрывоопасной смеси | Т1, Т2, Т3, Т4, Т5 | ||||||||||||
Основное назначение таких кранов – транспортировка грузов или монтаж оборудования внутри зданий (цехов, происзодственных помещений) и на открытых площадках.
Для управления используются пульт, радиосигнал, или вручную из кабины оператора.
Кран мостовой двухбалочный 10 тонн (краткая характеристика)
| Грузоподъемность, т | 10 |
| Высота подъема крюка H, м | 6-18 |
| Группа режима работы крана по ГОСТ 25546-82 (ISO 4301/1-86) | 2К; 3К; 5К |
| Тип управления | из кабины, радиоуправление |
| Скорость подъема (м/с) | 0,75/4; 0,7/6 |
| Вид тока, напряжение | переменный – 380 В; 50 Гц |
| Климатическое исполнение, категория размещения | У1, У2, У3, тропическое |
Урпавление осуществляется из кабины, есть возможность производства кранов с управлением с пола.
Кран мостовой двухбалочный 12 тонн (краткая характеристика)
| Грузоподъемность, т | 12,5 |
| Высота подъема крюка H, м | 6-12 |
| Группа режима работы крана по ГОСТ 25546-82 (ISO 4301/1-86) | 2К; 3К; 5К |
| Тип управления | из кабины, радиоуправление |
| Скорость подъема (м/с) | 0,9/4 |
| Вид тока, напряжение | переменный – 380 В; 50 Гц |
| Климатическое исполнение, категория размещения | У1, У2, У3, тропическое |
Кран мостовой двухбалочный 16 тонн (краткая характеристика)
| Грузоподъемность, т | 16 |
| Высота подъема крюка H, м | 6-18 |
| Группа режима работы крана по ГОСТ 25546-82 (ISO 4301/1-86) | 2К; 3К; 5К |
| Тип управления | из кабины, радиоуправление |
| Скорость подъема (м/с) | 3; 0,5/3 |
| Вид тока, напряжение | переменный – 380 В; 50 Гц |
| Климатическое исполнение, категория размещения | У1, У2, У3, тропическое |
Общая мощность установленных двигателей не превышает в сумме 40Вт при потребляемом напряжении в 380В.
Можем смотнировать подъемный механизм от разных производителей – как отечественнх, так и зарубежных (китайский, немецкий, болгарский).
Кран мостовой двухбалочный 20 тонн (краткая характеристика)
| Грузоподъемность, т | 20 |
| Высота подъема крюка H, м | 6-18 |
| Группа режима работы крана по ГОСТ 25546-82 (ISO 4301/1-86) | 2К; 3К; 5К |
| Тип управления | из кабины, радиоуправление |
| Скорость подъема (м/с) | 3; 0,5/3 |
| Вид тока, напряжение | переменный – 380 В; 50 Гц |
| Климатическое исполнение, категория размещения | У1, У2, У3, тропическое |
В качестве дополнительной комплектации можем предложить частотное регулирование скорости передвижения самого крана, тали и подъемного механизма.
Также вы можете выбрать тип исполнения, способ управления и наличие дополнительного тормоза на движущихся элементах.
Кран мостовой двухбалочный 32 тонны (краткая характеристика)
| Грузоподъемность, т | 32.5 |
| Высота подъема крюка H, м | 14-16 |
| Группа режима работы крана по ГОСТ 25546-82 (ISO 4301/1-86) | 5К (А5) |
| Тип управления | из кабины, радиоуправление |
| Скорость подъема (м/с) | 3 |
| Вид тока, напряжение | переменный – 380 В; 50 Гц |
| Климатическое исполнение, категория размещения | У1, У2, У3, тропическое |
Все представленные в каталоге модели осуществляют подъем грузов при помощи электропривода и обладают отличными показателями КПД, а также в зависимости от исполнения могут применяться практически в любых погодных условиях.
Мы производим как двухбалочные краны, так и однобалочные (смотрите ссылки ниже) – первые, как понятно из названия имеют в своей конструкции 2 балки, по которым и перемещается крановая тележка (также есть возможность установки второй тележки). У однобалочных же более простая конструкция – 1 балка, оборудованная талью или другим механизмом.
Если Вам необходима консультация, или Вы готовы заказать электрический мостовой кран в Екатеринбурге (или других регионах с доставкой транспортными компаниями), обращайтесь к нам по телефонам:
- +7 (343) 722-13-38
- +7 (343) 722-16-17
Краны мостовые электрические однобалочные подвесные двухпролётные, грузоподъемность1 – 5 т Краны мостовые электрические опорные однобалочные ферменной конструкции, грузоподъемность 10 т, режим работы А3 Краны мостовые электрические опорные однобалочные, грузоподъемность1 – 6,3 т, режим работы А3 Краны мостовые электрические опорные однобалочные ферменной конструкции, грузоподъемность 1 – 6,3 т, режим работы А3 Краны мостовые электрические однобалочные подвесные, грузоподъемность 1 – 10 т Краны мостовые опорные двухбалочные Краны мостовые грейферные
Кран мостовой электрический двухбалочный гп 5 т | Краны мостовые двухбалочные общего назначения
Кран мостовой электрический двухбалочный гп 5 т | Краны мостовые двухбалочные общего назначения | ООО “ТяжМашКомплекс” Главная > Краны мостовые двухбалочные > Общего назначения > Кран мостовой электрический двухбалочный гп 5 тКран мостовой двухбалочный 5 тонн применяется для проведения погрузочно-разгрузочных работ в складах, доках и ангарах, для монтажных работ, транспортных погрузок и разгрузок и т.п. Кран двухбалочный 5т используется как на открытых объектах, так и в закрытых помещениях. Двухбалочный мостовой кран 5тн станет Вам незаменимым помощником и прослужит Вам долго и продуктивно. Позвоните нашим специалистам и они помогут подобрать правильную комплектацию. Позвоните нам прямо сейчас и мы ответим на все Ваши вопросы. Производство мостовых двухбалочных кранов 5 тн Наша компания производит двухбалочные мостовые краны 5т. Электрические подвесные мостовые краны 5 тонн широко применяются в производстве и строительстве. Вы можете заказать у нас качественные краны по доступным ценам. Мостовые краны являются незаменимым помощником на производстве. Компания ЕВРОПРОМ изготавливает краны 5 т и более. С детальным описанием и техническими характеристиками электрических подвесных кранов 5т Вы можете ознакомится, обратившись к нашим специалистам.
Дополнительная информация
Краны мостовые производства “кранстроймонтаж” | КранСтройМонтаж
Мостовые краны от завода КранСтройМонтаж используются для подъема и перемещения грузов.
Конструкция состоит из пролетного моста, концевых балок и электротельфера для однобалочного крана либо грузовой тележки для двухбалочного крана.
Мостовые краны делятся на две категории:
- Однобалочные краны – в основе двутавровая балка.
- Двухбалочные краны – в основе коробчатая конструкция.
Мостовые краны, или кран-балки, питаются от трехфазной сети напряжением 380 В и частотой 50 Гц. Опорные и подвесные модели выбираются в зависимости от конструкции подкранового пути и характеристик помещения. Опорный кран перемещается по монорельсовому пути, а подвесной – по нижней полке двутавровой балки.
Технические характеристики мостовых однобалочных кранов
Технические характеристики мостовых двухбалочных кранов
Оборудование для мостовых кранов
Грузоподъемный механизм выбирается по желанию заказчика. Мы можем поставить электротали болгарского (Балканско ЕХО или Elmot), отечественного или китайского производства.
Болгарские тали надежны и долговечны, а стоимость мостового крана с ними дороже незначительно.
Мы предлагаем отечественные и импортные (например, немецкие Bauer или SewEurodrive) моторедукторы перемещения крана.
На мостовые краны мы дополнительно готовы поставить частотную или тиристорную систему управления питанием, за счёт чего улучшается плавность хода оборудования. Заказчик может выбрать частотные регуляторы Schneider Electric, Mitsubishi, SewEurodrive, Simens или бюджетные системы заводов России и Китая.
Так же по согласованию с Заказчиком изготавливается токосъемник для кабельного или троллейного токопровода либо шинопровода, а сам токопровод может входить в комплект поставки крана.
Взрывобезопасные и пожаробезопасные мостовые краны
Наш завод производит мостовые краны во взрывобезопасном и пожаробезопасном исполнении. Это значит, что вы можете использовать технику в помещениях с повышенным содержанием взрывоопасных или пожароопасных веществ и газов.
Возможность возникновения искр исключается за счет применения взрывобезопасных оболочек и шкафов, специальных кабелей и электродвигателей, а также крановых колес со специальным покрытием. Таким образом, вероятность возникновения пожара или взрыва снижается до минимума. Краны применяются в нефтеперерабатывающей, атомной, химической, горнодобывающей промышленности и металлургии.
Доставим, установим и займёмся обслуживанием выбранного вами крана, осуществляя текущий и капитальный ремонт.
Заказывайте надежное оборудование – покупайте мостовые краны на заводе КранСтройМонтаж!
Выбирайте профессионалов, и вы получите качественный сервис!
Выполняем техническое обслуживание и ремонт мостовых кранов
Устанавливаем радиоуправление на мостовые краны
Устанавливаем частотную систему управления на мостовые краны
Устанавливаем систему мониторинга
Краны мостовые электрические опорные двухбалочные — ООО «ТД «Алтайталь»
Наиболее востребованным и эффективным подъёмно-транспортным оборудованием являются электрические опорные двухбалочные краны, которые в сравнении с однобалочными имеют более выгодную геометрию позволяющую увеличить высоту подъема грузов, добиться лучших ходовых качеств и увеличить срок службы ходовых механизмов.
Конструкция двухбалочных кранов, в сравнении с однобалочными кранами (кран-балками) даёт большую свободу при компоновке и модернизации оборудования, позволяет обеспечить удобный доступ к крановым тележкам при проведении ремонтных работ. Немаловажным достоинством двухбалочных кранов является возможность использования моста и галерей крана для обслуживания плафонов освещения, фонарей, других элементов здания и оборудования расположенного в зоне стропильных конструкций промышленного здания.
Холдинговая компания «Алтайталь» по желанию Заказчика изготовит мостовой кран грузоподъёмностью до 50 тонн с учётом индивидуальных пожеланий заказчика.
Мостовые опорные двухбалочные краны производятся по техзаданию клиента (в соответствии с заполненными опросными листами) с учётом особенностей, удовлетворяющих условиям эксплуатации на промышленных предприятиях Российской Федерации, стран ближнего и дальнего зарубежья.
В зависимости от условий эксплуатации кран мостовой электрический двухбалочный может быть изготовлен:
Электрические краны мостовые двухбалочные: производство и продажа в компании «Алтайталь»
Специализация компании «Алтайталь» — производство и продажа грузоподъёмного оборудования.
В нашей компании вы сможете заказать мостовой двухбалочный электрический опорный кран по цене производителя. Мы предлагаем самые лучшие цены на грузоподъемное оборудование, т.к. мы его производим сами. Приобретая оборудование у нас, вы минуете посредников и соответственно уже существенно экономите!
Виды мостовых кранов
Мостовой кран – результат внедрения инновационных технологий и использование современных материалов, что гарантирует качество механизмов, их соответствие отечественным и европейским стандартам.
Двухбалочный мостовой кран – конструкция, состоящая из захватывающего груз механизма, что крепится на грузовой тележке либо на тали. Передвижение происходит при помощи подвижной стальной конструкции.
Особенно популярны мостовые двухбалочные электрические опорные краны, которые активно привлекаются для работы на крытых строительных площадках, в цехах, на складах и прочих промышленных и хозяйственных объектах.
В компании «Алтайталь» вы можете купить оборудование «под ключ».
Вам гарантирована помощь профессиональных консультантов относительно выбора моделей, монтажа и конструкторского проектирования нужных вам кранов.
Практика показывает, что возможности двухбалочной конструкции широкие:
- увеличение грузоподъемности при одновременном уменьшении массы техники;
- хорошие ходовые качества техники;
- скорости регулируются плавно, бесступенчатым способом, груз перемещается максимально точно, т.к. в системе применяются приводы частотных преобразователей;
- увеличение производительности с помощью высокой скорости транспортировки грузов, крана, тележки;
- Увеличение высоты подъема груза, верхняя крайняя точка при подъеме расположена в точности между несущими балками.
Новости
01.11.2017
За октябрь 2017 г. изготовлены и отгружены заказчику 5 двухбалочных кранов:
- Кран мостовой двухбалочный КМ 5-А5-16,5-12-У3
- Кран мостовой грейферный КМГ 10-А7-22,5-14-У2
- Кран мостовой двухбалочный КМ 20/5-А3-22,5-10/10-У3
- Кран мостовой двухбалочный КМ 10-А5-22,5-16-У3 — 2 ед.

01.10.2017
За сентябрь 2017 г. изготовлены и отгружены заказчику 5 двухбалочных кранов:
- Кран мостовой двухбалочный КМ 7,5/7,5-А7-28-12,5-У3 – 2 ед.
- Кран мостовой двухбалочный КМ 25/10-А5-22,5-11-У3 – 2 ед.
- Кран мостовой двухбалочный КМ 5-А5-22,5-8-У3
24.09.2017
Дорогие коллеги, сотрудники, заказчики и все причастные! Коллектив ООО «ВТОРМЕТ ПТО» поздравляет вас с профессиональным праздником — Днём машиностроителя! Удачи, бодрости духа и тела, семейного и материального благополучия!
01.09.2017
За август 2017 г. изготовлены и отгружены заказчику 4 двухбалочных крана:
- Кран мостовой двухбалочный КМ 10-А5-16,5-10-У3 – 2 ед.
- Кран мостовой двухбалочный грейферный специальный КМГ 10-А7-23-20-У1
- Кран мостовой двухбалочный КМ 10-А5-16,5-12-У3
01.08.2017
За июль 2017 г. изготовлены и отгружены заказчику 6 двухбалочных кранов:
- Кран мостовой двухбалочный КМ 10-А5-17,5-12-У3
- Кран мостовой двухбалочный КМ 32/5-А5-16,5-16-У3 – 2 ед.

- Кран мостовой двухбалочный КМ 32/5-А3-28,5-8-У4
- Кран мостовой двухбалочный КМ 10-А3-22,5-18-У3 — 2 ед.
01.07.2017
За июнь 2017 г. изготовлены и отгружены заказчику 3 двухбалочных крана:
- Кран мостовой двухбалочный КМ 10-А5-22,5-12-У3
- Кран мостовой двухбалочный КМ 60/20-А3-33-25/25-ХЛ2 — 2 ед.
01.06.2017
За май 2017 г. изготовлены и отгружены заказчику 3 двухбалочных крана:
- Кран мостовой двухбалочный КМ 28/5-А5-22,5-12/14-У3
- Кран мостовой двухбалочный КМ 10-А5-16,5-12-У2
- Кран мостовой двухбалочный шаржирный КМШ 3-А7-11,58-У3
01.05.2017
За апрель 2017 г. изготовлены и отгружены заказчику 4 двухбалочных крана:
- Кран мостовой двухбалочный КМ 10-А5-28,5-12-У3
- Кран мостовой двухбалочный КМ 5-А5-16,5-8-У3
- Кран мостовой двухбалочный магнитно-грейферный КММГ 10/10-А7-28-14-У1 -2 ед.
01.
04.2017
За март 2017 г. изготовлены и отгружены заказчику 4 двухбалочных крана:
- Кран мостовой двухбалочный КМ 32/10-А7-38,4-6-У3
- Кран мостовой двухбалочный КМ 5-А5-16,5-8-У3
- Кран мостовой двухбалочный специальный грейферный КМГ 5-А7-28,5-11-У3
- Кран мостовой двухбалочный КМ 15-А5-22,5-12-У3
08.03.2017
Дорогие женщины! ООО «ВТОРМЕТ ПТО» поздравляет сотрудниц, коллег, партнеров с праздником! Будьте счастливы и на работе, и дома!
01.03.2017
За февраль 2017 г. изготовлены и отгружены заказчику 4 двухбалочных крана:
- Кран мостовой двухбалочный КМ 5-А5-22-9-У3 — 2 ед.
- Кран мостовой двухбалочный КМ 10-А5-16,5-9-У3
- Кран мостовой двухбалочный КМ 5-А5-22,5-12-У3
23.02.2017
ООО «ВТОРМЕТ ПТО» поздравляет сотрудников и партнеров с Днём защитника Отечества! Здоровья и благополучия!
01.
02.2017
За январь 2017 г. изготовлены и отгружены заказчику 2 двухбалочных крана:
- Кран мостовой двухбалочный КМ 20/5-А5-34,5-23-У3
- Кран мостовой двухбалочный КМ 10-А5-16-11-У3
10.01.2017
За декабрь 2016 г. изготовлены и отгружены заказчику 4 двухбалочных крана:
- Кран мостовой двухбалочный КМ 32/5-А3-28,5-14/14-У3
- Кран мостовой грейферный КМГ 5-А7-18,5-16-У2
- Кран мостовой двухбалочный КМ 40-А2-22,5-18-У3
- Кран мостовой двухбалочный КМ 25-А7-27,0-12-У3
31.12.2016
Коллектив ООО «ВТОРМЕТ ПТО» поздравляет партнеров с наступающим Новым годом! Успехов и процветания в Новом году!
01.12.2016
За ноябрь 2016 г. изготовлены и отгружены заказчику 5 двухбалочных кранов:
- Кран мостовой двухбалочный КМ 10-А5-11-15-У3
- Кран мостовой двухбалочный КМ 30/5-А5-22,5-10/10-У3
- Кран мостовой двухбалочный КМ 5-А5-22,5-8-У3
- Кран мостовой двухбалочный КМ 10-А5-22,5-12-У3
- Кран мостовой двухбалочный КМ 16-А5-18,5-16-У3
01.
11.2016
За октябрь 2016 г. изготовлены и отгружены заказчику 4 двухбалочных крана:
- Кран мостовой двухбалочный КМ 10-А5-22,5-12-У3
- Кран мостовой двухбалочный КМ 5-А5-16,5-10-У3
- Кран мостовой двухбалочный КМ 5-А5-16,5-6-У3
- Кран мостовой двухбалочный КМ 20/5-А1-13,5-12/12-У3
01.10.2016
За сентябрь 2016 г. изготовлены и отгружены заказчику 4 двухбалочных крана:
- Кран мостовой двухбалочный КМ 32/5-А5-28,5-10/10-У3
- Кран мостовой двухбалочный КМ 10-А5-22,5-8-У3
- Кран мостовой двухбалочный КМ 10-А5-22,5-12-У3
- Кран мостовой двухбалочный КМ 10-А5-16,5-16-У3
25.09.2016
Дорогие коллеги, сотрудники, заказчики и все причастные! Коллектив ООО «ВТОРМЕТ ПТО» поздравляет вас с профессиональным праздником — Днём машиностроителя! Удачи, бодрости духа и тела, семейного и материального благополучия!
01.09.2016
За август 2016 г.
изготовлены и отгружены заказчику 3 двухбалочных крана:
- Кран мостовой двухбалочный КМ 50/10-А5-36-21-У3 — 2 ед.
- Кран мостовой двухбалочный КМ 10-А5-28,5-8-У3
01.08.2016
За июль 2016 г. изготовлены и отгружены заказчику 4 двухбалочных крана:
- Кран мостовой двухбалочный КМ 32-А3-16,5-12-У3
- Кран мостовой двухбалочный КМ 32/5-А3-28,5-12/12-У3
- Кран мостовой двухбалочный КМ 32/5-А5-22,5-15/15-У3
- Кран мостовой двухбалочный КМ 10-А5-22,5-12-У3
01.07.2016
За июнь 2016 г. изготовлены и отгружены заказчику 5 двухбалочных кранов:
- Кран мостовой двухбалочный шаржирный КМШ 3-А7-11,58-У3
- Кран мостовой двухбалочный КМ 20/5-А1-13,5-12/12-У3 — 4 ед.
01.06.2016
За май 2016 г. изготовлены и отгружены заказчику 4 двухбалочных крана:
- Кран мостовой двухбалочный КМ 16-А5-16,5-18-У3
- Кран мостовой двухбалочный КМ 10-А5-28,5-16-У3 — 3 ед.

01.05.2016
За апрель 2016 г. изготовлены и отгружены заказчику 4 двухбалочных крана:
- Кран мостовой двухбалочный магнитно-грейферный КММГ 10/10-А7-28-14-У1
- Кран мостовой двухбалочный КМ 10-А5-24,5-10-У3
- Кран мостовой двухбалочный КМ 25-А2-11,5-60-У3
- Кран мостовой двухбалочный КМ 32/5-А3-22,5-18/18-У3
01.04.2016
За март 2016 г. изготовлены и отгружены заказчику 4 двухбалочных крана:
- Кран мостовой двухбалочный КМ 20/5-А5-19,5-15/15-У3
- Кран мостовой двухбалочный КМ 32-А3-16-13-У3 – 2 ед.
- Кран мостовой двухбалочный магнитно-грейферный КММГ 10/10-А7-28-14-У1
25.03.2016
Сегодня произошло важное событие в истории нашего предприятия — запущена в эксплуатацию новая система отопления производственного корпуса и АБК на базе инфракрасных газовых излучателей. Два года напряженной работы от проектно-изыскательских работ до пуска, согласования и пересогласования, серьёзные инвестиции, и как результат — комфортные условия труда для сотрудников, увеличение производительности труда и ещё один шаг вперёд!
08.
03.2016
Дорогие женщины! ООО «ВТОРМЕТ ПТО» поздравляет сотрудниц, коллег, партнеров с праздником! Будьте счастливы и на работе, и дома!
01.03.2016
За февраль 2016 г. изготовлены и отгружены заказчику 3 двухбалочных крана:
- Кран мостовой двухбалочный КМ 32-А3-16-13-У3 – 2 ед.
- Кран мостовой двухбалочный КМ 32/5-А5-19,5-15/15-У3
23.02.2016
ООО «ВТОРМЕТ ПТО» поздравляет сотрудников и партнеров с Днём защитника Отечества! Здоровья и благополучия!
01.02.2016
За январь 2016 г. изготовлены и отгружены заказчику 4 двухбалочных крана:
- Кран мостовой двухбалочный КМ 5-А5-22,5-5,5-У3
- Кран мостовой двухбалочный грейферный КМГ 16-А7-27,5-16-У2
- Кран мостовой двухбалочный КМ 40/10-А5-22,5-12-У4 – 2 ед.
01.01.2016
За декабрь 2015 г.
изготовлены и отгружены заказчику 4 двухбалочных крана:
- Кран мостовой двухбалочный магнитно-грейферный КММГ 10/10-А7-28,0-16/16-У2
- Кран мостовой двухбалочный КМ 20/5-А5-22,5-8/8-У3
- Кран мостовой двухбалочный КМ 16-А5-28,5-12-У3
- Кран мостовой двухбалочный грейферный КМГ 16-А7-27,5-16-У2
31.12.2015
Коллектив ООО «ВТОРМЕТ ПТО» поздравляет партнеров с наступающим Новым годом! Успехов и процветания в Новом году!
01.12.2015
За ноябрь 2015 г. изготовлены и отгружены заказчику 4 двухбалочных крана:
- Кран мостовой двухбалочный КМ 10-А5-28,5-16-У1
- Кран мостовой двухбалочный КМ 10-А5-22,5-12-У3
- Кран мостовой двухбалочный КМ 5-А6-16,5-14-У3 – 2 ед
01.11.2015
За октябрь 2015 г. изготовлены и отгружены заказчику 4 двухбалочных крана:
- Кран мостовой двухбалочный КМ 40-А2-22,5-16-У4
- Кран мостовой двухбалочный КМ 20/10-А7-28,5-16-У3 — 2 ед.

- Кран мостовой двухбалочный грейферный КМГ 16-А7-27,5-16-У2
01.10.2015
За сентябрь 2015 г. изготовлены и отгружены заказчику 6 двухбалочных кранов:
- Кран мостовой двухбалочный КМ 5-А5-16,5-12-У3
- Кран мостовой двухбалочный КМ 20/5-А4-16,5-8-У3 – 2 ед.
- Кран мостовой двухбалочный КМ 30/5-А3-13,5-12-У4
- Кран мостовой двухбалочный КМ 10-А5-22,5-12-У3 — 2 ед.
27.09.2015
Дорогие коллеги, сотрудники, заказчики и все причастные! Коллектив ООО «ВТОРМЕТ ПТО» поздравляет вас с профессиональным праздником — Днём машиностроителя! Удачи, бодрости духа и тела, семейного и материального благополучия!
01.09.2015
За август 2015 г. изготовлены и отгружены заказчику 4 двухбалочных крана:
- Кран мостовой двухбалочный КМ 20/5-А5-22,5-8-У3 — 2 ед
- Кран мостовой двухбалочный КМ 10-А5-28,5-12-У1
- Кран мостовой двухбалочный КМ 32-А5-22,5-8-У3
01.
08.2015
За июль 2015 г. изготовлены и отгружены заказчику 4 двухбалочных крана:
- Кран мостовой двухбалочный КМ 10-А7-27,0-12-У3
- Кран мостовой двухбалочный КМ 10-А5-16,5-22,75-У3
- Кран мостовой двухбалочный КМ 20-А5-16,5-8-У3
- Кран мостовой двухбалочный КМ 10-А5-11-8-У1
01.07.2015
За июнь 2015 г. изготовлены и отгружены заказчику 5 двухбалочных кранов:
- Кран мостовой двухбалочный КМ 25-А7-27,0-12-У3
- Кран мостовой двухбалочный КМ 15-А5-27,0-12-У3
- Кран-штабелер КШ 3,2-А6-22,5-6,7 – 3 ед.
01.06.2015
За май 2015 г. изготовлены и отгружены заказчику 4 двухбалочных крана:
- Кран мостовой двухбалочный КМ 20/5-А3-28,5-12/12-У3
- Кран мостовой грейферный КМГ 5-А7-16,5-16-У2
- Кран мостовой двухбалочный КМ 50-А2-22,5-14,5-У3
- Кран мостовой двухбалочный КМ 25-А7-27,0-12-У3
11 мая — Закончены масштабные работы по изменению технологической планировки и переносу оборудования (заготовительного, сборочного, окрасочного) и складских площадей.
Работы выполнялись собственными силами, подготовка велась весь апрель, выполнение работ — все майские праздники. Теперь наши желания удивляются нашим возможностям!
01.05.2015
За апрель 2015 г. изготовлены и отгружены заказчику 4 двухбалочных крана:
- Кран мостовой двухбалочный КМ 10-А5-22,5-10-У1
- Кран мостовой двухбалочный КМ 8-А5-17-8-У3
- Кран мостовой двухбалочный КМ 5-А7-13-12-У3 – 2 ед.
18.03.2015
Получены новые Сертификаты Соответствия ТР/ТС 010/2011. Вкладка Сертификаты.
15.03.2015
За февраль 2015 г. изготовлены и отгружены заказчику 4 двухбалочных крана:
- Кран мостовой двухбалочный КМ 25-А2-19-12,5-У3
- Кран мостовой магнитно-грейферный КММГ 10/10-А7-28-12-У1 – 2 ед.
- Кран мостовой грейферный КМГ 5-16,5-А7-8-У1
15.03.2015
За янаврь 2015 г. изготовлены и отгружены заказчику 5 двухбалочных кранов:
- Кран мостовой двухбалочный грейферный КМГ 5-16,5-А7-8-У1
- Кран мостовой двухбалочный КМ 16/3,2-А2-22,5-16/18-У3
- Кран мостовой двухбалочный КМ 25-А2-19-12,5-У3
- Кран мостовой двухбалочный КМ 32-А5-13,5-12,5-У3-2 шт.

06.12.2014
За ноябрь 2014 г. изготовлены и отгружены заказчику 5 двухбалочных кранов:
- КМ 10-А5-19,5-8,0 — 2 шт.
- КМ 10-А5-17,0-8,0 — 2 шт.
- КМ 32/5-А5-16,5-12/12 — 1 шт.
08.11.2014
За октябрь 2014 г. изготовлены и отгружены заказчику 5 двухбалочных кранов:
- КМ 5-А7-17,0-8,0 — 1 шт.
- КМ 30-А5-13,5-10 — 2 шт.
- КМГ 10-А5-19,5-8,0 — 2 шт.
13.10.2014
Коллектив ООО «ВТОРМЕТ ПТО» отметил День машиностроителя, 2 сотрудника награждены Почетными грамотами и денежной премией, остальные — подарками.
13.10.2014
За сентябрь 2014 г. изготовлены и отгружены заказчику 5 двухбалочных крана:
- КМ 16-А5-18,5-18,0 — 4 шт.
- КМГ 10-А7-30,0-20 — 1 шт.
02.09.2014
За август 2014 г. изготовлены и отгружены заказчику 3 двухбалочных и 3 однобалочных крана.
21.
08.2014
За июль 2014 г. изготовлены и отгружены заказчику 4 двухбалочных краны.
22.05.2014
Изготовлен и отгружен двухбалочный мостовой кран
03.03.2014
На нашем сайте опубликован новый календарь на 2014 г.
24.12.2013
Изготовлены и отгружены Заказчику два двухбалочных опорных крана г/п 20 и 16 тн., пролетом 16,5 и 22,5 м. Доставка до Заказчика осуществлялась собственным автотранспортом.
15.12.2013
Изготовлены и отгружены Заказчику два двухбалочных опорных крана г/п 16 тн., пролетом 22,5 м.
03.10.2013
Изготовлены и отгружены Заказчику два мостовых двухбалочных опорных крана г/п 10 и 16 тн.
25.06.2013
Компания ООО «ВТОРМЕТ ПТО» совместно с фирмой Güralp приняли участие на выставке КРАНЭКСПО 2013
В период с 19 по 21 июня 2013 года на территории Всероссийского выставочного центра (пав.
75) состоялась 8-я Специализированная выставка подъемно-транспортного оборудования «КранЭкспо». Выставка организована Русской выставочной компанией«ЭКСПОДИЗАЙН» под патронатом Торгово-промышленной палаты РФ, Правительства г. Москвы.
Технические характеристики НП-КРАН КММГ 5
Габаритные размеры НП-КРАН КММГ 5
Двигатель НП-КРАН КММГ 5
Эксплуатационные характеристики НП-КРАН КММГ 5
NP-CRANE КММГ 5|NP-KRAN КММГ 5|КММГ 5|Кран мостовой КММГ 5|Кран мостовой НП-КРАН КММГ 5|НПК Кран КММГ 5|НП-КРАН КММГ 5
Энциклопедия СтройТех является открытой справочно-информационной системой. |
На правах рекламы: |
5-тонный мостовой кран – Производитель мостовых кранов
Вы ищете 5-тонный мостовой кран для своей мастерской от поставщиков кранов со всего мира? Просмотрев информацию день за днем, вы все еще не знаете, как выбрать надежного поставщика кранов и подходящий мостовой кран для вашего бизнеса. Вы можете выбрать бренд номер один в мире, но для таких видов продукции это немалая сумма.
Однако, если вы выберете нового поставщика кранов, о котором вы никогда раньше не слышали, вы можете беспокоиться о качестве крана, который они могут вам предоставить.
Так как же выйти из ситуации и выбрать мостовой кран грузоподъемностью 5 тонн у надежного поставщика кранов? Мы рекомендуем вам узнать об Aicrane и о том, что он может сделать для вас!
типов 5-тонных мостовых кранов, доступных на Aicrane
Ознакомьтесь с различными вариантами кранов и данными ниже, чтобы найти мостовой кран, подходящий для вашего проекта.
AQ-LD 5-тонный мостовой кран
- Мостовой кран AQ-LD используется с электрической канатной талью CD1, MD1 или цепной талью
- Этот тип крана имеет разумную конструкцию и высокую жесткость
- Кран широко используется на фабриках, складах, складах и в других случаях для подъема различных грузов.
Мостовой кран AQ-LD грузоподъемностью 5 тонн
| Модель | AQ-LD |
| Грузоподъемность | 5 тонн |
| Пролет | 7,5–31,5 м |
| Высота подъема | 6-30 м |
| Скорость подъема | 8(0,8/8)м/мин |
| Рабочая скорость подъема | 20(30)м/мин |
| Скорость движения крана | 20(30)м/мин |
| Рабочая обязанность | А3, А4 |
Получить бесплатное предложение
Мостовой кран AQ-HD 5 тонн
- Мостовой кран европейского типа использует новые технологии от проектирования и выбора материалов до производственного процесса, что показывает его превосходство, особенно при частых операциях.

- Европейская электрическая лебедка отличается хорошей безопасностью и надежностью, уменьшает предельное рабочее расстояние крюка и эффективно улучшает коэффициент использования пространства.
- Легкая конструкция позволяет легко обновлять и трансформировать оборудование.
AQ-HD 5-тонный мостовой кран
| Модель | AQ-HD |
| Грузоподъемность | 5 тонн |
| Пролет | 7,5–28,5 м |
| Высота подъема | 6-18 м |
| Скорость подъема | 0.8/5 м/мин |
| Рабочая скорость подъема | 2-20 м/мин |
| Скорость движения крана | 3-30 м/мин |
| Рабочая обязанность | А5 |
Получить бесплатное предложение
Подвесной кран AQ-LX грузоподъемностью 5 тонн
- Подвесной кран представляет собой легкий и небольшой кран с опорной балкой, подвешенной к крыше или потолку здания.

- Кран с ходовым краном обычно используется в механических цехах, сборочных цехах и складах и т. д.
Подвесной кран 5 тонн на продажу
| Модель | AQ-LX |
| Грузоподъемность | 5 тонн |
| Пролет | 3–22,5 м |
| Высота подъема | 6-30 м |
| Скорость подъема | 8(0,8/8)м/мин |
| Рабочая скорость подъема | 20(30)м/мин |
| Скорость движения крана | 20(30)м/мин |
| Рабочая обязанность | А3, А4 |
Получить бесплатное предложение
Двухбалочный мостовой кран AQ-LH грузоподъемностью 5 тонн
- Мостовой кран с электротельфером AQ-LH имеет такие преимущества, как компактные размеры, низкий строительный просвет, малый вес и небольшое давление на колесо.
- Этот продукт в основном подходит для транспортировки, сборки, капитального ремонта и погрузочно-разгрузочных работ в механообрабатывающих цехах, вспомогательных цехах металлургических заводов, складах, скотных дворах, электростанциях и т.
д. - Также может заменить обычные двухбалочные мостовые краны в производственных цехах текстильной и пищевой промышленности.
Двухбалочный мостовой кран AQ-LH грузоподъемностью 5 тонн
| Модель | АК-ЛХ |
| Грузоподъемность | 5 тонн |
| Пролет | 10.5-31,5 м |
| Высота подъема | 6-30 м |
| Скорость подъема | 0,18-8 м/мин |
| Скорость движения тележки | 20 м/мин |
| Скорость движения крана | 20 м/мин |
| Рабочая обязанность | А3, А4 |
Получить бесплатное предложение
Мостовой кран европейского типа AQ-NLH грузоподъемностью 5 т
- Это электрический мостовой кран европейского типа, состоящий из коробчатой рамы моста, ходового механизма моста, подъемной тележки и электрического оборудования.

- Стационарная электрическая таль устанавливается на раму тележки в качестве подъемного механизма.
- Кран имеет простую конструкцию, небольшой вес, разумную стоимость и т. д.
- Кран подходит для таких рабочих мест, как фабрики и шахты, мастерские и склады в диапазоне малой и средней грузоподъемности.
AQ-NLH Двухбалочный мостовой кран европейского типа грузоподъемностью 5 тонн
| Модель | АК-НЛХ |
| Грузоподъемность | 5 тонн |
| Пролет | 10.5-31,5 м |
| Высота подъема | 6-18 м |
| Скорость подъема | 0,8/5 м/мин |
| Скорость движения тележки | 2-20 м/мин |
| Скорость движения крана | 3-30 м/мин |
| Рабочая обязанность | А5 |
Получить бесплатное предложение
Корпуса мостовых кранов грузоподъемностью 5 тонн
Наша продукция экспортируется в более чем 50 стран и регионов, таких как Россия, США, Малайзия, Сингапур, Индонезия, Нигерия, Замбия, Узбекистан, Филиппины и т.
д., и завоевали доверие и похвалу многих клиентов. Вы можете быть уверены в сотрудничестве с нами!
Ниже приведены некоторые случаи экспорта нашей крановой продукции в страны по всему миру:
AQ-HD 5-тонный кран EOT в Узбекистане
5-тонный мостовой кран УзбекистанАК-ЛС Подвесной мостовой кран 5 тонн в Узбекистане
Смотреть больше
AQ-LD 5-тонный мостовой кран с цепной талью в Доминике
Мостовой кран 5T Доминика
5-тонный мостовой кран в Доминике
Мостовой кран AQ-HD 5T в ОАЭ
Европейский стандарт 5-тонный мостовой кран ОАЭ
5-тонный мостовой кран на продажу ОАЭ
Отзывы клиентов: Мостовой кран AQ-LD с канатной лебедкой
Получить бесплатное предложение
Как правильно купить мостовой кран грузоподъемностью 5 тонн
Если вы хотите купить мостовой кран грузоподъемностью 5 тонн, вы можете не знать, какая спецификация крана лучше всего подходит для вашей отрасли.
Не волнуйтесь, профессиональная команда Aicrane поможет вам в этом. Благодаря нашим профессиональным услугам в области производства и поставки кранов, наш завод по производству кранов предоставит вам крановые решения, соответствующие вашим условиям работы и отрасли.
При выборе 5-тонного мостового крана следует учитывать три основных фактора:
1. Знакомство с типом мостового крана грузоподъемностью 5 тонн, который вам нужен
Чтобы получить 5-тонный мостовой кран, идеально подходящий для вашей отрасли, вам необходимо знать некоторые основные характеристики крана.Очень важно четко определить свои истинные потребности в кранах.
Условия работы крана
Пожалуйста, сообщите нам, при каких условиях вы хотите использовать кран, или вы можете предоставить нам условия вашего завода, которые будут лучше для нашего инженера по кранам, чтобы предоставить вам конкретные решения.
Требуемые характеристики крана
Как мы все знаем, из-за различных условий работы большинство кранов изготавливаются по индивидуальному заказу.
Некоторые из наших клиентов иногда присылают нам запросы на краны, в которых указывается только грузоподъемность крана или название крана, который они хотят, что не может помочь нам порекомендовать лучшее решение для клиентов.
Когда вы отправляете нам запрос о мостовом кране, вы можете сообщить нам подробные характеристики необходимого вам крана, включая грузоподъемность, пролет, высоту подъема, рабочее время, марку двигателя и т. д.
Прочие особые требования
Если у вас есть другие требования, сообщите нам об этом.
Вам доступны как стандартные мостовые краны, так и краны по индивидуальному заказу. Если вы хотите приобрести кран своевременно и с минимальными затратами, пришлите нам более точную информацию о нужном вам кране. Наши инженеры-крановщики могут предоставить вам наилучшие возможные решения!
5-тонный мостовой кран с электрической цепной талью
2. Хорошо знать своего поставщика 5-тонных мостовых кранов
Хорошее знание поставщика кранов является одним из наиболее важных факторов при выборе лучшего крана.
Иногда вам никогда не стоит беспокоиться о названии компаний, о которых вы даже никогда не слышали, потому что в таком большом мире невозможно знать всех в деталях, и самое ценное – это ваша способность найти лучшего поставщика кранов, который может предоставить вам краны, отвечающие вашим конкретным потребностям.
Лучший способ найти идеальные 5-тонные мостовые краны — это заблокировать целевой рынок поставщиков кранов и перейти на их официальный веб-сайт, связавшись с их менеджером по продажам для получения подробной информации.
5-тонный мостовой кран от Aicrane
3. Приобретение 5-тонного мостового крана по доступной цене
В мире есть множество производителей кранов, которые могут предложить как дешевые, так и дорогие мостовые краны грузоподъемностью 5 тонн. Из них вам нужно найти наиболее экономичный кран, соответствующий вашему бюджету.
Свяжитесь с Aicrane, чтобы получить лучшую цену для вашего 5-тонного мостового крана!
5-тонный мостовой кран заводская цена
Получить бесплатное предложение
Почему стоит выбрать Айкран
Aicrane — известный бренд AIMIX Group, специализирующийся на разработке и производстве тяжелого грузоподъемного оборудования, включая мостовые краны, козловые краны, стреловые краны, электрические тали, лебедки, ходовые подъемники и т.
д.
Занимается проектированием и производством кранов более 10 лет
Компания имеет более чем 10-летний опыт проектирования и производства кранов. Он всегда ориентировался на реальные потребности клиентов и предоставлял клиентам лучшие подъемные решения. Таким образом, он превратился в надежный бренд в крановой отрасли.
Производство 5-тонного однобалочного мостового крана для клиента из Колумбии на нашем крановом заводе:
Получить бесплатное предложение
Команда профессиональных инженеров для оказания технической поддержки
У нас есть профессиональные инженеры, которые помогут вам выбрать экономичное решение, отвечающее вашим требованиям по обработке материалов.Из широкого ассортимента кранов Aicrane вы можете выбрать те, которые соответствуют вашим конкретным требованиям к грузоподъемности.
Свяжитесь с нами сейчас для подходящего решения!
Получить бесплатное предложение
Полный спектр послепродажного обслуживания
Группа послепродажного обслуживания Aicrane
Компания имеет 5 зарубежных офисов (Пакистан, Узбекистан, Малайзия, Индонезия и Филиппины) и более 60 сотрудников службы послепродажного обслуживания за рубежом для предоставления клиентам комплексного послепродажного обслуживания:
- Руководство по установке, вводу в эксплуатацию и приемке крана
Отправка инженеров послепродажного обслуживания для установки, отладки и запуска оборудования.

После установки и отладки оборудования работает специальный отдел для повторных визитов клиентов.
- Техническая информация, гарантийный срок и техническое обслуживание
Предоставить сертификат на продукцию, руководство по эксплуатации, технические характеристики технического обслуживания.
Предоставление случайных запасных частей и инструментов.
Обучение персонала по эксплуатации и техническому обслуживанию и оказание технических консультационных услуг.
Пожизненная сервисная поддержка оборудования.
- Своевременная поставка аксессуаров
Получите бесплатную консультацию
Другие типы мостовых кранов, которые могут подойти для вашего объекта
В дополнение к 5-тонному мостовому крану, компания также может предоставить вам другие типы мостовых кранов, в том числе 10-тонный мостовой кран, 20-тонный мостовой кран, 30-тонный мостовой кран, 50-тонный мостовой кран, 100-тонный мостовой кран или мостовой кран на заказ.
Мы прилагаем все усилия, чтобы предоставлять краны самого высокого качества клиентам по всему миру.Все друзья могут проконсультироваться с нами о лучшем кране.
Приглашаем посетить наш завод, чтобы узнать больше о кранах!
Отправьте запрос сегодня!
Если вы заинтересованы в наших мостовых кранах или хотите получить предложение, пожалуйста, предоставьте некоторую информацию о кране, который вам нужен, чтобы мы могли сделать предложение для вас:
– Грузоподъемность
– Пролет крана
– Макс.высота подъема крана
– Транспортная длина
– Вам нужно, чтобы мы предоставили вам рельс?
– Сколько часов в день будет работать кран и сколько раз в час?
– Электричество Электропитание: 3 фазы 380В 50Гц?
– Какой материал будет поднимать кран?
Вы можете заполнить контактную форму или отправить нам электронное письмо.
После получения вашего запроса мы свяжемся с вами как можно скорее и предоставим вам подходящее предложение.
Разница между подъемниками и кранами
Дата: 28.10.2019
Предыдущий блог – Инновационное наследие
В этой статье мы подробно расскажем о различиях между кранами и тельферами, о том, что это за компоненты и как они работают. Понимание основ поможет вам лучше общаться с производителем вашего крана и гарантировать, что вы закажете систему, которая наилучшим образом соответствует вашим потребностям. Готовы начать? Проконсультируйтесь с нашим конструктором кранов уже сегодня!
Что такое мостовой кран?
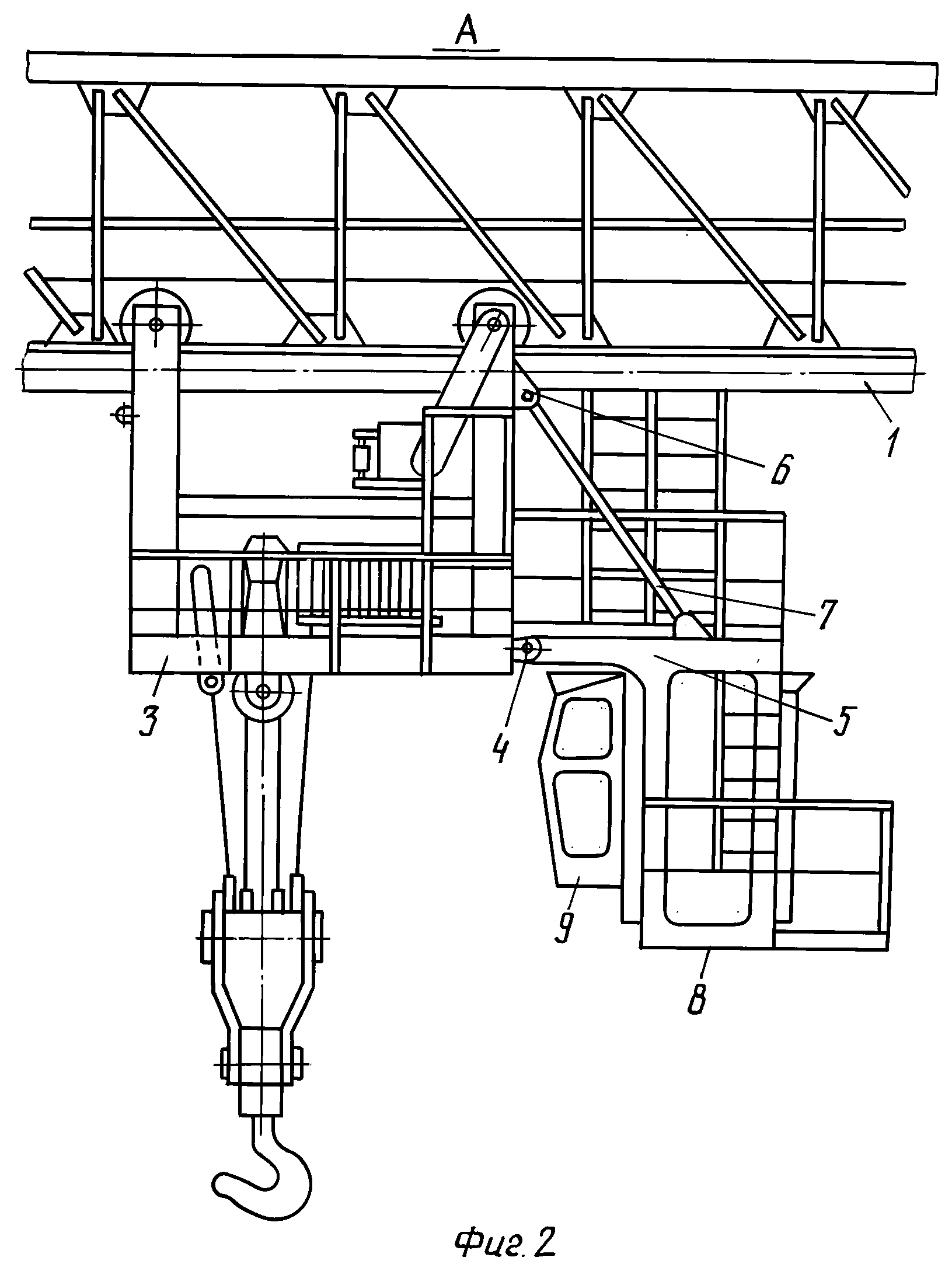
Кран представляет собой сложную машину, которая поднимает, опускает и перемещает тяжелые или громоздкие грузы.Краны оснащены компонентами, обеспечивающими многостороннюю мобильность крана. Комбинация движений подъемника, тележки и моста обеспечивает полный охват производственного цеха.
Рисунок 1
Что такое подъемник?
Подъемник — это машина, которая очень хорошо выполняет одну задачу: подъем и опускание груза в вертикальной плоскости (рис. 1, движение 3). Подъемники расположены на основной горизонтальной балке крана, называемой мостовой балкой.Подъемник, соединенный с тележкой (рис. 1, движение 2), перемещается вперед и назад по балке моста. Цепные тали отлично подходят для подъема грузов весом менее 5 тонн и требуют минимального обслуживания, а канатные тали являются оптимальным выбором для грузов весом 5 тонн и выше. В подъемниках с одинарным запасом используется один отрезок каната на канатном барабане, в то время как подъемники с двойным запасом обеспечивают настоящий вертикальный подъем за счет использования двух канатов на одном барабане. С канатными барабанами большего диаметра можно добиться минимального смещения крюка или бокового перемещения крюка на подъемнике с одним запасом.
Что такое тележка?
Тележка — механизм, перемещающий подъемник по мостовой балке крана.
Подъемник перемещается горизонтально вдоль верхней или нижней части балки моста, чтобы расположить ее над грузом (рис. 1, движение 2). Существует три типа тележек: низкая высота, нормальная высота и двухбалочная тележка.
Что такое мост?
Краны полагаются на концевые тележки для транспортировки моста (подъемника, тележки и балок) вдоль взлетно-посадочной полосы (рис. 1, движение 1).Движение моста добавляет крану третью опору разнонаправленной мобильности, обеспечивая полный охват крюка по всему зданию.
Электрификация крана: как работает кран?
Фестон — это система электропроводки и поддержки, обеспечивающая питание тележки и лебедки через мост. Электроэнергия собирается с шинопровода на взлетно-посадочной полосе и передается на главную панель мостика, которая питает всю электронику крана. Оттуда по фестонным кабелям подается питание на панель подъемника и приводы моста, которые приводят в движение подъемник, тележку и привод моста.
Для максимальной производительности и безопасности большинство операторов полагаются на подвесной пульт или радио для управления движением крана.
Индивидуализация: как правильно выбрать компоненты крана?
От общего комплекта крана до отдельных компонентов, выбранное вами оборудование должно быть совместимо с вашей уникальной планировкой здания. Чтобы максимально использовать пользовательские функции и опции, полезно понимать условия измерения отдельных частей крана.
Пролет: расстояние между центральными точками балок подкранового пути говорит вам о пролете или ширине всего крана.
Ширина троллейбуса: В двухбалочном кране размер троллейбуса представляет собой расстояние от центра одного троллейбуса до центра другого троллейбуса.
Высота над уровнем моря: измеренное расстояние между седлом крюка и нижней частью колес тележки, когда крюк поднят до своего верхнего предела, называется высотой над уровнем моря.
Подъемники с малой высотой подъема, такие как подъемник с малой высотой подъема SX, обеспечивают максимальную эффективность использования пространства при ограниченном расстоянии подъема.Высота над уровнем моря также называется размером C.
R&M Materials Handling предлагает широкий ассортимент талей и компонентов кранов с обширной линейкой настраиваемых функций и компонентов, на которые полагаются специалисты по кранам во всем мире. Воспользуйтесь нашей системой поиска дистрибьюторов, чтобы найти местный ресурс, или свяжитесь с нами сегодня, чтобы поговорить с одним из наших экспертов по кранам.
Обслуживание мостовых кранов | Грузоподъемность 60 тонн
Эффективные и качественные системы обработки материалов имеют решающее значение для производительности промышленных пользователей
Тяжелое производство и сталелитейная промышленность полагаются на использование кранов для использования большой грузоподъемности при эффективном хранении, гибкости обработки продуктов и более быстрого реагирования для обеспечения доставки точно в срок.
Midd Cities имеет самый большой выбор зданий с мостовыми кранами на Среднем Западе и предлагает широкий спектр удобств, которые подойдут большинству пользователей тяжелого производства или стальных услуг. Что касается кранового обслуживания, на этом сайте представлены:
- Здания с несколькими мостовыми кранами, всего 19 кранов
- Крановая служба грузоподъемностью до 60 тонн
- Длина пролета гибкого крана до 110 футов
- Некоторые из них имеют самый высокий рабочий цикл до класса D
Системы погрузочно-разгрузочных работ для тяжелой промышленности должны работать все быстрее, с большей эксплуатационной гибкостью и с безопасными и эффективными скоростями.Все крановые системы Midd Cities профессионально обслуживаются в соответствии с высочайшими стандартами для обеспечения эффективности и надежности. Многие из них управляются с помощью подвесного переключателя или интерактивного радиоуправления, что позволяет управлять ими с безопасного расстояния.
Хотите переместить или расширить деятельность своего центра обслуживания металлоконструкций?
Промышленный паркMidd Cities может удовлетворить широкий спектр требований клиентов, включая здания с грузоподъемностью крана до 60 тонн, и идеально подходит для использования в качестве центра обслуживания металлоконструкций.
В наличии:
8,840 SF в комплекте с 5-тонным мостовым краном
Здание 30 – 8 840 SF
Мы предлагаем конкурентоспособные рыночные цены и гибкие условия аренды.
Для получения дополнительной информации об этом здании позвоните Говарду Джексону по телефону 513-271-0624.
29 CFR § 1910.179 – Мостовые и козловые краны. | CFR | Закон США
§ 1910.179 Мостовые и козловые краны.
(a) Определения, применимые к этому разделу.
(1) Кран – это машина для подъема и опускания груза и перемещения его по горизонтали, подъемный механизм которой составляет неотъемлемую часть машины.
Краны, стационарные или мобильные, приводятся в движение вручную или с помощью энергии.
(2) Автоматический кран – это кран, который при активации работает в соответствии с заданным циклом или циклами.
(3) Кран с кабиной – это кран, управляемый оператором в кабине, расположенной на мосту или тележке.
(4) Консольный козловой кран означает козловой или полукозловой кран, в котором мостовые балки или фермы проходят поперечно за пределы подкранового пути с одной или обеих сторон.
(5) Кран с напольным управлением означает кран, который представляет собой подвесной или непроводящий канат, управляемый оператором на полу или независимой платформе.
(6) Козловой кран означает кран, аналогичный мостовому крану, за исключением того, что мост для перевозки тележки или тележек жестко поддерживается на двух или более опорах, движущихся по фиксированным рельсам или другому пути.
(7) Кран для обработки жидкого металла означает мостовой кран, используемый для транспортировки или заливки расплавленного материала.
(8) Мостовой кран означает кран с разводным мостом, на котором установлен подвижный или неподвижный подъемный механизм и который перемещается по подвесной конструкции фиксированного пути.
(9) Кран с механическим приводом означает кран, механизм которого приводится в действие электрическим, пневматическим, гидравлическим двигателем или двигателем внутреннего сгорания.
(10) Кран с пультом управления – это кран, управляемый со стационарного поста оператора, не прикрепленного к крану.
(11) Кран с дистанционным управлением — это кран, управляемый оператором не с поста управления или в кабине, прикрепленной к крану, любым способом, кроме подвесного или тросового управления.
(12) Полукозловой кран представляет собой козловой кран, у которого один конец моста жестко опирается на одну или несколько опор, передвигающихся по фиксированному рельсу или взлетно-посадочной полосе, а другой конец моста поддерживается тележкой, движущейся по приподнятому рельсу или посадочная полоса.
(13) Мостовой кран для складирования означает кран козлового типа с большим пролетом, обычно используемый для бестарного хранения материалов; мостовые балки или фермы жестко или нежестко опираются на одну или несколько опор. Он может иметь один или несколько фиксированных или шарнирных консольных концов.
(14) Кран настенный означает кран, имеющий стрелу с тележкой или без нее и поддерживаемый боковой стеной или линией колонн здания. Это передвижной тип и работает на взлетно-посадочной полосе, прикрепленной к боковой стене или колоннам.
(15) Назначенный означает, что работодатель или представитель работодателя возложил на него определенные обязанности.
(16) ANSI означает Американский национальный институт стандартов.
(17) Вспомогательный подъемник – это дополнительный подъемный механизм меньшей грузоподъемности и обычно с более высокой скоростью, чем предусмотрен для основного подъемника.
(18) Тормоз – это устройство, используемое для замедления или остановки движения за счет трения или силы.
(19) Дроссельный тормоз – это тормоз, обеспечивающий тормозящую силу без внешнего управления.
(20) Удерживающий тормоз — это тормоз, автоматически предотвращающий движение при отключении питания.
(21) Мост – это часть крана, состоящая из балок, тележек, концевых стяжек, пешеходных дорожек и приводного механизма, на котором установлена тележка или тележки.
(22) Под ходом моста понимается движение крана в направлении, параллельном подкрановому пути.
(23) Бампер (буфер) – энергопоглощающее устройство для уменьшения удара, когда движущийся кран или тележка достигает конца своего разрешенного хода; или когда два движущихся крана или тележки соприкасаются.
(24) Кабина – отделение оператора на кране.
(25) Под просветом понимается расстояние от любой части крана до точки ближайшего препятствия.
(26) Токосъемники представляют собой контактные устройства для сбора тока с проводников взлетно-посадочной полосы или моста.
(27) Токопроводы мостовые – электрические проводники, расположенные вдоль конструкции моста крана для обеспечения питания тележки.
(28) Токопроводы подкрановые (магистральные) — электрические проводники, расположенные вдоль подкранового пути для обеспечения питания крана.
(29) Средства управления тормозом – это метод управления скоростью двигателя крана при капитальном ремонте.
(30) Противодействие крутящему моменту означает метод управления, при котором мощность двигателя реверсируется для создания крутящего момента в противоположном направлении.
(31) Динамический означает метод управления скоростью двигателя крана в состоянии капитального ремонта для обеспечения силы торможения.
(32) Рекуперативное означает форму динамического торможения, при котором вырабатываемая электрическая энергия возвращается в энергосистему.
(33) Механический означает способ управления трением.
(34) Контроллер с пружинным возвратом означает контроллер, который при отпускании автоматически возвращается в нейтральное положение.
(35) Назначенный означает, выбранный или назначенный работодателем или представителем работодателя в качестве квалифицированного для выполнения определенных обязанностей.
(36) Точка дрейфа означает точку на контроллере перемещения, которая отпускает тормоз, когда двигатель обесточен. Это позволяет двигаться по инерции до включения тормоза.
(37) Барабан представляет собой цилиндрический элемент, вокруг которого наматываются канаты для подъема или опускания груза.
(38) Выравниватель – устройство, компенсирующее неравную длину или натяжение каната.
(39) Открытый означает возможность непреднамеренного контакта. Применяется к опасным объектам, недостаточно охраняемым или изолированным.
(40) Отказоустойчивость означает средство, предназначенное для автоматической остановки или безопасного управления любым движением, при котором возникает неисправность.
(41) Пешеходный переход означает проход с поручнями, прикрепленный к мосту или тележке для доступа.
(42) Подъемник – это устройство, которое может быть частью крана и создавать усилие для подъема или опускания.
(43) Подъемная цепь означает несущую цепь в подъемнике.
Примечание:
Свойства цепи не соответствуют характеристикам, указанным в ANSI B30.9-1971, Правилах безопасности для строп.
(44) Под подъемным движением понимается такое движение крана, при котором груз поднимается и опускается.
(45) Нагрузка означает общий дополнительный вес грузового блока или крюка.
(46) Грузовой блок представляет собой сборку крюка или скобы, вертлюга, подшипника, шкивов, штифтов и рамы, подвешенных на подъемном канате.
(47) Магнит означает электромагнитное устройство, закрепленное на крюке крана и предназначенное для захвата груза с помощью магнита.
(48) Главный подъемник означает подъемный механизм, предназначенный для подъема максимального номинального груза.
(49) Тележка для персонала – это тележка с прикрепленной к ней кабиной оператора.
(50) Номинальная нагрузка означает максимальную нагрузку, для которой кран или индивидуальная лебедка спроектированы и изготовлены изготовителем и указаны на паспортной(ых) табличке(ах) оборудования.
(51) Канат относится к проволочному канату, если не указано иное.
(52) Ходовой шкив означает шкив, который вращается при подъеме или опускании грузового блока.
(53) Подъездная дорожка — это совокупность рельсов, балок, балок, кронштейнов и каркаса, по которым перемещается кран или тележка.
(54) Боковая тяга означает, что часть тяги подъемника действует горизонтально, когда канаты подъемника не работают вертикально.
(55) Пролет означает горизонтальное расстояние от центра до центра рельсов взлетно-посадочной полосы.
(56) Резервный кран означает кран, который не находится в постоянной эксплуатации, но который используется от случая к случаю или с перерывами по мере необходимости.
(57) Ограничитель – устройство для ограничения движения тележки или моста крана.
Это устройство обычно крепится к стационарной конструкции и, как правило, не обладает способностью поглощать энергию.
(58) Выключатель — это устройство для замыкания, размыкания или изменения соединений в электрической цепи.
(59) Выключатель аварийного останова представляет собой электрический выключатель с ручным или автоматическим управлением, предназначенный для отключения электроэнергии независимо от обычных органов управления.
(60) Концевой выключатель — это выключатель, который приводится в действие какой-либо частью или движением машины или оборудования с механическим приводом для изменения электрической цепи, связанной с машиной или оборудованием.
(61) Главный выключатель — это выключатель, управляющий всей системой электропитания крана.
(62) Главный выключатель — это выключатель, управляющий работой контакторов, реле или других дистанционно управляемых устройств.
(63) Тележка – это единица, которая перемещается по рельсам моста и несет грузоподъемный механизм.
(64) Под ходом тележки понимается движение тележки под прямым углом к подкрановому пути.
(65) Тележка – это единица, состоящая из рамы, колес, подшипников и осей, которая поддерживает мостовые балки или тележки.
(б) Общие требования –
(1) Приложение. Настоящий раздел распространяется на мостовые и козловые краны, включая полукозловые, консольные, настенные, складские мостовые краны и другие, имеющие такие же основные характеристики.Эти краны сгруппированы, потому что все они имеют тележки и схожие ходовые качества.
(2) Новое и существующее оборудование. Все новые мостовые и козловые краны, построенные и установленные 31 августа 1971 г. или после этой даты, должны соответствовать требованиям к конструкции Американского национального стандарта безопасности для мостовых и козловых кранов, ANSI B30.2.0-1967, который включен посредством ссылки, как указано в § 1910.6.
(3) Модификации. Краны могут быть модифицированы и изменены при условии, что такие модификации и несущая конструкция тщательно проверены на новую номинальную нагрузку квалифицированным инженером или изготовителем оборудования.
Кран должен быть испытан в соответствии с пунктом (k)(2) настоящего раздела. Новая номинальная нагрузка отображается в соответствии с подпунктом 5 настоящего пункта.
(4) Индикаторы ветра и рельсовые зажимы. Напольные складские мосты должны быть оборудованы автоматическими рельсовыми фиксаторами. Должен быть предусмотрен ветроиндикатор, который подает видимый или звуковой сигнал оператору моста при заданной скорости ветра. Если зажимы воздействуют на головки рельсов, любые валики или заусенцы на головках рельсов должны быть сошлифованы.
(5) Маркировка номинальной нагрузки. Номинальная грузоподъемность крана должна быть четко обозначена на каждой стороне крана, а если кран имеет более одной подъемной единицы, на каждой лебедке или на грузовом блоке должна быть нанесена ее номинальная нагрузка, и эта маркировка должна быть четко читаема с земля или пол.
(6) Расстояние от препятствий.
(i) Минимальный зазор 3 дюйма сверху и 2 дюйма сбоку должен быть обеспечен и поддерживаться между краном и препятствиями в соответствии с Американской ассоциацией производителей кранов, Inc.
, Спецификация № 61, которая включена посредством ссылки, как указано в § 1910.6 (ранее Институт электрических мостовых кранов, Inc).
(ii) Там, где предусмотрены проходы или проходы, не должны размещаться препятствия, которые могли бы поставить под угрозу безопасность персонала при движении крана.
(7) Зазор между параллельными кранами. Если пути двух кранов параллельны и между ними нет стен или конструкций, между двумя мостами должен быть предусмотрен и поддерживаться достаточный зазор.
(8) Назначенный персонал. Только специальному персоналу разрешается управлять краном, охватываемым данным разделом.
(с) Кабины –
(1) Расположение кабины.
(i) Общее расположение кабины и расположение органов управления и защитного оборудования должны быть такими, чтобы все рукоятки управления находились в пределах удобной досягаемости оператора, когда он стоит лицом к зоне, обслуживаемой грузовым крюком, или когда он обращен в направлении проезд кабины.
Расположение должно обеспечивать оператору полный обзор грузового крюка во всех положениях.
(ii) Кабина должна быть расположена таким образом, чтобы обеспечить зазор не менее 3 дюймов от всех стационарных конструкций в зоне ее возможного движения.
(2) Доступ к крану. Доступ к кабине и/или мосту должен осуществляться по удобно расположенной стационарной лестнице, лестнице или платформе, не требующей перешагивания через любой зазор, превышающий 12 дюймов (30 см). Неподвижные лестницы должны соответствовать подразделу D этой части.
(3) Огнетушитель. Огнетушители с четыреххлористым углеродом не должны использоваться.
(4) Освещение. Света в кабине должно быть достаточно, чтобы оператор мог видеть достаточно ясно для выполнения своей работы.
(г) Тротуары и лестницы –
(1) Расположение пешеходных дорожек.
(i) Если на кранах с кабиной имеется достаточная высота над уровнем моря, со стороны привода по всей длине моста всех кранов, у которых тележка движется по верху балок, должна быть предусмотрена пешеходная дорожка.
(ii) Там, где расположены пешеходные дорожки, высота над головой ни в коем случае не должна быть менее 48 дюймов.
(2) Строительство пешеходных дорожек.
(i) Тротуары должны иметь жесткую конструкцию и быть рассчитаны на распределенную нагрузку не менее 50 фунтов на квадратный фут.
(ii) Пешеходные дорожки должны иметь противоскользящее покрытие.
Примечание:
Wood соответствует этому требованию.
(iii) [зарезервировано]
(iv) Внутренняя кромка должна доходить как минимум до линии внешней кромки нижней накладки или полки балки.
(3) Подножки и поручни для пешеходных дорожек. Борта и поручни должны соответствовать подразделу D этой части.
(4) Лестницы и лестницы.
(i) Козловые краны должны быть оборудованы трапами или трапами, ведущими от земли к тротуару или платформе кабины.
(ii) Лестницы должны быть оборудованы жесткими и прочными металлическими поручнями. Поверхности для ходьбы должны быть нескользкими.
(iii) Лестницы должны быть прочно и надежно закреплены на месте и изготовлены в соответствии с подразделом D настоящей части.
(e) Ограничители, бамперы, рельсоуборочные машины и ограждения –
(1) Троллейбусные остановки.
(i) Остановки должны быть предусмотрены на границах хода тележки.
(ii) Стопоры должны быть закреплены так, чтобы противостоять силам, возникающим при контакте.
(iii) Стопор, зацепляющий за беговую дорожку колеса, должен иметь высоту, по крайней мере, равную радиусу колеса.
(2) Мостовые бамперы – (i) Кран должен быть оборудован бамперами или другими автоматическими средствами, обеспечивающими эквивалентный эффект, за исключением случаев, когда кран движется с низкой скоростью и имеет более высокую скорость замедления из-за использования подшипников скольжения, или не работает вблизи концов моста и тележки, или ограничено ограниченным расстоянием из-за характера работы крана, и нет опасности удара о какой-либо предмет на этом ограниченном расстоянии, или используется в аналогичных условиях эксплуатации.
Бампер должен быть способен останавливать кран (не включая поднятый груз) со средней скоростью замедления, не превышающей 3 фут/с/с при движении в любом направлении со скоростью 20 % от номинальной скорости груза.
(a) Бампер должен иметь достаточную энергопоглощающую способность, чтобы остановить кран при движении со скоростью не менее 40 процентов от номинальной скорости нагрузки.
(b) Бампер должен быть установлен таким образом, чтобы болты не подвергались прямому срезу.
(ii) Бампера должны быть сконструированы и установлены таким образом, чтобы свести к минимуму падение частей крана в случае его поломки.
(3) Бамперы тележки – (i) Тележка должна быть снабжена бамперами или другими автоматическими средствами эквивалентного действия, если только тележка не движется с малой скоростью или не эксплуатируется вблизи концов моста и пути тележки, или ограничивается ограниченным расстоянием от взлетно-посадочной полосы, и на этом ограниченном расстоянии нет опасности удариться о какой-либо объект, или используется в аналогичных условиях эксплуатации.
Бампер должен быть способен останавливать тележку (не включая поднятый груз) со средней скоростью замедления, не превышающей 4.7 фут/с/с при движении в любом направлении со скоростью, равной одной трети номинальной скорости груза.
(ii) Когда на одном и том же мосту эксплуатируется более одной тележки, каждая из них должна быть оборудована бамперами или аналогичными приспособлениями на соседних концах.
(iii) Бамперы или эквивалент должны быть спроектированы и установлены таким образом, чтобы свести к минимуму падение деталей с тележки в случае ее старения.
(4) Рельсовые щетки. Мостовые тележки должны быть оборудованы траками, которые проходят ниже верхней части рельса и выступают перед колесами тележки.
(5) Ограждения для подъемных канатов.
(i) Если подъемные канаты проходят достаточно близко к другим частям, что делает возможным загрязнение или истирание, должны быть установлены ограждения для предотвращения этого состояния.
(ii) Должно быть предусмотрено ограждение для предотвращения контакта между кондукторами моста и подъемными канатами, если они могут соприкоснуться.
(6) Защита движущихся частей.
(i) Открытые движущиеся части, такие как шестерни, установочные винты, выступающие шпонки, цепи, цепные звездочки и возвратно-поступательные компоненты, которые могут представлять опасность при нормальных условиях эксплуатации, должны быть ограждены.
(ii) Ограждения должны быть надежно закреплены.
(iii) Каждое защитное ограждение должно выдерживать без постоянной деформации вес человека весом 200 фунтов, если только защитное ограждение не расположено в месте, где человек не может наступить на него.
(ж) Тормоза –
(1) Тормоза для талей.
(i) Каждая независимая грузоподъемная единица крана должна быть оборудована, по крайней мере, одним самоустанавливающимся тормозом, именуемым далее стопорным тормозом, приводимым непосредственно в действие валом двигателя или какой-либо частью зубчатой передачи.
(ii) Каждая независимая грузоподъемная единица крана, за исключением талей с червячным приводом, у которых угол наклона червяка таков, что груз не ускоряется в направлении опускания, должен быть, в дополнение к удерживающему тормозу, оборудован устройством управления торможением.
средства предотвращения превышения скорости.
(2) Удерживающие тормоза.
(i) Удерживающие тормоза для подъемных двигателей должны иметь не менее следующего процента от полного подъемного момента в точке, где применяется тормоз.
(a) 125 процентов при использовании с управляющим тормозным средством, отличным от механического.
(b) 100 процентов при использовании в сочетании с тормозным устройством с механическим управлением.
(c) 100 процентов каждый, если предусмотрены два стояночных тормоза.
(ii) Удерживающие тормоза на подъемниках должны иметь достаточную теплоемкость для частоты операций, требуемой службой.
(iii) Удерживающие тормоза на подъемниках должны включаться автоматически при отключении питания.
(iv) При необходимости стопорные тормоза должны быть снабжены средствами регулировки для компенсации износа.
(v) Изнашиваемая поверхность всех барабанов или дисков удерживающего тормоза должна быть гладкой.
(vi) Каждая независимая грузоподъемная единица крана, работающего с жидким металлом и имеющая средства торможения с регулированием мощности, должна быть оборудована не менее чем двумя стояночными тормозами.
(3) Средства управления тормозом.
(i) Тормозные средства с регулированием мощности, такие как рекуперативное, динамическое торможение или торможение с противодействием крутящему моменту, или тормозные средства с механическим управлением должны обеспечивать безопасную скорость опускания при номинальных нагрузках.
(ii) Средства управления тормозом должны иметь достаточную тепловую мощность для частоты операций, необходимой для эксплуатации.
(4) Тормоза для тележек и мостов.
(i) Тормоза с ножным приводом не должны требовать приложения силы более 70 фунтов для развития номинального тормозного момента изготовителя.
(ii) Тормоза могут приводиться в действие механическими, электрическими, пневматическими, гидравлическими или гравитационными средствами.
(iii) При необходимости тормоза должны быть снабжены средствами регулировки для компенсации износа.
(iv) Поверхность износа всех тормозных барабанов или дисков должна быть гладкой.
(v) Все педали ножного тормоза должны быть сконструированы таким образом, чтобы нога оператора не могла легко соскользнуть с педали.
(vi) Тормоза с ножным приводом должны быть оборудованы автоматическими средствами принудительного растормаживания при снятии давления с педали.
(vii) Тормоза для остановки движения тележки или моста должны быть достаточной мощности, чтобы остановить тележку или мост на расстоянии в футах, равном 10 процентам скорости полной нагрузки в футах в минуту при движении на полной скорости с полной нагрузкой .
(viii) Если на мосту или тележках предусмотрены стояночные тормоза, они не должны препятствовать использованию точки дрейфа в цепи управления.
(ix) Тормоза на тележках и мостах должны иметь достаточную теплоемкость для частоты работы, требуемой службой, чтобы предотвратить нарушение функций из-за перегрева.
(5) Применение тормозов тележки.
(i) На кранах с кабиной с кабиной на тележке должен требоваться тормоз тележки, как указано в пункте (f)(4) настоящего раздела.
(ii) Для удержания тележки в желаемом положении на мосту и предотвращения ее проскальзывания при отключенном питании может применяться тормозной тормоз.
(6) Применение мостовых тормозов.
(i) На кранах с кабиной с кабиной на мосту требуется мостовой тормоз, как указано в пункте (f)(4) настоящего раздела.
(ii) На кранах с кабиной с кабиной на тележке должен требоваться мостовой тормоз удерживающего типа.
(iii) На всех напольных, дистанционных и крановых мостовых приводах должен быть предусмотрен тормоз механического привода без выбега.
(г) Электрооборудование –
(1) Общие.
(i) Электропроводка и оборудование должны соответствовать подразделу S этой части.
(ii) Напряжение цепи управления не должно превышать 600 вольт для переменного тока.
или постоянный ток Текущий.
(iii) Напряжение на подвесных кнопках не должно превышать 150 вольт для переменного тока. и 300 вольт для постоянного тока.
(iv) Если многожильный кабель используется с подвешенной кнопочной станцией, станция должна иметь удовлетворительную опору, которая защитит электрические проводники от натяжения.
(v) Подвесные блоки управления должны быть сконструированы таким образом, чтобы предотвратить поражение электрическим током, и должны иметь четкую маркировку для идентификации функций.
(2) Оборудование.
(i) Электрическое оборудование должно быть расположено или ограждено таким образом, чтобы части, находящиеся под напряжением, не подвергались случайному контакту в нормальных условиях эксплуатации.
(ii) Электрооборудование должно быть защищено от грязи, жира, масла и влаги.
(iii) Ограждения для частей, находящихся под напряжением, должны быть прочными и располагаться таким образом, чтобы их нельзя было случайно деформировать и привести к контакту с частями, находящимися под напряжением.
(3) Контроллеры.
(i) Краны, не оборудованные контроллерами с пружинным возвратом или кнопками мгновенного действия, должны быть снабжены устройством, которое отключает все двигатели от линии при отключении питания и не позволяет перезапустить ни один двигатель до тех пор, пока рукоятка контроллера не будет переведена в положение положение «выключено» или переключатель или кнопка сброса.
(ii) Контроллеры с рычажным управлением должны быть снабжены выемкой или защелкой, которые в положении «выключено» предотвращают непреднамеренное перемещение рукоятки в положение «включено».Допустимы стопорное устройство «выключено» или устройство с пружинным возвратом.
(iii) Рукоятка управления контроллером должна быть расположена в пределах удобной досягаемости оператора.
(iv) Насколько это практически возможно, движение каждой рукоятки контроллера должно происходить в тех же общих направлениях, что и результирующие движения груза.
(v) Органы управления движением моста и тележки должны быть расположены таким образом, чтобы оператор мог легко смотреть в направлении движения.
(vi) Для кранов с напольным управлением контроллер или контроллеры, если они приводятся в действие тросом, должны автоматически возвращаться в положение «выключено» при отпускании оператором.
(vii) Кнопки на подвесных станциях должны возвращаться в положение «выключено», когда оператор крана сбрасывает давление.
(viii) Автоматические краны должны быть сконструированы таким образом, чтобы все движения были безотказными в случае любого сбоя в работе.
(ix) Краны с дистанционным управлением должны функционировать таким образом, чтобы, если управляющий сигнал для любого движения крана стал неэффективным, движение крана прекратилось.
(4) Резисторы.
(i) Корпуса для резисторов должны иметь отверстия для обеспечения достаточной вентиляции и должны быть установлены таким образом, чтобы предотвратить скопление горючих веществ слишком близко к горячим частям.
(ii) Блоки резисторов должны поддерживаться таким образом, чтобы они были максимально защищены от вибрации.
(iii) Должны быть приняты меры для предотвращения падения сломанных частей или расплавленного металла на оператора или с крана.
(5) Переключатели.
(i) Электропитание проводников взлетно-посадочной полосы должно контролироваться выключателем или автоматическим выключателем, расположенным на стационарной конструкции, доступной с пола и запираемой в разомкнутом положении.
(ii) На кранах, управляемых кабиной, выключатель или автоматический выключатель закрытого типа с возможностью блокировки в разомкнутом положении должен быть предусмотрен в проводниках путей.Средства размыкания этого выключателя или автоматического выключателя должны быть расположены в пределах легкой досягаемости оператора.
(iii) На кранах с напольным управлением выключатель или автоматический выключатель закрытого типа с возможностью блокировки в разомкнутом положении должен быть предусмотрен в проводниках путей. Этот разъединитель должен быть установлен на мосту или пешеходной дорожке рядом с коллекторами взлетно-посадочной полосы.
Должен быть предусмотрен один из следующих типов напольных разъединителей:
(a) Непроводящий трос, прикрепленный к главному выключателю.
(b) Отключение по пониженному напряжению главного автоматического выключателя, управляемого кнопкой аварийного останова на подвесной кнопке на подвесной кнопочной станции.
(c) Главный сетевой контактор, управляемый выключателем или кнопкой на подвесной кнопочной станции.
(iv) Движение подъема всех электрических мостовых кранов должно быть обеспечено концевым выключателем перебега в направлении подъема.
(v) Все краны, использующие подъемный магнит, должны иметь выключатель магнитной цепи закрытого типа с возможностью блокировки в открытом положении.Должны быть предусмотрены средства для разрядки индуктивной нагрузки магнита.
(6) ВПП. Проводники открытого типа, установленные на подкрановых балках или над головой, должны быть расположены или ограждены таким образом, чтобы лица, входящие или выходящие из кабины или мостика крана, обычно не могли соприкоснуться с ними.
(7) Удлинители. Если служебная розетка предусмотрена в кабине или на мостике кранов с кабиной, она должна быть заземленной трехштырьковой постоянной розеткой с напряжением не более 300 вольт.
(з) Подъемное оборудование –
(1) Блоки.
(i) Канавки шкивов должны быть гладкими и не иметь поверхностных дефектов, которые могут привести к повреждению каната.
(ii) Блоки, несущие канаты, которые могут быть мгновенно разгружены, должны быть снабжены плотно прилегающими ограждениями или другими подходящими устройствами для направления каната обратно в канавку при повторном приложении нагрузки.
(iii) Блоки в нижнем блоке должны быть оборудованы плотно прилегающими ограждениями, которые предотвратят запутывание канатов, когда блок лежит на земле со свободными канатами.
(iv) Карманы и фланцы шкивов, используемых с подъемными цепями, должны иметь такие размеры, чтобы цепь не зацеплялась и не застревала во время работы.
(v) Все ходовые шкивы должны быть оборудованы средствами для смазки.
Подшипники с постоянной смазкой, герметичные и/или экранированные подшипники соответствуют этому требованию.
(2) Канаты.
(i) При использовании подъемных канатов необходимо следовать рекомендациям производителя крана. Номинальная нагрузка, деленная на количество звеньев каната, не должна превышать 20 % номинальной прочности каната на разрыв.
(ii) Раструбы должны быть выполнены способом, указанным изготовителем узла.
(iii) Веревка должна быть прикреплена к барабану следующим образом:
(a) Не менее двух витков каната должно оставаться на барабане, когда крюк находится в крайнем нижнем положении.
(b) Конец каната должен быть закреплен зажимом, надежно прикрепленным к барабану, или раструбом, утвержденным производителем крана или каната.
(iv) Соединения с проушиной. [Сдержанный]
(v) Канатные зажимы, прикрепленные U-образными болтами, должны иметь U-образные болты на мертвом или коротком конце каната.Расстояние и количество зажимов всех типов должны соответствовать рекомендациям производителя зажимов.
Зажимы должны быть из кованой стали всех размеров, выпускаемых серийно. Когда вновь установленный канат проработает в течение часа, все гайки на болтах хомутов должны быть снова затянуты.
(vi) Обжимные или сжатые фитинги должны применяться в соответствии с рекомендациями производителя каната или крана.
(vii) Везде, где воздействуют температуры, при которых волокнистые сердечники могут быть повреждены, должны использоваться канаты, имеющие независимый сердечник из проволочного каната или проволочных прядей, или другой сердечник, устойчивый к температурным повреждениям.
(viii) Сменный канат должен быть того же размера, марки и конструкции, что и исходный канат, предоставленный изготовителем крана, если иное не рекомендовано изготовителем стального каната в связи с фактическими требованиями к условиям эксплуатации.
(3) Эквалайзеры. Если груз поддерживается более чем одной частью каната, натяжение частей должно быть уравновешено.
(4) Крючки.
Крюки должны соответствовать рекомендациям производителя и не должны быть перегружены.
(i) Предупреждающее устройство.За исключением кранов с напольным управлением, для каждого крана, оснащенного механическим механизмом передвижения, должен быть предусмотрен звуковой сигнал или другой действенный предупредительный сигнал.
(к) Осмотр –
(1) Классификация проверки –
(i) Первоначальный осмотр. Перед первоначальным использованием все новые и модифицированные краны должны быть проверены на соответствие положениям настоящего раздела.
(ii) Процедура проверки кранов, находящихся в регулярной эксплуатации, делится на две общие классификации в зависимости от интервалов, через которые должна выполняться проверка.Интервалы, в свою очередь, зависят от характера критических компонентов крана и степени их подверженности износу, ухудшению состояния или неисправности. Две общие классификации обозначены здесь как «частые» и «периодические» с соответствующими интервалами между проверками, как определено ниже:
(a) Частый осмотр – Ежедневно или ежемесячно.
(b) Периодическая проверка – с интервалом от 1 до 12 месяцев.
(2) Частый осмотр. Следующие элементы должны проверяться на наличие дефектов через промежутки времени, указанные в параграфе (j)(1)(ii) настоящего раздела или как указано особо, включая наблюдение во время эксплуатации на наличие любых дефектов, которые могут появиться между регулярными проверками.Все недостатки, такие как перечисленные, должны быть тщательно исследованы и определено, представляют ли они угрозу безопасности:
(i) Все функциональные рабочие механизмы из-за неправильной регулировки, препятствующей правильной работе. Ежедневно.
(ii) Износ или утечка в линиях, баках, клапанах, дренажных насосах и других частях пневматических или гидравлических систем. Ежедневно.
(iii) Крюки с деформацией или трещинами. Визуальный осмотр ежедневно; ежемесячная проверка с сертификационной записью, которая включает дату проверки, подпись лица, проводившего проверку, и серийный номер или другой идентификатор проверенного крюка.
Для крючков с трещинами или более чем на 15 % превышающих нормальное раскрытие зева, или более чем на 10° закрученных от плоскости несогнутого крючка, см. параграф (l)(3)(iii)(a) данного параграфа.
(iv) Подъемные цепи, включая концевые соединения, на предмет чрезмерного износа, перекручивания, деформации звеньев, препятствующих нормальному функционированию, или растяжения, превышающего рекомендации изготовителя. Визуальный осмотр ежедневно; ежемесячная проверка с сертификационной записью, которая включает дату проверки, подпись лица, проводившего проверку, и идентификатор цепи, которая была проверена.
(v) [Зарезервировано]
(vi) Все функциональные рабочие механизмы для чрезмерного износа компонентов.
(vii) Запасовка каната в связи с несоблюдением рекомендаций производителя.
(3) Периодический осмотр. Полные проверки крана должны проводиться через промежутки времени, как это обычно определено в параграфе (j)(1)(ii)(b) этого раздела, в зависимости от его деятельности, тяжести эксплуатации и окружающей среды, или как конкретно указано ниже.
Эти проверки должны включать требования параграфа (j)(2) настоящего раздела и, кроме того, следующие пункты.Любые недостатки, такие как перечисленные, должны быть тщательно изучены и определено, представляют ли они угрозу безопасности:
(i) Деформированные, треснувшие или подвергшиеся коррозии элементы.
(ii) Ослабленные болты или заклепки.
(iii) Треснувшие или изношенные шкивы и барабаны.
(iv) Изношенные, треснутые или деформированные детали, такие как штифты, подшипники, валы, шестерни, ролики, запорные и зажимные устройства.
(v) Чрезмерный износ деталей тормозной системы, накладок, собачек и храповиков.
(vi) Нагрузка, ветер и другие индикаторы во всем их диапазоне на предмет любых существенных неточностей.
(vii) Бензиновые, дизельные, электрические или другие силовые установки за ненадлежащую работу или несоблюдение применимых требований безопасности.
(viii) Чрезмерный износ звездочек цепного привода и чрезмерное растяжение цепи.
(ix) [Зарезервировано]
(x) Электрическое оборудование на наличие признаков точечной коррозии или любого износа контакторов контроллера, концевых выключателей и кнопочных постов.
(4) Краны, не используемые регулярно.
(i) Кран, который простаивал в течение 1 месяца или более, но менее 6 месяцев, должен пройти осмотр в соответствии с требованиями пункта (j)(2) настоящего раздела и пункта (m)( 2) настоящего раздела перед вводом в эксплуатацию.
(ii) Кран, который простаивал более 6 месяцев, должен пройти полную проверку в соответствии с требованиями пунктов (j) (2) и (3) настоящего раздела и пункта (m)(2) этот раздел перед вводом в эксплуатацию.
(iii) Резервные краны должны проверяться не реже одного раза в полгода в соответствии с требованиями пункта (j)(2) настоящего раздела и пункта (m)(2) настоящего раздела.
(к) Тестирование –
(1) Эксплуатационные испытания.
(i) Перед первоначальным использованием все новые и модифицированные краны должны быть испытаны на соответствие требованиям настоящего раздела, включая следующие функции:
(а) Подъем и опускание.
(b) Передвижение на троллейбусе.
(c) Передвижение по мосту.
(d) Концевые выключатели, запирающие и предохранительные устройства.
(ii) Уставка срабатывания концевых выключателей подъема должна определяться испытаниями с пустым крюком, перемещающимся с возрастающей скоростью до максимальной скорости. Исполнительный механизм концевого выключателя должен быть расположен таким образом, чтобы он приводил в действие выключатель при любых условиях за достаточное время для предотвращения контакта крюка или блока крюка с какой-либо частью тележки.
(2) Испытание на номинальную нагрузку. Испытательные нагрузки не должны превышать 125 % номинальной нагрузки, если иное не рекомендовано изготовителем.Отчеты об испытаниях должны храниться в файле, доступном для назначенного персонала.
(л) Техническое обслуживание –
(1) Профилактическое обслуживание. Должна быть разработана программа профилактического обслуживания, основанная на рекомендациях производителя крана.
(2) Процедура технического обслуживания.
(i) Перед началом регулировки и ремонта крана должны быть приняты следующие меры предосторожности:
(a) Кран, подлежащий ремонту, должен перемещаться в место, где он будет создавать наименьшие помехи для других кранов и операций в этом районе.
(b) Все контроллеры должны быть в выключенном положении.
(c) Главный или аварийный выключатель должен быть разомкнут и зафиксирован в разомкнутом положении.
(d) Предупреждающие знаки или знаки «неисправность» должны быть размещены на кране, а также на полу под ним или на крюке, видимом с пола.
(e) Если на том же пути работают другие краны, должны быть предусмотрены рельсовые упоры или другие подходящие средства для предотвращения помех неработающему крану.
(ii) После выполнения регулировок и ремонта кран нельзя эксплуатировать до тех пор, пока не будут переустановлены все ограждения, снова активированы предохранительные устройства и удалено оборудование для технического обслуживания.
(3) Регулировка и ремонт.
(i) Любые небезопасные условия, выявленные в соответствии с требованиями инспекции пункта (j) настоящего раздела, должны быть устранены до возобновления работы крана. Регулировка и ремонт должны выполняться только уполномоченным персоналом.
(ii) Регулировки должны поддерживаться для обеспечения правильного функционирования компонентов. Ниже приведены примеры:
(a) Все функциональные рабочие механизмы.
(b) Концевые выключатели.
(с) Системы управления.
(г) Тормоза.
(e) Электростанции.
(iii) Ремонт или замена должны производиться незамедлительно по мере необходимости для безопасной эксплуатации. Ниже приведены примеры:
(a) Крановые крюки с дефектами, описанными в параграфе (j)(2)(iii) настоящего раздела, подлежат отбраковке. Ремонт с помощью сварки или изменения формы обычно не рекомендуется. Если предпринимаются попытки такого ремонта, они должны выполняться только под компетентным надзором, и перед дальнейшим использованием крюк должен быть испытан на соответствие требованиям к нагрузке параграфа (k)(2) этого раздела.
(b) Цепи для крепления груза и канатные стропы с дефектами, описанными в параграфе (j)(2) (iv) и (v) данного раздела соответственно.
(c) Все важные детали, которые имеют трещины, сломаны, согнуты или чрезмерно изношены.
(d) Подвесные пульты управления должны содержаться в чистоте, а функциональные этикетки должны быть разборчивыми.
(м) Проверка каната –
(1) Беговые канаты. Тщательный осмотр всех канатов должен производиться не реже одного раза в месяц, и отчет о сертификации, который включает дату осмотра, подпись лица, проводившего осмотр, и идентификатор проверенных канатов, должен храниться в файле, где его легко можно найти. доступны для назначенного персонала.Следует внимательно наблюдать за любым износом, приводящим к заметной потере первоначальной прочности, и принимать решение относительно того, будет ли дальнейшее использование каната представлять угрозу безопасности. Некоторые из условий, которые могут привести к заметной потере прочности, следующие:
(i) Уменьшение диаметра каната ниже номинального из-за потери опоры сердечника, внутренней или внешней коррозии или износа наружных проволок.
(ii) Количество оборванных внешних проводов и степень распределения или концентрации таких оборванных проводов.
(iii) Износ наружных проводов.
(iv) Корродированные или оборванные провода на концевых соединениях.
(v) Корродированные, треснувшие, погнутые, изношенные или неправильно установленные торцевые соединения.
(vi) Сильное перекручивание, раздавливание, разрезание или раскручивание.
(2) Веревки прочие. Весь канат, который простаивал в течение месяца или более из-за остановки или хранения крана, на котором он установлен, перед использованием должен пройти тщательную проверку. Эта проверка должна проводиться на предмет износа всех типов и должна выполняться назначенным лицом, разрешение которого требуется для дальнейшего использования каната.Для осмотра должна быть доступна сертификационная запись, которая включает дату осмотра, подпись лица, проводившего осмотр, и идентификатор проверенного каната.
(n) Работа с грузом –
(1) Размер загрузки.
Кран не должен нагружаться сверх его номинальной нагрузки, за исключением целей испытаний, предусмотренных в пункте (k) настоящего раздела.
(2) Крепление груза.
(i) Подъемная цепь или подъемный канат не должны иметь перегибов или скручиваний и не должны наматываться на груз.
(ii) Груз должен быть прикреплен к крюку грузового блока с помощью строп или других утвержденных устройств.
(iii) Необходимо следить за тем, чтобы строп преодолевал все препятствия.
(3) Перемещение груза.
(i) Груз должен быть надежно закреплен и должным образом сбалансирован на стропе или подъемном устройстве, прежде чем он будет поднят более чем на несколько дюймов.
(ii) Перед началом подъема необходимо отметить следующие условия:
(a) Подъемный канат не должен перегибаться.
(b) Несколько линий деталей не должны перекручиваться друг вокруг друга.
(c) Крюк должен располагаться над грузом таким образом, чтобы предотвратить его раскачивание.
(iii) Во время подъема необходимо следить за тем, чтобы:
(a) Нет резкого ускорения или замедления движущегося груза.
(b) Груз не касается каких-либо препятствий.
(iv) Краны не должны использоваться для боковой тяги, за исключением случаев, когда это специально разрешено ответственным лицом, которое определило, что устойчивость крана при этом не подвергается опасности и что различные части крана не будут подвергаться чрезмерным нагрузкам.
(v) Когда какой-либо работник находится на грузе или крюке, запрещается подъем, опускание или перемещение.
(vi) Работодатель должен требовать, чтобы оператор избегал переноса грузов через людей.
(vii) Эксплуатант должен проверять тормоза каждый раз, когда груз приближается к номинальному. Тормоза должны быть испытаны путем поднятия груза на несколько дюймов и включения тормозов.
(viii) Груз не должен опускаться ниже точки, в которой на подъемном барабане остается менее двух полных витков каната.
(ix) Когда для подъема груза используются два или более крана, за операцию отвечает одно квалифицированное ответственное лицо. Он должен проанализировать операцию и проинструктировать весь персонал, участвующий в надлежащем размещении, креплении груза и необходимых движениях.
(x) Работодатель должен следить за тем, чтобы оператор не покидал своего места у органов управления, когда груз подвешен.
(xi) При спуске моста и когда груз или крюк приближаются к людям или над ними, должен звучать предупреждающий сигнал.
(4) Концевой выключатель подъема.
(i) В начале каждой смены оператора верхний концевой выключатель каждого подъемника должен испытываться без нагрузки. Следует проявлять крайнюю осторожность; блок должен быть «вдавлен» в предел или запущен на малой скорости. Если переключатель не работает должным образом, назначенное лицо должно быть немедленно уведомлено.
(ii) Концевой выключатель подъема, контролирующий верхний предел перемещения грузового блока, никогда не должен использоваться в качестве рабочего органа управления.
(о) Другие требования, общие –
(1) Лестницы.
(i) Работодатель должен следить за тем, чтобы руки были свободны от обременений, когда персонал использует лестницы.
(ii) Предметы, которые слишком велики для того, чтобы носить их в карманах или на ремнях, должны подниматься и опускаться вручную.
(2) Кабины.
(i) Необходимая одежда и личные вещи должны храниться таким образом, чтобы не мешать доступу или работе.
(ii) Инструменты, масленки, отходы, дополнительные предохранители и другие необходимые предметы должны храниться в ящике для инструментов, и их нельзя оставлять свободно в кабине или рядом с ней.
(3) Огнетушители. Работодатель должен убедиться, что операторы знакомы с эксплуатацией и уходом за предоставленными огнетушителями.
[39 FR 23502, 27 июня 1974 г., в редакции 40 FR 27400, 27 июня 1975 г.; 49 FR 5322, 10 февраля 1984 г.; 51 FR 34560, 29 сентября 1986 г.; 55 FR 32015, 6 августа 1990 г.; 61 FR 9239, 7 марта 1996 г.
; 81 ФР 83005, 18 ноября 2016 г.]Нелинейная вибрация ковшового крана из-за движущейся тележки
Конструкционная вибрация главной балки крана вызывает усталостное повреждение и дискомфорт для водителя.Поворот полезной нагрузки влияет на точность позиционирования, особенно для ковшового крана, и это напрямую влияет на безопасность производства. Для исследования влияния параметров системы на вибрацию главной балки крана и угол полезного груза была построена система, состоящая из главной балки, тележки, полезной нагрузки и кабины. Создана динамическая модель жестко-гибкой связи движущейся тележки с подвешенным полезным грузом, перемещающейся по гибкой главной балке с сосредоточенной массой кабины, и методом прямого интегрирования решены нелинейные дифференциальные уравнения колебаний системы, полученные через уравнение Лагранжа.Затем получают отклики во временной области гибкой главной балки, угла полезной нагрузки и вибрации кабины. Анализируется влияние скорости движения тележки, качества полезной нагрузки, качества и положения кабины на вибрацию главной балки и угол полезной нагрузки.
Результаты показывают, что амплитуда основного луча прямо пропорциональна качеству тележки, полезной нагрузки и кабины; расположение кабины ближе к середине пролета; амплитуда основного луча больше; конструктивное демпфирование оказывает некоторое влияние на вибрацию главной балки; а угол поворота полезной нагрузки связан с максимальной скоростью движения тележки, временем разгона и длиной троса.Для уменьшения вибрации главной балки и кабины при монтаже должна быть обеспечена жесткость соединения кабины.
1. Введение
Кран-ковш относится к типу мостовых кранов и выполняет тяжелую работу в крайне неблагоприятных условиях. Его механизм и конструкция могут выдерживать сильную ударную вибрацию тележки по главной балке. Многие ученые упростили модель вибрационной системы до системы соединения балок с подвижной нагрузкой и провели значительный объем исследований динамической реакции балок на движущуюся массу.
Михальтсос и др. В работе [1] рассматривался линейный динамический отклик свободно опертой однородной балки на подвижную нагрузку постоянной величины и скорости с учетом влияния ее массы.
Используя последовательное решение для динамического прогиба с точки зрения нормальных режимов, были полностью оценены индивидуальное и связанное влияние движущейся массы груза, его скорости и других параметров.
Шимшек [2] исследовал динамические характеристики основной балки, когда движущаяся масса движется по свободно опертой балке, установил уравнения равновесия системы с помощью уравнений Лагранжа и обсудил эффекты деформации сдвига, различные распределения материалов, скорость движущейся массы, инерция, Кориолиса и центростремительные эффекты движущейся массы на динамические смещения и напряжения балки, в деталях.Киани и др. В работе [3] исследованы максимальные прогиб и изгибающий момент балок при различных граничных условиях, вызванных движущейся массой, с использованием принципа Гамильтона и теорий Эйлера-Бернулли, Тимошенко и балок третьего порядка.
Всестороннее параметрическое исследование влияния веса и скорости движущейся массы на динамическое поведение свободно опертой системы Эйлера-Бернулли было проведено Nikkhoo et al.
[4], используя метод разложения по собственным функциям. Они ввели понятие критической скорости с точки зрения основного периода балки, середины пролета и массы движущейся массы, в которой влияние конвективных ускорений в формулировке движущейся массы нельзя было пренебречь для масс, движущихся со скоростями, превышающими эту критическую.
Эсмаилзаде и Гораши [5] проанализировали динамическое поведение балок с свободно опертыми граничными условиями, которые несут либо однородные частично распределенные движущиеся массы, либо силы, и оценили критические скорости движущейся нагрузки, учитывая максимальное отклонение для середины пролет балки. Более того, они подтвердили, что длина распределенной движущейся массы значительно влияет на динамический отклик.
Ли [6] исследовал динамический отклик балки Тимошенко, на которую воздействует движущаяся масса, используя подход Лагранжа и метод предполагаемых мод.Он проверил результаты модели, сравнив их с результатами эквивалентной подвижной нагрузки для прогиба в середине пролета свободно опертой балки для небольшого числа весов и скоростей подвижной массы, а также для различных коэффициентов гибкости базовой балки.
. Лу и др. В работе [7] представлена конечно-элементная формулировка балки Тимошенко с движущейся массой. Их результаты хорошо согласовывались с результатами, полученными с использованием метода предполагаемой моды, примененного Ли [6]. Многие ученые применяли модель движения массы по балке в инженерной практике.Лу и др. [8] и Ченг и др. [9] установили модель «мост-гусеница-транспортное средство» для анализа вибрации железнодорожных мостов под движущимся поездом с учетом реакции конструкции пути. Вышеупомянутые исследования изучали только динамические характеристики свободно опертой балки под действием движущейся массы или качество движущейся массы, скорость движения, ускорение или другие факторы. Не существует модели движущейся массы, учитывающей качество замаха.
Динамическая реакция кранов изучалась многими учеными.Ниу и др. [10] представил общий подход к математическому моделированию динамики системы электрического крана во время работы, который можно использовать для анализа динамических реакций электромагнетизма, механизма и конструкции во время работы электрических кранов.
Ву и др. В работах [11–14] с использованием теории конечных элементов построена математическая модель горизонтальных и вертикальных колебаний конструкции крана при движении и подъеме тележки и рассчитана вибрационная реакция главной балки.Правильность теоретического решения подтверждена экспериментальной проверкой, параметры изменены. Огуаманам и др. В работах [15, 16] было установлено уравнение Эйлера–Бернулли для исследования вибрационного отклика неподвижной кран-балки. Зрнич и др. [17] построили модели вибрации с несколькими степенями свободы для крановых конструкций, чтобы проанализировать влияние длины троса, коэффициента демпфирования и угла наклона строповой нагрузки на вибрацию конструкции. Синь и др. [18] построили математическую модель системы «человек-кран-рельс» с девятью степенями свободы и модель степени раздражения для использования в оптимизации структурных параметров мостовых кранов и использовали алгоритм оптимизации роя частиц для оптимизировать конструкцию мостовых кранов.
Некоторые ученые прогнозировали усталостную долговечность крана, анализируя динамику вибрационной системы [19, 20].
Хотя были изучены динамические характеристики главной балки и угол поворота крана; эти два аспекта не обсуждались одновременно. Модели, о которых сообщается в литературе, содержат только главную балку, тележку и качество крана без учета таких факторов, как качество кабины, положение и структурное демпфирование главной балки, которые также влияют на вибрацию главной балки.Время отклика вибрации кабины можно использовать для анализа вибрации тела человека во время работы и тем самым снизить вероятность профессионального заболевания. Поэтому в данной статье эти факторы рассматриваются для создания динамической модели вибрационной системы ковшового крана. На основе принципа сохранения энергии уравнение колебаний системы было установлено через уравнение Лагранжа. В сочетании с методом прямого интеграла для решения приближенного решения нелинейной вибрации учитывалось влияние таких факторов, как качество (тележка, полезная нагрузка и кабина), скорость движения тележки, длина троса, положение и жесткость соединения кабины на была проанализирована вибрация главной балки и влияние качания полезной нагрузки.
В этом исследовании были получены отклики кабины в области виброускорения и амплитуды во временной области, которые служат теоретическим ориентиром для оптимизации конструкции крана.
2. Моделирование вибрационной системы крана
2.1. Описание системы вибрации
Плавкран-ковш включает в себя раму, организацию движения тележки, кабину и систему подвески, а модель динамики вибрации системы крана-ковша устанавливается в соответствии с размерами и конструктивными характеристиками на основе следующих допущений: (1 ) Главная балка считается гибким телом, и учитывается только вибрация в вертикальном направлении.Если все демпфирование в упругом теле является вязким демпфированием, демпфирование балки очень мало влияет на вибрацию конструкции [21]; коэффициент демпфирования обычно составляет 0,1–0,7%. (2) Кабина упрощена как сосредоточенная масса, и учитывается только вертикальная вибрация. Соединение между кабиной и главной балкой упрощено как пружинно-демпфирующая модель с большей жесткостью.
(3) По характеристикам ковшового крана канат считается жестким без качества [22].(4) Полезная нагрузка крана сводится к качающейся массе, которая подвешена в массовых блоках на немассивном жестком канате, который перемещается вместе с массой в плоскости. (5) Прогиб главной балки считается линейным, а нелинейный эффект отклонения главной балки при анализе динамического отклика ковшового крана игнорируется.
Метод расчета главной балки состоит из метода допустимых напряжений и метода предельного состояния. Метод допустимых напряжений предполагает, что прогиб главной балки является линейным; однако метод предельного состояния учитывает нелинейный прогиб главной балки, а анализ усталости и расчет динамических характеристик конструкции подкрановой балки этими двумя методами описаны в литературе [23, 24], где обнаружили, что результаты были в основном одинаковыми, за исключением стрелового крана.Таким образом, нелинейный прогиб балки мало повлиял на анализ динамической реакции ковшовых кранов.
Кроме того, после завершения проектирования и изготовления балка мостового крана была сформирована по кривой предварительного прогиба; поэтому амплитуда колебаний подкрановой балки была относительно небольшой. Таким образом, данное исследование приняло упомянутую гипотезу.
Схема проблемы изображена на рисунке 1. Балка просто поддерживается и предполагается, что она адекватно моделируется с использованием теории балки Эйлера-Бернулли.Рассчитывалась только жесткость на изгиб, а жесткость на сдвиг и жесткость на кручение балки не учитывались. Свойства балки — модуль Юнга, объемная плотность, площадь поперечного сечения, длина и второй момент площади. – качество тележки, – качество полезной нагрузки, – качество единицы длины главной балки, – длина троса, – жесткость соединения между кабиной и главной балкой, – демпфирование между кабина и главная балка, – качество кабины, – координаты положения установки кабины, – ускорение свободного падения, – максимальная скорость движения тележки, – модальный коэффициент демпфирования конструкции главной балки, – крайнее левое положение тележки — крайнее правое положение тележки и угол поворота полезной нагрузки.
2.2. Динамические уравнения вибрационной системы
Тележка движется с максимальной скоростью по главной балке, и кривая упругого смещения в момент времени в направлении главной балки может быть выражена следующим образом: балки, и – обобщенные координаты и координатные числа упругих перемещений основной балки соответственно.
Векторы координат можно определить в соответствии с упрощенной физической моделью, показанной на рисунке 1.Следовательно, вектор положения элементарной массы балки, вектор положения тележки, вектор положения полезной нагрузки и вектор положения кабины крана могут быть выражены как
Если полная кинетическая энергия системы равна , энергия в двух основных балках , кинетическая энергия движущейся тележки , а кинетическая энергия полезной нагрузки , то кинетическая энергия каждой части системы может быть выражена как
В модели связанной системы потенциальная энергия системы включает энергию упругой деформации балки и потенциальную упругую энергию пружины между кабиной и балкой.
В процессе движения работа внешних сил (силы тяжести тележки, тележки и полезного груза) также будет изменять потенциал системы.
Полная потенциальная энергия системы равна
В соответствии с принципом механики упругости энергия упругой деформации главной балки составляет
Потенциальная упругая энергия пружины между кабиной и балкой составляет
Работа внешних сил (вес тележки, тележки и полезного груза) равен
Уравнения (5), (6) и (7) подставляются в (4), и потенциальная энергия в системе выражается как
Рассеиваемая энергия в система может быть выражена как
Демпфирование дальнего света в (9) может быть получено с помощью (10) и (11).th модальная круговая частота свободно опертой балки с поперечным сечением равна
Таким образом, конструкционное демпфирование th моды может быть выражено как где – коэффициент демпфирования th моды.
Уравнения Лагранжа для неконсервативных систем записываются следующим образом: где – кинетическая энергия системы, – потенциальная энергия системы, – функция диссипации энергии системы, – демпфирующая сила, вызванная функцией диссипации энергии, – обобщенная сила возбуждения внешнего воздействия – обобщенная координата, – обобщенная скорость.
Согласно (12) дифференциальные уравнения движения системы могут быть получены следующим образом:
Для общей линейной динамической структурной системы уравнение движения (см. (13)) может быть выражено в следующем виде :
В (16) , , и – матрицы массы, демпфирования и жесткости системы; , и – векторы ускорения, скорости и смещения; и является зависящим от времени вектором нагрузки. Более подробная информация содержится в Приложении.
2.3.Метод решения динамического отклика
Отклик динамической системы во временной области можно получить, используя метод прямого интегрирования для линейной динамической системы с постоянными коэффициентами [18]. Метод Ньюмарка [25–27] представляет собой типичный неявный подход к решению задач структурной динамики и обладает такими преимуществами, как хорошая сходимость, точность и устойчивость. Условие метода не только устойчиво, но и условие его устойчивости легко выполняется.
Уравнения колебаний системы ((13)–(15)) представляют собой -мерную двухпорядковую нелинейную нестационарную систему дифференциальных уравнений, которая не может получить точное решение непосредственно.
Поэтому в этой статье для аппроксимации вибрационного отклика системы используются метод прямого интегрирования и метод матричных итераций.
Предполагается, что ускорение изменяется линейно в интервале , а схема Ньюмарка может быть представлена в следующем виде: где и – параметры, определяемые устойчивостью и точностью интегрирования соответственно. Семейство метода Ньюмарка является безусловно устойчивым, если
Для любого шага по времени, если (17) подставить в (16), уравнение системы может быть получено как
В (16) эквивалентная жесткость и эквивалентная нагрузка могут выразить в виде:
В (20), ; ; ; ; ; .В данном исследовании параметры и были выбраны для всех примеров.
3. Процедура решения
Процедуры расчета динамических реакций главной балки и качающегося объекта на движущуюся тележку () следующие: (1) Начальные значения вибрационных реакций главной балки , , и принимаются равными 0 в процессе расчета, аналогично начальным значениям углов поворота полезной нагрузки , и , и начальным значениям виброотклика кабины , , и .
Динамический отклик , , и (16) в момент времени рассчитывается по (17)–(20). (2) Результаты, полученные на шаге, подставляются в (14) и (15). Реакции угла поворота полезной нагрузки , и рассчитываются согласно (17)–(20). Виброотклик кабины , , и одинаков.(3)Результаты, полученные по шагу, подставляются в шаг для расчета вибрационного отклика главной балки в следующий момент, а затем шаг повторяется для итерационного расчета шагов и , пока не будет достигнуто заданное время остановки.(4) Определите, сходятся ли результаты вычислений , , и . Если нет, вернитесь к шагу для дальнейшего анализа и расчета.
Используемый в данном исследовании метод Ньюмарка должен быть безусловно сходящимся при расчете численного решения вибрации системы [25, 26]. Поэтому необходимо определить сходимость результатов расчета через временную характеристику вибрации основной балки. В инженерной практике при движении тележки ближе к середине пролета вертикальное центральное смещение главной балки больше, а при большем срединном расстоянии вертикальное центральное смещение главной балки меньше.
Если результаты расчета совпадают с этой ситуацией, результат расчета сходится [5, 14].
4. Численные результаты и обсуждение
В данном исследовании в качестве примера рассматривался кран-ковш грузоподъемностью 100/40 т и длиной 28,5 м, изготовленный компанией Taiyuan Heavy Industry Limited. В период эксплуатации крана рельсы вышли из строя из-за влияния дифференциальной осадки фундамента. Кроме того, имели место вибрации человеческого тела и повреждения оборудования. Исходные параметры вибрационной системы крана приведены в табл. 1.
| ||||||||||||||||||||||||||||||||||||||||||||||||||
4.1. Проверка модели системы
4.1.1. Балка, подверженная действию движущейся массы
Для дальнейшего подтверждения достоверности представленных формул и разработанных компьютерных программ была также исследована балка со штифтами, подверженная действию движущейся массы и постоянной скорости. Длина балки , площадь поперечного сечения , а второй момент площади . Массовая плотность равна, а модуль Юнга равен . Приведенная выше информация о пучке была практически такой же, как в ссылках [5, 14].
На рис. 2 показана зависимость вертикальных центральных перемещений штифтовой балки от времени. В [14] влияние движущейся массы на форму средней точки свободно опертой балки было решено с использованием теории конечных элементов. Кроме того, в ссылке [5] динамическая характеристика средней точки основного луча была решена в модальном предположении. Однако в этом исследовании реакция во временной области средней точки вибрации главной балки была решена путем объединения модальной гипотезы с сохранением энергии системы.Как видно из рисунка 2, три результата расчета соответствовали основной тенденции. Поскольку различия между последними тремя кривыми были небольшими, формулировки и компьютерные программы, разработанные в этом исследовании, должны быть доступны для расчета динамических реакций конструкции на движущуюся нагрузку.
4.1.2. Проверка угла поворота
На поворот полезной нагрузки влияет ускорение поперечного перемещения каретки и длина троса.
Достоверность представленных формул и разработанных компьютерных программ дополнительно подтвердилась в отношении угла поворота.Шарнирно-штифтовая балка подвергалась воздействию движущейся массы и качества полезной нагрузки . Балка имела длину площади поперечного сечения и второй момент площади . Массовая плотность равна, а модуль Юнга равен . На практике тележка стартует с нулевой начальной скоростью и разгоняется до определенной скорости, которую можно поддерживать постоянной в течение некоторого времени, прежде чем она замедлится до состояния покоя. Во всех случаях конечные моменты интервалов были , , и , скорость на фазе постоянной скорости была , а фаза торможения происходила на последнем метре движения.Начальные перемещения для каждого угла поворота были .
Качество кабины, жесткость соединения и амортизация были установлены на ноль. При игнорировании эффекта структурного демпфирования факторы считались согласующимися с теми, о которых сообщалось в [16]. Из рисунка 3 видно, что результаты этого исследования аналогичны результатам, представленным в [16], что доказывает правильность принципа и методики расчета.
4.2. Динамическая реакция главной балки крана и углы поворота полезной нагрузки
В качестве объекта анализа была выбрана главная балка со стороны кабины.Таким образом, воздействие тележки на главную балку было вдвое меньше, чем у тележки, и только половина троса была приложена к главной балке. Согласно модели уравнения вибрации системы, факторы, влияющие на динамическую реакцию главной балки крана, связаны не только со свойствами поперечного сечения и размерными параметрами главной балки, но и с качеством тележки, скоростью движения и качество и расположение салона. В этом исследовании эти аспекты используются для анализа вибрации главной балки и отклика на угол поворота полезной нагрузки.
4.2.1. Влияние качества тележки и скорости движения на динамическую реакцию
По сравнению с другими кранами, ковшовый кран, поднимающий сталеразливочный ковш, представляет собой объект повышенного риска. Слишком быстрый ход может привести к слишком большому углу поворота, что значительно снижает безопасность производственного процесса.
Таким образом, тележка ковшового крана движется медленнее, чем у других кранов, примерно до 80 об/мин. Фактически, для моделей скорости движения тележки, показанных на рисунке 4, время разгона и торможения тележки было установлено равным 5 с.Путь тележки проходит от крайнего положения с одной стороны до крайнего положения с другой стороны. Максимальная скорость движения тележки составила . Это обеспечивало сохранность тележки во время эксплуатации. Ответы на рисунке 4 основаны на трех режимах работы тележки.
На рис. 5 показана характеристика вертикального центрального смещения вибрации главной балки крана для трех режимов скорости тележки. При движении тележки вблизи центра главной балки амплитуда центрального смещения была наибольшей.Максимальные скорости движения тележки составляли 0,4 м/с, 0,8 м/с и 1,2 м/с, а максимальные вертикальные центральные смещения — 3,7 мм, 3,8 мм и 3,9 мм соответственно. Следовательно, чем выше максимальная скорость тележки в этом диапазоне, тем больше вертикальное центральное смещение.
Однако изменение не было очевидным.
На рис. 6 показана зависимость угла поворота полезной нагрузки во временной области при различных скоростях движения тележки. На схеме скорости угол поворота сначала увеличивался, а затем уменьшался в фазе ускорения 0–5 с.В фазе равномерного движения 5–20 с полезная нагрузка представляла собой возвратно-поступательные периодические колебания. Период качания полезной нагрузки составил . Путем подстановки начальных параметров период был рассчитан как 4,7894 с, что совпадает с периодом равномерной бегущей фазы, что подтверждает правильность результатов. Через 20–25 с фаза торможения, полезная нагрузка и угол поворота сначала увеличивались, а затем уменьшались. Это связано с эффектом замедления равномерного движения для увеличения амплитуды полезной нагрузки.Амплитуда качания фазы ускорения составила , а амплитуда фазы торможения – . Амплитуда колебаний в фазе замедления была несколько больше, чем в фазе ускорения. Это связано с тем, что полезная нагрузка все еще имела скорость качания в конце равномерного движения, а направление скорости совпадало с направлением замедления.
При максимальной скорости движения тележки 0,4 м/с, 0,8 м/с и 1,2 м/с максимальный угол поворота в фазе ускорения равнялся 0.17 рад, 0,32 рад и 0,49 рад соответственно, а фаза торможения составляла 0,18 рад, 0,38 рад и 0,55 рад соответственно, как показано на рисунке 6. Поскольку максимальная скорость тележки была выше, амплитуда полезной нагрузки значительно увеличился. Это связано с тем, что при одном и том же времени ускорения или замедления (5 с) чем быстрее ускорение, тем больше угол поворота полезной нагрузки. При изменении качества тележки и полезной нагрузки или значения жесткости кабины расчетные результаты практически не изменяются.Таким образом, угол поворота полезной нагрузки связан со скоростью и ускорением тележки, независимо от качества тележки и полезной нагрузки или величины жесткости кабины.
Из рис. 7 видно, что тенденция смещения центра главной балки для различных качеств тележки остается практически неизменной. Для тележек весом 10 т, 20 т и 30 т максимальное отклонение составило 2,7 мм, 3,6 мм и 4,4 мм соответственно.
С повышением качества тележки соответственно увеличилось вертикальное центральное смещение.
4.2.2. Влияние качества полезной нагрузки и длины каната на динамическую реакцию крана
Как показано на рисунке 8, с увеличением качества полезной нагрузки отклонение центрального смещения главной балки увеличивается, и нелинейность вибрации становится все более очевидной.
Как видно из рисунка 9, результаты согласуются с различной длиной троса. Следовательно, длина троса мало влияет на вибрацию центрального смещения главной балки.Это связано с тем, что угол поворота был очень мал, как и изменение энергии длины троса. Качество полезной нагрузки в поворотной модели играет главную роль в деформации основной балки.
В зависимости от периода качания полезной нагрузки длина троса влияет на период качания полезной нагрузки. Как видно на рис. 10, углы поворота полезного груза для канатов разной длины незначительно различаются в фазе ускорения 0–5 с; амплитуда угла качания увеличивается с увеличением длины каната в фазе равномерного бега 5–60 с; в фазе торможения 60–65 с отсутствует необходимая линейная зависимость между амплитудой качания и длиной каната.
Основная причина этих явлений заключается в том, что длина каната определяет период качания полезной нагрузки. В этом примерном проекте время разгона и торможения тележки было рассчитано как 5 с, а период качания полезной нагрузки составлял 4,79 с, 5,35, 6,18 с и 7,57 с. В фазе разгона, когда исчезло стимулирующее воздействие тележки на полезный груз, исходное положение качания полезного груза было совсем другим. Поэтому была большая разница между амплитудой качания в фазе равномерного бега.Точно так же из-за различий в начальном фазовом угле и периоде в фазе торможения не было линейного изменения амплитуды качания. При проектировании крана необходимо исследовать период поворота полезной нагрузки и время разгона тележки, чтобы можно было принципиально уменьшить полезную нагрузку угла поворота. Угол полезной нагрузки можно уменьшить, контролируя длину троса.
4.2.3. Влияние связанных параметров кабины на динамическую реакцию крана
В этой модели кабина уменьшена до сосредоточенной массы.
Качество кабины оказывает некоторое влияние на деформацию основной балки (см. рис. 11). Амплитуда вертикального направления дальнего света увеличивается по мере утяжеления салона. Однако качество кабины было очень легким по сравнению с качеством дальнего света и тележки; следовательно, влияние на вибрацию главной балки было меньше.
Кабина, как правило, предназначена для поперечного конца главной балки крана, что снижает влияние вертикального направления главной балки.Это способствует повышению комфорта водителя при эксплуатации и снижает вероятность профессиональных заболеваний. Положение кабины может быть изменено в небольшом диапазоне в процессе проектирования. Чем ближе кабина к середине пролета, тем больше амплитуда в вертикальном направлении и тем выше чувствительность (см. рис. 12).
Влияние жесткости соединения на центральное смещение главной балки показано на рисунке 13. При значениях жесткости соединения и нелинейность колебаний середины пролета не очевидна; однако при значениях жесткости связи и очевидно, что амплитуда обратно пропорциональна жесткости связи.
Когда жесткость соединения мала, вибрация кабины сильная и оказывает большое влияние на вибрацию главной балки. Поэтому при установке кабины ее следует держать близко к дальнему свету, а места для деятельности следует избегать.
4.2.4. Конструктивное демпфирование свободно опертой балки
Как сообщалось в литературе, хотя структурное демпфирование главной балки невелико, оно незначительно влияет на вибрацию системы главной балки крана.Эти незаметные эффекты могут вызвать проблемы в процессе проектирования крана. Как видно на рисунке 14, при вибрация носит нелинейный характер и максимальная амплитуда составляет 3,8 мм. Вибрация тележки, когда она доходит до конца главной балки, по-прежнему нелинейна. При колебание вибрации уменьшается, а максимальная амплитуда составляет 3,55 мм. Демпфирование рассеивает некоторую энергию, что снижает энергию вибрации.
4.3. Анализ динамического отклика кабины
Вибрация кабины может отражать комфорт водителя во время работы.
В модели соединение жесткости кабины является непосредственной причиной вибрации. На рисунках 15–17 показана вибрационная реакция при различных значениях жесткости соединения. Как видно из рисунка 15, чем сильнее жесткость связи кабины, тем меньше амплитуда колебаний кабины. При амплитуда колебаний кабины практически равна нулю. Кроме того, при амплитуда колебаний кабины сильно колеблется; нелинейность очевидна, а максимальная амплитуда равна 7.7 мм. При значениях жесткости соединения и относительное перемещение кабины и главной балки практически равно нулю, а при равно 5,2 мм (см. рис. 16). Как видно на рисунке 17, чем сильнее жесткость соединения кабины, тем медленнее разгон кабины. Таким образом, чтобы уменьшить интенсивность вибрации кабины и повысить комфортность работы водителя, кабина должна быть хорошо закреплена на конце основной балки.
4.4. Влияние нелинейного анализа на главную балку и кабину
Нелинейность — обычное явление в природе, а линейность — частный случай нелинейности.
Нелинейная теория для интерпретации физических явлений вибрации крановых систем имеет универсальное значение. Нелинейные уравнения колебаний системы колебаний жестко-гибкой муфты кранов, полученные в разделе 2, включают в себя нелинейные элементы системы. Сила мотивации в приложении связана не только с массой тележки и подъемного устройства, но и с углом поворота и вибрацией кабины, что свидетельствует о более сложных нелинейных характеристиках.В этом разделе эффект динамической реакции кран-балки и кабины в линейной системе рассчитывается путем игнорирования нелинейностей в уравнении. Сравнивая результаты расчета линейной системы и нелинейной системы, можно увидеть влияние нелинейных факторов на вибрацию главной балки и кабины.
Для анализа влияния нелинейных факторов на вибрацию крановой системы были выбраны следующие параметры: масса тележки, качество полезной нагрузки, максимальная скорость движения тележки, жесткость соединения кабины.
Вибрационные характеристики главной балки и кабины во временной области как в линейной, так и в нелинейной системах показаны на рисунках 18 и 19 соответственно.
Как видно из рисунков, кривая реакции смещения главной балки и кабины для нелинейной системы ниже, чем для линейной системы. Следовательно, нелинейные факторы влияют на вибрацию главной балки и кабины. Максимальные амплитуды вибрации главной балки и кабины в линейной системе составляют 10,1 мм и 5,1 мм соответственно, тогда как максимальные амплитуды вибрации основной балки и кабины в нелинейной системе равны 10.7 мм и 5,5 мм соответственно. В нелинейной системе вибрационные реакции главной балки и кабины увеличиваются на 5,9 % и 7,8 % соответственно. Ковшовые краны в основном используются для подъема расплавленной стали. При полной загрузке ковшовых кранов деформация главной балки достигает максимума. Эти воздействия нелинейных факторов могут непосредственно вызывать аварии и приводить к значительным потерям персонала и имущества. Поэтому в процессе анализа и расчета очень важно учитывать нелинейные факторы.
5. Заключение
На основе принципа системной динамики создана системная модель вибрации гибкой главной балки, кабины, тележки и полезной нагрузки, которая может служить теоретической основой для проектирования крана.
Функция вибрации главной балки получена методом суперпозиции мод, а уравнение вибрации системы установлено уравнением Лагранжа. Динамические реакции главной балки и полезной нагрузки получаются из приближенного решения нелинейной вибрации системы.
Вертикальная амплитуда главного луча прямо пропорциональна качеству тележки и полезной нагрузке. При времени разгона 5 с, когда максимальная скорость движения тележки составляет 0,4 м/с, 0,8 м/с и 1,2 м/с, максимальная амплитуда среднего пролета главной балки не имеет значения. Качество салона мало влияет на вибрацию дальнего света; однако влияние позиции очевидно. Чем ближе кабина к дальнему свету, тем больше амплитуда.В то же время, когда жесткость соединения кабины слабая, колебания амплитуды основного луча высоки, а нелинейность вибрации более очевидна. Напротив, конструктивное демпфирование может изменять только амплитуду колебаний главной балки и скорость затухания энергии в определенном диапазоне, что мало влияет на вибрацию главной балки.
При одинаковом времени разгона и торможения угол поворота полезной нагрузки увеличивается со скоростью тележки.Поскольку длина троса влияет на период качания полезной нагрузки, влияние времени разгона и торможения на угол качания полезной нагрузки является более сложным и требует дальнейших исследований. В качестве следующего шага можно рассмотреть исследования по противораскачиванию, основанному на гибкости троса.
Приложение
В этих матрицах: ; ; ; ; ; ; ; .
Конфликт интересов
У всех авторов нет возможных конфликтов интересов.
Благодарности
Этот документ спонсируется Фондом Шаньси «1331Project» Проект ключевых объектов строительства и последипломного образования в провинции Шаньси (2017BY118).Данные этой работы предоставлены Taiyuan Heavy Industry Co., Ltd.
Ручной мостовой кран с верхним ходом, CraneWerks
Описание
Мостовые краны с верхним ходом предназначены для объектов с малой габаритной высотой.
Система перемещается над взлетно-посадочной полосой, обеспечивая больше пространства между крюком и землей. Поверх балок взлетно-посадочной полосы устанавливается рельс, по которому едут колеса. Мостовые краны толкающего/тянущего типа или ручные цепные мостовые краны являются наиболее экономичным решением среди вариантов мостовых кранов с верхним ходом.Грузоподъемность этого типа мостового крана ограничена 5 тоннами из-за того, что для подъема и/или перемещения груза такого веса потребуется рабочая сила
Грузоподъемность: до 5 тонн (свыше 2 тонн рекомендуется ручная цепь)
Длина пролета моста, общая: до 50 футов
Пролеты взлетно-посадочной полосы: определяется конструкцией
Высота — от пола до тележки Вилка: определяется структурой
Мостовые краны с верхним ходовым механизмом и ручным толканием-толканием
Особенности:
- Недорогое управление грузами до 5 тонн и пролетами до 45 футов.

- Хотя доступны краны толкающего/тянущего типа грузоподъемностью до 5 тонн, они, как правило, не рекомендуются для грузоподъемности более 2 тонн.
- Лучше всего работает при установке на высоте 15 футов и менее
- Они , а не рекомендуются там, где полы скользкие или покрыты мусором, поскольку для оператора важно всегда иметь хорошую опору при использовании этих кранов.
- Мостовые краны типа «толкай-толкай» становятся все более сложными в использовании по мере увеличения физического размера продукта.
Один из самых экономичных способов перемещения легких грузов
Детали конструкции
Поскольку оператор толкает/тянет эти мостовые краны с верхним ходом, они контролируют скорость. Это позволяет оператору приспосабливаться к изменяющимся производственным требованиям. Краны с верхним ходом в целом имеют то преимущество, что подъем подъемника поднимается на более высокую точку, чем подвесные краны.

09.656-86)
006.-84)
09.557-81)
Группа режима работы крана по ГОСТ 25546-82 (ISO 4301/1-86)
Суммарная мощность электродвигателей (ПВ 40%) Квт
Климатическое исполнение, категория размещения
п. Кран двухбалочный 5т используется как на открытых объектах, так и в закрытых помещениях. Двухбалочный мостовой кран 5тн станет Вам незаменимым помощником и прослужит Вам долго и продуктивно. Позвоните нашим специалистам и они помогут подобрать правильную комплектацию. Позвоните нам прямо сейчас и мы ответим на все Ваши вопросы.
Производство мостовых двухбалочных кранов 5 тн Наша компания производит двухбалочные мостовые краны 5т. Электрические подвесные мостовые краны 5 тонн широко применяются в производстве и строительстве. Вы можете заказать у нас качественные краны по доступным ценам. Мостовые краны являются незаменимым помощником на производстве. Компания ЕВРОПРОМ изготавливает краны 5 т и более. С детальным описанием и техническими характеристиками электрических подвесных кранов 5т Вы можете ознакомится, обратившись к нашим специалистам.






д.

5 м
Добавить комментарий