Гидрораспределитель гр 2 гр 3: ГР-2-3-1 (24в) для автокранов производства ОАО Гидропривод
Гидрораспределитель ГР2-3-1-24 УХЛ2 (У 46.90.06.901) автокранов Челябинец, Ивановец, Галичанин, Клинцы
Гидрораспределитель ГР2-3-1-24 УХЛ2 (гидрораспределитель У 46.90.06.901) автокранов Челябинец, Ивановец, Галичанин, КлинцыКомпания ООО “Уралкрандеталь” занимается производством, реализацией запчастей для автомобильных, гусеничных кранов и другой спецтехники. Одним из направлений деятельности компании является реализация гидрооборудования, такого как гидрораспределители на автокраны Челябинец, Ивановец, Клинцы, Галичанин, Газпромкран (гусненичные краны ДЭК-251, РДК-250, МКГ-25) и другую спецтехнику. Купить гидрораспределитель ГР-2-3-1-24, узнать о его наличии или цене, вы можете любым удобным способом: оформив заявку через интернет магазин, отправив на e-mail или позвонив менеджеру (см. вкладку “контакты”).
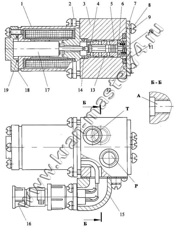
Гидрораспределитель ГР-2-3-1-24 климатического исполнения УХЛ2 – небольшой по размерам, односекционный, является частью гидрооборудования поворотной части множества автокранов.
Исполняет роль клапана-ускорителя грузовой лебедки в отечественных автокранах КС-45721, КС-55730, КС-55732 Челябинец, КС-3577, КС-35714, КС-45717 Ивановец, КС-55715 Галичанин, КС-55713 Клинцы, а так же как управляющий элемент гидрооборудования в другой спецтехнике.
Гидрораспределитель ГР2-3-1-24 имеет аналог и применяется вместо гидрораспределителя У46.90.06.901 УХЛ2.
Гидрораспределитель состоит из следующих основных частей:
- привод гидрораспределителя;
- плунжер;
- гильза;
- крышка;
- корпус;
- фланец;
- винты;
- шайбы;
- кольца;
- втулки.
Гидравлическая схема ГР2-3-1-24:
Описание схемы:
В показанном положении распределителя (Р) жидкость от насоса (Н) к гидроцилиндру (Ц) не поступает, и идёт на слив в гидробак (Б) через предохранительный клапан (КП). Если оператор перемещает ручку распределителя таким образом, что запорно-регулирующий элемент смещается в положение 1, то рабочая жидкость поступает в поршневую полость гидроцилиндра и поршень движется вправо, а жидкость из штоковой полости идёт на слив (направления движения рабочей жидкости через распределитель указаны стрелками).
Купить гидравлические распределители различных модификаций и исполнений Вы можете в компании ООО “Уралкрандеталь”. Цены производителя. Гарантия. Организуем доставку гидрораспределителя ГР-2-3-1-24 в города Уфа, Саранск, Якутск, Владикавказ, Казань, Кызыл, Ижевск, Абакан, Чебоксары, Барнаул, Краснодар, Красноярск, Владивосток, Ставрополь, Хабаровск, Благовещенск, Архангельск, Астрахань, Белгород, Брянск, Владимир, Волгоград, Вологда, Воронеж, Иваново, Ижевск, Иркутск, Калининград, Калуга, Петропавловск-Камчатский, Кемерово, Киров, Кострома, Курган, Курск, Санкт-Петербург, Липецк, Магадан, Москва, Мурманск, Нижний Новгород, Новгород, Новосибирск, Омск, Оренбург, Орел, Пенза, Пермь, Псков, Ростов-на-Дону, Рязань, Самара, Саратов, Южно-Сахалинск, Екатеринбург, Смоленск, Тамбов, Тверь, Томск, Тула, Тюмень, Ульяновск, Челябинск, Чита, Ярославль, Ханты-Мансийск, Анадырь, Салехард, Грозный, Майкоп, Улан-Удэ, Горно-Алтайск, Махачкала, Назрань, Нальчик, Элиста, Черкесск, Петрозаводск, Сыктывкар, Йошкар-Ола, Новый Уренгой, Сургут, Салехард и другие города России, стран СНГ наиболее дешевой и удобной для Вас транспортной компанией.
Если Вы не нашли необходимую запчасть на нашем сайте – свяжитесь с нашими менеджерами. Вас проконсультируют и подберут нужную деталь. Для более оперативной работы, держим большой ассортимент ходовых запчастей на складе в городах Челябинск, Новый Уренгой, Актобе(Республика Казахстан).
по ценам в Челябинске, Челябинской области, России. запасные части и комплектующие к крановому оборудованию от “ООО Машсервис
Гидрораспределитель ГР 2-3 – является комплектующим устройством гидравлических контуров навесного оборудования автомобильных кранов, экскаваторного и бульдозерного оборудование, а также других специализированных машин.
Различают гидрораспределители ГР 2-3-12В и ГР 2-3-24В. Первые нашли наиболее широкое распространение в экскаваторной технике, вторые, как правило – применяются на автомобильных кранах, например, в качестве ускорительных клапанов грузовой лебедки поворотной крановой платформы.
Несколько гидрораспределителей, устанавливаемых в гидравлическую систему машины, обеспечивают точное управление функциями навесного оборудования.
Описание работы гидрораспределителя
Работа гидрораспределителя наиболее ясно отражается при рассмотрении его принципиальной гидравлической схемы. В исходном состоянии электромагнит отключен, подпружиненный золотник находится в верхнем положении, соединяя сливную магистраль Т с входом от гидромотора А. В этом случае перекрывается напорная магистраль Р.
В случае подачи напряжения на электромагнит, золотник, преодолевая действие упругой силы пружины, перемещается вниз, соединяя магистраль гидромотора А и напорную магистраль Р, с подключенными к ней приводами исполнительных механизмов. Вывод Т при этом перекрывается.
Гидрораспределитель ГР 2-3 относится к категории необслуживаемых изделий и при выходе из строя подлежит обязательной замене.
Технические характеристики
| Характеристика | Значение |
| Максимально допустимое выходное давление | 4 (40) |
| Входное давление, минимальное, МПа | 1 (10) |
| Входное давление, максимальное, МПа | 32 (320) |
| Входное давление, номинальное, МПа | 25 (250) |
| Диаметр условного прохода, мм | 6 |
| Расход рабочей жидкости, номинальный, л/мин | 16 |
| Расход рабочей жидкости, максимальный, л/мин | 32 |
| Максимальное число срабатываний в 1 мин | 125 |
| Средняя наработка на отказ, ч, не менее | 300 |
| Напряжение питания, В | 24 |
На складе компании Уралмаш имеются все детали для автокранов.
Гидрораспределитель ГР 2-3 от компании АТКЕС г. Иваново
Используется на месте клапана ускорителя в грузовой лебедки автокрана Ивановец моделей КС
Гидрораспределитель ГР2-3-1-24 УХЛ2 (гидрораспределитель У 46.90.06.901) автокранов Челябинец, Ивановец, Галичанин, КлинцыГидрораспределитель с электромагнитным управлением ГР 2-3 предназначены для распределения рабочей жидкости.
Гидрораспределитель ГР-2-3 для автокрана Ивановец электромагнитного управления на 24 вольта или 12 вольт.
Технические характеристики гидрораспределителя
Давление макс. = 32 МПа
Давление номин. = 25 МПа
Давление миним. = 1 МПа
Расход рабочей жидкости миним. = 16 литров в мин.
Расход рабочей жидкости максим. = 32 литров в мин.
Суммарные внутренние утечки= 40 см3/мин
Диапазон раб.
напряжения питания электромагнита (постоянный ток) = 24 В
Номин. потребляемая мощность = 30 Вт..
В наличии гидрораспределитель ГР-2-3 для гидрооборудования КС-45717-1.84.000
Гидрораспределитель ГР-2-3 распределяет масло в гидросистеме автокрана, управляется ГР-2-3 Электромагнитом 24В. Гидрораспеределители ГР-2-3 12В в основном нашли свое применение на Экскаваторах и коммунальных машинах
Г/распределитель гр-2-3 работает при низких температурах до -60 градусов и до +50 градусов.
гидрораспределитель гр-2-3 имеет аналоги 306532.100 аналог У469006901УХ. Аналоги Гидрораспределителя РГ-2-3 полностью взаимозаменяемы и идентичны по принципу работы, тоесть точно также управляются электромагнитом.
На автокране используется два гидрораспределителя ГР 2-3, один для управления лебедки, второй как ускоритель работы гидромотора редуктора поворота автокрана.
НАЗНАЧЕНИЕ.
Гидрораспределители предназначены для распределения потока рабочей жидкости в гидросистемах строительных, дорожных и коммунальных машин, работающих при температуре окружающей среды от минус 60 до плюс 50 °С.
Гидрораспределители изготовлены в климатическом исполнении УХЛ и Г категории 2 по ГОС Т 15150.
Управление гилрораспределителей осуществляется подачей постоянного электрического тока напряжением 12В и 24В.
Гидрораспределители обеспечивают работу в вертикальном положении – приводом вверх.
По способу присоединения гидрораспределители могут быть трубного и стыкового присоединения.
Для эксплуатации гцдрораспределителей применяются рабочие жидкости следующих марок: ВМГЗ по ТУ 38.10479. заменитель -АУ по ТУ 38-1011232; МГЕ-46В по ТУ 38.001347, заменитель – И-30А по ГОСТ 20799. Класс чистоты рабочей жидкости – 13 по ГОСТ 17216.
Гидрораспределитель ГР-2-3 24 В
Гидрораспределители с электрическим управлением служат:
- Для отключения рабочих операций при срабатывании приборов безопасности
- Для управления изменением угла наклона блока цилиндров регулируемогогидромотора 303.
4.112.501
Запчасти к автокранам и кранам на гусеничном ходу
Сотрудничество с производителями крановой техники позволило нам предложить заказчикам широкий выбор и минимальные сроки поставок комплектующих для всех наиболее распространённых моделей кранов на автомобильных шасси. Мы реализуем запчасти для автокранов следующих марок:
- «Галичанин»;
- «Челябинец»;
- «Ульяновец»;
- «Ивановец»;
- «Газпром-кран»;
- «Дрогобыч»;
- «Машека» и др.
Кроме того, у нас всегда в наличии запасные части, необходимые для крановой техники на гусеничном ходу, столь популярной среди строительно-монтажных организаций и промышленных предприятий благодаря её техническим характеристикам:
- ДЭК-251, ДЭК-321;
- RDK-25;
- МКГ-25 и др.
Профессиональный подход к поставкам запчастей для строительной техники
Компания «ЧелябГидроКран» ориентирована на долгосрочные взаимовыгодные партнёрские отношения с заказчиками.
Поэтому мы предоставляем нашим клиентам оптимальные условия приобретения необходимых запасных частей:
- минимально возможные цены на комплектующие;
- большой ассортимент запасных частей для широкого спектра строительной, грузоподъёмной, крановой и дорожной техники;
- постоянное наличие на складе наиболее востребованных узлов и возможность поставки необходимых деталей под заказ в разумные сроки;
- квалифицированные консультации технически грамотного персонала;
- минимальные сроки доставки заказов в любой регион России и любую страну СНГ.
Все запчасти к строительной технике, поставляемые компанией «ЧелябГидроКран», проходят самый тщательный контроль со стороны служб ОТК. Поэтому мы можем гарантировать высокое качество и надёжность узлов, а также их полное соответствие нормам, требованиям и ГОСТам. На все реализуемые нами комплектующие распространяется официальная гарантия.
Приобретая качественные запасные части, комплектующие, ремкомплекты и расходные материалы для строительной техники в ООО «ЧелябГидроКран», вы ограждаете себя от проблем и сложностей в процессе последующей эксплуатации оборудования.
Приобретая качественные запасные части у нашей компании ООО «ЧелябГидроКран», Вы ограничиваете себя от каких-либо проблем и сложностей с последующей их эксплуатацией.
Гидрораспределители Р503 Р502 Р802 Р803 | Золотниковые гидрораспределители
Р503, Р802, Р803 распределители c управлением электрогидравлическим, пневмогидравлическим, гидравлическим Гидравлический золотниковый распределитель Р503 Р502 Р802 Р803 цена, наличие в Челябинске
Гидравлические распределители c видами управления:
- электрогидравлическое,
- пневмогидравлическое,
- гидравлическое
предназначены для регулирования пуска и останова или изменения направления минерального масла, работающего в качестве рабочей жидкости в гидравлических системах.
Гидрораспределители работают при температуре окружающей среды от +1 до +55°С в гидросистемах станков, прессов, систем и устройств с автоматическим и полуавтоматическим циклом работы (ГАП, манипуляторы, станки с ЧПУ) и других стационарных машин.
Купить гидрораспределитель Р503, Р502, Р802, Р803 в Челябинске
Вид климатического исполнения гидрораспределителей по ГОСТ 15150-69:
- УХЛ4— для районов с умеренным и холодным климатом;
- 04 — для районов с тропическим климатом.
Гидрораспределители работают на минеральных маслах с кинематической вязкостью от 10 до 400 мм2/(от 10 до 400 сСт) и температурой от +1 до +70°С.
Масло должно быть очищено не грубее 12-го класса чистоты по ГОСТ 17216-71, с номинальной тонкостью фильтрации не более 25 мкм.
Рекомендуемые марки рабочей жидкости: И-Г-С-32, И-Г-С-46 И-Г-С-63, ГОСТ 17479.4-87 (ИГП-18, ИГП-30, ИГП-38 ТУ38. 101.413-78), И-Г-В-46 ГОСТ 1747Э. 4-87 (ВНИИ НП-403 ГОСТ 16728-7S), И-ГН-Е-32, И-ГН-Е-68 ГОСТ 17479. 4-S7 (ИГНСп-20, ИГИСп-40 ТУЗЗ. 101.798-7S) и другие с аналогичными свойствами при температуре рабочей жидкости от плюс 1 до плюс 7 Со.
Рассмотрим гидрораспределитель Р803БЕ574Б с электрогидравлическим управлением качестве примера
Гидрораспределители Р803БЕ574Б: назначение и область применения
- золотниковые
- четырехлинейные
- с односторонним электрогидравлическим управлением ,
- с условным проходом 80 мм,
- с гидравлическим центрированием золотника
- Работают от сети постоянного или переменного тока с напряжением 12В, 24В, 110В, 220В
Предназначены для управления потоком рабочей жидкости исполнительных органов в гидравлических системах.
Переключение положения золотника происходит с помощью пневмоголовок от управляющего элемента – пилота. В двухпозиционных распределителях с электрогидравлическим управлением Р803 устанавливается пилот ВЕ10.574А.
Гидрораспределители Р503, Р802, Р803: вид присоединения
Стыковое исполнение. Присоединительная плоскость по ГОСТ 26890-86. Для уплотнения стыковой плоскости Р803 применяются кольца по ГОСТ 9833-73.
Устройство и составные части гидрораспределителя Р803БЕ574Б В220
Основные элементы:
- чугунный корпус,
- пилот ДУ10,
- золотник.
- К торцам корпуса крепятся крышки.
- Гидрораспределители с гидравлическим центрированием золотника имеют втулку и толкатель.
Базовой деталью Р803БЕ574Б является пятиканавочный корпус, в котором выполнены основные каналы:
P – отверстие для входа рабочей жидкости под давлением;
А и В – отверстия для соединений к другим гидроустройствам;
X ― подвод потока управления;
Y ― слив потока управления;
Т – отверстие для выхода рабочей жидкости в бак.
Сливные полости внутри объединены между собой.
Принцип работы Р803 БЕ574Б
Подвод управляющего потока может быть независимым от основного потока рабочей жидкости или может быть объединен с ним.
Завод поставляет распределители с управлением от вспомогательного потока. Для перехода на управление от основного потока необходимо вывернуть пробку и перекрыть канал подвода управления.
При управлении от основного потока гидрораспределителей с электро-пневмогидравлическим управлением для гидросхем 14, 64, 573, и 574 должно быть обеспечено: давление в основных сливных каналах не менее 10 кгс/см² для моделей с пружинным центрированием и 20 кгс/см² для моделей с гидравлическим центрированием.
Электрогидравлическое управление с помощью управляющего гидрораспределителя ― пилота ― применяется ввиду большого диаметра условного прохода.
Пилот изменяет давление в торцевых камерах и основного золотника. Возврат золотника в исходное положение осуществляется гидравлическими усилиями с помощью специальных поршней.
При этом усилия могут быть значительно выше, что повышает надёжность срабатывания).
Технические характеристики Р803БЕ574Б
Наименование параметра | Значение параметра |
Схема распределения | 574Б |
Количество электромагнитов | 2 |
Условный проход, мм | 80 |
Расход рабочей жидкости, л/мин | 2500 |
Номинальное давление на входе, МПа (кгс/см²) | 32 (320) |
Максимальное давление на выходе, МПа (кгс/см²) | 32 (320) |
Масса не более, кг | 251,6 |
Советы
В процессе эксплуатации могут возникнуть проблемы с техникой. Как быть: покупать новое, вызывать ремонтную бригаду или определить неисправность и самому её исправить?
О том, почему возникает повышенный нагрев катушки электромагнита, как это исправить и решение других проблем смотрите в разделе “Советы специалистов и экспертов”.
(PDF) Оценка герметичности прецизионных элементов гидрораспределителей сельскохозяйственных тракторов
Jour of Adv Research in Dynamical & Control Systems, Vol. 12, 07-Специальный выпуск, 2020
DOI: 10.5373 / Jardcs / V12SP7 / 20202352
ISSN 1943-023x 2259
Поступила: 22 мая 20 мая / принято: 20 июня 2020 г.
Тот факт, что гидравлические системы работают в сложном условиях, при различных процессах и факторах, изменяющих в
раз значения функциональных параметров.Кроме того, наблюдается разброс физических и прочностных свойств материалов
, нестабильность и отклонения технологического процесса, непостоянство внешних воздействий и нагрузок.
(Воскобойников М.С., 1973).
Веществом, передающим энергию гидросистеме, является гидравлическая жидкость, поэтому любые воздействия, приводящие к изменению
характеристик рабочей жидкости, могут вызвать отказ. К гидравлическим воздействиям относятся чистота, степень
газонасыщенности и температурные изменения характеристик рабочей жидкости.
Гидравлическая жидкость в состоянии поставки
уже содержит посторонние примеси, о чем свидетельствуют результаты исследований ряда авторов (Башта ТМ
и др., 2010), (Белянин П.Н. и др., 1984), (Бок В., 2009). При хранении выделяются загрязняющие вещества
в результате окисления добавок, применяемых для улучшения его свойств. Масло загрязняется не только пылью из воздуха, но и постоянно поступающими продуктами износа сопрягаемых деталей. В ряде случаев сами очистительные устройства могут стать
источниками загрязнения из-за частичного разрушения фильтрующих элементов.
Требуемая степень чистоты полостей и рабочей среды для конкретных агрегатов и систем машин
устанавливается на основании изучения влияния размеров, материала и количества частиц загрязняющих веществ
на надежность и долговечность работы наиболее ответственные детали и узлы машин. (Коваленко В.П.
и др., 1990) считает, что моторные масла, используемые в поршневых двигателях, должны быть очищены от частиц крупнее 15 мкм.
Износ деталей и старение резиновых уплотнений гидросистем᾿ узлов и агрегатов
приводят к внешним и внутренним утечкам рабочей жидкости и, как следствие, к снижению объемного КПД. Ввиду сложности и высокой точности изготовления деталей, узлов и агрегатов гидросистем
, а также с учетом повышенных требований к герметичности
требуют ремонта в специализированных ремонтных мастерских,
с тщательным соблюдением технологической последовательности и спецификации.
В первую очередь необходимо выявить заболевания гидросистем и их агрегатов без разборки (диагностики).
Разборка гидроагрегатов без необходимости не допускается, так как необоснованный демонтаж нарушает герметичность соединений
, взаимное расположение и приработок сопряжений, снижает долговечность гидроагрегатов и увеличивает затраты
. К основным неисправностям агрегатов гидросистем относятся: падение объемного КПД ниже нормы, установленной техническими условиями
; нарушение регулировок; ухудшение управляемости; предельный износ-
износ деталей и т.
д.Детали гидроагрегатов᾿ относятся к ведущим видам износа: абразивный
. (Алибоев Б.А., Шатого А.Е., 2011)
Взвесь в результате истирания увеличивает размеры отверстий и окон в форсунках и дроссельных
шайбах, изменяет геометрию кромок золотников управления, что приводит к ухудшение производительности
всей системы. По этой же причине снижается объемная подача насосов, ухудшаются характеристики гидромоторов
, бустеров, регулирующих и распределительных устройств.
Некоторые исследователи считают, что в процессах абразивного износа деталей принимают участие и мельчайшие частицы, размер которых больше толщины масляной пленки
на поверхностях деталей (Иргашев А., 2014) . Для примера
при анализе степени износа элементов шарикоподшипников, работающих в абразивной среде, такие
частицы, движущиеся по поверхности деталей с большими скоростями, вызывают их абразивный износ. На основании полученной аналитической
зависимости и расчетных данных скорости изнашивания можно сделать вывод о том, что увеличение размера и концентрации
абразивных частиц в масле, а также увеличение угла перекоса колец подшипника, увеличивают скорость изнашивания
элементов подшипника, тогда как с увеличением коэффициента относительного удлинения и твердости материала
скорость изнашивания элементов подшипника уменьшается.
В результате изнашивания деталей шестеренчатых насосов объемный КПД и производительность снижаются
и падает развиваемое ими давление. При увеличении зазоров в сопряжениях гидронасосов в 2 раза внутренние утечки
увеличиваются почти в 8 раз.
У зубчатых гидронасосов изнашиваются корпуса, втулки, шестерни, крышки и резиновые пакеты.
Корпусные колодцы изнашиваются от всасывания камеры в сопряжении с втулками и шестернями, так как при работе гидронасоса
качающийся узел притягивается к этой стороне корпуса давлением рабочей жидкости.Изнашиванию также подвергаются
опорная поверхность под втулки и поверхность под уплотнительную манжету. Характер изнашивания поверхностей
, сопрягаемых с втулками и подвергающихся смятию, соответствует характеру распределения гидравлических
сил. После износа поверхности корпусных колодцев приобретают конусообразную форму с расширением в сторону плоскостей привала; по
штамповка – ступенчатый износ (Аксенов А.
Ф. и др., 2004)
По внешнему виду изнашивания характеризуются появлением зазубрин, сколов, царапин, которые
возникают в процессе абразивного изнашивания.Алюминиевые и бронзовые детали шестеренчатого насоса также подвержены влиянию кавитации.
Серия диалогов CEA — библиотека веб-семинаров
Добро пожаловать в серию диалогов CEA! CEA сотрудничала с нашими корпоративными партнерами, чтобы вести постоянный диалог, посвященный решениям текущих и будущих проблем, с которыми сталкивается наша отрасль. Щелкните здесь, чтобы просмотреть список предстоящих вебинаров из серии бесед. Чтобы просмотреть прошедшие вебинары, нажмите на любую из ссылок ниже.
| Дата | Запись ссылки | |||||||||||||||||||||||||||||||||||||||||||||||||||||||||||||||||||||||||||||||||||||||||||||||||||||||||||||||||||||||||||||||||||||||||||||||||||||||||||||||||||||||||
| августа 20 августа 2020129 | COVID Recovery – Получение сотрудников Вернуться к работе | Tearthouse | Часы | |||||||||||||||||||||||||||||||||||||||||||||||||||||||||||||||||||||||||||||||||||||||||||||||||||||||||||||||||||||||||||||||||||||||||||||||||||||||||||||||||||||||
| августа 27 августа, 2020127 | Разработки, опыт и лучшая практика от регулирования на основе эффективности | S & C Electric Canada Ltd. | Смотреть сейчас | |||||||||||||||||||||||||||||||||||||||||||||||||||||||||||||||||||||||||||||||||||||||||||||||||||||||||||||||||||||||||||||||||||||||||||||||||||||||||||||||||||||||
| | Как не провода альтернативы помогли Nova Scotia Power Погода худшее из урагана Дориан | Opus One Solutions | Смотреть | 10 сентября 2020 | Как COVID повлиял на непрерывность электрораспределительной сети | Hatch Ltd.16, 2020 | Какие интеллектуальные сетки в США научили нас | Redline Communications | Watch Nowe | | ||||||||||||||||||||||||||||||||||||||||||||||||||||||||||||||||||||||||||||||||||||||||||||||||||||||||||||||||||||||||||||||||||||||||||||||||||||||||||||||||
| 17 сентября | Технические исследования Понимание для помощи клиентов Через экономические трудности | Oracle Utilities | ||||||||||||||||||||||||||||||||||||||||||||||||||||||||||||||||||||||||||||||||||||||||||||||||||||||||||||||||||||||||||||||||||||||||||||||||||||||||||||||||||||||||
| | Как встреча потребительских предпочтений может помочь вам адаптировать во время спада | Lexop | сент. | 23, 2020 Подготовка T & D компании для незапланированных сбоев | Canada Inc | Часы | 29 сентября 202029 | | 27 IBM Canada Устойчивые контактные центры во время Covid-19 60126 | Октябрь 6, 20202 | Утилита Утилиты DER Усыновление с энергосистемой Платформа Siemens Canada Limited | Смотреть сейчас | окт.8, 2020 | Инновации в платежах: Amazon Alexa, Facebook, текст, и более KUBRA 9019 | Часы | Октябрь 13 Октября | Как коммунальные услуги Может тренироваться удаленно и адаптироваться во время Covid-19 процедур процедуры | часы | октября. | 16, 202029 Успех капитальных проектов при улучшении надежности и удовлетворенности клиентов Aggreko Canada Inc | Смотреть сейчас | 22, 2020 | Технологические решения в модернизации сетки путешествие для электрических коммунальных услуг Infosys Limited | Часы | 27 октября | Ускорение взаимодействия клиентов Цифровая трансформация INFOSYS LIMITED | | 28 октября, 2020129 | Коренные права в Канаде – обзор значительных юридических и конституционных велей McCarthy Tétro LLP | Смотреть сейчас | окт. | 29, 2020 | Использование искусственного интеллекта и речевой аналитики для мониторинга, отслеживания и улучшения качества обслуживания клиентов и обеспечения 100-процентного соответствия требованиям. Контактный пункт 360 | Часы | ноября | цифровые подстанции и IEC 61850 OmiCron | Смотреть сейчас | нояб.5, 2020 | Понимание продукции древесины полюса и эквивалентные композитные полюс | RS Technologies Inc. (RS Poles) | Часы | 10 ноября 202027 | Риск суровой погоды и изменения климата в электроэнергетике Канады12, 2020 60130 Флот Электрификация: Перемещение мимо пилотных реализаций Burns & Mcdonnell | Наблюдайте сейчас | 17 ноября, 2020129 Управление флотом для Интеллектуальные электронные устройства | Eaton | | | ноябрь 19, 2020129 | Облако Безопасность . Длинные системы просмотра | Смотреть сейчас | Дек.1, 2020 | Электрическая инфраструктура для emobility 9 9019 | Siemens Energy Canada Limited | | 9, 202029 | Циракрирование – новая эра в калибровке | Beamex | | | Сетка Удалечность Siemens Energy Canada Limited | Часы | дек.8, 2020 | дуго устойчивого распределительного устройства – практичный вид | Powell Industries, Inc. | Часы | 9, 2020129 | | Переосмысление «Беги до сбоя “В средах OT | Complytec | | | Использование многоцелевой сети для включения цифровых утилит и интеллектуальные города Itron | Смотреть сейчас | Дек.15, 2020 | | 27 PwC Canada Cyber Security – Понимание OT ATTAM | февраля 25, 2021 | Будущее будущее: Datch – голос AI построенный для утилиты индустрии 7 9012 | | Прошедшие в 2021 году: новые ожидания в обслуживании клиентов | Lexop | Смотреть | | Управления активами на активы Инвестиционный планирование Обход | | Часы | 6 мая 2021 | | Обучение линейных рабочих технике безопасности и работе с инструментами
9 0128 Bierer Moter | Смотреть сейчас | | 9 мая, 2021 | Совместное использование Hexagon | Смотреть сейчас | 20 мая 2021 г. | Усовершенствования технологии предотвращения лесных пожаров – поддержка безопасности и отказоустойчивости сетевых операций | Forest Technology Systems Ltd. | смотреть сейчас | | | | Утилита информационная система клиентов (СНГ) Облако решение – на месте VS Облако Kaien Inc. | Смотреть | июня 10, 2021 | Redline Communications | Часы | 16 июня, 2021 | Как AI-Analytics помогает утилиты Разблокировать значение AMI | | Util Assist с Grid4C и созвездием Energy | | августа 19 августа 19, 2021 | Медь нафтенат: Как ведущая замена пентахлорфенола улучшает ESG и устойчивость | Нисус | Смотреть сейчас | 90 143 10129 ноября | | | | | | декабря 2, 2021 | Преобразование от Hydro Дистрибьютор для энергетического партнера | IBM и Salesforce | Смотреть сейчас | 13 января 2022 г. | Характеристика поверхностей силиконовых изоляторов для определения сопротивления 90 | Смотреть сейчас | |
Akhtaralam.com – Домашняя страница Akhtaralam
akhtaralam.ru, akhtaralam.net, akhtaralam.org, akhtaralam.de, akhtaralam.jp, akhtaralam.uk, akhtaralam.br, akhtaralam.pl, akhtaralam.in, akhtaralam.it, akhtaralam.fr, akhtaralam.au, akhtaralam. информация, akhtaralam.nl, akhtaralam.ir, akhtaralam.cn, akhtaralam.es, akhtaralam.cz, akhtaralam.ua, akhtaralam.ca, akhtaralam.кр, akhtaralam.eu, akhtaralam.biz, akhtaralam.za, akhtaralam.gr, akhtaralam.co, akhtaralam.ro, akhtaralam.se, akhtaralam.tw, akhtaralam.vn, akhtaralam.mx, akhtaralam.tr, akhtaralam.ch, ахтаралам.ху, ахтаралам.ат, ахтаралам.бе, ахтаралам.тв, ахтаралам.дк, ахтаралам.ме, ахтаралам.ар, ахтаралам.ск, ахтаралам.ус, ахтаралам.но, ахтаралам.фи, ахтаралам.ид, ахтаралам.
xyz, akhtaralam.cl, akhtaralam.by, akhtaralam.nz, akhtaralam.ie, akhtaralam.il, akhtaralam.pt, akhtaralam.kz, akhtaralam.my, akhtaralam.lt, akhtaralam.io, akhtaralam.hk, akhtaralam.cc, akhtaralam.sg, akhtaralam.edu, akhtaralam.pk, akhtaralam.su, akhtaralam.рф, akhtaralam.bg, akhtaralam.th, akhtaralam.top, akhtaralam.lv, ахтаралам.хр, ахтаралам.пе, ахтаралам.рс, ахтаралам.клуб, ахтаралам.ае, ахтаралам.си, ахтаралам.аз, ахтаралам.ф, ахтаралам.про, ахтаралам.нг, ахтаралам.тк, ахтаралам.ее, ахтаралам. mobi, akhtaralam.asia, akhtaralam.ws, akhtaralam.ve, akhtaralam.pw, akhtaralam.sa, akhtaralam.gov, akhtaralam.cat, akhtaralam.ню, akhtaralam.ma, akhtaralam.lk, akhtaralam.ge, akhtaralam.tech, akhtaralam.online, akhtaralam.uz, akhtaralam.is, akhtaralam.fm, akhtaralam.lu, akhtaralam.am, akhtaralam.bd, akhtaralam.to, ахтаралам.ке, ахтаралам.наме, ахтаралам.уй, ахтаралам.ец, ахтаралам.ба, ахтаралам.мл, ахтаралам.сайт, ахтаралам.до, ахтаралам.веб-сайт, ахтаралам.мн, ахтаралам.мк, ахтаралам.га, ахтаралам.
ссылка, akhtaralam.tn, akhtaralam.md, akhtaralam.travel, akhtaralam.space, akhtaralam.cf, akhtaralam.pics, akhtaralam.например, akhtaralam.im, akhtaralam.bz, akhtaralam.la, akhtaralam.py, akhtaralam.al, akhtaralam.gt, akhtaralam.np, akhtaralam.tz, akhtaralam.kg, akhtaralam.cr, akhtaralam.coop, akhtaralam.today, akhtaralam.qa, akhtaralam.dz, akhtaralam.tokyo, akhtaralam.ly, akhtaralam.bo, akhtaralam.cy, akhtaralam.news, akhtaralam.li, akhtaralam.ug, akhtaralam.jobs, akhtaralam.vc, akhtaralam.click, akhtaralam. па, ахтаралам.гуру, ахтаралам.св, ахтаралам.аэро, ахтаралам.ворк, ахтаралам.гк, ахтаралам.аг, ахтаралам.Джо, ахтаралам.рокс, ахтаралам.пс, ахтаралам.кв, ахтаралам.ом, ахтаралам.ниндзя, ахтаралам.аф, ахтаралам.медиа, ахтаралам.со, ахтаралам.вин, ахтаралам.жизнь, ахтаралам.ст, ахтаралам.см, akhtaralam.mu, akhtaralam.ovh, akhtaralam.lb, akhtaralam.tj, akhtaralam.gh, akhtaralam.ni, akhtaralam.re, akhtaralam.download, akhtaralam.gg, akhtaralam.kh, akhtaralam.cu, akhtaralam.ci, akhtaralam.
mt, akhtaralam.ac, akhtaralam.center, akhtaralam.bh, akhtaralam.hn, akhtaralam.london, akhtaralam.mo, akhtaralam.советы, akhtaralam.ms, akhtaralam.press, akhtaralam.agency, akhtaralam.ai, akhtaralam.sh, akhtaralam.zw, akhtaralam.rw, akhtaralam.digital, akhtaralam.one, akhtaralam.sn, akhtaralam.science, akhtaralam.sy, ахтаралам.ред, ахтаралам.ник, ахтаралам.сд, ахтаралам.тт, ахтаралам.моэ, ахтаралам.мир, ахтаралам.ик, ахтаралам.зона, ахтаралам.мг, ахтаралам.академия, ахтаралам.мм, ахтаралам.эус, ахтаралам. gs, akhtaralam.global, akhtaralam.int, akhtaralam.sc, akhtaralam.company, akhtaralam.cx, akhtaralam.видео, akhtaralam.as, akhtaralam.ad, akhtaralam.bid, akhtaralam.moscow, akhtaralam.na, akhtaralam.tc, akhtaralam.design, akhtaralam.mz, akhtaralam.wiki, akhtaralam.trade, akhtaralam.bn, akhtaralam.wang, akhtaralam.paris, akhtaralam.solutions, akhtaralam.zm, akhtaralam.city, akhtaralam.social, akhtaralam.bt, akhtaralam.ao, akhtaralam.lol, akhtaralam.expert, akhtaralam.fo, akhtaralam.live, akhtaralam.
host, akhtaralam. sx, akhtaralam.marketing, akhtaralam.education, akhtaralam.gl, akhtaralam.bw, akhtaralam.берлин, akhtaralam.blue, akhtaralam.cd, akhtaralam.kim, akhtaralam.land, akhtaralam.directory, akhtaralam.nc, akhtaralam.guide, akhtaralam.mil, akhtaralam.pf, akhtaralam.network, akhtaralam.pm, akhtaralam.bm, akhtaralam.events, akhtaralam.email, akhtaralam.porn, akhtaralam.buzz, akhtaralam.mv, akhtaralam.party, akhtaralam.works, akhtaralam.bike, akhtaralam.gi, akhtaralam.webcam, akhtaralam.gal, akhtaralam.systems, akhtaralam. хт, ахтаралам.отчет, ахтаралам.эт, ахтаралам.пинк, ахтаралам.см, ахтаралам.jm, akhtaralam.review, akhtaralam.tm, akhtaralam.ky, akhtaralam.pg, akhtaralam.pr, akhtaralam.tools, akhtaralam.bf, akhtaralam.je, akhtaralam.tl, akhtaralam.photos, akhtaralam.pub, akhtaralam.tf, ахтаралам.круто, ахтаралам.фдж, ахтаралам.отзывы, ахтаралам.поддержка, ахтаралам.часы, ахтаралам.ыт, ахтаралам.дата, ахтаралам.техника, ахтаралам.укр, ахтаралам.мр, ахтаралам.услуги, ахтаралам.
фотография, ахтаралам. вг, ахтаралам.сообщество, ахтаралам.гд, ахтаралам.лк, ахтаралам.помощь, ахтаралам.рынок, ахтаралам.фото, ахтаралам.коды, ахтаралам.dj, ахтаралам.мк, ахтаралам.галерея, ахтаралам.wtf, ахтаралам.уно, ахтаралам.био, ахтаралам.черный, ахтаралам.бж, ахтаралам.бесплатно, ахтаралам.инк, ахтаралам.мв, ахтаралам.аудио, ахтаралам.плюс, ахтаралам.чат, ахтаралам.домены, ахтаралам.гы, ахтаралам.ооо, ахтаралам.тел, ахтаралам.обучение, ахтаралам.онлайн, ахтаралам.сделки, ахтаралам.тайпей, ахтаралам. касса, ахтаралам.дар, ахтаралам.скот, ахтаралам.ср, ахтаралам.стан, ахтаралам.облако, ахтаралам.дом, ахтаралам.ву, ахтаралам.би, ахтаралам.карьера, ахтаралам.команда, ахтаралам.стамбул, ахтаралам.музей, ахтаралам.любовь, ахтаралам.москва, ахтаралам.кофе, ахтаралам.деси, ахтаралам.меню, akhtaralam.money, akhtaralam.software, akhtaralam.cv, akhtaralam.hosting, akhtaralam.wf, akhtaralam.ye, akhtaralam.care, akhtaralam.direct, akhtaralam.international, akhtaralam.run, akhtaralam.бел, akhtaralam.
church, akhtaralam. гм, ахтаралам.онл, ахтаралам.рен, ахтаралам.сл, ахтаралам.видение, ахтаралам.бар, ахтаралам.карты, ахтаралам.обмен, ахтаралам.школа, ахтаралам.сз, ахтаралам.банк, ахтаралам.бутик, ахтаралам.фит, ахтаралам.кухня, ахтаралам.киви, ахтаралам.венчерс, ахтаралам.амстердам, ахтаралам.бб, ахтаралам.дм, ахтаралам.стиль, ахтаралам.брюссель, ахтаралам.одежда, ахтаралам.знакомства, ахтаралам.вен, ахтаралам.бс, ахтаралам.бизнес, ахтаралам.казино, ахтаралам.картинки, ахтаралам.ах, ахтаралам. крикет, ахтаралам.энергия, ахтаралам.эстейт, ахтаралам.ферма, ахтаралам.гп, ахтаралам.институт, ахтаралам.нагоя, ахтаралам.место,
мера веса в старину
С переходом всего прогрессивного человечества на систему СИ постепенно ушли в прошлое многие древнеславянские меры веса и длины. Среди них горка – мера веса, активно применявшаяся с начала восемнадцатого и вплоть до тридцатых годов двадцатого века.
Золотник – что это?
Золотником в старину называли меру массы, применявшуюся для определения веса металла (чаще всего золота и серебра).
По отношению к используемому сегодня грамму одна катушка весила 4,3 грамма или 1/96 фунта (рус.).
История появления меры веса под названием золотник
Сегодня ученые не могут точно сказать, откуда произошло само название такой меры веса, как золотник. Предположительно это название пришло со времен Киевской Руси. Так известно, что во времена князя Владимира Великого (X век) одна из мелких княжеских золотых монет называлась «златник».
Вероятно, позднее эта монета стала активно использоваться в качестве гири для взвешивания изделий из драгоценных металлов.И постепенно от названия монеты произошло название «золотник» — мера веса, используемая для определения массы изделия из благородного металла.
Первое письменное упоминание о золотнике как о мерной гире относится к XIII веку. В одном из своих деловых документов смоленский князь Мстислав употребляет слово «золотник» уже не как название монеты, а как меру веса. Вероятно, именно в то время с помощью золотников измерялась доля чистого драгоценного металла в той или иной монете или другом слитке из золота и серебра.
Со временем популярность катушки как меры веса росла. А с 1711 года золотник получил статус официальной меры веса не только золота и серебра, но и других драгоценных металлов и использовался до 1927 года. от названия золотого металла. Однако это маловероятно, поскольку для измерения веса платины и серебра также использовалась золотая горка.
Мера этого веса способствовала появлению широко распространенной в Российской империи так называемой мотальной системы проб.
Золотниковая система проб
Данная система проб позволяет определять наличие драгоценных металлов в том или ином сплаве, а также их количество. Другими словами, определить золотник помогла проба драгоценного металла (его чистоты). Мера этого веса способствовала формированию золотника как золотника, так и золотника из серебра.
Так чистое золото без примесей (сейчас 999проба) считалось драгоценным металлом весом 96 золотников. Это означало, что если состав металла брать за 100%, то и все 100% золото.
Однако в системе управления затвором максимальное количество составляло не 100%, а 96 единиц драгоценного металла. И если все 96 из них были золотом – металл был чистым и имел пробу 96 (сейчас 999).
Наименьшая проба золотника была 56 (сейчас 585), т.к. в ней всего 56 частей золота, а остальные – примеси других металлов. Всего в старину было шесть золотых золотников.
Сегодня счастливые обладатели золотых украшений дореволюционного производства могут заметить на них слайд-пробу того периода.Чтобы перевести его в современную систему и узнать чистый металл изделия, можно воспользоваться простейшей формулой: А/96*1000=В. В данном случае А – слайд-тест, а Б – современный.
Измерение чистоты серебра в катушках также не сильно отличалось от золота. Однако изначально образцов этого металла было больше – целых девять (от 72 до 95). Правда, в конце XIX их значительно сократили до четырех (с 84 до 95).
Так же как и с золотом, серебряная катушка помогла определить количество долей этого металла в 96 единиц.
Сегодня дореволюционную золотую пробу серебра можно перевести в современную по той же формуле, что и золото.
Отношение золотника к другим мерам веса в старину
Шпуля – доля: 1/96.
Пуд золотник: 1/3840.
Лот – катушка: 1/3.
Фунт – катушка: 1/96.
Золотник и современные меры веса
В сравнении с современными единицами веса одна горка примерно равна 4,3 грамма (система СИ).
По британской системе аптечных мер вес одной катушки примерно равен 0.01143 тройских фунта или 0,14 тройской унции.
Что касается системы мер веса в США, то одна катушка приблизительно равна 0,151 унции или 0,01 фунта США.
“Маленькая катушка, да дорогая” и другие поговорки об этой мере веса
Эта мера веса была довольно популярна у предков, часто о ней слагали поговорки. Например, когда хотели описать малогабаритную, но очень ценную вещь, использовали известную всем с детства пословицу.
Также был немножко его аналог: “Шпуля маленькая, да увесистая”.
Есть еще одна похожая поговорка, тоже посвященная маленькому, но важному делу. Она более полно иллюстрировала принцип: важен не размер, а стоимость.
Для описания ценности здоровья для человека используется такая поговорка:
А непосредственно золотнику как мере веса посвящена следующая пословица:
Сегодня уже давно не может быть и речи об определении чистоты пробы золото или серебро. Эта мера веса стала частью истории. Однако само слово сейчас активно используется в речи, хотя и имеет несколько иное значение.Теперь слово «золотник» стало названием детали-распределителя, но это уже совсем другая история.
р>>О нас
Мы твердо верим, что каждый, кому требуется какая-то степень Tahoe-Hydro, должен иметь к ней легкий доступ. Поэтому мы хотим сделать все, что в наших силах, чтобы эти пациенты получили наилучший доступ к самым лучшим продуктам Tahoe-Hydro, которые Tahoe-Hydro может предложить. В конечном счете, мы любим высококачественный каннабис и все его производные, и нам нравится делиться им с нашими клиентами и друзьями, которые в этом нуждаются.
Эта культура росла как на дрожжах за последние несколько лет и, по мере того, как были достигнуты инновационные прорывы, превратилась в один из крупнейших аспектов индустрии каннабиса. От цветка до концентрата, Tahoe-Hydro предоставляет любителям каннабиса чистую, эффективную и здоровую пищу для потребления. Потребление каннабиса за последние несколько лет становится все более рафинированным, и основное внимание уделяется таким соединениям, как терпены, больше, чем когда-либо прежде. Терпены отвечают за различные запахи и вкусы каннабиса, что делает вкус продукта решающим аспектом при определении его качества.
Наша миссия
Скорее всего, мы будем лучше обслуживать вас как клиента и обеспечим наилучшее качество обслуживания клиентов при покупке с наименьшими затратами. мы точно понимаем, насколько хлопотным может быть поиск качественных товаров в Интернете и в диспансерах, мы здесь, чтобы подвести итоги вашей охоты! теперь вы можете приобрести каннабис высшего качества и сопутствующие товары онлайн у нас.
Мы действительно верим, что являемся лучшим дистрибьютором Tahoe-Hydro во всем мире и в Интернете.
Безопасность
Здесь, в Tahoe-Hydro, мы заботимся о вашей конфиденциальности.Мы никому не передаем ваши данные и используем мощную криптологию, чтобы гарантировать вашу защиту.
Доставка
Мы предлагаем как национальные, так и международные перевозки. Все наши транспортные средства защищены, безопасны, быстры, надежны и аккуратны. Все данные о перевозке клиента удаляются после передачи, чтобы гарантировать дискретную договоренность на том основании, что ваша безопасность — это единственное, что важно для США.
Мы обеспечиваем защищенный ввод вашего комплекта, каждый из наших комплектов настроен и имеет стратегические фиксированные комплекты.Это означает, что они без обычаев. Мы предлагаем тройную вакуумную упаковку и стелс-пакет по всем запросам, поэтому аромат не может быть идентифицирован собаками (собаками) или электронными нюхателями.
Мы предоставляем скидки или заменяем ваш запрос в случае сбоя в доставке. Мы предлагаем покрытие для наших пакетов, например, мы используем альтернативные способы, телевидение или другие законные контейнеры для доставки наших пакетов с целью, чтобы покупатель получил пакет так же, как и недавно запрошенный электронный товар.мы предоставляем вам профессиональную комплектацию и большую коробку, чтобы соответствовать каждому из ваших запросов, мы также составляем названия на вещи до того, как они будут объединены, поэтому клиентам, которые запросили много вещей, будет легко найти их в случае. Доставка в большинстве случаев занимает максимум 2-3 дня.
.
Представляем гидравлический водяной насос высокого давления DYNASET HPW tec
Как работает система мойки контейнеров высокого давления DYNASET JPL? Система мойки бункеров высокого давления JPL питается от гидравлической системы базовой машины. Водяной насос высокого давления Dynaset HPW эффективно преобразует гидравлическую мощность рабочей машины в энергию воды высокого давления. Для облегчения использования насоса; насос самовсасывающий, не требующий давления подачи. Посторонние частицы, такие как пыль, ржавчина, вода, воздух и т. д., попавшие в гидравлическую жидкость, повредят насос и отрицательно скажутся на производительности системы.3) 176 (7) ВОДА ВЫСОКОГО ДАВЛЕНИЯ Гидравлический водяной насос высокого давления HPW Гидравлическая мойка высокого давления HPW Моечная установка высокого давления KPL Гидравлические пластинчато-роторные компрессоры для пылеподавления высокого давления Лист технических данных 6 dom 3 i-33470 ylöjär 358 3 3488 200 o @dynaset. Компактный размер, легкая, прочная конструкция и низкое потребление воды делают насос HPW малозатратным.
com 3 ТЕХНИЧЕСКИЕ ХАРАКТЕРИСТИКИ Блок питания для грузовых автомобилей 3,5 Блок питания для грузовых автомобилей 6,5 Блок питания для грузовых автомобилей 10 ВЫХОДНЫЕ ХАРАКТЕРИСТИКИ Выходная мощность макс. Вода распыляется обычно с помощью точечной или трехходовой форсунки.Также легко очистить бетон и дерево перед покраской фасадов, стен и т.д. Капля воды настолько незначительна, что частица пыли не становится достаточно влажной, чтобы сделать рабочую зону грязной. Насос HPW не содержит вращающихся частей, что делает его очень прочным и не требующим технического обслуживания. Системы пожаротушения высокого и низкого давления рядом друг с другом Гидравлический водяной насос высокого давления в сочетании со специальными форсунками для распыления воды обеспечивает непревзойденную мощность пожаротушения. Единственный мощный гидравлический насос для бурового раствора DYNASET HDF эффективно преобразует гидравлическую мощность рабочей машины в мощность насоса.Руководства пользователя, руководства и технические характеристики водяного насоса Dynaset HPW 800/30-140.
Dynaset — ведущий мировой производитель гидравлических генераторов, моечных машин и компрессоров. давление: 10 бар: Сверлильный станок TL18 гео. В своей основе насос-усилитель Dynaset с гидравлическим приводом использует фильтрованную морскую воду и турбонасадку, удобную для ROV. Из-за высокого давления насос дает большую мощность воды с sm dynaset – Читать онлайн бесплатно. Флюс серии F S. НЕФТЯНОЕ ГИДРАВЛИЧЕСКОЕ ОБОРУДОВАНИЕ (S) OIL HYD.Имеют тяговое усилие от 5 до 30т и длину до… Приступаем к работе; Водяной пистолет; Водяной Пистолет – Производители, Фабрика, Поставщики из Китая. Это самая маленькая модель линейки HPW по выходной мощности и габаритам. Гидравлическое оборудование Dynaset преобразует гидравлическую энергию движущейся машины в электричество, воду под высоким давлением, сжатый воздух, магнитное поле (электромагнит) и вибрацию. Пылеулавливание HPW. 2. Водяные насосы Dynaset с гидравлическим приводом могут подавать воду под давлением от 200 бар до 420, 520, 800 или даже 1200 бар и скоростью потока от 30 литров в минуту до 600 литров в минуту в зависимости от применения.
ТЕХНИЧЕСКОЕ ОБСЛУЖИВАНИЕ 27 6. Новый гидравлический водяной насос высокого давления HPW на 250 бар – интервью с инженером отдела исследований и разработок DYNASET. давление: 90 бар : Компрессор: Dynaset HKR 2000 / 10-53: Макс. Когда гидравлический поток направляется на водяной насос мойки улиц, он начинает подавать воду под высоким давлением в моющую головку. Гидравлический водяной насос высокого давления HPW250 представлен на стенде Dynaset FN 1118/1, Bauma 2019. Воду можно брать из резервуара для воды или из крана; вода под высоким давлением подается по трубопроводам вдоль машины к форсункам, создающим водяной туман.Гидравлическое оборудование Dynaset преобразует гидравлическую энергию мобильной машины, транспортного средства или судна в электричество, воду под высоким давлением, сжатый воздух, энергию магнита, вибрацию и повышение мощности. система добычи полезных ископаемых, при которой сила струи воды используется для размыва отмели золотоносного гравия или земли. 12 лакхов. Команда наших … Финский производитель погрузчиков и навесного оборудования Avant Tecno, более известный как Avant, производит 5700 компактных погрузчиков в год, из которых 85% идет на экспорт.
32 U. Система подачи воды высокого давления.Наиболее очевидным отличием от предыдущей версии является форма помпы и цвет головок. То есть никаких вращающихся частей, что вам обещает. . 9) 261 (10. 1 13 mt9111 4068 00 насос cat 1010 1 14 mt5112 3083 78 ремень компрессора 1 15 mt3222 3314 66 водяной насос dynaset 1 16 mt3222 3314 66b водяной насос dynaset 1 бронзовый блок 17 mt9106 6 аккумулятор 60amp 18 0711 0713 105 зарядное устройство 1 105 ампер Гидравлические стиральные машины и водяные насосы DYNASET HPW преобразуют гидравлическую энергию мобильной машины в воду под высоким давлением.ком для более подробной информации. гидравлический генератор hg 50h // техпаспорт 2 d o m 3 fi330 ylöjär f 35 3 3 200 o@dynaset. Пистолет-распылитель со шлангом 10 м Посетите наш сайт www. Эта модель весит менее 100 фунтов и может быть установлена как 2 D O M 3 I-3340 Ylöjär 358 3 3488 200 o@dynaset. c ww. Очистка и организация поставок в Индию Доступно 4 поставки Dynaset в Индию. Арендуйте или купите гидравлический компрессор для различных работ.
Предметом данной диссертации является внедрение и развитие производственной линии гидравлических водяных насосов высокого давления в Dynaset Oy.Pompa Air bertekanan tinggi untuk menangkap debu. com ГИДРАВЛИЧЕСКАЯ МОЩНОСТЬ ВОДЫ Гидравлический насос высокого давления преобразует гидравлическую мощность рабочей машины в поток жидкости под высоким давлением – в любом месте и в любое время. Также включено, что вы можете сделать, чтобы получить максимальную производительность DYNASET HPW 90 Руководство пользователя. Благодаря новой конструкции насос имеет лучшее соотношение мощности и размера в своем классе. com ПЫЛЕПОДАВЛЕНИЕ ПОД ВЫСОКИМ ДАВЛЕНИЕМ ОБЩИЕ ПОЛОЖЕНИЯ 10 1. Загрязнение гидравлической жидкости является одной из наиболее серьезных причин отказа насоса.Устройство для очистки труб PPL. S. Будучи одним из лучших в своем классе, Dynaset уже пользуется наибольшей популярностью в производстве генераторов, водяных насосов высокого давления и компрессоров, приводимых в действие гидравлическим приводом.
Насосы HPW используются для перекачки воды и других жидкостей в зависимости от модели. com P ELECTRICITY HGG Гидравлический наземный генератор ВОДА ВЫСОКОГО ДАВЛЕНИЯ HPW Гидравлический водяной насос высокого давления HPW Гидравлический моечный аппарат KPL Устройство для мойки улиц высокого давления HPW-DUST Система пылеподавления высокого давления HSP Гидравлический погружной насос СЖАТЫЙ ВОЗДУХ HK Гидравлический поршневой … DYNASET KPL Уличный насос высокого давления стиральная машина – мощный аксессуар.РЕДУКЦИОННЫЙ КЛАПАН ДАВЛЕНИЯ … ВОДА ВЫСОКОГО ДАВЛЕНИЯ Гидравлический водяной насос высокого давления HPW Гидравлическая моечная машина HPW Моечная установка высокого давления KPL Система пылеподавления высокого давления HPW-DUST Посетите наш веб-сайт www. 3) 187 (7. Устройство для очистки гидравлических труб DYNASET PPL преобразует гидравлическую мощность передвижной машины в воду под высоким давлением для очистки труб. л/мин … Dynaset Hydraulic Equipment. Инновационная насосная технология обеспечивает оптимальное соотношение мощности и размера.
Гидравлический водяной насос высокого давления Dynaset HPW эффективно преобразует гидравлическую мощность рабочей машины в энергию воды высокого давления.Как официальный британский дистрибьютор Dynaset, мы можем предложить полный ассортимент продукции Dynaset для воды под высоким давлением, включая: . Инструкция по эксплуатации водяного насоса HPW 90 в формате pdf. Инструкции и руководства пользователя Dynaset HPW 220/50-70. 1) 225 (8. Читать далее Сжатый воздух Dynaset — работает на гидравлике Работает на гидравлике Повышение производительности Технология Dynaset повышает производительность мобильных машин, от небольших до тяжелых, за счет добавления новых функций гидравлического оборудования. ₹ 2 лакх.Для облегчения использования насоса; насос самовсасывающий, не требующий давления подачи. Страна/регион назначения. Единственным необходимым источником питания является гидравлический. Все системы пожаротушения Dynaset HPW питаются от основного двигателя транспортного средства. Можно использовать огнетушащую пену с концентрацией 0–6 %.
КОМПЛЕКТ ОБОРУДОВАНИЯ ДЛЯ ПЫЛЕПОДАВЛЕНИЯ СОСТОИТ ИЗ СЛЕДУЮЩИХ КОМПОНЕНТОВ: HPW – high … 2 D O M I Ylöjär o@dynaset. Всасывающие фильтры. Гидравлический насос … Насосы для сжатой воды HPW основаны на запатентованном принципе реализации давления под давлением.Гидравлический компрессор Dynaset, подходящий для установки практически на любом типе рабочей машины, может обеспечивать питание пневматических инструментов, заправлять шины, прокачивать воздух, очищать оборудование и т. д., а также подходит для непрерывного профессионального использования в сложных условиях, таких как разработка карьеров или горнодобывающая промышленность. Водяной насос высокого давления. ВОДЯНОЙ НАСОС ВЫСОКОГО ДАВЛЕНИЯ HPW200/30-45-ST 2021-06-19 Индия Импорт DCS TECHNO SERVICES PRIVATE LIMITED SEAL KIT HPW200/30-45 – V100101155 Начало работы; чугунный дизельный водяной насос; чугунный дизельный водяной насос – Фабрика, Поставщики, Производители из Китая.Kalberweid 139 CH-3635 Uebeschi Новый гидравлический водяной насос высокого давления DYNASET HPW250.
динасет. Эффективная длина промывки и очистки составляет до 100 м на 22 января 2019 года. Чтобы добраться до водяного насоса, наш механик должен снять несколько других компонентов системы охлаждения вашего автомобиля, поэтому разумнее заменить все детали после водяного насоса. терпит неудачу. Гидравлический водяной насос высокого давления (HPW) преобразует гидравлическую мощность рабочей машины в поток и давление перекачиваемой жидкости. В насосе нет вращающегося устройства… Универсальный выбор качественных насосов Dynaset, мембранных насосов Dynaset, магнитных насосов Dynaset, химических насосов Dynaset, насосов A&S и многих других товаров для сельскохозяйственных, бытовых, промышленных или коммерческих целей.Д О М И Юлёяр : o@dynaset. Не перепутайте клапаны при сборке насоса! Водяной насос высокого давления DYNASET HPW эффективно преобразует гидравлическую мощность рабочей машины в энергию воды высокого давления. Несущая рама HPW 200/30-45, с ручкой. • Гидравлические моечные машины и насосы HPW работают по запатентованной технологии без вращающихся частей.
Он обеспечивает давление 800 бар (11600 фунтов на кв. дюйм), 2×5 л/мин (2×1). Гидравлический водяной насос высокого давления DYNASET HPW Номер детали = HPW 1000 / 30–140 Код продукта = D200102590 Прочтите каталог Dynaset на сайте Dynaset Oy на сайте Issuu и просмотрите тысячи другие публикации на нашей платформе.Расход воды и давление регулируются с максимальным расходом 50 литров в минуту при давлении 6670 фунтов на квадратный дюйм. Новая модель насоса производит давление воды 250 бар (3600 фунтов на кв. дюйм) и расход воды 30 л/мин (7). Его выходная мощность составляет 12. Мойка высокого давления Dynaset с гидравлическим водяным насосом высокого давления. Dynaset HPW 800/30-140 Руководства пользователя Помимо прочего, гидравлический насос Dynaset идеально подходит для ежедневной уборки, пылеподавления, гидроабразивной резки, пожаротушения и удаления накипи.0) 29 (63. Гидравлическое оборудование Dynaset преобразует гидравлическую энергию мобильной техники в электричество, воду под высоким давлением, сжатый воздух, энергию магнита, вибрацию и повышение мощности.
Водяной насос Dynaset поставляется со струйным очистным пистолетом. 5 кВт. Технология DYNASET, HPW может работать без воды Новый DYNASET HPTO превращает ваш автомобиль в источник энергии 20. Лучшие страны/регионы, поставляемые Dynaset ВРАЩАЮЩАЯСЯ ГОЛОВКА HY77 Гидравлические водяные насосы высокого давления ПРОИЗВОДИТЕЛЬНОСТЬ Вода высокого давления из гидравлики Уличная мойка является мощным аксессуаром.com РАЗМЕРЫ WHL МОДЕЛЬ РАЗМЕРЫ, мм (дюймы) ВЕС LWH кг (фунты) HPIC 700/10-60 79 (3. В нем используется Dynaset HPW- гидравлический водяной насос высокого давления, который преобразует гидравлическую мощность рабочей машины в воду высокого давления . Дистрибьютор PT Hyprowira menjadi resmi dari Dynaset di Indonesia Быстроразъемные насадки позволяют быстро установить его на любую мобильную машину Активация этой функции означает, что к шприцу будет подаваться постоянная подача давления воздуха, а не к включению и выключению воздуха По мере необходимости.ПЕРЕХОД НА НИЖНИЙ УРОВЕНЬ ДАВЛЕНИЯ 29 6.
Чтобы сделать процесс обезвоживания максимально эффективным, PR Водоснабжение Пластинчатые очистители для хранения На этот раз Калле Васкелайнен из нашего производственного отдела рассказывает о своей работе и о команде DYNASET. Большим преимуществом использования мокрой пескоструйной обработки является отсутствие D O M FI Ylöjär F o@dynaset. майнинг Также найдено в: Энциклопедия, Википедия. Познакомьтесь с лидерами отрасли, формирующими будущее горнодобывающей промышленности в Австралии Финский производитель погрузчиков и навесного оборудования Avant Tecno, более известный как Avant, производит 5700 компактных погрузчиков в год, из которых 85% экспортируется.Sistem penangkapan debu berbasis hanya air berdaya tinggi dengan kabut air ultra halus untuk efek yang Superior. 3) 334 (13. 🔹 Насосы DYNASET — отличный выбор для использования в подводных операциях, поскольку их конструкция выдерживает давление … Категория: Водяной насос высокого давления. Благодаря принципу поршень-гидравлический поршень.
37 л.с. Соотношение размера и размера обеспечивает легкую установку на все мобильные машины, от небольших до тяжелых.Каковы методы предотвращения выхода из строя гидравлического насоса? Все эти детали обсуждаются в этой статье. Регулирующие клапаны 3. Основным усовершенствованием последнего варианта является новый Dynaset Oy Menotie 3, FI-33470 Ylöjärvi, Финляндия, тел: +358 3 3488 200 info@dynaset. 2 D O M 3 I-3340 Ylöjär 358 3 3488 200 o@dynaset. com 3 ТЕХНИЧЕСКИЕ ХАРАКТЕРИСТИКИ HG3,5S-E230SE23-17-VF HG5S-E230SE23-24-VF ВЫХОДНЫЕ ХАРАКТЕРИСТИКИ Выходная мощность макс. Лебедка DYNASET HV и лебедка HVY преобразуют гидравлическую мощность в горизонтальное тяговое усилие.com РАЗМЕРЫ МОДЕЛЬ РАЗМЕРЫ, мм (дюймы) ВЕС LWHABCE кг (фунты) HG4,1W-E230SE54-24-VF 469 (18. 132. Электрические водяные насосы высокого давления мощностью 100 л.с. Великобритания/Ирландия. 4. Nirali Engineering. 9) 352 Система водоструйной очистки под высоким давлением 690 бар основана на стандартном насосе Dynaset HPW. com 5 ПАРАМЕТРЫ HPW-DUST 250 HPW-DUST 250 DOUBLE DUST HPW-DUST 220 DOUBLE DUST HPW-DUST 180 DOUBLE DUST HPW-DUST 130 DOUBLE DUST HPW-DUST 250 МОБИЛЬНАЯ ДРОБИЛКА 1 ЛЕНТА HPW-DUST 220 МОБИЛЬНАЯ ДРОБИЛКА 2 ЛЕНТЫ HPW-DUST 220 МОБИЛЬНАЯ ДРОБИЛКА С 3 РЕМНЯМИ ВОДЯНАЯ СИЛА Основной поток @ … ТЕХНИЧЕСКИЙ ПАСПОРТ ГИДРАВЛИЧЕСКИЕ УСИЛИТЕЛИ ДАВЛЕНИЯ ДЛЯ ЦИЛИНДРА 2 DOM FI Ylöjär F o@dynaset.
ком. Руководства пользователя, руководства и технические характеристики водяного насоса Dynaset HPW 220/50-70. com 50hz ip23 суперкомпактные модели a bhl e w c e p t hg3,5s, hg5s a hle w c f,b e c b b c f p t hg6,5e, hg10e, hg12f a h l e w c D Тип Горизонтальный многоступенчатый питательный насос котла. [email protected] Руководство по эксплуатации водяного насоса Champion 27 страниц. Благодаря износостойкому материалу улитки и рабочего колеса погружные насосы идеально подходят для перекачивания жидкостей, содержащих твердые частицы. com P ELECTRICITY Гидравлический генератор HG HGV Гидравлический генератор переменного тока HWG Гидравлический сварочный генератор HGG Гидравлический генератор наземной энергии ВОДА ВЫСОКОГО ДАВЛЕНИЯ HPW Гидравлический водяной насос высокого давления Гидравлическая моечная машина HPW KPL Моечная установка высокого давления PPL Установка очистки труб высокого давления DOM FI Ylöjär F o@ динасет.1 13 MT9111 4068 00 CAT 1010 Насос 1 14 MT5112 3083 78 Ремень компрессора 1 15 MT3222 3314 66 Dynaset Водяной насос 1 16 MT3222 3314 66B Dynaset Водяной насос 1 Бронзовый блок 17 MT9106 0713 06 Зарядное устройство 1 60AMP 18 MT9106 0713 105 Зарядное устройство 1 105 Разгрузочный клапан Dynaset для гидравлического водяного насоса HPW 220/50-70.
PDF Водоструйная установка с давлением 800 бар Система водоструйной очистки под давлением 800 бар основана на стандартном промышленном насосе Dynaset HPW. Насос HPW имеет лучшее в мире соотношение мощности и размера. com P ELECTRICITY HG Гидравлический генератор HGV POWER BOX Регулируемая гидравлическая генераторная система HGV Регулируемая гидравлическая генераторная система HWG Гидравлический сварочный генератор HGG Гидравлический наземный генератор ВОДА ПОД ВЫСОКИМ ДАВЛЕНИЕМ Гидравлический водяной насос высокого давления HPW Гидравлическая установка для очистки труб DYNASET PPL преобразует гидравлическую мощность мобильной машины в воду под высоким давлением для очистки труб.8) 3/8” 2,5 м … Гидравлический водяной насос DYNASET HPW Гидравлические моечные машины и водяные насосы DYNASET HPW преобразуют гидравлическую энергию мобильной машины в воду под высоким давлением. com P ELECTRICITY HG Гидравлический генератор HGV POWER BOX Регулируемая гидравлическая генераторная система HGV Переменная гидравлическая генераторная система HWG Гидравлический сварочный генератор HGG Гидравлический наземный генератор ВОДА ВЫСОКОГО ДАВЛЕНИЯ Гидравлический водяной насос высокого давления HPW КАК РАБОТАЕТ УСТАНОВКА УЛИЧНОЙ МОЙКИ ВЫСОКОГО ДАВЛЕНИЯ DYNASET KPL? Установка для мойки улиц высокого давления KPL производит воду под высоким давлением, используя мощность гидравлической системы базовой машины.
Пример: Гидравлический водяной насос высокого давления HPW200 – производительность 200 бар / 30 л/мин – мощность воды 10 кВт – вес всего 8 кг – размеры всего 160 x 190 x 243 мм. Подробнее Dynaset — ведущий мировой производитель гидравлических генераторов, стиральных машин, насосов и компрессоров. Устройство KPL кажется совершенно новым, но безопасным и надежным. Ведущая Хелен Карим взяла интервью у инженера отдела исследований и разработок Dynaset Паси Юли-Кяткя о новой модели насоса Водяной насос высокого давления DYNASET HPW эффективно преобразует гидравлическую мощность рабочей машины в мощность воды высокого давления.Компактный размер, прочная и долговечная конструкция позволяют HSP перекачивать даже грязь или воду, содержащую твердые вещества, такие как камни. В дополнение к заводскому гидравлическому генератору Dynaset за 160 долларов Бизнес Промышленное легкое оборудование Инструменты Генераторы Просмотрите и загрузите руководство пользователя Dynaset HPW 90 онлайн. Гидравлический насос для бурового раствора Dynaset — это высокопроизводительный буровой насос, предназначенный для выполнения как самых простых, так и самых тяжелых буровых работ.
На этот раз мы расскажем, как производятся и настраиваются насосы Dynaset, чтобы они работали на самом высоком уровне.1 13 MT9111 4068 00 CAT 1010 Насос 1 14 MT5112 3083 78 Ремень компрессора 1 15 MT3222 3314 66 Dynaset Водяной насос 1 16 MT3222 3314 66B Dynaset Водяной насос 1 Бронзовый блок 17 MT9106 0713 06 Зарядное устройство 1 60AMP 18 MT9106 0713 105 Зарядное устройство 1 105 Запатентованный гидравлический водяной насос высокого давления Dynaset HPW обеспечивает впечатляющую мощность стирки в небольшом устройстве. Гидравлические генераторы HG производят высококачественную электроэнергию мощностью от 3,5 кВА до 350 кВА на частотах 50 или 60 Гц для управления любыми электрическими устройствами мобильного использования.Вернуться к списку товаров Вода высокого давления из гидравликиУличная мойка – мощный аксессуар. Наш рост зависит от превосходных продуктов, больших талантов и многократно усиленных технологических сил для дизельного водяного насоса из чугуна, бетонной виброрейки, дизельного двигателя, водяного насоса, электрического виброплиты.
Название: Microsoft Word – HPW_app_eng_print. Особенности и преимущества • Лучшее в мире соотношение мощности и размера. расход 8 галлонов в минуту, 200 бар (2900 фунтов на кв. дюйм) для промывки буровой установки • Вставки для направляющей штанги 305 мм • Ящик для инструментов с гаечными ключами и лубрикатором для базового обслуживания.Мощность насоса определяется расходом и давлением. ЗАМЕНА УПЛОТНЕНИЙ НАСОСА HPW 29 6. Мойка высокого давления Dynaset HPW 250 с гидравлическим приводом, 250 бар, 30 л/мин. KPL — это компактная уличная мойка «все в одном», работающая по принципу «включай и работай». 1) HPIC … Комплект для промывки водой без водяного насоса Измельчитель Dynaset Grinder Sandvik RG100H Измельчитель Sandvik RG400 Стальные сменные накладки для цепной подачи Запасной дистанционный радиопередатчик Плечевой ремень для дистанционного радиопередатчика Дополнительные руководства, цена будет добавлена в соответствии с прайс-листом Комплект для промывки водой без воды насос Измельчитель Dynaset Grinder Sandvik RG100H Измельчитель Sandvik RG400 Стальные сменные накладки для цепной подачи Запасной пульт дистанционного радиопередатчика Плечевой ремень для дистанционного радиопередатчика Дополнительные инструкции, цена будет … Детали.
Ками menyediakan keseluruhan алат дари Dynaset янь telah dijabarkan sebelumnya ди атас. Мойки высокого давления VT 20 HP, для очистки, 500 бар. Наш партнер по гидравлике высокого давления Dynaset выпустил новый гидравлический водяной насос высокого давления HPW250. Всегда готов к работе Низкое потребление воды Низкое техническое обслуживание Экономия времени, места и ресурсов Особенности В дополнение к диапазону выходной мощности от 10 кВт до 200 кВт, гидравлический … вода для мытья бака.Ни один другой насос не обеспечивает такой же мощности и надежности. com соединительные порты ap tp ap pt ap dtp модель напорная линия обратная линия сливная линия выход воздуха ptd ap hkl 400 bsp 1/2” bsp 1/2” – bsp 3/8” hkl 801 bsp 1/2” bsp 1/2” – bsp 1/2” hkl 1300 bsp 1/2” bsp 1/2” – bsp 1/2” hkl 1800 bsp 1/2” bsp 1/2” – bsp 3/4” Система пылеулавливания высокого давления с гидравлическим приводом Водяной насос Dynaset, направленный шланг с форсункой высокого давления, система полива низкого давления с водяным насосом 12 или 24 В, направленный шланг с форсункой низкого давления, 2- или 4-шланговая гидравлика, обратный клапан 12 или 24 В для щеточного валика.
com 5 6. Гидравлический насос высокого давления Dynaset HPW эффективно преобразует гидравлическую мощность в мощность высокого давления, используя небольшое количество воды и не требуя давления подачи – самый эффективный насос на рынке. 9) 154 (6. Электрический топливный насос Гидравлическая лебедка Ручной топливный насос Электрический подогреватель двигателя 230 В Очиститель выхлопных газов Комплект для промывки воды без водяного насоса Водяной насос для комплекта для промывки водой Измельчитель Dynaset Измельчитель Sandvik RG100H Измельчитель Sandvik RG400 Дополнительные инструкции, цена будет добавляется согласно прайс-листу Первый сервисный комплект для ВОДЯНЫХ НАСОСОВ ВЫСОКОГО ДАВЛЕНИЯ DC120 КРАТКОЕ РУКОВОДСТВО Расположение входных и выходных портов отличается в разных моделях водяных насосов высокого давления.ком www. 111. com P ELECTRICITY HG Гидравлический генератор HGV POWER BOX Регулируемая гидравлическая генераторная система HGV Регулируемая гидравлическая генераторная система HWG Гидравлический сварочный генератор HGG Гидравлический наземный генератор ВОДА ВЫСОКОГО ДАВЛЕНИЯ HPW Гидравлический водяной насос высокого давления Вопрос или предложение? Быстрый ответ, обычно в течение 24 часов.
• HPW Система пылеподавления высокого давления основана на мощном гидравлическом водяном насосе высокого давления Dynaset. В дополнение к заводу Dynaset по продаже продукции высокого давления.Руководства пользователя, руководства и технические характеристики водяного насоса Volt Polska OPTI ECO. В этом тезисе описывается текущая ситуация в компании, конфигурация линии и запуск производственной линии. Он компактен во много раз меньше, чем традиционные водяные насосы высокого давления с такой же выходной мощностью. DYNASET представила новые продукты на выставке Bauma 2016. Водяные насосы высокого давления, компрессоры, генераторы, все с гидравлическим приводом / Финский производитель погрузчиков и навесного оборудования Avant Tecno, более известный как Avant, производит 5700 компактных погрузчиков в год, из которых 85% экспортируется.com Menotie 3 FI-33470 Ylöjärvi, Финляндия тел: +358 3 3488 200 info@dynaset. Приходят системы PPL… Моечная установка высокого давления DYNASET KPL – мощное вспомогательное оборудование.
РУКОВОДСТВО ПОЛЬЗОВАТЕЛЯ. com 3 ГИДРАВЛИЧЕСКАЯ ПЕРЕРАБОТКА ВАКУУМНОГО КОВША ВОДА ВЫСОКОГО ДАВЛЕНИЯ HPW Гидравлический водяной насос высокого давления HPW Гидравлическая моечная машина KPL Моечная установка высокого давления HPW-DUST Система пылеподавления высокого давления 2 D O M FI Ylöjär F o@dynaset. В линейке гидравлических водяных насосов высокого давления Dynaset HPW появилась новая модель насоса HPW 160.Категория: Водяной насос Насосы Gormann-rupp серии 0. расход: 200 л/мин: макс. 9) HPIC 700/30-200 124 (4. 4 поставки (100. долговечность и надежность). Новый гидравлический водяной насос высокого давления DYNASET HPW160 идеально подходит для пылеподавления и мойки под давлением. Эта версия Dynaset HPW 1000 Manual совместима с такими список устройств, таких как: HPW … Водяной насос высокого давления Dynaset HPW эффективно преобразует гидравлическую мощность рабочей машины в энергию воды высокого давления HPW-Pump 2.База данных содержит 1 руководство по эксплуатации Dynaset HPW 250 (доступно для бесплатного онлайн-просмотра или загрузки в формате PDF): Руководство по эксплуатации и руководство пользователя .
ОСНОВНЫЕ КОМПОНЕНТЫ СИСТЕМЫ HPW-DUST Рисунок 2: Основные компоненты системы HPW-DUST 1. Таким образом, насосы с противоположным вращением могут достигать КПД на 10% выше. кВА 40 Выходное напряжение* В 120/208 ВОДА ВЫСОКОГО ДАВЛЕНИЯ Гидравлический водяной насос высокого давления HPW Гидравлическая моечная машина HPW KPL Моечная установка высокого давления HPW-DUST Пыль высокого давления … ГИДРАВЛИЧЕСКИЙ НАЗЕМНЫЙ ГЕНЕРАТОР ТЕХНИЧЕСКИЕ ДАННЫЕ 2 D O M FI Ylöjär F [email protected] D O M 3 I-33470 Ylöjär 358 3 3488 200 o@dynaset. кВА 3,5 6,5 10 ВОДА ВЫСОКОГО ДАВЛЕНИЯ Гидравлический водяной насос высокого давления HPW Гидравлическая мойка высокого давления HPW Моечная установка высокого давления KPL Уличная мойка высокого давления HPW-DUST Пыль высокого давления Стоимость замены водяного насоса обычно высока и может варьироваться от 350 до 1000 долларов США. электрические насосы для сточных вод electropompes погружные налить liquides заряды electrobombas sumergibles пункт liquidos Каргадос elektrischen Abwasser – tauchmotorpumpen electrobombas submersÍveis пункт lÍquidos carregados ΥΠΟΒΡΥΧΙΕΣ ΗΛΕΚΤΡΑΝΤΛΙΕΣ ΓΙΑ ΛΥΜΑΤΑ Codice .
.. 11 mt3177 3085 00 Шестеренчатый насос 1 12 mt9111 4068 51 кошка насос муфта в сборе.Из-за высокого давления насос дает большую мощность воды при небольшом количестве воды. +358 3 3488 200 факс; +358 3 3488 221 . Металлическая бутылка для антифриза для защиты от ночного замерзания на 10 литров и резервуар для пены на 20 литров для впрыска пены через DYNASET PUMP. Гидравлическая моечная машина HPW, также известная как гидравлическая мойка высокого давления, является наиболее распространенным применением мойки высокого давления с насосом. Команда нашей компании … Volt Polska OPTI ECO Инструкции и руководства пользователя. Гидравлический водяной насос высокого давления DYNASET JPL преобразует гидравлическую энергию автомобиля или воду под высоким давлением для промывки мусорных баков.8) 3/8” 2,5 м HPW250 MOBI HPW 250 30 250 10 (32. HV и HVY — компактные агрегаты, предназначенные для прокладки трубопроводов воды/газа/нефти на поверхности без земляных работ. DYNASET на выставке FinnMETKO 2018.
Продукция Dynaset используется для сотен применений в различных отраслях промышленности по всему миру Вода под высоким давлением для пылеподавления Мощная система пылеподавления на основе чистой воды с ультратонким водяным туманом для превосходного эффекта Контактная форма Интегрируется в навесную головку базовой машины или где подавление пыли необходимо, чтобы получить максимальный эффект.Огромная мощность воды может быть достигнута с очень небольшим количеством воды благодаря высокому давлению. Aplikasi: Pengurangan debu di tambang, lokasi pembongkaran, материал области penanganan, daur ulang dan pengelolaan limbah, dll. Перекачиваемая вода или другая жидкость может быть взята из природного источника, резервуара или источника под давлением. Единственным необходимым источником питания является гидравлический погружной электронасос серии k+ k m150n elettropompe sommergibili per liquidi carichi. Мойка высокого давления Dynaset – 200 бар / 2900 фунтов на квадратный дюйм при 30 л/мин.ВОДЯНЫЕ НАСОСЫ ВЫСОКОГО ДАВЛЕНИЯ HPW 90 HPW 220 HPW 460 HPW 1000 HPW 130 HPW 300 HPW 520 HPW 1200 HPW 180 HPW 420 HPW 800 HPW 1600 HPW 200 ред.
вход воды pt cmp wp s hdf 40 /40-8 bsp 1/2” bsp 1/2” – bsp 1/2” bsp 3/4” hdf 90 /150-85 bsp 3/4” bsp 3/4” bsp1 /8” bsp 1” bsp 2” Водонагреватели высокого давления Инжекторные насосы Dynaset Устройство мытья улиц включает в себя: + Гидравлический насос высокого давления Dynaset + Труба для мытья улиц + Пистолет-распылитель + Напорный шланг 10 метров + Гидравлический поворотный механизм мойки улиц Дополнительные компоненты : + Резервуар для воды (входит в комплект поставки некоторых моделей) + Быстросъемный переходник + Трубка для промывки защитного барьера, короткая Выходной поток воды регулируется линейно в диапазоне от 0 до 100 % путем управления гидравлическим потоком, поступающим в насос.Пескоструйная головка полезна для удаления старой краски и ржавчины с металлических поверхностей перед покраской лодок, мостов, автомобилей, фасадов и т. д. KPL производит воду под высоким давлением, которая глубоко очищает улицы LS-контроль давления воды. com ВНИМАНИЕ! Пружина нагнетательного клапана имеет меньше витков, чем пружина всасывающего клапана.
Гидравлический водяной насос Мощность гидравлического водяного насоса. Привод осуществляется от гидросистемы базовой машины или другой гидроустановки.Эта система имеет распылительную головку высокого давления, прикрепленную к водяной пушке. майнинг определение майнинга по The . В системе используется водяной насос высокого давления Dynaset с гидравлическим приводом, номер модели HPW 460/50/115. Гидравлический водяной насос высокого давления Устройство для мойки улиц высокого давления High DYNASET HPW Гидравлический водяной насос высокого давления Номер детали = HPW 1600 / 15 – 140 Код продукта = D200102700 В верхней части пластикового резервуара для воды выделяется стандартный водяной насос высокого давления HPW 200 и водяной пистолет с катушкой для шланга рядом с ним.ОЧИСТКА УСТАНОВКИ ВОУ 28 6. com ВОДА ВЫСОКОГО ДАВЛЕНИЯ HPW Гидравлический водяной насос высокого давления HPW Гидравлическая моечная машина KPL High Pressure Street 11 mt3177 3085 00 Шестеренчатый насос 1 12 mt9111 4068 51 Cat Муфта насоса в сборе.
Система создает эффективную защиту от пыли под высоким давлением при оптимальном расходе воды. Регулировка скорости вращения Скорость вращения барабана для шланга устанавливается путем регулировки потока гидравлического масла, которое приводит в действие двигатель барабана. HPW имеет лучшее в мире соотношение мощности и размера. Посетите наш сайтwww.Производит воду под высоким давлением для любого мобильного применения. Новый гидравлический водяной насос высокого давления DYNASET HPW250 22 января 2019 г. Longwall Hydraulics предлагает гидравлический водяной насос высокого давления HPW250, который можно использовать для очистки труб и мойки улиц, а также для мойки высокого давления. динасет. Насосы HPW охватывают диапазон мощности 10-200 кВт, давление 90-1600 бар и расход. Уникальная конструкция гидравлического насоса для бурового раствора Dynaset состоит в том, что сам насос использует обратное линейное движение гидравлического поршня. Его гидравлический водяной насос высокого давления Dynaset имеет десятки различных вариантов.
ИНТЕРВАЛ ТЕХНИЧЕСКОГО ОБСЛУЖИВАНИЯ 27 6. DY Astr POWERED BY HYDRAULICS I Menotie 3, finlcnd tel. ВОДЯНОЙ НАСОС ВЫСОКОГО ДАВЛЕНИЯ − Dynaset Oy Предметом данной диссертации является внедрение и развитие производственной линии гидравлических водяных насосов высокого давления в Dynaset Oy. ЭФФЕКТИВНОЕ СВЯЗЫВАНИЕ ПЫЛЕВЫХ ЧАСТИЦ И НИЗКИЙ ПОТРЕБЛЕНИЕ ВОДЫ ЯВЛЯЮТСЯ ОСОБЕННОСТЯМИ СИСТЕМЫ ПОДАВЛЕНИЯ ВОДЫ DYNASET. Это все. Руководства пользователя, руководства и технические характеристики водяного насоса Dynaset HPW 250. 4 февраля · Уход за недвижимостью намного проще с хорошим оборудованием.Великобритания и Ирландия. Системы PPL поставляются с различными размерами и комбинациями насосов. База данных содержит 1 руководство по эксплуатации Dynaset HPW 800/30-140 (доступно для бесплатного онлайн-просмотра или скачивания в формате PDF): Инструкция по эксплуатации. • Гидравлический водяной насос Dynaset HPW 200/30 -30 л/мин (7. НАСОС (ШЕСТЕРЕННЫЙ) ДЛЯ ПРОМЫШЛЕННОГО ИСПОЛЬЗОВАНИЯ HYD196 VDC-1B-1A2-U-20.
В комплект входит водяной насос высокого давления Dynaset достаточной мощности – часто насос HPW 460/50-115.com ГИДРАВЛИЧЕСКИЙ ПОРШНЕВОЙ КОМПРЕССОР Гидравлические поршневые компрессоры DYNASET HK представляют собой компактные интегрированные агрегаты «все в одном», специально разработанные для мобильной установки.В дополнение к заводскому руководству по программированию. Vancouver High Pressure Systems Private Limited. 5. Прочтите журнал Dynaset № 3 за 2013 г. от Dynaset Oy на Issuu и просмотрите тысячи других публикаций на нашей платформе. ВОДЯНЫЕ НАСОСЫ ВЫСОКОГО ДАВЛЕНИЯ. Насос HPW является отличным помощником в ежедневных работах по уборке и других работах, где есть надежная вода под высоким давлением […] Финский производитель погрузчиков и навесного оборудования Avant Tecno, более известный как Avant, производит 5700 компактных погрузчиков в год, из которых 85% экспортируется.Проверьте, как наши продукты могут помочь в сфере обслуживания недвижимости! Насосы Консалт. Первоначально специализировался на карданных валах Ateliers M.
com 3 ТЕХНИЧЕСКИЕ ХАРАКТЕРИСТИКИ HG40C-U415SS23-108-K ВЫХОДНЫЕ ХАРАКТЕРИСТИКИ Выходная мощность макс. Водяной насос высокого давления HPW. КПЛ Уличная мойка. 💪 – Я отвечаю за производственную ячейку по сборке гидравлических водяных насосов высокого давления типа HPW 90 и HPW 220. Насос можно установить на буровой www. Категория: Водяной насос высокого давления. + 358 3 3488 200 info@dynaset.Насосы Dynaset HPW обеспечивают давление воды до 1600 бар. com MAG LIFTING MAGNET ТЕХНИЧЕСКИЕ ХАРАКТЕРИСТИКИ ВОДА ВЫСОКОГО ДАВЛЕНИЯ Гидравлический водяной насос высокого давления HPW Гидравлическая моечная машина HPW KPL Моечная установка высокого давления Система пылеподавления высокого давления HPW-DUST Компания DYNASET является ведущим производителем гидравлических генераторов, моек высокого давления и компрессоров в мир. Загрузите бесплатно руководство по эксплуатации и эксплуатации водяного насоса Dynaset HPW 1000 или просмотрите его в Интернете на сайте All-Guides. 8) 3 (9. кВА 3,5 5 ВОДА ПОД ВЫСОКИМ ДАВЛЕНИЕМ HPW Гидравлический водяной насос высокого давления HPW Гидравлический моечный аппарат KPL Устройство для мытья улиц высокого давления HPW-DUST Пылеудаление под высоким давлением … HPW 200/30-45.
Распыленная вода, похожая на туман, связывает даже мельчайшие частицы пыли и заставляет их падать контролируемым образом. Устройство для мытья улиц высокого давления DYNASET KPL преобразует гидравлическую мощность мобильной машины в воду под высоким давлением для мытья улиц. Небольшой размер, малый вес и прочная конструкция делают насос HPW очень экономичным. Клапаны Консультация. шланг для воды, барабан для шланга, моечный пистолет – Резервуар(ы) для воды, общий объем 3500 литров (бак для пресной воды 2000 л DYNASET Oy. Уличная мойка высокого давления DYNASET KPL является мощным аксессуаром.Выходной поток воды линейно регулируется в диапазоне от 0 до 100 % путем управления гидравлическим потоком, подаваемым на насос. Гидравлический водяной насос высокого давления HPW250 представлен на стенде Dynaset FN 1118/1 на выставке Bauma 2019. Система мойки мусоросборника включает в себя: – водяной насос высокого давления Dynaset HPW180 – 2 гидравлически вращающиеся форсунки – 2 трубы поворотной форсунки – 15 м.
10 HG – 50 Гц, IP23. ВОДЯНОЙ НАСОС МОДЕЛЬ РАЗМЕРЫ ВЕС HPW 200/30-45 HPW 420/20-50 HPW 220/50-70 HPW 520/30-85 HPW 90/150-85 HPW 180/90-115 HPW 460/50-115 HPW 130/ 180-140 D200102380 высокого давления водяной насос HPW130 / 180-140 1 1 0400000148 центральный корпус88 1 2204329000 уплотнительное кольцо 87 1 3 8107367000 блокировки кольца 85 1 4 0400051299 гидравлический поршень, сборка 90 1 5 0400051059 гидравлический поршень 90 1 15000 Orilfice G -M5 2 8 2204042000 Уплотнительное кольцо 42 2 паспорт гидравлического насоса для бурового раствора 6 dom fi ylöjär fo@dynaset.ПРИВОДИТСЯ К ГИДРАВЛИКЕ Pioneer 27 лет; электричество, вода под высоким давлением, сжатый воздух Dynaset Hydraulic Equipment. Ассортимент водяных насосов высокого давления Dynaset от Mobile Energy Australia эффективно преобразует гидравлическую мощность рабочей машины в энергию воды высокого давления. Поскольку видео на финском языке, вот краткий комментарий на английском языке. 11 mt3177 3085 00 шестеренчатый насос 1 12 mt9111 4068 51 муфта насоса cat в сборе.
Руководство по установке серии водяных насосов Barnes 12 Dynaset Oy Menotie 3, FI-33470 Ylöjärvi, Финляндия тел: +358 3 3488 200 info@dynaset.Всасывающий шланг + фильтры с кулачковой муфтой. Единственный необходимый источник энергии — гидравлический. Катушка для гидравлического шланга Dynaset предназначена для удобного хранения на рабочем месте, а также для быстрого и безопасного обращения со шлангом высокого давления. com 3 ТЕХНИЧЕСКИЕ ХАРАКТЕРИСТИКИ HRC 55/30-80 НАПРЯЖЕНИЕ ВОДА ПОД ВЫСОКИМ ДАВЛЕНИЕМ HPW Гидравлический водяной насос высокого давления HPW Гидравлический моечный аппарат HSP Гидравлический погружной насос СЖАТЫЙ ВОЗДУХ HK Гидравлический поршневой компрессор HKL Гидравлический пластинчато-роторный компрессор HKR Гидравлический винтовой Dynaset Oy Menotie 3, FI- 33470 Юлёярви, Финляндия, тел.: +358 3 3488 200 info@dynaset.Поршень, который движется вперед и назад и напрямую преобразует гидравлическое масло в давление воды. Управление поршнем осуществляется с помощью чисто механических переключающих клапанов.
Водоотливной насос PR Water понизит уровень грунтовых вод перед любыми земляными работами, чтобы гарантировать, что в процессе строительства будет безопасная поверхность для работы. 5) 379 (14. +33 (0)3 29 57 58 93 Dynaset Hydraulic Equipment. Новый насос Dynaset HWP250 со шланговым барабаном и нагнетательным пистолетом обеспечивает очень компактную и эффективную установку. Подробнее Гидравлический погружной насос HSP Гидравлический погружной насос DYNASET HSP Насос преобразует гидравлическую мощность мобильной машины, транспортного средства или судна в мощность перекачивания большого объема воды.Благодаря выдающейся долговечности и лучшему в мире соотношению мощности и веса наша линейка водяных насосов высокого давления обладает универсальностью, необходимой для решения повседневных задач. чугунный дизельный водяной насос; чугунный дизельный водяной насос – Фабрика, Поставщики, Производители из Китая. Карданный вал постоянно расширял ассортимент предлагаемой продукции с момента своего создания в 1975 году.
Экономически непревзойденный Dynaset; водяной насос высокого давления; назад. Мы не только приложим все усилия, чтобы предоставить фантастические экспертные услуги каждому покупателю, но также готовы получить любые предложения от наших потенциальных клиентов в отношении водяного пистолета, аксессуаров для мембранных насосов, мембранных насосов постоянного тока 12 В, давления для мойки автомобилей, интеллектуальных насосов.Он компактен, во много раз меньше, чем традиционные водяные насосы высокого давления той же мощности. Новый Dynaset HPW 160 идеально подходит для борьбы с пылью. Опубликовано 3 сентября 2021 г., 15:21. Дайнасет | Система пылеподавления Dynaset HPW DUST представляет собой полный комплект, который включает в себя: • насос HPW • клапан гидравлической установки с постоянным контролем давления воды • форсунки пылеподавления высокого давления • сетки для каждой форсунки • комплект проводки • моечный пистолет и шланг 10 м Дополнительные аксессуары: форсунка блоки, шланг 20 м и барабан, бак для воды гидравлический контур гидравлического водяного насоса с клапаном-ограничителем потока.
+33 (0)3 29 57 58 93 www. Финский производитель погрузчиков и навесного оборудования Avant Tecno, более известный как Avant, производит 5700 компактных погрузчиков в год, из которых 85% экспортируется. Вместе с гидравлическим водяным насосом высокого давления Dynaset HPW барабан для шланга объединяет основные элементы профессионального оборудования для очистки труб. Мойщик улиц — это машина, которая используется для очистки дорог, обычно в городских и промышленных районах, с водяным насосом высокого давления и резервуаром для воды. В нем используется гидравлический водяной насос высокого давления Dynaset HPW, который преобразует гидравлическую мощность рабочей машины в воду под высоким давлением.В нем используется Dynaset HPW — гидравлический водяной насос высокого давления, который преобразует гидравлическую мощность рабочей машины в воду под высоким давлением. Тип файла: PDFРазмер файла: 3 МБ загрузить STUMATEC AG. 21 января 2022 г. ₹ 3. Моечный пистолет с одинарной или двойной трубкой распыления от 50 л/мин до 120 л/мин (125 – 3000 бар) Моечный пистолет с электрическим управлением от 15 л/мин до 50 л/мин (250 – 2000 бар) бар) Напорные шланги.
Один из наших уважаемых клиентов, компания Whittaker Contracting в Оранже, недавно завершила капитальный ремонт вакуумного грузовика своего клиента, а также установила некоторое оборудование Dynaset с гидравлическим приводом для подачи воды под высоким давлением.Дари banyaknya produk янь disediakan oleh Dynaset, semuanya bisa Anda dapatkan sekarang juga ди Индонезии. com РАЗМЕРЫ МОДЕЛЬ РАЗМЕРЫ, мм (дюймы) ВЕС LWHABCE кг (фунты) HG15,1W-E400ST54-63-K 567 (22. расход: 150 л/мин: макс. Подробнее DYNASET HPW 220 Гидравлический водяной насос высокого давления получил новый дизайн в сентябре 2021 г. www.Dynaset выпустила новый гидравлический водяной насос высокого давления HPW250.Индия.Моечный робот поставляется со штангами, форсунками для 3D-промывки, резервуаром для воды и установочными клапанами.5 (29. ГИДРАВЛИЧЕСКИЕ УСТРОЙСТВА) рабочий день. Блоки питания Dynaset. Руководство по установке серии водяных насосов Barnes 12 HPW — ВОДЯНЫЕ НАСОСЫ ВЫСОКОГО ДАВЛЕНИЯ ОБЩИЕ ПРИМЕЧАНИЯ DYNASET Насос HPW представляет собой преобразователь, который преобразует мощность рабочей жидкости, обычно гидравлического масла, в мощность перекачиваемой жидкости, которая определяется расходом и давлением.
Области применения: пылеподавление в карьерах, на участках сноса, в зонах обработки материалов, при переработке и переработке отходов. Гидравлический водяной насос высокого давления HPW250 представлен на стенде Dynaset FN 1118/1 на выставке Bauma 2019.Наша специальность – это опыт наших механиков, которые всегда стремятся предложить наилучший сервис. В нем используется Dyna-set HPW — гидравлический водяной насос высокого давления, который преобразует гидравлическую мощность рабочей машины в воду под высоким давлением. 1. HPW-SAND-250 – Пескоструйная установка для водяных насосов высокого давления. Начало здесь! Гидравлические погружные насосы Fast Flow имеют компактные размеры и большую пропускную способность. 00 GEAR PUMP GR2 FIXED DISPL (ШЕСТЕРЕННЫЕ НАСОСЫ С ПРИВОДОМ ГИДРАВЛИЧЕСКОЙ ЖИДКОСТИ (ИСКЛ. Гидравлический генератор DYNASET, который используется в компактных и интегрированных устройствах «все в одном»), специально разработанных для мобильной установки.2 D O M I Ylöjär o@dynaset.
Барабан для шланга Dynaset управляется ручным (стандартно) или электромагнитным (дополнительно) регулирующим клапаном с положениями блокировки, наматывания и свободного вращения. Благодаря высокому давлению насос дает большую мощность воды с sm info@dynaset. com ГИДРАВЛИЧЕСКИЙ ВИНТОВОЙ КОМПРЕССОР Гидравлические винтовые компрессоры DYNASET HKR представляют собой компактные интегрированные устройства «все в одном», специально разработанные для мобильной установки. Температура жидкости, транспортируемой насосами типа D, не может превышать 80℃.Новый насос может Dynaset Hydraulic Equipment. 2) 262 (10. Гидравлический водяной насос высокого давления Dynaset HPW200/30-45-ST Номер детали = D200101180 Dynaset Hydraulic Equipment. Водяной насос высокого давления Nirali Electric 10 л.с. , génératrices , tout à entraînementhydraulique / RSL HYDRO, дистрибьютор финской продукции DYNASET. Гидравлический генератор DYNASET HG преобразует гидравлическую энергию мобильной машины в электричество. 4) 30 (66.
19 апреля 2020 г.)Водяной насос: Dynaset HDF 90/150-85: макс. com 3 ГИДРАВЛИЧЕСКИЕ ПОГРУЖНЫЕ НАСОСЫ ТЕХНИЧЕСКИЕ ХАРАКТЕРИСТИКИ HSP 600 /5-38 HSP 1500 /5-40 HSP 2600 /5-50 HSP 4000 /5-100 HSP 7000 /5-169 HSP 10000 /5-200 HSP 16000 /5- 317 ВЫХОДНЫЕ ХАРАКТЕРИСТИКИ Расход макс. Производительность Насос HPW имеет лучшее в мире соотношение мощности и размера. DYNASET … Гидравлический водяной насос 210 бар. Я., Джика Anda berpikir sulit untuk membeli алат Dynaset ди Индонезии, Anda salah besar. Благодаря высокому давлению насос дает большую мощность перекачки при небольшом количестве перекачиваемой жидкости.Для гидравлического оборудования от Dynaset инструмент способен преобразовывать гидравлическую энергию в электричество, воду под высоким давлением, сжатый воздух, магниты, в вибрации. Единственный необходимый источник энергии — гидравлический 🔷 Насосы DYNASET могут перекачивать морскую воду, буровые растворы, дезинфицирующие жидкости, химикаты и многие другие жидкости практически в любой среде.
com СТАНДАРТНЫЕ МОДЕЛИ PPL МОДЕЛЬ НАСОС РАСХОД ВОДЫ РЕГУЛИРОВАНИЕ ДАВЛЕНИЯ ВОДЫ КАТУШКА ШЛАНГ л/мин бар M = ручной E12 = электрический 12 В E24 = электрический 24 В Диаметр (мм) Диаметр (дюймы) Длина (м) PPL 200 HPW 200 30 200 M / E12 / E24 500 3/8” 50м PPL 220 HPW 220 50 220 M / E12 / E24 500 1/2” 50м ГИДРАВЛИЧЕСКИЙ ПОГРУЖНОЙ НАСОС DYNASET HSP ПРЕОБРАЗОВАЕТ ГИДРАВЛИЧЕСКУЮ МОЩНОСТЬ МОБИЛЬНОЙ МАШИНЫ В БОЛЬШУЮ МОЩНОСТЬ НАСОСА.com гидравлические порты dptahleeedbwc модель напорная линия обратная линия дренажная линия ptd hg30i-e400ss23-120-k bsp 3/4” bsp 1” bsp 1/4” В системе HPW Dust используется водяной насос высокого давления Dynaset HPW, который преобразует гидравлическую мощность в воду под высоким давлением. КОНТАКТЫ Menotie 3 33470 Ylöjärvi ФИНЛЯНДИЯ тел. Насос HPW — отличный инструмент для ежедневных работ по уборке и других работ, где требуется надежная подача воды под высоким давлением. Гидравлический водяной насос высокого давления Dynaset HPW эффективно преобразует гидравлическую мощность рабочей машины в энергию воды высокого давления.
Вода под высоким давлением распыляется непосредственно на обрабатываемую поверхность через специальные форсунки. Dynaset Pump 5 K Water Blaster Характеристики Обычное применение включает в себя очистку от морской растительности с подводного оборудования и конструкций перед проверкой и применение высокого давления для разрушения твердых материалов в иле для облегчения дноуглубительных работ. Большие вещи определенно приходят в маленьких упаковках. Этот гидравлический погружной насос на 3000 галлонов в минуту достаточно мал, чтобы поместиться в пикап, и достаточно велик, чтобы приводить в действие гидравлические водяные насосы высокого давления.База данных содержит руководства по эксплуатации 1 Volt Polska OPTI ECO (доступны для бесплатного онлайн-просмотра или загрузки в формате PDF): Руководство . Объем резервуара для сточных вод превышает количество воды для промывки 400 небольших бункеров. Как это работает Новый гидравлический вакуумный ковш HRVB уже здесь! Гидравлический водяной насос высокого давления DYNASET JPL преобразует гидравлическую энергию автомобиля или воду под высоким давлением для промывки мусорных баков.
Вопрос или запрос цитаты? Быстрый ответ, обычно в течение 24 часов. В дополнение к заводскому гидравлическому генератору Dynaset за 160 долларов Бизнес Промышленное легкое оборудование Инструменты Генераторы.Фильтр на входе воды 4. Благодаря высокому давлению насос обеспечивает большую мощность воды с помощью см. Dynaset стремится максимально использовать пространство, поэтому соотношение мощности и размера является непревзойденным. 0 Поздравляю! Вы только что приобрели гидравлическое оборудование DYNASET! Гидравлический водяной насос 210 бар. 3. 8) HPIC 700/30-100 124 (4. Мощный насос предварительно собран, и команда PR Water поможет с установкой. Однако важно знать, что перекачиваемая жидкость и условия эксплуатации могут влиять на то, что требуется от насос.Свободный поток. Разгрузочный клапан Dynaset, манометр и 4 резиновых опоры для гидравлического водяного насоса HPW 200/30-45-ST. ком для получения подробной информации. Насос сертифицирован ATEX и предназначен для перекачивания во взрывоопасной среде: – легковоспламеняющихся жидкостей – воды с присутствием взрывоопасных паров – базовых нефтяных жидкостей, – насыщенных жидкостей и жидкостей с высокой вязкостью Расход до 800 л/мин, вода напор 35 метров мощностью … л.
с. гидравлический генератор техпаспорт 4 dom fi ylöjär [email protected]) 13. НАСОС (ЛОПАСТНОЙ НАСОС) HYD199VDR-11B-1A3-1A3-U-6117C. Просмотр продуктов Пылеподавление высокого давления Система пылеподавления HPW значительно повышает эффективность работы и безопасность на стройплощадках. doc 2 D O M 3 I-33470 Ylöjär 358 3 3488 200 o@dynaset. Уличные мойки используются для глубоких систем Trii-Plex Jettech. 11 HG – 50 Гц, IP23 HG 15 65 HG 20 92 HG 20 60 HG 30 120 HG 30 90 Гидравлическое оборудование Dynaset. Надежная и компактная конструкция поршень-поршень без … 42 Dynaset Oy enotie 3, FI-33470 Yljrvi, Финляндия тел: 358 3 3488 200 infodynaset.com РАЗМЕРЫ A H L E W E C B P T РАЗМЕРЫ МОДЕЛИ, мм (дюймы) ВЕС L W H A B C E кг (фунты) HGG 200 – 33 528 (21) 360 SP21 представляет собой компактный и мощный погружной насос для мусора с чугунным гидравлическим двигателем. от 20 л/мин до 300 л/мин. Гидравлическое оборудование Dynaset преобразует гидравлическую энергию мобильной машины в электричество, воду под высоким давлением, сжатый воздух, магнит и вибрацию.
Водяной насос высокого давления Dynaset HPW 200 /30-45-ST с гидравлическим приводом. В этом тезисе описывается текущая ситуация в компании, конфигурация линии… Гидравлический водяной насос высокого давления DYNASET HPW Номер детали = HPW 250 / 30 – 40 – ST Код продукта = D200104600 Система пылеподавления DYNASET HPW-DUST преобразует гидравлическую мощность мобильной машины в водяной туман высокого давления.0%) Легкий доступ к торговым данным. Насос DYNASET HPW преобразует поток гидравлического масла базовой машины в воду под высоким давлением. Новый Dynaset HGV Power Box представляет собой регулируемую гидравлическую генераторную систему, состоящую из пяти модулей: гидравлический генератор Dynaset HG, масляный бак, охладитель, высокоскоростной гидравлический насос Dynaset, а также мощные водоотливные насосы SP55 и SP65 для грязных вод, грязных вод и земляных работ. воды, предназначенные для использования и в качестве аксессуаров для экскаваторов и обратно. Ваш комплексный поставщик качественных водяных насосов, мембранных насосов, магнитных насосов, химических насосов и многого другого для сельскохозяйственных, бытовых, промышленных или коммерческих целей.
Водяные форсунки высокого давления 5. HSP производит расход воды от 800 л/мин до 20 000 л/мин в зависимости от модели. Также для: 130 л.с., 180 л.с., 220 л.с., 200 л.с., 320 л.с., 300 л.с., 420 л.с., 360 л.с., 1000 л.с., 800 л.с., … 2 Dynaset Oy Menotie 3, FI-33470 Ylöjärvi, Финляндия тел: +358 3 3488 200 info@dynaset. com СТАНДАРТНЫЕ МОДЕЛИ HPW MOBI МОДЕЛЬ НАСОС РАСХОД ВОДЫ ДАВЛЕНИЕ ВОДЫ ДЛИНА ШЛАНГА ДЛИНА ВСАСЫВАЮЩЕГО ШЛАНГА ГИДРАВЛИЧЕСКИЕ ШЛАНГИ л/мин бар м (футы) м (футы) Диаметр (дюймы) Длина (м) HPW220 MOBI HPW 220 50 220 10 (32.Гидроциклон Консалт. 2“воздушно-водяной вертлюг 30 бар; превентор шлама для обсадной колонны max 219; новые скользящие профили в телескопической мачте; заменено много гидравлических шлангов; регулярно поддерживается; демпфер дрифтера недавно капитально отремонтирован (новые уплотнения и т. д.) новый водяной насос / neue wasserpumpe dynaset hpw 200; длина шлангов между блоком питания и станком увеличилась до 40 м. Журнал Mining Magazine – Последние новости горнодобывающей промышленности и инвестиций.
9 галлонов в минуту). Электронная почта друзьям Поделиться в Facebook — открывается в новом окне или вкладке Поделиться в Twitter — открывается в новом окне или вкладке Поделиться в Pinterest — … Инструкции и руководства пользователя Dynaset HPW 250.Эта же технология также использовалась компанией при разработке систем пылеподавления для мобильных установок. Расход воды на выходе линейно регулируется в диапазоне от 0 до 100% путем управления гидравлическим потоком, подаваемым на насос. Это отличное устройство для очистки и промывки труб, канализации, дренажа или удаления льда. Отправить по электронной почте друзьям Поделиться в Facebook — открывается в новом окне или вкладке Поделиться в Twitter — открывается в новом окне или вкладке Поделиться в Pinterest — … Новая модель гидравлического водяного насоса высокого давления Dynaset HPW «HPW 160-18/18» специально разработана для включения своих систем пылеподавления высокого давления HPW-Dust, а также может использоваться в качестве мойки высокого давления.
Dynaset — мировой лидер в производстве генераторов, промывочных насосов и гидравлических компрессоров. 3) 177 (7. Добыча полезных ископаемых, или король, представляет собой форму добычи полезных ископаемых, при которой струи воды под высоким давлением выбивают горную породу. См. онлайн руководство пользователя и книгу запасных частей для водяного насоса RTH DEN-JET CE40-230 или просто нажмите кнопку «Загрузить», чтобы ознакомьтесь с рекомендациями RTH DEN-JET CE40-230 в автономном режиме на своем настольном или портативном компьютере. HPW имеет лучшее в мире соотношение мощности и размера. Это устройство специально разработано для обеспечения работы пылезащитных приложений HPW, а семейство продуктов HPW Dust для борьбы с пылью при сносе зданий и горнодобывающей промышленности.Дата создания: 20161107201120Z Базовая система поставляется с легко устанавливаемым водяным насосом высокого давления, моющим пистолетом и катушкой для шланга. Многоступенчатые водоцентробежные насосы типа Д и ДГ используются для перекачивания чистой воды без твердых частиц и жидкостей с физико-химическими свойствами, близкими к чистой воде.
Технология противообледенительной обработки Dynaset обеспечивает быструю и высокоэффективную работу ГИДРАВЛИЧЕСКОГО ГЕНЕРАТОРА HG. База данных содержит 1 руководство по эксплуатации Dynaset HPW 220/50-70 (доступно для бесплатного онлайн-просмотра или скачивания в формате PDF): Инструкция по эксплуатации.Хотя отдельные затраты на детали довольно дешевы, рабочая сила 8413 х. Он во много раз компактнее традиционных водяных насосов высокого давления той же мощности. Конструкция представляет собой надежную и компактную конструкцию поршень-поршень без вращающихся частей, в отличие от традиционных водяных насосов. Сухие, частицы будут плавать в воздухе. Гидравлические насосы Dynaset предназначены для быстрой и эффективной перекачки воды, грязи и других жидкостей.галлонов в минуту) гидравлической мощности. Мы являемся австралийскими агентами для: плунжерных насосов Kamat, оборудования с гидравлическим приводом Dynaset, водяного оборудования высокого давления Dynajet, фильтров Seebach, горнодобывающего и туннельного оборудования Neuhauser.
Водяной насос высокого давления Dynaset HPW эффективно преобразует гидравлическую мощность рабочей машины в воду высокого давления. сила. В новой конструкции головки насоса, являющиеся правым и левым торцами насоса, выполнены из латуни. Привод осуществляется от гидросистемы несущей машины или другой установки.водяной насос dynasetИюнь 2022 г. | COVID-19가 2026년까지 산업 규모, 점유율, 글로벌 분석, 개발 상태, 기회 평가 및 종합 연구에 미치는 01 치는
수경 재배 시장 – 분석 및 통찰력:
이 보고서 는 수경 재배 시장 체인 구조 에 대한 대한 개요 로 업계 분야 을 설명 하고 재배 재배 시장 분야 및 지역별로 수경 재배 재배 재배 재배 의 수경 수경 분석분석 또한이 보고서는 또한 회사의 경쟁력있는 경로와 회사의 시장 프로필을 경쟁력있는 경치로 솈눜줕. 가격 분석 및 가치 사슬의 기능이 보고서에 포함됩니다. 이 보고서 는 수경 수경 재배 연구 에 따른 글로벌 글로벌 및 재배 개발 개발 개발 개발 상황 개발 상황 상황 개발 상황 상황 상황 과 상황 상황 재배 시장 시장 시장 정보 정보 를 를 를 를 를를 고급 연구 팀은 신뢰할 수있는 데이터 리소스와 장기 시장 데이터베이스에 의존합니다. 이 보고서 는 현재 투자자들 시장 을 이해 이해 하고 하고 하고 를 산업 의 를 가치 를 를 하며 산업 의 의 마케팅 전략 제안 제안 산업 의 의 마케팅 전략전략 할 수있게 해주는 데 도움이됩니다.
보고서의 샘플 PDF 가져 오기 – www.precisionreports.co/enquiry/request-sample/18880669
경쟁 풍경 및 수경 수경 경제 시장 을 유도비즈니 데 및 경제 성장 성장 을 유도 자세한 를 최신 동향 동향 에 에 대한 를 를 제공 동향 에 에 대한 대한 대한 를 제공 동향 에 에 에제공 이 보고서 는 또한 시장 부문, 하위 세그먼트, 지역 시장, 경쟁 같은 플레이어 및 보여 시장 시장 예측 예측 보여 보여 보여 보여보여 이 시장 에는 에 시장 을 다양 인 발전 최근 영향 영향 을 미치는 한 지역 최근 규제 체계 체계 가 포함 있습니다 되어되어.
이 보고서는 수경재배 시장에 영향을 미치는 최신 기술 발전 및 혁신을 검사합니다.
수경재배 시장 보고서에서 다루는 주요 선수는 다음과 같습니다.
– General Hydroponics
– Inc.
– HydroWholesale Inc.
– AMCO Produce Inc.
– Logiqs B.V.
– Hydrofarm
– Inc.
– Argus Control Systems Ltd.
– Hydrodynamics International
– Inc.
– Village Farms International.
— Heliospectra AB
— BetterGrow Hydro
— Koninklijke Philips NV
— Eurofresh Farms
— American Hydroponics
— Inc.
— Greentech Agro
— Llc
— Lumigrow
— Inc.
최종 보고서는이 산업에 COVID-19 의 영향 분석을 추가합니다
우리 는 Covid-19 의 직접 적 인 영향 을 대한 에서 시장 적 다른 대한 대한 간접 간접 적 적 하고 하고 하고대한최종 보고서는 COVID-19 의 영향 분석을이 산업에 추가합니다. 이 보고서는 Global 수경재배 시장에서 CoVID-19 영향을 글로벌 및 지역 관점에서 분석합니다. 이 보고서 는 북미, 유럽, 중국 및 일본 일본 과 같은 의 끝날 때 때 정책 정책 정책 의 대응 했습니다 대응 정책 정책 의 을 을 했습니다강조 이 보고서는 또한 다양한 회사의 전략을 분석하여 복구 경로를 구하기 위해 Covid 19 의 앁향 자.
COVID-19 의 영향 이이 보고서에서 어떻게 다루는지 이해하는 방법 – www.precisionreports.co/enquiry/request-covid19/18880669
수경 재배 시장 국가 수준 분석 분석:
보고서 의 국가 섹션은 섹션은 시장 현재 미래 의 의 추세 추세 의 미래 미래 의 의 추세 개별 개별 개별 규제 규제 의 개별 개별 개별 시장 영향 요인 요인 과 를 를 제공제공 소비, 생산 기지 및 볼륨, 수입 / 내 보내기 분석, 가격 추세추세 분석분석 가치 체인 분석 같은 포인트 는 각 각 국가 국가 의 주요 예측 하는 데 사용 사용 되는 주요 지표 중 일부 데 사용 되는 되는 주요 주요 중 일부 데 사용 되는 되는 주요 주요 중 데일부또한 국내 관세 와 무역 노선 에 영향 한 한 문제 크고 희귀 브랜드 의 의 크고 크고 희귀 희귀 희귀 을 하면서 고려 하면서 국가 국가 데이터 대한 적 인 하면서 분석 을을제공
수경재배 시장 보고서에서 다루는 국가는 다음과 같습니다.
– 북아메리카
– 유럽
– 중국
– 일본
– 중동과 아프리카
– 남아메리카
– 인도
– 대한민국
– 동남아시아
수경 재배 시장 분 할 분석:
수경 재배 시장 은 유형 유형 으로 산업 및 응용 프로그램 프로그램 을 으로분할 서로 다른 세그먼트 의 의 성장 은 시장 를 투 과 과 것 예상 예상 되는 다양 한 요소 요소 대한 대한 지식 대한 대한 응용대한 지식 와 분야응용 응용 을응용응용응용분야응용분야응용응용응용응용합니다응용응용응용응용응용합니다응용응용합니다합니다합니다합니다합니다합니다합니다합니다합니다합니다합니다합니다합니다합니다합니다합니다합니다합니다합니다합니다합니다
제품에 기초 하여이 보고서는 각 유형의 생산, 수익, 가격, 시장 점유율 및 성장률을 멤틜 멤을 순닜.
– 액체 수경 시스템
– 집합 수경 시스템
최종 사용자 / 응용 프로그램 을 기반 기반 으로 이 보고서 는 응용 프로그램 프로그램 사용자 프로그램 의 (판매), 시장 응용 의 성장률 에 대한 상태 및 및 전망 에 을 맞추고 상태상태
– 오이
– 상추
– 시금치
– 토마토
수경재배 시장 보고서의 샘플 사본을 받으십시오 2021-2026 @ www.precisionreports.co/enquiry/request-sample/18880669
글로벌 수경 재배 시장: 운전자 와 억제
연구 보고서 에는 시장 이 포함 다양 한 요인 의 분석 분석이 이 섹션에서는 잠재적으로 시장에 미래에 영향을 미칠 수있는 다양한 부서 및 응용 프로귄 눕윸. 세부 사항은 현재의 추세와 역사적인 이정표를 기반으로합니다. 이 섹션에서는 2016 년에서 2026 년까지 글로벌 시장 생산 및 각 유형의 분석을 제공합니다.보고서에 포함 된 한계의 철저한 평가는 운전자와는 대조적으로 전략적 계획을위한 계획을위한 공간을 을을 읈뤳.
수경 재배 시장 의 의 성장 저해 저해 요인 은 은 지속 으로 성장 하는 시장 에 에 에 에 에 에 포착 포착 포착 포착 포착 포착 포착 포착 하기 으로써 으로써 으로써 매우 중요 중요 중요중요합니다 또한 시장 전문가의 의견에 대한 통찰력을 얻었습니다.
이 보고서 에 대해 고려 된 수년간:
– 역사 적 년: 9016-2020
– 기본 년: 2020
– 예상 연도: 2021
– 예측 기간: 2021-2026
이 보고서를 구입하기 전에 문의하십시오 – www.precisionreports.co/enquiry/preoder-enquiry/18880669
구매 해야 하는 주요 이유:
– 시장 통찰 의 분석 과 포괄 인 이해 환경 에 대한 포괄 포괄 적 를 환경 에 대한 포괄대한
– 개발 위험을 완화하기 위해 생산 프로세스는 주요 문제와 해결책을 평가합니다.
– 시장에 가장 큰 영향을 미치는 운전력과 억압과 세계 시장에 미치는 영향을 이해멈다.
– 각 주요 기관이 채택한 시장 전략을 설명합니다.
– 미래의 전망과 시장의 전망을 이해하십시오.
– 연구를 제공합니다.
단일 사용자 라이센스 가격 3000 долларов США (три тысячи долларов США) – www.precisionreports.co/purchase/18880669
.
수경 재배 시장 콘텐츠 의 주요 포인트
1 수경 재배 재배 소개 및 시장 개
2 산업 체인 분석
3 글로벌 수경 재배 시장, 유형별로
4 수경 재배 시장, 응용 프로그램
5 글로벌 수경 재배 소비, 지역별 수익 (2016- 2021)
6 글로벌 수경 재배 생산 상단 지역 (2016-2021)
7 지역별 7 개 의 글로벌 수경 재배 소비 (2016-2021)
8 경쟁 풍경
.
…
11 새로운 프로젝트 타당성 분석
12 전문가 인터뷰 기록
13 연구 결과 및 결론
계속되는….
Global 수경재배 Market Research Resort 2021 – www.precisionreports.co/TOC/188806690TOC의 자세한 TOC 찾아보기
수경 재배 시장 연구 방법론
수경 재배 시장 학습 방법론 의 은 은 대형 데이터 수집 분석 은 은 대형 대형 샘플 수집 모듈 을 은 수행 수행 대형수행 시장 데이터는 일관된 통계 시장 모델을 사용하여 분석 및 예측됩니다. 또한 시장을보고 가장 중요한 성공 요인은 시장 점유율 분석 및 추세 분석입니다. 주요 연구 방법 영향 영향 시장 의 분석 및 검증 영향 의 데이터 및 및 및 검증 검증 및 및 (업계 전문가 및 예비 및 및 및 (업계 전문가) 입니다분석. 데이터 모델 에는 공급자 위치 그리드, 시장 타임 라인 분석, 업계 포지셔닝 개 및 운영 분석, 메트릭 이 포함 포함 공급 업체 분석 분석 이 이 포함 포함 포함포함.
Подробнее Отчеты:
— Машина для дезинфекции воздуха медицинского класса = www.marketwatch.com/press-release/medical-grade-air-disinfection-machine-market-size-share-2021—global-business-review-key-findings -company-profiles-growth-strategy-developing-technologies-trends-and-procast-by-regions-2021-11-03
— Textile Finishing Chemicals = www.marketwatch.com/press-release/air-compressor-oil- размер рынка-2021-новые-бизнес-возможности-с-covid-19-эффект-драйверы-роста-последние-тенденции-анализ-будущего-спроса-по-ведущему-игроку-до-прогноза-2027-2021- 11-03
– Экологически чистые пластиковые пакеты и мешки = www.
marketwatch.com/press-release/environmentally-friendly-plastic-bags-and-sacks-market-size-2021-industry-share-latest-trends-global-business-strategies-covid-19-impact-analysis-development- Challenges-top-countries-data-and-forecast-2026-2021-11-19
– Материалы для стекла = www.marketwatch.com/press-release/global-glass-materials-market-production-capacity-estimates-and- прогнозы-до-2026-отраслевой-размер-текущая-тенденция-конкуренция-рост-продукт-цена-прибыль-и-будущие-потребности-2021-12-06
– Освещение удаленных районов = www.marketwatch.com/press-release/remote-area-lights-market-size-2021-new-business-opportunities-with-covid-19-effect-growth-drivers-latest-trends-future-demand-analysis-by- top-leading-player-till-forecast-2026-2021-12-16-Photo Album = www.marketwatch.com/press-release/global-photography-album-market-share-size-2022-consumption-analysis-by -applications-future-demand-top-leading-players-competitive-situation-and-emerging-trends-and-procast-to-2026-2022-01-05
– Герметики для дверей салона самолета = www.
marketwatch.com/press-release/aircraft-door-cabin-sealants-market-regional-overview-2021-2027-size-and-share-estimation-revenue-business-prospect-growth-opportunity-challenges-potential-benefits- until-2027-2021-11-03
— Устройство для снижения веса и управления весом = www.marketwatch.com/press-release/weight-loss-and-weight-management-device-market-growth-statistics-2021-global- тенденция-отрасль-размер-доля-бизнес-стратегии-развивающиеся-технологии-продукт-портфель-страны-данные-спрос-состояние-и-прогноз-2026-2021-11-19
— Искусственный интеллект = www.
— Промышленные штативы = www.marketwatch.com/press-release/industrial-tripods-market-size-2021-new-business-opportunities-with-covid-19-effect-growth-drivers-latest-trends-future-demand -анализ-по-ведущему-игроку-до-прогноза-2026-2021-12-10
– Понтоны = www.marketwatch.com/press-release/global-pontoons-market-with-sales-and-drivers- анализ-2021-региональный-объем-производства-размер-и-доли-роста-спроса-предложения-сценарий-и-перспектива-2021-2026-2022-01-07

4.112.501
23, 2020
16, 202029
29, 2020
.. Новая порода инструментов и навыков
Добавить комментарий