Гидромолот устройство и принцип работы: Принципы работы гидромолот. Общая информация
Принципы работы гидромолот. Общая информация
В настоящее время десятки различных фирм по всему миру производят множество моделей гидравлических молотов, пригодных для навески в качестве сменного рабочего органа на гидрофицированные строительные машины – экскаваторы, погрузчики, манипуляторы и т.д. Гидромолоты применяются для разрушения различных прочных конструкций и материалов.
Как же работает гидромолот? Основным элементом молота является его боёк, т.е. определенная масса m, которую нужно переместить на некоторое растояние от инструмента и разогнать до заданной скорости V в сторону инструмента. Энергия удара, т.е. кинетическая энергия бойка равна mv²/2. Для того чтобы разогнать боёк до нужной скорости к нему нужно приложить соответственную силу, величина которой определяется давлением рабочей жидкости и площадью, на которую действует это давление, а также давление газа в пневмокамере и соответствующей площадью торца бойка, на которую действует давление газа. Чем короче ход бойка, тем больше должна быть сила, которая его разгоняет.
Это значит, что потребление рабочей жидкости в цилиндре молота в течение всего цикла является величиной переменной в то время как гидронасосы базовой машины обеспечивает постоянную подачу.
Поэтому, чтобы максимально использовать мощность гидронасоса и увеличить к.
п.д. в напорной линии питания гидромолота, по крайней мере, на гидромолотах среднего и тяжелого класса устанавливаются сетевые гидроаккумуляторы, которые накапливают рабочую жидкость под давлением при малой скорости бойка (во время разгона «вверх» и при торможении) и отдают накопленную жидкость в цилиндре молота, когда скорость бойка велика, т.е. при разгоне «вниз» (при рабочем ходе). На гидромолотах легкой серии, где объемы аккумулируемой жидкости невелики, роль гидроаккумуляторов часто выполняют рукава высокого давления, входящие в состав напорной линии питания гидромолота.
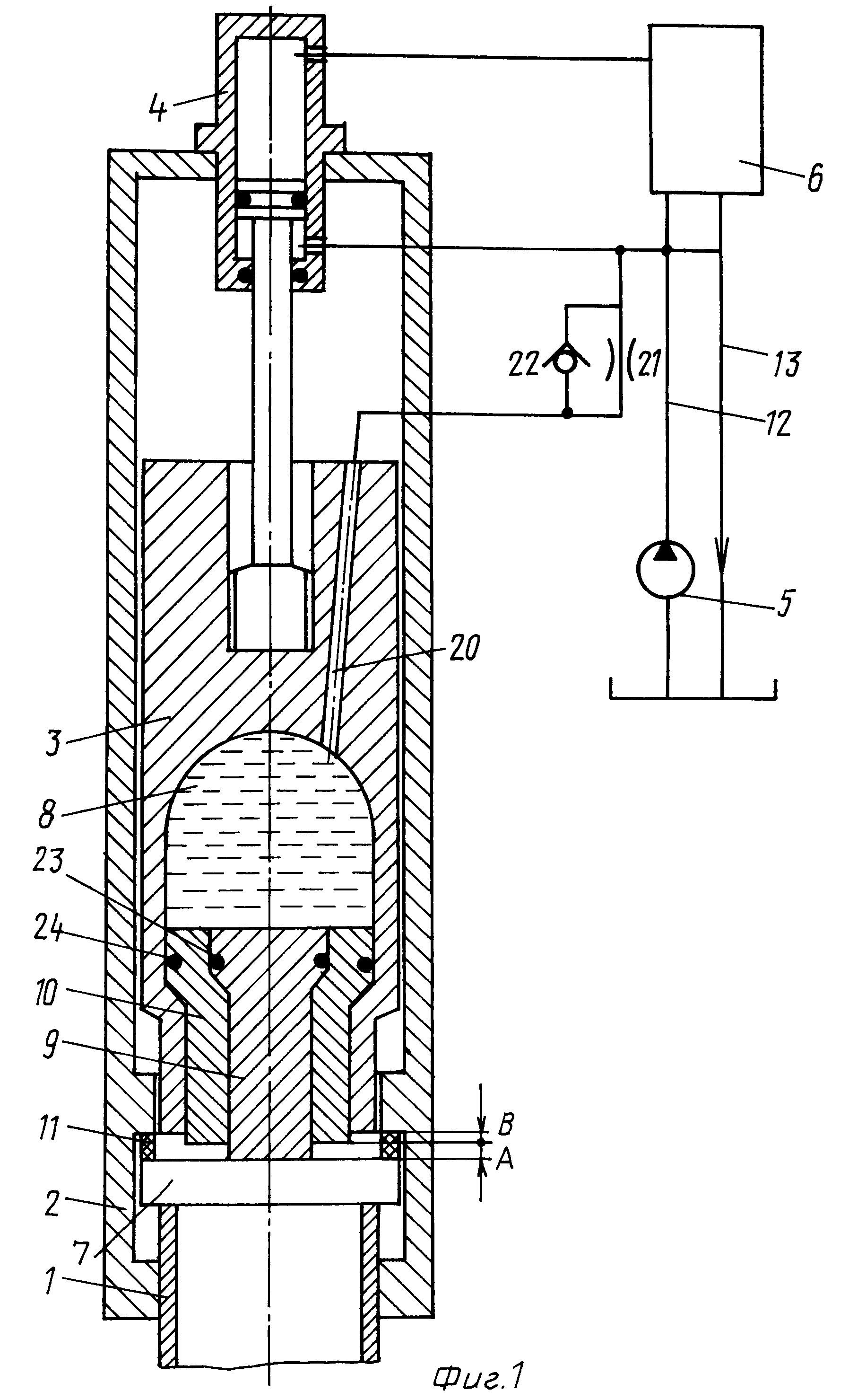
При всем многообразии выпускаемых моделей гидромолотов существует всего несколько принципиальных схем их гидропривода. Наиболее распространенной является приведённая на рис. 1, которая применяется большинством зарубежных производителей. Боёк гидромолота одновременно является поршнем рабочего цилиндра и имеет два контрштока, как правило, разных диаметров d1 и d2. «Нижний» шток d1, который своим торцом наносит удары по инструменту имеет больший диаметр.
Попеременное соединение камеры рабочего хода со сливной и с напорными линиями осуществляется двухпозиционным золотниковым гидрораспределителем с обратной связью по положению бойка в цилиндре. Сигналы на переключение золотника подаются в камеру управления золотником при прохождении поршнем соответствующих проточек в цилиндре. При взводе бойка его поршень при определенном положении открывает канал управления золотником соединяя его камеру управления с напорной линией и обеспечивая его переключение в позицию рабочего хода.
В конце рабочего хода непосредственно перед ударом поршень своей проточкой соединяет камеру управления золотником со сливной линией, обеспечивая переключение золотника в позицию взвода бойка. Золотник гидрораспределителя гидромолота выполнен с рабочими поясками разных диаметров, таким образом, что со стороны одного из его торцев постоянно действует давление рабочей жидкости, а на противоположный торец на него действует давление только на фазе торможения и во время рабочего хода бойка.
Описанная выше принципиальная схема гидромолота реализуется в различных моделях различными конструктивными и компоновочными решениями. Так, например, гидрораспределитель молота может встраиваться непосредственно в корпус молота или присоединятся к последнему в виде отдельного блока. Ось золотника может располагаться параллельно или перпендикулярно оси молота.
Золотник гидрораспределителя может быть выполнен в виде сплошного стержня с проточками или иметь трубчатую форму. Камеры управления золотником могут быть образованы за счет разности диаметров его шеек или в виде отдельных плунжеров.
Рабочий цилиндр молота может быть выполнен в корпусе или в виде гильзы, монтируемой в корпусе. Направляющие втулки, в которых движутся штоки поршня, могут выполняться отдельно от самого цилиндра или одна из них совместно с гильзой или корпусом молота. Гидроаккумуляторы могут располагаться на боковой поверхности корпуса или соосно с ним.
Ищете оборудование? Наши специалисты всегда помогут с выбором.
Притычное исполнение гидрораспределителя или гильзованный рабочий цилиндр позволяет упростить систему внутренних коммутационных гидролиний, оптимизировать их форму и размеры, упростить технологию изготовления отдельных деталей, повысить ремонтопригодность изделия, но вызывает необходимость применения дополнительных уплотнений. Монолитный гидроблок без гильзы со встроенным гидрораспределителем уменьшает общее количество деталей и уплотнений, но усложняет технологию изготовления и уменьшает ремонтопригодность молота. В конечном счете, компоновка и конструктивное решение определяется технологическими возможностями и пристрастиями разработчиков и изготовителей гидромолотов, а также возможностью патентования отдельных конструктивных решений.
Разновидностью описанной выше принципиальной схемы является такое её исполнение, когда штоки бойка d1 и d2 выполняются равного диаметра (например, в некоторых моделях гидромолотов японской фирмы NPK). При этом аккумулирование рабочей жидкости, подаваемой насосом происходит на фазе торможения бойка и во время всего рабочего хода, а разрядка аккумулятора происходит на фазе разгона бойка «вверх». Такое решение обеспечивает практически постоянную энергию удара молота при изменении подачи гидронасоса в широком диапазоне, но требует установки гидроаккумуляторов с большим маневровым объёмом. В этих случаях сетевые аккумуляторы часто устанавливаются вне молота на рабочем оборудовании экскаватора.
К достоинствам описанной принципиальной схемы можно отнести достаточно простое управление реверсированием движения бойка, а также отсутствием слива рабочей жидкости во время рабочего хода бойка, когда его скорости достигают максимальных значений. Повышенные скорости течения жидкости в сливной магистрали во время движения бойка «вверх» компенсируется либо применением в сливной линии трубопроводов достаточно большого сечения, либо установкой в сливной линии своего гидроаккумулятора низкого давления.
Другой интересной принципиальной схемой привода гидромолота, является схема представленная на рис. 2, которая применена в отечественных гидромолотах моделей ГПМ-120, СП-71.
Особенностью этой схемы является то, что при движении бойка «вверх» сам боек герметично состыкован с другой деталью, являющейся одновременно поршнем газового аккумулятора, диаметр D которого больше диаметра d штока бойка. Камера между торцами бойка и поршнем аккумулятора в исходном положении соединена с линией слива. За счет разности диаметров поршня аккумулятора и бойка образована площадка, на которую действует давление напорной линии, что вызывает перемещение бойка «вверх» и сжатие газа в пневмоаккумуляторе. После перемещения бойка на заданную величину h через радиальный и осевой каналы имеющиеся в бойке, камера между бойком и поршнем аккумулятора соединяется с линией давления, обе сопрягаемые детали соединяются с линией давления, обе сопрягаемые детали разъединяются. Теперь на весь торец бойка действует давление жидкости, величина которого определяется величиной давления газа в аккумуляторе.
Ещё одна принципиальная схема, которая используется только в отечественных гидромолотах моделей СП-62, Д-550, Д-600 и Д-450, представлена на рис. 3. В этой схеме боёк и поршень рабочего цилиндра выполнены в виде отдельных деталей, соединенных между собой через упругий шарнир.
Рабочий цилиндр выполнен в виде цилиндра двойного действия, т.е. его рабочие камеры попеременно соединяются с напорной и сливной линиями, а реверсирование движения поршня осуществляется посредством двухпозиционного золотникого гидрораспределителя с обратными связями по положению поршня.
В исходном положении золотник распределителя под действием установленной под его торцом пружины находится в позиции, обеспечивающей соединение штоковой полости рабочего цилиндра (камеры холостого хода) с напорной линией, а поршневой полости с линией слива. При включении подачи насоса поршень движется ускорено «верх» вытесняя жидкость из поршневой полости в сливную линию. После перемещения на заданное расстояние поршень перекрывает в гильзе цилиндра сливные отверстия, давление над поршнем повышается, воздействует на торец золотника и переключает последний в позицию рабочего хода, т.е. соединяет поршневую полость с напорной, а штоковую полость со сливной линией. Поршень затормаживается и начинает ускоренно двигаться в сторону инструмента.
Непосредственно перед ударом поршень открывает проточку, соединяющую через обратный клапан 6 поршневую полость со сливной линией. Вследствие этого давление в поршневой полости и над торцом золотника падает до величины, при значении которой пружина переключает золотник в позицию взвода бойка. Боек наносит удар по инструменту, далее циклы работы молота повторяются. Конструктивной особенностью молотов, использующих эту принципиальную схему является использование в составе молота сетевого аккумулятора, использующего в качестве упруго элемента не газ, а рабочую жидкость гидросистемы.
Этот аккумулятор представляет собой мультипликатор давления, поршневая полость которого постоянно соединена с напорной линией, а штоковая со сливной. Шток поршня аккумулятора входит в замкнутую ёмкость 4, образованную в корпусе гидроблока, заполненную рабочей жидкостью – маслом гидросистемы. В этой замкнутой полости при работе молота возникает давление во столько раз больше, чем давление в напорной линии молота, во сколько раз площадь поршня аккумулятора больше площади его штока.
Величина этого давления достигает значений 50…80 МПа. При таких давлениях замкнутый объём минерального масла сжимается на 4,5…5%, а в поршневой полости аккумулятора во время взвода бойка и при его торможении перед верхней мертвой точкой накапливается объём жидкости под рабочим давлением необходимый и достаточный для совершения рабочего хода бойка. Для пополнения объёма «жидкостной пружины» вследствие возможных утечек в поршне аккумулятора предусмотрен обратный клапан. Такой гидроаккумулятор при эксплуатации молота не требует каких-либо подзарядок. Описанная принципиальная схема молота наиболее целесообразна для средних и тяжелых моделей гидромолотов, так как позволяет использовать бойки большой массы при малых размерах рабочего цилиндра. Маленький диаметр рабочего поршня уменьшает величину внутренних перетечек масла, маленький диаметр уплотнений штока уменьшает их стоимость. Большая масса бойка при равной энергии удара гидромолотов, выполненных по другим принципиальным схемам, позволяет достигать большей величины ударного импульса численно равного mv и к.
п.д. удара, что обеспечивает повышение производительности в особенности при разрушении вязких материалов, например, мерзлых грунтов.
Остались вопросы? Задайте их нашему специалисту.
Подписывайся на нас!
Устройство и принципы работы гидромолотов
Любой строительный процесс не обходится без участия тяжелой техники. Давно человеческий труд заменили производительные машины, способные выполнять самые разнообразные задачи.
Для строительных операций обычно используются самоходные машины и тракторы, на базе которых реализуются готовые установки. Одной из таких установок является гидромолот.
Блок: 1/8 | Кол-во символов: 352
Источник: http://spez-tech.com/tehnika/raznoe/gidromolot-na-baze-ekskavatora-osobennosti-i-oblast-primeneniya.html
Как же работает гидромолот?
Основным элементом молота является его боек, т.е. определенная масса m, которую нужно переместить на некоторое растояние от инструмента и разогнать до заданной скорости V в сторону инструмента.
Энергия удара, т.е. кинетическая энергия бойка равна mv²/2. Для того чтобы разогнать боек до нужной скорости к нему нужно приложить соответственную силу, величина которой определяется давлением рабочей жидкости и площадью, на которую действует это давление, а также давление газа в пневмокамере и соответствующей площадью торца бойка, на которую действует давление газа.
Источник фото: exkavator.ruОсновной элемент гидромолота — боек
Чем короче ход бойка, тем больше должна быть сила, которая его разгоняет. Однако такая же реактивная сила действует в противоположную сторону, т.е. передается на базовую машину. Поэтому сила, разгоняющая боек ограничена возможностью базовой машины ее воспринимать на максимальном вылете рабочего оборудования. Чем короче ход бойка, тем больше частоту ударов можно получить при равной подаче гидронасоса базовой машины.
Источник фото: exkavator.ruЧем короче ход бойка, тем больше должна быть сила, которая его разгоняет
Итак, боек гидромолота при его работе совершает возвратно поступательные движения и в крайних своих положениях (в момент удара и в верхней мертвой точке) его скорость в какой-то момент времени оказывается равной нулю.
В цикле работы гидромолота можно выделить следующие основные фазы: разгон в сторону от инструмента (условно «вверх»), торможение перед «верхней» мертвой точкой и разгон в сторону инструмента до удара. Это значит, что потребление рабочей жидкости в цилиндре молота в течение всего цикла является величиной переменной в то время как гидронасосы базовой машины обеспечивает постоянную подачу.
Источник фото: exkavator.ruДля максимального использования мощностей гидронасоса устанавливают гидроаккумуляторы
Чтобы максимально использовать мощность гидронасоса и увеличить к.п.д. в напорной линии питания гидромолота, по крайней мере, на гидромолотах среднего и тяжелого класса устанавливаются сетевые гидроаккумуляторы, которые накапливают рабочую жидкость под давлением при малой скорости бойка (во время разгона «вверх» и при торможении) и отдают накопленную жидкость в цилиндре молота, когда скорость бойка велика, т.е. при разгоне «вниз» (при рабочем ходе). На гидромолотах легкой серии, где объемы аккумулируемой жидкости невелики, роль гидроаккумуляторов часто выполняют рукава высокого давления, входящие в состав напорной линии питания гидромолота.
Блок: 2/5 | Кол-во символов: 2559
Источник: https://exkavator.ru/articles/gidromolot/~id%3D8292
Составные части гидромолота
Основной частью гидромолота является его корпус. Внутри него находится цилиндр, по которому движется боёк, совершающий удары по рабочему инструменту (пике). В некоторых моделях в качестве цилиндра используется специальная гильза, но чаще его формируют внутренние стенки самого корпуса.
В верхней части современного гидромолота находится азотная камера, снабженная клапаном для заправки и контроля давления. Азот используется как упругое тело. Он даёт дополнительное давление на боёк, когда тот движется в направлении пики, и обеспечивает буферное действие в обратном направлении.
Рабочий инструмент находится в нижней части гидромолота. Как правило, это пика. В зависимости от вида выполняемой работы, она может быть разной формы: зубилом (клин), пирамидой, конусом и долотом.
Пика движется по запрессованным внутрь корпуса втулкам. Они смазываются при помощи специальной масленки (тавотницы), уменьшая тем самым трение и продлевая срок службы гидромолота. Рабочий инструмент удерживается внутри корпуса стопорным пальцем.
Между азотной камерой и рабочим инструментом расположен боёк, т.е. поршень. Его приводит в движение масло из гидросистемы экскаватора (погрузчика). Герметичность гидроцилиндра обеспечивают уплотнения в его верхней и нижней частях. Циклом работы гидромолота управляет специальный золотниковый клапан, регулирующий давление масла в цилиндре.
Блок: 2/4 | Кол-во символов: 1393
Источник: http://www.gidroimpulse.ru/gidromolot/construction.html
Устройство гидромолота: «европейское» исполнение
При всем многообразии выпускаемых моделей гидромолотов существует всего несколько принципиальных схем их гидропривода. Наиболее распространенной является приведенная на рис. 1, которая применяется большинством зарубежных производителей.
Боек гидромолота одновременно является поршнем рабочего цилиндра и имеет два контрштока, как правило, разных диаметров d1 и d2.
«Нижний» шток d1, который своим торцом наносит удары по инструменту имеет больший диаметр. Камера рабочего цилиндра, образованная вокруг нижнего штока является камерой холостого хода, т.е. обеспечивает движение бойка в сторону от инструмента или холостой ход. Эта камера при включении молота постоянно находится под давлением рабочей жидкости во время всего цикла работы.
Камера цилиндра, образованная вокруг «верхнего» штока (камера рабочего хода) имеет большую площадь, чем камера холостого хода, и попеременно соединяется то со сливной линией (разгон вверх), то с напорной линией (торможение перед верхней мертвой точкой и разгон вниз). Попеременное соединение камеры рабочего хода со сливной и с напорными линиями осуществляется двухпозиционным золотниковым гидрораспределителем с обратной связью по положению бойка в цилиндре.
Сигналы на переключение золотника подаются в камеру управления золотником при прохождении поршнем соответствующих проточек в цилиндре.
При взводе бойка его поршень при определенном положении открывает канал управления золотником соединяя его камеру управления с напорной линией и обеспечивая его переключение в позицию рабочего хода. В конце рабочего хода непосредственно перед ударом поршень своей проточкой соединяет камеру управления золотником со сливной линией, обеспечивая переключение золотника в позицию взвода бойка.
Источник фото: exkavator.ruСуществует несколько принципиальных схем гидромолота
Золотник гидрораспределителя гидромолота выполнен с рабочими поясками разных диаметров, таким образом, что со стороны одного из его торцев постоянно действует давление рабочей жидкости, а на противоположный торец на него действует давление только на фазе торможения и во время рабочего хода бойка.
Описанная выше принципиальная схема гидромолота реализуется в различных моделях различными конструктивными и компоновочными решениями. Так, например, гидрораспределитель молота может встраиваться непосредственно в корпус молота или присоединятся к последнему в виде отдельного блока.
Ось золотника может располагаться параллельно или перпендикулярно оси молота.
Источник фото: exkavator.ruГидрораспределитель может встраиваться в сам корпус гидромолота
Золотник гидрораспределителя может быть выполнен в виде сплошного стержня с проточками или иметь трубчатую форму. Камеры управления золотником могут быть образованы за счет разности диаметров его шеек или в виде отдельных плунжеров. Рабочий цилиндр молота может быть выполнен в корпусе или в виде гильзы, монтируемой в корпусе. Направляющие втулки, в которых движутся штоки поршня, могут выполняться отдельно от самого цилиндра или одна из них совместно с гильзой или корпусом молота. Гидроаккумуляторы могут располагаться на боковой поверхности корпуса или соосно с ним.
Блок: 3/5 | Кол-во символов: 3186
Источник: https://exkavator.ru/articles/gidromolot/~id%3D8292
Работа гидромолота
Итак, для работы от гидросистемы подключают гидромолот на экскаватор или погрузчик. Когда боёк находится в нижней части гидромолота, открывается клапан и гидронасос закачивает в цилиндр масло.
Давление масла больше давления в азотной камере, поэтому поршень поднимается вверх, сжимая азот.
Когда боёк достигает крайней верхней точки, золотник закрывает клапан, по которому поступает масло. Вместо него открывается сливной клапан. Масло уходит из цилиндра в магистраль гидросистемы, а поршень под давлением азота стремится вниз, совершая удар по рабочему инструменту.
В некоторых моделях гидромолотов вместо азотной камеры используются гидроаккумуляторы. Но сейчас они встречаются все реже, т.к. гидромолот на азоте намного дольше прослужит и будет дешевле в обслуживании, чем аккумуляторный.
Кроме того, современные гидромолоты устроены таким образом, что масло может толкнуть боёк вверх только в том случае, если он немного приподнят над нижней точкой. Поднять поршень можно, уперевшись пикой в грунт или материал, который требуется разрушить. Таким образом, гидромолот не совершает холостых ударов. За счет этого увеличивается его срок службы.
Блок: 3/4 | Кол-во символов: 1167
Источник: http://www.
gidroimpulse.ru/gidromolot/construction.html
Устройство гидромолота: притычное исполнение
Источник фото: exkavator.ruПритычное исполнение гидрораспределителя повышает ремонтопригодность гидромолота
Притычное исполнение гидрораспределителя или гильзованный рабочий цилиндр позволяет упростить систему внутренних коммутационных гидролиний, оптимизировать их форму и размеры, упростить технологию изготовления отдельных деталей, повысить ремонтопригодность изделия, но вызывает необходимость применения дополнительных уплотнений. Монолитный гидроблок без гильзы со встроенным гидрораспределителем уменьшает общее количество деталей и уплотнений, но усложняет технологию изготовления и уменьшает ремонтопригодность молота. В конечном счете, компоновка и конструктивное решение определяется технологическими возможностями и пристрастиями разработчиков и изготовителей гидромолотов, а также возможностью патентования отдельных конструктивных решений.
Разновидностью описанной выше принципиальной схемы является такое ее исполнение, когда штоки бойка d1 и d2 выполняются равного диаметра, например, в некоторых моделях гидромолотов NPK (Япония).
При этом аккумулирование рабочей жидкости, подаваемой насосом происходит на фазе торможения бойка и во время всего рабочего хода, а разрядка аккумулятора происходит на фазе разгона бойка «вверх».
Такое решение обеспечивает практически постоянную энергию удара молота при изменении подачи гидронасоса в широком диапазоне, но требует установки гидроаккумуляторов с большим маневровым объемом. В этих случаях сетевые аккумуляторы часто устанавливаются вне молота на рабочем оборудовании экскаватора.
К достоинствам описанной принципиальной схемы можно отнести достаточно простое управление реверсированием движения бойка, а также отсутствием слива рабочей жидкости во время рабочего хода бойка, когда его скорости достигают максимальных значений. Повышенные скорости течения жидкости в сливной магистрали во время движения бойка «вверх» компенсируется либо применением в сливной линии трубопроводов достаточно большого сечения, либо установкой в сливной линии своего гидроаккумулятора низкого давления.
Блок: 4/5 | Кол-во символов: 2102
Источник: https://exkavator.ru/articles/gidromolot/~id%3D8292
Гидромолоты ICM
Гидравлические молоты южнокорейского производителя ICM сконструированы с учетом современных решений. Они используют азот в качестве упругого тела, а устройство цилиндра и бойка таково, что гидромолот не совершает холостых ударов. Поэтому он надежен, долговечен и прост в эксплуатации. Купить гидромолот ICM в группе компаний «Гидроимпульс». Обратите внимание, при этом вы получаете еще и квалифицированный сервис в течение гарантийного и послегарантийного срока службы.
Блок: 4/4 | Кол-во символов: 490
Источник: http://www.gidroimpulse.ru/gidromolot/construction.html
Выбор гидромолота для экскаватора
Чтобы выполнить требуемые работы качественно, в срок, с минимальными затратами усилий и средств, важно правильно выбрать гидромолот для экскаватора.
В момент осуществления выбора важно учесть следующие критерии:
Совместимость гидромолотов с экскаваторами
- Совместимость инструмента и транспорта – гидравлической системы и технических характеристик (расход жидкости, уровень давления).

- Сопоставимость веса молота и техники – молот должен весить не больше 10% от общей массы экскаватора.
- Особенность работ (сложность, объём) – важно учесть силу и частоту удара (чем они больше, тем выше мощность и производительность).
- Территориальные особенности объекта – при работе в ограниченном пространстве или глубине важно учесть габариты техники и вылет стрелы.
Если нужно демонтировать не слишком прочное покрытие, то подойдут облегчённые модели оборудования. Но если объём планируемых работ очень велик, то гораздо эффективнее будет использовать молот с большей силой удара.
Видео по теме: Гидромолот Impulse 500S
Блок: 5/5 | Кол-во символов: 1047
Источник: https://SpecNavigator.
ru/gidromolot/na-baze-ekskavatora.html
Аренда экскаватора с гидроударной установкой
Взяв в аренду гидромолот на базе экскаватора, можно в разы увеличить скорость работы на стройке. Часть работ вообще невозможно выполнить без участия тяжелой и производительной строительной техники.
Как правило, фирмы предлагают экскаваторы, которые совмещают в себе несколько видов работ:
- Погрузка;
- Работы бульдозера;
- Гидромолот (пика, трамбовка, клин).
Используя данную технику, можно сразу на месте сделать демонтаж, собрать все в кучу и загрузить в самосвал для вывоза, максимально сократив временные затраты на выполнение поставленных задач.
Особенностью заказа гидромолота на базе экскаватора является то, что навесное оборудование крепится на стрелу. Такая трансформация позволяет в разы увеличить область производимых работ и с легкостью добраться в труднодоступные места.
Плюс к этому гидроударная установка на стреле уменьшает вибрацию экскаватора, что позволяет проводить работы, не останавливая весь процесс.
Разнообразию современной строительной техники просто нет предела. Выбор рабочих машин достаточно велик. Сейчас существует множество различных компаний, и каждая из них имеет свои особые достижения в той или иной области.
Так, одной из достаточно популярных марок строительной спецтехники выступает компания JCB.
Блок: 5/8 | Кол-во символов: 1277
Источник: http://spez-tech.com/tehnika/raznoe/gidromolot-na-baze-ekskavatora-osobennosti-i-oblast-primeneniya.html
Техника от компании JCB
Весь модельный ряд гидромолотов от компании JCB условно разделяется на три категории в зависимости от производительности:
- Компактные – с небольшой массой и силой удара;
- Средние – чаще всего используются в городской местности;
- Тяжелые – установки с высокой производительностью.
Основные отличительные технические характеристики установок данной компании – это высокая прочность гидромолота, изготавливаемого из прочных материалов.
Конструкция создана на максимальном уровне защиты, что позволяет производить любые виды работ без опасения повредить технику.
Позаботились производители и о рабочем персонале, который управляет гидромолотом, создав отличную шумоизоляцию рабочего места.
Кроме того, конструкция лапы выполнена таким образом, что отдача при проведении работ минимальна. Достичь таких показателей удалось за счет установки ударопоглощающей подушки, которая и призвана сводить отдачу к минимуму.
Технические характеристики экскаватора от компании JCB
Пример одного из экскаваторов-погрузчиков модели JCB:
- Грузовой ковш поднимает на высоту в 2,4 м.
- Ковш для погрузки имеет объем в 1,1 куба.
- Имеется обратный ковш.
- Разрешенная грузоподъемность – 3,3 т.
- Копание доступно на глубину до 5,5 м.
- Гидромолот достигает веса в 500 кг.
- Удар по мощности – около 1050–1800 Дж.
Оценивая эти характеристики, становится понятным, насколько это мощное оборудование и какую тяжелую работу оно может проделать.
Блок: 6/8 | Кол-во символов: 1426
Источник: http://spez-tech.com/tehnika/raznoe/gidromolot-na-baze-ekskavatora-osobennosti-i-oblast-primeneniya.html
Что лучше – аренда или покупка?
Многие задаются этим вопросом и теряются в выборе. Особенности того и другого выбора:
- Покупка такой техники достаточно дорога, и не каждый сможет себе ее позволить;
- Регулярное обслуживание требует дополнительных вложений;
- Постоянная заработная плата персоналу.
Это все лишь часть основных затрат, возникающих после покупки спецтехники любого уровня. Кроме того, что стоимость новой техники высока, так еще необходимо найти квалифицированные кадры, которые способны быстро и аккуратно работать на доверенном им оборудовании.
Проведение регулярного технического обслуживания однозначно потребует дополнительных затрат.
Не менее трудоемок и процесс правильного выбора техники перед покупкой, ведь необходимо грамотно подобрать именно тот вид оборудования, который предназначен для конкретных целей.
Разнообразие такого оборудования достаточно велико и отличается как по модельному ряду, так и по ценовой политике. Однозначно приобретение своей техники выгоднее, если есть постоянные объемы работ, в противном случае можно рассматривать варианты аренды.
Блок: 7/8 | Кол-во символов: 1082
Источник: http://spez-tech.com/tehnika/raznoe/gidromolot-na-baze-ekskavatora-osobennosti-i-oblast-primeneniya.html
Аренда строительной техники
Выполнить работы без помощи техники порой бывает просто невозможно. Зачастую задачи могут быть разовые, именно поэтому существует услуга по аренде строительной техники. При заказе спецтехники обычно поставляется не только техника, но и предоставляются услуги квалифицированного рабочего, который в кратчайшие сроки справится с поставленной задачей.
Если объемы работ небольшие или работа вообще разовая, то, безусловно, аренда является самым выгодным вариантом.
Основные преимущества аренды строительной техники:
- Нет необходимости покупать дорогостоящую технику.

- Не нужны высококвалифицированные специалисты, которым необходимо постоянно платить заработную плату, не зависящую от объемов работ.
- Проведение технического обслуживания также не будет требовать дополнительных расходов.
Рассматривая вариант краткосрочной аренды техники, налицо все преимущества, особенно с точки зрения экономической рентабельности. Если рассматривать вариант постоянной аренды на длительный срок, то такое действие экономически невыгодно, ибо приобретение и обслуживание своей техники будет гораздо выгоднее с финансовой точки зрения.
Рассматривая особенности гидромолота, установленного на базе экскаватора, необходимо отметить удобство и универсальность данной техники. Экскаватор, оборудованный такой установкой, способен с легкостью справиться с любым грунтом – как с мягкой почвой, так и с бетонным покрытием.
Данный вид техники можно отнести к универсальному оборудованию, способному одновременно справляться с любыми поставленными задачами.
Давайте посмотрим в следующем видеоролике, как эффективно гидромолот на базе экскаватора справляется со своими «обязанностями» и дробит огромные глыбы камней:
Блок: 8/8 | Кол-во символов: 1723
Источник: http://spez-tech.com/tehnika/raznoe/gidromolot-na-baze-ekskavatora-osobennosti-i-oblast-primeneniya.html
Количество использованных доноров: 6
Информация по каждому донору:
- https://exkavator.ru/articles/gidromolot/~id%3D8292: использовано 3 блоков из 5, кол-во символов 7847 (41%)
- https://SpecNavigator.ru/gidromolot/na-baze-ekskavatora.html: использовано 2 блоков из 5, кол-во символов 2308 (12%)
- http://mastertraktor.ru/stroitelnaya-texnika/gidromolot-na-baze-ekskavatora.html: использовано 2 блоков из 4, кол-во символов 2655 (14%)
- http://spez-tech.com/tehnika/raznoe/gidromolot-na-baze-ekskavatora-osobennosti-i-oblast-primeneniya.
html: использовано 8 блоков из 8, кол-во символов 9431 (49%) - https://specrent.com.ua/poleznie-materiali/ustrojstvo-gidromolota: использовано 1 блоков из 2, кол-во символов 874 (5%)
- http://www.gidroimpulse.ru/gidromolot/construction.html: использовано 3 блоков из 4, кол-во символов 3050 (16%)
технические характеристики, устройство, назначение, фото
Гидромолоты пришли в середине прошлого века на смену пневматическим отбойным молоткам и бетоноломам. В отличие от своих предшественников, агрегаты, работающие на гидравлике, имели более высокое рабочее давление, не замерзали зимой и не требовали частой смазки. Сегодня они активно применяются в качестве сменного рабочего оборудования экскаваторов и погрузчиков, оснащенных гидроприводом. Одной из популярных моделей является устройство ГПМ-120, представленное в нашем обзоре.
Гидромолот ГПМ-120
Выпускать гидромолот ГПМ-120 начали в семидесятых годах прошлого века сразу два экскаваторных завода – Саранский (САРЭКС) в России и Бородянский (БОРЭКС) в Украине.
И по сей день оба они по-прежнему являются основными производителями этой модели, отличающейся высокой надежностью и неприхотливостью к условиям работы. Ведь советские инженеры специально разрабатывали устройство, полностью адаптированное к любому сложному климату, и у них это получилось.
Гидравлический молот способен трудиться и при знойной жаре до плюс сорока градусов, и при морозе до минус сорока. Он компактен и функционален, быстро монтируется, имеет простую конструкцию и аккуратный дизайн.
Благодаря особенностям конструкции гидромолота ему не нужен отдельный гидрораспределитель для возврата бойка-поршня (боек сам распределяет масло). Также можно отметить высокую маневренность и экономичность. Так как подвижных деталей использовано по минимуму, то и ломаться особо нечему. Радует потребителя и низкая цена изделия.Назначение
Устройство можно легко навесить на экскаваторную стрелу вместо ковша с рукояткой, подключив к гидравлике. Второй вариант – замена гидромолотом ковша и закрепление его на рукоятке.
Так можно сделать, если имеется свободная секция гидравлического распределителя. В качестве базовых машин могут использоваться экскаваторы второй размерной группы любого производителя (например, Амкадор, АТЭК, БОРЭКС, ЮМЗ).
Используют агрегат для разрушения различных конструкций из железобетона, уплотнения слабой почвы, обработки и дробления скальных горных пород, разрыхления мерзлой земли, вскрытия дорожного асфальтового полотна и бетонных поверхностей. Зимой, к примеру, это помогает добраться до подземных магистралей и быстро ликвидировать аварии.
Фото гидромолота ГПМ-120Принцип работы
Конструкция этого гидромолота отличается простотой и оригинальностью. Его боек составляет одно целое с газовым аккумуляторным поршнем, только диаметр штока бойка имеет меньший размер. На эту поверхность, образующуюся из-за разности диаметров, действует напорное давление. Результат – боек идет вверх и сжимает газ в пневматическом аккумуляторе.
Перед началом работы гидромолот поднимается над разрушаемой или трамбуемой поверхностью.
Его боек движется вниз до максимума, а инструмент для работы является свободным.
Когда инструмент начинает двигаться к объекту работ, управляясь гидроцилиндрами стрелы и рукоятки, клапан перекрывается, разграничив напорную и сливную магистраль. Напорное давление воздействует на боек, передвигая его и клапан вверх. Каналы бойка совмещаются с отверстиями втулки, а напорная магистраль совмещается с полостью, находящейся под клапаном. Рабочая жидкость давит на клапан и торец бойка – они разъединяются.
На боек теперь действует его вес и давление рабочей жидкости (оно держится за счет газового аккумулятора). В итоге боек идет вниз и с силой ударяет по инструменту. Совершив удар, он вновь закрывается клапаном. Всё повторяется снова. Отметим, что непосредственно перед ударом бойка давление в гидравлической системе значительно падает.
Пожалуй, большие перепады давления – единственный минус.
Устройство
Движением рабочего инструмента, которое имеет возвратно-поступательный характер, руководит букса. Она крепится к нижней части корпуса гидромолота с помощью болтов, полуколец и фланцев. Инструмент фиксируется специальным пальцем. В корпус также вставлены и закреплены стопорными кольцами две втулки, которые содержат в себе движущиеся клапан и боек. Через ввинченный в корпус воздушный клапан пневматический аккумулятор заправляется газом. Для герметичности втулок и пневмоаккумулятора применяются уплотнения из фторопласта, особые уплотняющие кольца и манжеты.
Схема гидромолота ГПМ-120Полукольца из пластика, выполняющие роль подшипников скольжения, закреплены в канавках на корпусе. По ним передвигается кронштейн, имеющий фиксатор для ограничения хода гидромолота.
Чтобы отдача при работе не испортила экскаватор, между корпусом гидравлического молота и кронштейном прокладываются резиновые амортизационные кольца.
Поворотные соединения вкручиваются в корпус и служат для переключения магистралей (напорной и сливной).
Сменное оборудование
У данного агрегата может быть использовано три вида насадок, каждая из которых служит для определенных целей. Так:
- Если нужно разрыхлить замерзший грунт или разрушить асфальтовое покрытие, то рабочим инструментом служит клин.
- Пикой пользуются тогда, когда необходимо вскрыть бетонную поверхность или разбить на отдельные куски негабаритные изделия.
- Уплотнить раскисший или слишком мягкий грунт поможет трамбовочная плита.
Технические характеристики
Технические характеристики гидромолота ГПМ-120 в таблице:
| Характеристики | Показатели | Ед. измерения |
| Базовый агрегат | Э0-2621 и его модификации | |
| Требуемые вес экскаватора | 5-12 | т |
| Глубина рыхления (один подход) | до 0,4 | м |
| Производительность | не менее 4-5 | м3/ч |
| Расход масла | 50-120 | л/мин |
| Давление (рабочее) | 140 | атм |
| Энергия одного удара | 1,22 | кДж |
Число ударов в минуту (макс. ) | 180 | |
| Вес гидромолота (без инструмента) | 276 | кг |
| Вес бойка | 30,8 | кг |
| Вес клинка | 21,81 | кг |
| Вес пики | 21 | кг |
| Вес трамбующей плиты | 51 | кг |
| Длина без инструмента | 1,55 | м |
| Ширина без инструмента | 0,405 | м |
| Высота без инструмента | 0,26 | м |
| Длина рабочего инструмента | 0,39 | м |
| Диаметр рабочего инструмента | 0,08 | м |
На видео трамбовка гидромолота ГПМ-120 в работе:
технические характеристики, устройство, назначение, фото
Гидромолоты пришли в середине прошлого века на смену пневматическим отбойным молоткам и бетоноломам.
В отличие от своих предшественников, агрегаты, работающие на гидравлике, имели более высокое рабочее давление, не замерзали зимой и не требовали частой смазки. Сегодня они активно применяются в качестве сменного рабочего оборудования экскаваторов и погрузчиков, оснащенных гидроприводом. Одной из популярных моделей является устройство ГПМ-120, представленное в нашем обзоре.
Гидромолот ГПМ-120
Выпускать гидромолот ГПМ-120 начали в семидесятых годах прошлого века сразу два экскаваторных завода – Саранский (САРЭКС) в России и Бородянский (БОРЭКС) в Украине. И по сей день оба они по-прежнему являются основными производителями этой модели, отличающейся высокой надежностью и неприхотливостью к условиям работы. Ведь советские инженеры специально разрабатывали устройство, полностью адаптированное к любому сложному климату, и у них это получилось.
Гидравлический молот способен трудиться и при знойной жаре до плюс сорока градусов, и при морозе до минус сорока. Он компактен и функционален, быстро монтируется, имеет простую конструкцию и аккуратный дизайн.
Благодаря особенностям конструкции гидромолота ему не нужен отдельный гидрораспределитель для возврата бойка-поршня (боек сам распределяет масло). Также можно отметить высокую маневренность и экономичность. Так как подвижных деталей использовано по минимуму, то и ломаться особо нечему. Радует потребителя и низкая цена изделия.
Назначение
Устройство можно легко навесить на экскаваторную стрелу вместо ковша с рукояткой, подключив к гидравлике. Второй вариант – замена гидромолотом ковша и закрепление его на рукоятке. Так можно сделать, если имеется свободная секция гидравлического распределителя. В качестве базовых машин могут использоваться экскаваторы второй размерной группы любого производителя (например, Амкадор, АТЭК, БОРЭКС, ЮМЗ).
Используют агрегат для разрушения различных конструкций из железобетона, уплотнения слабой почвы, обработки и дробления скальных горных пород, разрыхления мерзлой земли, вскрытия дорожного асфальтового полотна и бетонных поверхностей.
Зимой, к примеру, это помогает добраться до подземных магистралей и быстро ликвидировать аварии.
Принцип работы
Конструкция этого гидромолота отличается простотой и оригинальностью. Его боек составляет одно целое с газовым аккумуляторным поршнем, только диаметр штока бойка имеет меньший размер. На эту поверхность, образующуюся из-за разности диаметров, действует напорное давление. Результат – боек идет вверх и сжимает газ в пневматическом аккумуляторе.
Перед началом работы гидромолот поднимается над разрушаемой или трамбуемой поверхностью. Его боек движется вниз до максимума, а инструмент для работы является свободным. Рабочая жидкость перетекает свободно в сливную магистраль из напорной. Клапан, на который давит газ из аккумулятора, упирается в торец втулки, а головка бойка находится в демпферном углублении втулки.
Когда инструмент начинает двигаться к объекту работ, управляясь гидроцилиндрами стрелы и рукоятки, клапан перекрывается, разграничив напорную и сливную магистраль.
Напорное давление воздействует на боек, передвигая его и клапан вверх. Каналы бойка совмещаются с отверстиями втулки, а напорная магистраль совмещается с полостью, находящейся под клапаном. Рабочая жидкость давит на клапан и торец бойка – они разъединяются.
На боек теперь действует его вес и давление рабочей жидкости (оно держится за счет газового аккумулятора). В итоге боек идет вниз и с силой ударяет по инструменту. Совершив удар, он вновь закрывается клапаном. Всё повторяется снова. Отметим, что непосредственно перед ударом бойка давление в гидравлической системе значительно падает. Пожалуй, большие перепады давления – единственный минус.
Устройство
Движением рабочего инструмента, которое имеет возвратно-поступательный характер, руководит букса. Она крепится к нижней части корпуса гидромолота с помощью болтов, полуколец и фланцев. Инструмент фиксируется специальным пальцем. В корпус также вставлены и закреплены стопорными кольцами две втулки, которые содержат в себе движущиеся клапан и боек.
Через ввинченный в корпус воздушный клапан пневматический аккумулятор заправляется газом. Для герметичности втулок и пневмоаккумулятора применяются уплотнения из фторопласта, особые уплотняющие кольца и манжеты.
Полукольца из пластика, выполняющие роль подшипников скольжения, закреплены в канавках на корпусе. По ним передвигается кронштейн, имеющий фиксатор для ограничения хода гидромолота.
Чтобы отдача при работе не испортила экскаватор, между корпусом гидравлического молота и кронштейном прокладываются резиновые амортизационные кольца. Поворотные соединения вкручиваются в корпус и служат для переключения магистралей (напорной и сливной).
Сменное оборудование
У данного агрегата может быть использовано три вида насадок, каждая из которых служит для определенных целей. Так:
- Если нужно разрыхлить замерзший грунт или разрушить асфальтовое покрытие, то рабочим инструментом служит клин.
- Пикой пользуются тогда, когда необходимо вскрыть бетонную поверхность или разбить на отдельные куски негабаритные изделия.

- Уплотнить раскисший или слишком мягкий грунт поможет трамбовочная плита.
Технические характеристики
Технические характеристики гидромолота ГПМ-120 в таблице:
| Характеристики | Показатели | Ед. измерения |
| Базовый агрегат | Э0-2621 и его модификации | |
| Требуемые вес экскаватора | 5-12 | т |
| Глубина рыхления (один подход) | до 0,4 | м |
| Производительность | не менее 4-5 | м3/ч |
| Расход масла | 50-120 | л/мин |
| Давление (рабочее) | 140 | атм |
| Энергия одного удара | 1,22 | кДж |
| Число ударов в минуту (макс.) | 180 | |
| Вес гидромолота (без инструмента) | 276 | кг |
| Вес бойка | 30,8 | кг |
| Вес клинка | 21,81 | кг |
| Вес пики | 21 | кг |
| Вес трамбующей плиты | 51 | кг |
| Длина без инструмента | 1,55 | м |
| Ширина без инструмента | 0,405 | м |
| Высота без инструмента | 0,26 | м |
| Длина рабочего инструмента | 0,39 | м |
| Диаметр рабочего инструмента | 0,08 | м |
О гидромолоте – Основные средства
Каждые десять лет сменяется поколение людей, принимающих решение о покупке, выбирающих оборудование для нужд компании.
Эта статья предназначена новому поколению снабженцев – на карандаш.
Наши дни
В командировках по различным регионам России приходится наблюдать печальную картину. Снова мы возвращаемся к тому, с чего начинали десять лет назад. В карьеры под благовидными предлогами хлынули полупрофессиональные строительные гидромолоты, манипуляторы, не предназначенные для серьезных нагрузок. Отсутствие опыта и знаний у покупателей, подверженность влиянию дешевизны, доверчивость создают основу для критических ошибок в выборе оборудования для ответственных работ. И нельзя сказать, что эти модели в строительном сегменте плохи – для своего класса они хороши. Но не для добычи, не для горного дела это оборудование. А кто будет крайним, если приобретено не то оборудование? Ответ прост – снабженец. Работа у них такая, рискованная. Поэтому и меняются часто, мало кто задерживается более десяти лет на этой должности. Естественным путем сменилось поколение опытных покупателей, и снова приходится возвращаться к описаниям принципа действия гидромолота, основным различиям, преимуществам и недостаткам.
Вновь необходимо раскрывать аспекты и отличительные черты типов и моделей закупщикам и снабженцам, чтобы не знакомиться каждый раз с новыми сотрудниками. Для нас, поставщиков и производителей, это как минимум неудобно.
В те времена
В период с 2005-го по 2007 г. было самое большое количество публикаций о типах оборудования и преимуществах производителей. И как следствие, выбор в тот период делался более или менее осмысленно. Рынок переживал подъем, можно было экспериментировать и с новыми неизвестными брендами, испытывать на себе принципы граблей. В конечном итоге все встало на свои места, определились ведущие производители. Покупатели сами могли прочитать лекцию о гидромолотах, оспаривали самые веские доводы, подтверждая свои слова выкладками и формулами. Люди занимались самообразованием, и это шло на пользу всем.
Почти сразу выделилась группа профессионального оборудования, в нее вошли Hammer под именами Rammer/ Roxon/ Volvo/ Caterpillar/ Case/ Kubota/ JCB/ Sandvik (это одни и те же гидромолоты) и Atlas Copco (Krupp).
Редкие модели Montabert ввозились с б/у техникой. Появилась группа полупрофессионального строительного оборудования. Ее составили Delta, Daemo, Profbreaker, Soosan и прочие корейские бренды.
Появился также класс строительного оборудования, не дотягивающий до профессионального, но качеством выше среднего. Этот класс продвигался с продажами техники, был значительно дороже и в большинстве случаев навязывался клиенту вместе с экскаватором. Яркими звездами были Furukawa, NPK (Япония). Особняком стояли полупрофессиональные гидромолоты Indeco (Италия), образуя с японцами псевдопремиумный сегмент. Китайские производители только учились изготавливать копии копий, так что их влияние не чувствовалось.
Первый велосипед
Начнем с азов – типов гидромолотов: мембранный и поршневой. Это не технические термины, а скорее обиходные названия, но за ними скрывается основное различие конструкции и возможностей.
С детства мы уже невольно узнаем принципы многих физических явлений, сталкиваясь с ними в быту.
Мы не придаем этому значения, если впоследствии не затрагиваем эти эффекты в работе или учебе. Что же из нашего детства так ярко иллюстрирует работу гидромолота, ведь эта статья о нем?
Самое банальное, и вы вряд ли могли об этом подумать, – велосипед. Точнее, не сам велосипед, а насос от велосипеда. Кто-то скажет, что не помнит этого. Но что бы вы ни говорили, каждый ребенок изучил работу насоса даже раньше, чем научился ездить самостоятельно. Хоть сейчас проведите эксперимент: пригласите десять детей и положите насосы перед ними – девять насосов будут у них в руках, десятый будет уже разобран.
Все помнят, что если закрыть воздушное отверстие, то насос пружинит на сжатие. Так мы знакомимся с газовой пружиной. Позднее в школе мы узнаем о сжимаемости газов, изучаем инертные газы и т. п., но самый первый опыт – из далекого детства. Поэтому при проведении обучения новых сотрудников чаще используется именно этот аксессуар. Сжали закрытый насос и отпустили, он отстреливает обратно под воздействием газовой пружины.
Вот вам простейшая демонстрация принципа работы гидромолота – от простого к сложному.
Детство
В гидромолотах всё один к одному, тот же принцип. Газ выполняет ту же функцию пружины. В поршневых гидромолотах газ запирает ударный поршень, он же и сжимает газ (под воздействием нажатия на гидромолот экскаватором и вспомогательного давления гидравлической жидкости) – то есть, чтобы взвести газовую пружину, необходимо нажать с максимальным усилием на гидромолот, а гидравлика поможет довести усилие до необходимого максимума. Отсюда и название по запирающему элементу.
- Запираем газ поршнем – молоток называем поршневым.
Отрочество
Изначально все гидромолоты имели такую конструкцию. Пионерами отрасли были Krupp, Roxon и Montabert. По странам соответственно: ФРГ, Финляндия и Франция. Быстро, в течение четырех лет, их догнали и советские ученые. ВНИИ «Стройдормаш» и еще шесть профильных НИИ стали четвертым мировым центром разработки.
Все это было в конце 1960-х – начале 70-х гг. Послевоенная европейская экономика развивалась невиданными темпами, новинки быстро прижились и получили массовое распространение в дорожном строительстве и добывающей отрасли.
Юность
Если долго давить на ручку закрытого насоса, то постепенно воздух, закрытый внутри, начнет выходить, рукоятка будет поддаваться усилию, воздух выйдет. Газовая пружина ослабнет, так как уплотнение насоса пропускает воздух. Необходимо снова открыть отверстие и заполнить насос воздухом. Как и с велосипедным насосом, у гидромолотов была та же проблема. Газ постоянно выходил, и требовалась дозаправка. Концепция данного типа подразумевает равенство производительности и количества газа. Газа стало меньше на 10% – производительность тоже упала на ту же цифру. Производители шли путем модернизаций, использовали новые материалы и в конечном итоге научились достаточно долго удерживать газ в необходимых объемах. Но кардинально эту проблему не удалось решить никому до сих пор, и это является основным недостатком поршневой модели гидромолота.
Вместе с необходимостью постоянно давить на него экскаватором это создает неудобства для эксплуатации. Особенно при работах с негабаритом. Проведите эксперимент: компьютерная мышь и шариковая ручка помогут понять неудобство при позиционировании гидромолота. Переверните мышь, надавите на нее шариковой ручкой с усилием, и вы в полной мере ощутите неудобство от необходимости «отжиматься» на гидромолоте.
Семейный альбом
Помните, что родоначальниками и центрами исследовательской деятельности были Krupp, Rammer, Montabert и ВНИИ «Стройдормаш». Но сегодня производителей гидромолотов более трех сотен. Неужели все стало доступно, и теперь каждая компания может наладить производство?
Конечно же нет. Гидромолот относится к категории самых сложных изделий, наиболее близким которому является двигатель внутреннего сгорания. А много ли в мире тех, кто производит двигатели? Нет, потому что за этим стоят десятилетия разработок, и еще столько же времени надо на техническую реализацию.
Это долго, дорого, сложно.
В истории развития гидромолотов есть свои печальные и даже глупые страницы. «Донором» массового изготовления стала немецкая компания Krupp. В середине 70-х, передав лицензию на морально устаревшую модель японской компании Furukawa, немцы и подумать не могли, что тем самым открывают ящик Пандоры. Японская Furukawa, в свою очередь, отдает лицензию корейскому Soosan, и наступает новое время – время кошмара для разработчиков, период копирования, подделок, воровства. Технология и документация расходятся большими тиражами по всей Корее и Китаю.
Большинство гидромолотов на сегодняшнем рынке – это копии той самой старой «крупповской» модели. Слегка модифицированные, с измененным дизайном, но это все тот же старый немецкий молоток. Только материалы не те, точность обработки не оригинальная, ресурс отличается на порядок.
Зрелость
Прогресс неудержим. Всегда есть те, кто не готов к компромиссам и ищет новые решения. Такими первопроходцами стали Montabert и Rammer (Hammer/ Roxon).
Они поставили перед собой задачу решить проблему раз и навсегда. Кому в итоге принадлежит первенство, сложно сказать, но оба производителя сконцентрировались на отделении газовой камеры от поршня, исключив тем самым воздействие износа уплотнений на производительность. Технически это решено так, что газ закрыт в герметичной капсуле, состоящей из металлической оболочки и эластичной резиновой мембраны. Сжатие газа осуществляется потоком гидравлической жидкости, давящей на резиновую мембрану. Газовая пружина в момент разжатия воздействует обратно на гидравлическую жидкость, усиливая ее поток и доводя давление до максимального уровня, то есть на ударный поршень действует только жидкость. Газ надежно защищен от утечек, производительность всегда максимальная, нет простоев.
- Газ заперт мембраной – молот называется мембранным.
Одна из главных эксплуатационных особенностей в том, что нет необходимости отжиматься на гидромолоте в отличие от поршневой версии.
Так как взвод газовой пружины осуществляется жидкостью, не нужно давить на гидромолот весом экскаватора. При выполнении определенных работ больше половины времени занимает установка гидромолота в точку, откуда он не соскользнет (эксперимент с ручкой и мышкой). А это влияет на производительность.
Отличное решение, но достаточно дорогое. Мембранные гидромолоты сложны в изготовлении, стоят дороже, но их производительность с лихвой окупает все траты. У этого типа тоже стали появляться копии и аналоги, но их масштаб ничтожен в сравнении с японскими, корейскими и китайскими копиями поршневых моделей. Ветка развития мембранных гидромолотов все же является более или менее закрытой для массовых подделок из-за высокой технологичности и стоимости конечного продукта.
Семейные истории
Что было с основателями, так это череда банкротств и поглощений. Так, Krupp был куплен компанией Atlas Copco. Roxon стал носить имя Rammer и вошел в состав Sandvik, потерял свое имя в ходе поглощения, вернулся на рынок под брендом Hammer, впоследствии вернул себе и старое имя Rammer.
Montabert долго искал пристанища, сменил несколько хозяев и обрел временный покой в Doosan до поры до времени. Советские разработки были остановлены в 1990-е гг. и воплотились в новом проекте «Импульс» под эгидой одноименного технопарка и бренда Impulse в начале 2000-х гг.
Сказки на ночь
Итак, два основных типа, две концепции решения одной и той же задачи разрушения материала. Мембранный тип и поршневой владеют миром.
Но всегда есть ушлые продавцы, способные воспользоваться доверчивостью покупателей. Так, например, поршневой молоток выдают за мембранный двумя популярными способами, сетуя на то, что это тоже профессиональное оборудование. И отчасти они не лгут, но вывод разворачивают в свою пользу. Действительно, на поршневых молотках весом от тонны установлена мембрана, но функции ее вспомогательные. Она расположена сбоку корпуса почти на всех копиях Krupp. Это техническое решение, позволяющее сгладить ударные нагрузки в гидравлическом контуре. Работает на запирание газа все равно поршень.
Мы же помним, что именно это отличительная черта поршневых гидромолотов. Не попадитесь на эту уловку.
Следующий способ ввести в заблуждение – это расположение вспомогательной мембраны над газовой камерой. Вы смотрите на изображение гидромолота, в разрезе видите мембрану над газовой камерой. Визуально это решение очень похоже на мембранные молотки, но это по-прежнему поршневой молот. Газ тоже запирается поршнем. Вот так же на похожие имена брендов попалось немало доверчивых покупателей. Например, один итальянский бренд – это поршневой молот для строительных работ, а профессиональный карьерный гидромолот с таким же названием – финский мембранный. Названия – это вообще кладезь смущающих оговорок. Будьте бдительны. Продажа техники в среднем сегменте требует уловок и ухищрений, потому что конкуренция велика. А ушлые дельцы не перевелись еще на земле корейской, китайской и тем более итальянской.
Еще один излюбленный способ – назвать свой гидромолот премиум-классом. Этот вид уловки очень популярен среди корейских производителей.
В этом случае надо понимать, что полного цикла производства гидромолотов в Корее практически не имеет ни один производитель. Узлы производятся небольшим числом специализированных компаний. Поршень делает один завод для десятка разных брендов, другой завод делает другую деталь для тех же брендов. Сборка и покраска – единственное, что отличает корейских братьев. Но находится один, который решает, что он «премиум», и так позиционирует себя на рынке. Хотя это такой же средний товар из тех же комплектующих. Не верьте ярким оберткам, повторюсь: будьте бдительны.
Кратко пересказав историю создания и развития гидромолотов от рождения до зрелого возраста, упомянув «родственников» и напомнив о детских познаниях мира, позвольте закончить эту статью. Об опыте эксплуатации, наветах и преимуществах поговорим в следующий раз.
Особенности гидромолота на базе экскаватора
Экскаватор, вне зависимости от его конструктивных особенностей, является универсальной строительной техникой.
Машина может работать с несколькими видами навесного оборудования, а соответственно выполнять широкий перечень работ. Среди дополнительных агрегатов, выгодно отличается гидромолот на базе экскаватора. Рассмотрим целевое предназначение и особенности этого агрегата.
Область применения
Гидравлический молот может устанавливаться на трактора или погрузчики, но этот вид техники не может справиться с тяжёлыми работами. Поэтому оптимальным решением является экскаватор с гидромолотом, особенно его гусеничные модели. Этот вид техники буквально незаменим в современном строительстве.
Возведение любого здания начинается с подготовки территории, в частности, это рытьё котлована и закладка фундамента. С этой задачей может справиться и обычная землеройная техника. Однако, если потребуется сначала разрушить старое здание или работы проводятся в зимнее время года, обычного экскаватора будет мало. В этом случае используется гидроударный инструмент.
Вот некоторые области его применения:
- Демонтаж дорожных плит и асфальтобетонных покрытий.

- Выработка каменистого или мороженого грунта.
- Демонтаж бордюрного камня.
- Заглубление свай в почву.
- Разрушение старых фундаментов и стен зданий.
- Демонтаж монолитных и железобетонных конструкций.
Гидромолот может устанавливаться на колёсные и гусеничные модели экскаваторов. Последний вариант намного эффективнее в плане производительности, но при этом возникают трудности с транспортировкой при переводе машины на другой объект.
Конструктивные особенности
Гидравлический молот относится к категории быстросменного навесного оборудования. Он устанавливается на стреле, заменяя собой стандартный ковш. Оборудование подбирается по следующим критериям: сложность выполняемых работ и мощность экскаватора. Большую роль играет вес оборудования. Чтобы гидромолот работал с максимальной эффективностью, его масса не должна превышать 10% от веса экскаватора.
Устройство гидравлического молота довольно простое: корпус, внутри которого двигается боёк, распределитель, ударный инструмент и азотная камера.
Последний элемент служит для амортизации обратного хода бойка, соответственно снижается вероятность гидроудара во время работы.
Принцип работы заключается в следующем: распределитель создаёт необходимое давление жидкости для движения бойка. Когда боёк двигается, он передаёт кинетическую энергию на ударный инструмент. Чем больше давление жидкости в системе гидравлики, тем мощнее получается удар. Соответственно, чем быстрее двигается боёк в корпусе, тем выше частота ударов.
Ударный инструмент гидравлического молота, представлен несколькими разновидностями. Может использоваться пика в виде лопатки, клинообразный наконечник или трамбовка. Пики меняются в зависимости от выполняемых работ.
Стоит отметить, что оборудование может оснащаться дополнительным клапаном пневмораспределителя. Это позволяет использовать агрегат в автоматическом режиме, минуя компрессорную установку экскаватора.
Параметры
Оборудование производится отечественными и западными компаниями, соответственно подходит практически для всех моделей землеройной техники.
Мы уже упоминали, что оптимальным решением будет гусеничный экскаватор с гидромолотом. Такая техника обладает большей устойчивостью при выполнении работ.
Кроме того, на гусеничных машинах предусмотрена возможность установки противовеса. Кроме того, гусеничная техника обладает полным поворотом платформы, что обеспечивает выполнение работ в условиях ограниченного пространства.
Технические характеристики гидромолота, можно рассмотреть на примере отечественной модели МГ-300. Этот агрегат производится компанией «ТВЭКС».
| Длина оборудования | 2 500 мм |
| Вес | 950 кг |
| Конструкционная масса экскаватора мин/макс | 12 000/25 000 кг |
| Сила удара | 3 000 Дж |
| Частота ударов за единицу времени | 270 уд/мин |
| Давление жидкости в системе гидравлики | 16 МПа |
| Давление в пневмосистеме | 0.8 МПа |
| Расход гидравлической жидкости | 110-220 л/мин |
Этот гидромолот на базе экскаватора обладает рядом неоспоримых преимуществ:
- Забор воздуха и его выхлоп осуществляется за пределами рабочей камеры.
Такая схема обеспечивает большой ресурс работы. - Бронзовые вкладыши заменены износостойкими уплотнителями.
- Конструкция корпуса обеспечивает быструю замену пики.
- Оборудование может работать при минусовых температурах.
- Большая ремпригодность и отсутствие проблем с запасными частями.
Из недостатков можно отметить нарушение геометрии корпуса вследствие механических повреждений. Кроме того, резиновые уплотнители быстро изнашиваются, что приводит к незапланированным потерям рабочей жидкости в системе.
Техобслуживание оборудования, проводится ежедневно оператором экскаватора. При этом удаляются загрязнения и смазываются рабочие узлы гидравлического молота.
РАССКАЖИ ДРУЗЬЯМ
Вконтакте
Одноклассники
Похожие статьи:
Принцип работы и применение гидромолота
Особенно актуальным применение данного агрегата становится в зимний период, когда грунт промерзает и обработать его с помощью ручного труда становится практически нереально.
Выбирая гидромолот и стремясь совершить по-настоящему полезную покупку, нужно исходить из следующих особенностей рассматриваемого агрегата:
– Вес гидромолота не должен превышать 10% от веса агрегата, с помощью которого он будет использоваться.
– Производительность насосного оборудования экскаватора должна соответствовать соответствующие потребности гидромолота.
– Оптимальное давление для работы гидромолота должно быть аналогичным тому давлению, которое создается насосным агрегатом основного оборудования.
– Крайне важно, чтобы гидромолот обладал переключателем режима эксплуатации. Данное устройство помогает эффективно использовать рассматриваемый агрегат в самых разных условиях.
Также стоит обратить пристальное внимание на особенности конструкции и сборки гидромолота. Уплотнений, выступов, резьбовых соединений и подобных им конструктивных особенностей должно быть как можно меньше, поскольку данные участки конструкции, под неизбежным воздействием вибрации, становятся уязвимыми.
Не последнюю роль играет и простота обслуживания гидромолота, агрегата.
Замена масла, подключение дополнительных деталей и другие, в том числе и профилактические меры, должны выполняться максимально просто. Втулки, аккумуляторная батарея и другие расходные материалы должны заменяться без полной разборки молота. Желательно, чтобы ударная установка была скрыта под металлическим корпусом агрегата. Такая особенность позволяет значительно сократить количество вибраций и шума, вырабатываемых устройством во время эксплуатации. Диаметр пики и интенсивность нанесения ударов дают возможность объективно оценивать производительность рассматриваемого агрегата, в то время, как данные, предоставляемые производителем часто бывают недостоверными, а проверить их не представляется возможным. Выходом из ситуации являются выводы, сделанные на основе диаметра пики.
Желательно ориентироваться не только на технические характеристики устройства но и на то, кем оно было изготовлено.
![]()
Подобрать спецтехнику для Ваших потребностей Вы сможете у нас в каталоге спецтехники!
Как это работает – использование гидравлического молота
Гидравлические молоты / отбойные молотки являются важным оборудованием в отрасли строительного оборудования. Они используются как при строительстве, так и при сносе зданий в строительной отрасли. В строительстве их можно использовать для рытья ям, разбивания камней или разбивания грязи, чтобы было легче вырыть ямы.
При сносе отбойный молоток может быстро разрушать бетон, стены и фундаменты, разрушая различные конструкции.Поскольку молотки / отбойные молотки могут легко пробивать твердый материал, эти типы инструментов отлично подходят для горнодобывающей промышленности.
Молоты / отбойные молотки часто устанавливаются на мини-погрузчики, мини-экскаваторы, экскаваторы-погрузчики и крупногабаритные экскаваторы. Эти инструменты отлично подходят для строительства и сноса.
Но самое интересное в этих молотках / отбойных молотках – это то, как они работают.
Гидравлические молоты / отбойные молотки используют для работы гидравлику, что является причиной их названия, но это также и то, что их отличает.Закон Паскаля, являющийся механическим принципом механики, является основной функцией гидравлического молота. Оказывая давление на одну часть жидкости, он передает давление во все области жидкости, что увеличивает силу.
Гидромолоты | В отбойных молотках используется гидравлическое масло, которое нельзя сжимать, давление которого сохраняется в небольшой канистре. Эта гидравлическая система обеспечивает силу удара. Обычный ручной молоток даже не сравнится с ударом гидравлического молота | Прерыватели.
Есть два основных типа гидромолотов | выключатели, с разными клапанами. Один тип имеет внутренний клапан, а второй тип имеет внешний клапан.
Внутренние части в основном такие же, с необходимым цилиндром для создания давления и поршнем для преобразования энергии в ударное действие. К другим аналогичным гидравлическим частям относятся:
- Боковые штоки: предназначены для поддержки навесных молотков
- Азотная камера: камера низкого давления для подачи энергии
- Главный клапан: единственная движущаяся часть, кроме поршня, для помощи при ударе.
- Передняя крышка: удерживает ударник на месте во время удара
Гидравлические молоты | Отбойные молотки бывают разных размеров / классов, чтобы соответствовать разным работам.У каждого из них есть рекомендуемая сумма использования, чтобы помочь пользователям узнать, какой класс лучше всего подходит для каждой работы. Хотя каждый молот / молот будет иметь разные размеры в зависимости от марки, вот некоторые основные характеристики для каждого класса, которые вы можете увидеть их потенциальное влияние на работу:
- Малый класс: Частота ударов для этого размера составляет от 400 до 1200 ударов в минуту при давлении от 1400 до 2175 фунтов на кв.
дюйм - Средний класс: частота ударов здесь составляет 370-700 ударов в минуту при давлении от 2175 до 2610 фунтов на кв. PSI
Эти измерения показывают, сколько раз молоток может поразить цель за минуту, а также то, какое давление было применено.Важно, чтобы для каждой работы использовался молот правильного класса. Использование молотка / отбойного молотка со слишком большим давлением для работы, требующей меньших усилий, может нанести слишком большой ущерб.
Если вы хотите купить гидравлический молот / отбойный молоток и у вас есть какие-либо вопросы о том, какой размер подходит для вашего проекта, мы всегда готовы ответить на эти вопросы через [электронная почта защищена]
Принцип работы гидравлического отбойного молоткаи как это работает?
Гидравлический отбойный молоток Принцип работы Гидравлический отбойный молоток – это тип строительной техники, которая устанавливается на экскаваторы, экскаваторы, погрузчики с бортовым поворотом, мини-экскаваторы и стационарные установки.
Приводимая в движение гидравлической силой, он дробит камни на более мелкие или бетонные конструкции на небольшие куски.
В этой технической статье классифицируется принцип работы гидромолота, или Как работает гидромолот.
Он содержит много полезной технической информации.
Если у вас есть инженерное образование, этот раздел поможет вам понять технические аспекты работы и действия гидравлического молота.
Если вы думаете, что эти блок-схемы утомительны и трудны для понимания, вы можете сразу перейти к выводу .
Чтобы прояснить технический процесс принципа работы, будут использоваться четыре изображения и одно видео, как показано ниже.
Для начала посмотрите короткий видеоролик для краткого понимания.
Тогда ищите техническую информацию дальше.
Примечания
- 1-8 означает камеры потока масла
- Красные области заполнены потоком масла высокого давления
- Синие области заполнены потоком масла низкого давления
- Камеры 3, 7 всегда имеют низкое давление, потому что они подключаются к «выходу».

- Камеры 1, 8 всегда имеют высокое давление, потому что они подключаются к «входу».
- Давление в камерах 2, 4, 6 изменяется в зависимости от движения поршня
- Масло под высоким давлением входит и заполняет камеры 1 и 8, воздействуя на торец поршня и толкая его вверх.
2. Когда поршень движется вверх к своему пределу, камеры 1 и 2 соединяются, и масло течет из камеры 2 в 6.
Регулирующий клапан перемещается вверх из-за разницы в давлении (давление масла в камере 6 выше, чем в 8).
3. Когда регулирующий клапан достигает своего верхнего предела, входное отверстие соединяется с потоком масла в камере 8, что заставляет масло течь в камеру 4.
Из-за высокого давления масла в камере 4 вместе с резервным азотом , поршень движется вниз.
4. Когда поршень движется вниз и ударяется о долото, камеры 3 и 2 соединяются, и они оба соединяются с камерой 6.
Из-за высокого давления масла в камере 8 регулирующий клапан перемещается вниз, и входное отверстие снова соединяется с камерой 7.
Тогда начинается новый тираж.
ЗаключениеОдного предложения достаточно, чтобы резюмировать принцип работы гидравлического молота: «Относительное изменение положения поршня и клапана, которое приводится в движение потоком масла, входящим и выходящим, »Преобразует гидравлическую мощность в энергию удара.”
Чтобы узнать больше о гидромолотах, посетите« полное руководство по покупке гидромолотов ».
Гидравлический отбойный молотокЧтобы понять, как работает гидромолот или каков его принцип работы, необходимо знать его конструкцию и основные компоненты.
Гидромолот состоит из трех основных частей: задней головки (азотная камера), цилиндра в сборе , и передней головки .
Приедем к ним отдельно.
Задняя часть представляет собой камеру для хранения азот.
Когда эта камера находится под высоким давлением, эта заполненная азотом камера действует как демпфер при обратном ходе поршня.
Он также работает как усилитель удара, когда поршень движется вниз.
2. Цилиндр в сбореЦилиндр в сборе является основной частью гидромолота.
В основном состоит из цилиндра, поршня и регулирующего клапана.
Поршень и клапан являются единственными движущимися частями гидромолота.
Поршень перемещается вверх и вниз и ударяется о инструмент, в то время как клапан вращается, чтобы контролировать направление потока масла.
Это место, где происходит движение и где вырабатывается гидравлическая энергия.
При управлении главным клапаном масло , гидравлический поток приводит в движение поршень для генерирования энергии удара.
Набор комплектов уплотнений помещается внутрь цилиндра для предотвращения утечки масла.
3. Передняя головкаЗдесь поршень соединяется с долотом (или рабочим инструментом).
Долото фиксируется втулками и штифтами, которые чаще всего требуют замены.
Передняя головка непосредственно касается рабочей поверхности, а корпус коробчатого типа может защитить ее от износа и продлить срок службы.
Эта статья авторизована и опубликована Робином Чжаном , ветераном гидравлической промышленности и строительного оборудования.
Следите за мной в социальных сетях, чтобы регулярно получать новые знания.
Есть вопросы по гидромолотам? Запросить советы по покупке у профессионала? Оставьте свое сообщение и мы предложим надежное решение по вашему запросу!Что такое гидравлический молот и как он работает?
Что такое гидравлический молот и как он работает?
Гидромолот – это строительное оборудование, которое используется для сноса конструкции
и дробления горных пород на меньшие размеры.
Это навесное оборудование для экскаватора, работающее по принципу гидравлики. Он создает высокое давление из своей небольшой канистры, в которой хранится гидравлическое масло под давлением. Они намного более мощные, чем другие ручные молотки, и их сила варьируется в зависимости от силы ходов поршня
и его размера.
Гидромолот бывает двух типов: с внутренним клапаном и с внешним клапаном. Оба типа имеют в основном одни и те же компоненты,
Например, цилиндр, который является наиболее важной частью гидравлической системы.Поршень также присутствует в обоих типах гидравлического молота, который преобразует кинетическую энергию в энергию удара
, а передняя головка предназначена для поддержки машины,
И одна задняя головка, которая содержит газообразный азот.
Гидромолоты чаще всего используются в горнодобывающей промышленности, в горнодобывающей промышленности, в разрушении горных пород, разрушении бетона и сносе строений. Многие из них разработаны как навесное оборудование для мобильного оборудования
, такого как экскаваторы-погрузчики и экскаваторы.
Работа гидравлического молота
Гидравлический молот работает по принципу гидравлики Блейза Паскаля, который утверждает, что
«Приложение давления к одной части жидкости передает это давление на все области жидкости,
позволяет увеличить силу ».Поскольку используемое масло несжимаемое,
позволяет мгновенно передавать мощность с незначительными потерями.
Гидромолот запускается с главным клапаном в цилиндре. Гидравлическое масло подается на удар через этот клапан. Когда происходит ход вверх,
Давление в верхней камере сбрасывается главным клапаном и через выпускное отверстие. Затем высокое давление в нижней камере толкает поршень вверх.
Когда поршень достигает верхнего конца хода,
Главный клапан направляет поток в верхние камеры, которые превращают его в камеру высокого давления.Это заставляет поршень двигаться вниз из-за накопленной энергии из газовой камеры,
Следовательно, создавая цикл удара. Энергия передается инструменту, который использует ее для выполнения различных задач.
В точке удара,
Главный клапан смещается, и давление из верхней камеры сбрасывается,
Обеспечивает верхний ход.
Большинство гидравлических молотов поставляются с полностью закрытым корпусом
над их частями не только для защиты их от других материалов;
Но чтобы они прослужили дольше.
Кроме того, амортизатор также помогает защитить детали гидравлического молота.
Гидромолоты безопасны для окружающей среды, поскольку они производят меньше шума и вредных веществ. Они предпочтительны в местах, которые чувствительны к вибрации и шуму.
Поскольку вибромолот может повредить существующие конструкции. «
Гидравлический молот Основные принципы и конструкция – Новости
Основной принцип и конструкция Гидравлический молот
Гидравлический молот относится к ударным сваебойным молотам, по конструкции и принципу работы его можно разделить на два типа: одностороннего и двухстороннего действия.
Тип одностороннего действия относится к удару сердечника молота через гидравлическое устройство на заданную высоту после быстрого высвобождения удара молота в свободный путь для борьбы с сваей; двойное действие относится к удару молота через гидравлическое устройство на заданную высоту от гидравлики. Система получает энергию ускорения для увеличения скорости удара по свае. Это также соответствует теории двух свай, гидравлический сваебойный молот одностороннего действия, соответствующий теории тяжелого удара молота, с большим весом молота, более низкой скоростью удара, более длительным временем действия молота характеризуется свайным молотком на один щелчок проникновения, чтобы адаптироваться для различных форм и типов свай, потери скорости сваи низки, особенно подходят для игры в бетонные сваи.Гидравлический сваебойный молот двойного действия, соответствующий теории веса молота, с меньшим весом молота, более высокой скоростью удара, более короткое время действия молота сваи характеризуется ударной энергией, наиболее подходящей для забивки стальных свай.
Гидромолот состоит из подъемного устройства и бункера; сам гидромолот снабжен силовым устройством, а выходной конец мощности приводится в движение муфтой для приведения в действие механизма замедления, а механизм замедления соединен с механизмом преобразования мощности, а механизм преобразования мощности вращает выход редуктора. К верхнему и нижнему перемещению в осевом направлении бункера; и приводить поршень в движение гидравлической жидкости к буровой установке.В ходе работы молот гидравлическим маслом ударного сверла, сила реакции и передается гидравлическому маслу, поглощение гидравлического масла, делая вибрацию гидравлического молота меньше, машина имеет защитный эффект. Как сам гидравлический молот с силовой установкой, в дикой природе или в плохих экологических условиях в регионе, если гидравлический молот может быть доставлен. Значительно упрощает полевые операции необходимое механическое оборудование.
Из-за инженерной геологии в провинции Гуандун были применены различные свайные основания.
Среди них трубные сваи из предварительно напряженного бетона – это своего рода новый тип свай, который имеет преимущества низкой стоимости, надежного качества и быстрой скорости строительства. Предварительно напряженные бетонные трубные сваи широко используются в Гуандуне, также было разработано оборудование для забивки труб из предварительно напряженного бетона, современное импортное оборудование для забивки труб и отличительное отечественное оборудование для забивки труб используются в конструкции труб из предварительно напряженного бетона. Это важная роль в продвижении рынка насосов для процветания. Эта статья познакомит вас с иностранным, широко используемым в передовом сваебойном оборудовании – разработка и применение гидравлических сваебойных молотов.
Гидромолот из-за высокой эффективности забивки свай, низкого уровня шума, вибрации, отсутствия дыма, его передовой характер получил широкое признание. Сегодня в западных развитых странах и Азии, Японии, Южной Корее, Гонконге и Сингапуре, а также в других странах и регионах гидравлический сваебойный молот полностью заменил дизельный сваебойный молот, а рынок стал абсолютной главной силой.
С прогрессом социальной цивилизации и экономического развития, с гидравлическим сваебойным молотом вместо дизельного сваебного молота неизбежно, что является национальным промышленным уровнем и степенью символа цивилизации.
Что такое гидроудар? Все, что вам нужно знать!
Что такое гидроудар?
Гидравлический удар – это явление, которое может возникнуть в любой трубопроводной системе, где клапаны используются для управления потоком жидкости или пара. Гидравлический удар – это результат скачка давления или ударной волны высокого давления, которая распространяется через систему трубопроводов, когда движущаяся жидкость вынуждена менять направление или внезапно останавливаться. Эту ударную волну также обычно называют гидравлическим ударом или гидравлическим ударом, и она может характеризоваться выраженным стуком или стуком по трубам сразу после отключения.
Гидравлический удар может возникнуть, когда открытый клапан внезапно закрывается, в результате чего вода ударяется в него, или когда насос внезапно выключается и поток меняет направление обратно к насосу.
Поскольку вода несжимаема, удар воды приводит к возникновению ударной волны, которая распространяется со скоростью звука между клапаном и следующим коленом в системе трубопроводов или внутри водяного столба после насоса.
Последствия гидроудара
Несмотря на то, что это может выглядеть и звучать безвредно, сила удара на клапан, вызванная импульсом жидкости, может вызвать скачки давления, которые могут в десять раз превышать рабочее давление системы.Эти внезапные остановки потока и связанное с этим увеличение давления из-за ударных волн могут вызвать значительные повреждения всей трубопроводной системы либо из-за единичного события, либо из-за совокупного повреждения, происходящего с течением времени.
Игнорирование гидравлического удара может в конечном итоге привести к катастрофическому отказу вашей проточной системы. Долгосрочные последствия гидроудара могут включать:
- Повреждение насоса и подающей системы
Повторяющийся гидроудар может также вызвать значительные повреждения насосов, существующих клапанов и инструментов, привести к катастрофическому выходу из строя герметичных и компенсирующих стыков, а также повлиять на целостность стенок труб и сварных стыков.
Гидравлический удар может повредить фитинги, соединения и соединения, что приведет к утечкам. Эти утечки часто начинаются медленно, постепенно усиливаясь с течением времени. Небольшие утечки могут оставаться незамеченными в течение некоторого времени, в результате чего окружающее оборудование становится уязвимым.
Ремонт трубопроводов, разорвавшихся из-за скачков давления, особенно дорог. Разрыв приводит к отказу местного трубопровода и может вызвать отказ всей системы и другого оборудования. Последующее повреждение может быть значительным, часто требуя серьезных операций по замене.
Если не остановить, утечки воды могут повредить электрическое оборудование и / или привести к коррозии оборудования или инфраструктуры.
Разрыв трубопровода также может поставить под угрозу здоровье и безопасность сотрудников и обслуживающего персонала. В зависимости от отрасли и конкретного предприятия неуправляемые утечки также могут увеличить риск поскользнуться, упасть и получить удар электрическим током.
Материальный ущерб может повлечь за собой дорогостоящий ремонт или замену оборудования. Дополнительные финансовые потери также могут быть понесены из-за простоев, необходимых для дополнительного обслуживания, ремонта или установки.
Как видите, очень важно немедленно принять меры при первых признаках гидроудара. Невыполнение этого требования в конечном итоге приведет к повреждению всей системы и может распространиться за пределы проточной системы на другое оборудование или инфраструктуру объекта.
Предотвращение гидроудара
Одним из основных факторов гидравлического удара может быть выбор типа обратного клапана. Типы клапанов, такие как поворотные, поворотные дисковые или поршневые обратные клапаны, зависят от силы тяжести и реверсирования потока, чтобы вернуть клапаны в закрытое положение.Это приводит к попаданию воды в клапанный механизм, создавая волну давления, которая распространяется по системе трубопроводов.
С другой стороны, бесшумные обратные клапаны или обратные клапаны с подпружиненным механизмом оснащены внутренней пружиной, которая бесшумно переводит клапан в закрытое положение до реверсирования потока, тем самым уменьшая или исключая возможность гидроудара.
Воздушные камеры также являются эффективным решением для гидравлических ударов. Эти системы состоят из короткого сегмента трубы, обычно в форме тройника, с пустой / заполненной воздухом камерой, которая служит подушкой (амортизатором) для воды, расширяющейся при резком изменении направления.Это снижает величину удара, который в противном случае был бы направлен в сторону трубопровода.
Другие эффективные методы предотвращения гидроудара включают:
- Промывка старых систем
- Установка редукторов и регуляторов давления в подающей магистрали
- Уменьшить рабочее давление
- Инвестиции в системы трубопроводов, в конструкции которых предусмотрены воздушные камеры
- Снижайте жесткость давления с помощью бесшумных обратных клапанов
Загрузите нашу бесплатную электронную книгу «Понимание гидравлического удара: причины и наиболее эффективные решения для гидравлического удара в гидравлических системах и промышленных приложениях», чтобы узнать больше о разрушительных последствиях гидравлического удара.
Гидравлические отбойные молотки
Отбойный молоток – это мощный ударный молот, устанавливаемый на экскаватор для разрушения бетонных конструкций или камней.
Он приводится в действие вспомогательной гидравлической системой от экскаватора, которая для этого оснащена ножным клапаном. Бригады по сносу используют камнолом для работ, слишком больших для выполнения отбойных молотков или на участках, где взрывные работы невозможны из-за проблем безопасности или защиты окружающей среды.
Камнедробилки широко используются в горнодобывающей промышленности и озеленении. Несмотря на то, что он может быть как стационарным, так и мобильным, отбойный молоток чаще всего используется в качестве мобильного инструмента, поскольку он более универсален.
Имея простой, но эффективный принцип работы, камнедробитель предназначен для приложения силы к небольшому поршню и создания механического преимущества, когда постоянное давление перенаправляется через трубы на большую площадь, создавая большое усилие.
Сегодня существует множество различных типов камнедробителей, которые различаются по весу, размеру и применению.Каждый камнедробитель предназначен для конкретного применения. Их всех объединяет прочная стальная конструкция. Вес головы определяет баланс и эффективность всего камнолома. Логично, что чем тяжелее голова, тем быстрее и эффективнее ломается. Более легкие отбойные молотки подходят для дробления более легких и небольших камней.
Камнедробилки со стамеской головкой также подходят для очистки от мусора или для чистки щеткой.Этот камнедробитель особенно используется геологами для удаления пыли с камней и окаменелостей. Однако все камнедробилки очень эффективны для различных геологоразведочных работ.
В наши дни гидромолоты используются чаще, чем стандартные. Гидравлические отбойные молотки обеспечивают более высокое усилие и достаточно эффективны для крупных строительных проектов. Они основаны на теориях механики жидкости и состоят из труб, двигателя, насоса, специальной гидравлической жидкости и выходного устройства.
Гидравлические отбойные молотки очень универсальны и могут использоваться для строительных работ, работ по сносу, ковки металла и карьерных работ. Гидравлические отбойные молотки дробят в прямом и обратном направлениях и останавливаются, когда землеройный инструмент поднимается. По сравнению со стандартными отбойными молотками гидравлические отбойные молотки оказывают более благоприятное воздействие на окружающую среду и производят меньше шума.
Брейкерс против взрывных
Использование гидромолота вместо взрывчатки для удаления породы с забоя карьера становится все более распространенным явлением.По мере того как гидравлические молоты и носители увеличиваются в размерах и долговечности, улучшается шумоподавление, а жилые и коммерческие объекты вторгаются в городские карьеры, могут быть некоторые области применения, где работают камноломы.
Полевые результаты показывают пять преимуществ использования дробилки для первичного дробления, в основном по сравнению с взрывом горных пород.
- Выборочная экстракция
Методы разработки карьеров с использованием взрывчатых веществ обычно смешивают вместе различные сорта минералов в пределах месторождения.Это может снизить качество или сделать камень непригодным для некоторых применений. Гидравлические отбойные молотки позволяют производить выборочную разработку отдельных пластов горных пород, возможно, обеспечивая более дорогую продукцию. - Стандарты высшего качества
В результате взрывных работ в добытой породе могут образоваться микротрещины, что может снизить качество породы и снизить цену продажи. Взрывные работы также влекут за собой штрафы, не подлежащие продаже. За счет снижения штрафов можно увеличить объем товарной продукции с требуемой крупностью. - Непрерывное производство
Перед взрывными работами опасную зону возле забоя карьера необходимо очистить от людей и техники, часто прерывая производство. Первичное и вторичное измельчение с использованием гидромолотов позволяет непрерывно производить и сокращает перемещение мобильных дробилок и конвейерных систем.
Технологическое и конвейерное оборудование может стабильно оставаться близко к рабочему забою. - Меньшее количество дробилок меньшего размера
Операторы дробилки могут определить дробление породы перед первоначальным дроблением.Это может устранить необходимость в большой первичной дробилке. Материал может подаваться непосредственно в дробилки, расположенные ниже по потоку, что позволяет сэкономить на инвестициях и затратах на техническое обслуживание. - Экологические аспекты
Карьеры, сталкивающиеся с серьезными ограничениями по шуму и вибрации от взрывных работ, могут найти эффективную альтернативу гидравлическим отбойным молоткам. Еще одно экологическое преимущество гидравлических молотов – это меньшая высота уступов, что может снизить затраты на рекультивацию.
Гидравлические отбойные молотки Conquest
Гидравлические молоты Conquest Attachments разработаны для повышения эффективности, минимизации износа машины и повышения производительности.
Они долговечны и эффективны в различных областях применения, включая разрушение скал, бетона и плит, строительство дорог, тротуаров и бордюров, снос домов, раскопки и т. Д. Conquest Attachments предоставляет обслуживание своих гидромолотов и полную 2-летнюю гарантию. Conquest предлагает варианты покупки, аренды, аренды и RPO для гидромолотов.
Conquest Характеристики:
• Доступно для машин 0,8 – 55 тонн
• Амортизирующая конструкция
• Технология шумоподавления
• 2 года заводской гарантии
• Соответствует стандартам ISO 9001
• Местные запчасти и обслуживание
Для получения дополнительной информации о гидромолотах Conquest загрузите спецификацию здесь.
Скачать спецификацию
Анализ гидроудара и помпажа
Гидравлический удар является частью более крупного объекта анализа переходного потока или помпажа. Это особый случай, когда происходит резкое изменение скорости потока.
Обычно это происходит при быстром закрытии клапана. Гидравлический удар может вызвать скачки очень высокого давления, которые могут привести к разрыву трубы и возникновению вибрации трубопровода. Величину повышения давления гидроудара можно рассчитать с помощью уравнения Жуковского, которое составляет
P = ρCU (Па)
Где
P – изменение давления
ρ – плотность жидкости
U – изменение скорости жидкости
C – скорость звука в трубе
Скорость звука – это скорость звука в трубе, она определяется по модифицированной формуле закона крюка, которая учитывает жесткость жидкости и стенки трубы.
Где
K Объемный модуль жидкости
E Модуль Юнга материала трубы
e Толщина стенки трубы
Скорость звука – это также скорость, с которой волны давления, создаваемые гидроударом, распространяются по трубе.
Для воды в очень жестких трубах скорость звука может достигать 1480 м / с.
Но в некоторых пластиковых трубах скорость волны может быть меньше 200 м / с.
Модуль объемной упругости (k) воды равен 2.19×10 9 Па, однако это предполагает, что в воде нет пузырьков воздуха. Часто в жидкости можно увидеть пузыри микроскопических размеров. Это может существенно повлиять на эффективный объемный модуль упругости и, следовательно, на скорость звука. Часто при гидравлическом ударе давление ниже атмосферного и может возникать кавитация (как описано ниже). Это может высвобождать растворенный воздух из воды, который образует пузырьки воздуха, снижая эффективный объемный модуль и, таким образом, уменьшая скорость волны.
Пример закрытия клапана гидравлического удара.
На рис. 1 показаны начальные условия в трубе. Впускной патрубок в позиции A соединен с напорным баком, который обеспечивает давление P 1 для управления потоком в трубе. Другой конец трубы в позиции B открыт в атмосферу, и его давление составляет P 0
P 1 = ρgh + P 0
Длина трубы L.
На рис. 2 показаны условия трубы и потока сразу после того, как конец трубы в точке B был мгновенно закрыт в момент времени t0.Волна давления в позиции X движется вверх по трубе со скоростью C (скорость звука). Повышение давления на волне составляет ρCU (уравнение Жуковского). Перед положением X скорость равна начальной скорости U и . После X скорость равна 0.
Между X и B жидкость будет сжиматься, а труба расширяться. Скорость изменения объема трубы и сжатия жидкости такая же, как и скорость потока перед X.
На рисунке 3 показаны условия, когда волна давления достигает положения A в момент времени t1.Давление в трубопроводе увеличено на ρCU – , а скорость жидкости на всем протяжении равна 0. Это состояние нестабильно, так как давление на входе трубы задается напором жидкости во входном резервуаре h. Итак, теперь жидкость должна двигаться в обратном направлении из трубы высокого давления в бак более низкого давления.
Это вызывает отражение первой волны, и это происходит в момент времени t1.
Где t1 = t0 + L / C
На рис. 4 показаны условия после первого отражения. Волна давления находится в позиции X и движется по трубе со скоростью C.Жидкость между положениями A и X движется в обратном направлении со скоростью –U i . Падение давления на фронте волны составляет ρC (-U i ).
На рис. 5 показаны условия, когда волна давления достигает положения B в момент времени t2. Давление в трубопроводе в целом было снижено, и скорость жидкости во всем составляет -U и .
Следует отметить, что между A и B будет небольшой градиент отрицательного давления. Это необходимо для преодоления трения между жидкостью и трубой, поскольку поток идет в противоположном направлении.Величина этого градиента давления обычно будет значительно меньше, чем величина, вызванная изменением скорости (уравнение Жуковского). Этот градиент трения увеличен на рисунке по сравнению с эффектом гидравлического удара в демонстрационных целях.
Поскольку конец трубы в точке B закрыт, это состояние нестабильно, поскольку имеется жидкость для поддержания потока. Это вызывает отражение второй волны в момент времени t2.
Где t2 = t1 + L / C или t2 = t0 + 2L / C.
На рис. 6 показаны условия после второго отражения.Волна давления находится в позиции X и движется вверх по трубе со скоростью C ’. Жидкость между положениями A и X все еще движется в обратном направлении со скоростью –U i . Жидкость между X и B остановлена.
Падение давления на фронте волны составляет ρC ’(- U и ). Следует отметить, что в этом случае скорость волны или скорость звука были изменены с C на C ’. C ’может быть таким же или меньшим, чем C, это зависит от минимально допустимого давления P3.Отрицательное абсолютное давление невозможно. Минимальное давление в трубопроводе не может быть меньше, чем давление пара текучей среды, и часто минимальное давление выше, чем давление пара, потому что в текучей среде, которая выходит из раствора при понижении давления, присутствует растворенный газ.
Когда возникает кавитация или из раствора выходит газ, объемный модуль упругости жидкости снижается с K до K ’. Именно этот уменьшенный объемный модуль упругости позволяет снизить скорость звука с C до C ’. Таким образом, все в зависимости от минимально возможного давления величина C’ будет регулировать себя так, чтобы P3 не было ниже минимально возможного давления.
Формулы для скорости волны и уравнение Жуковского по-прежнему действительны, когда возникает кавитация, но объемный модуль будет уменьшен, что обеспечивает согласованность уравнений и отсутствие невозможных давлений.
На рисунке 7 показаны условия, когда волна давления достигает положения A в момент времени t3. Давление в трубопроводе в целом снижено до P 3 , а скорость жидкости на всем протяжении равна 0. Это состояние нестабильно, поскольку давление на входе в трубу, устанавливаемое напором жидкости во входном резервуаре h, выше, чем давление в трубе, поэтому теперь жидкость должна поступать в трубу из напорного резервуара.
Это вызывает отражение третьей волны, и это происходит в момент времени t3.
Где t3 = t2 + L / C ’или t3 = t0 + 2L / C + L / C’
На рис. 8 показаны условия после третьего отражения. Волна давления находится в позиции X и движется по трубе со скоростью C ’. Жидкость между положениями A и X все еще движется в нормальном направлении со скоростью U i ’. Жидкость между X и B остановлена. Скорость в сечении от A до X показана как U i ’, где U i ’ немного меньше, чем U i .На этом этапе процесс претерпел 3 отражения, и на каждом этапе теряется некоторая энергия, поэтому со временем величина волн давления и скорости уменьшаются.
Скорость звуковой волны по-прежнему является уменьшенной скоростью C ‘, как показано на рисунке 8. Но если ранее из жидкости были выделены воздух или пар, то пар будет повторно конденсироваться, и пузырьки газа уменьшатся в размерах и могут начать уходить. обратно в раствор.
На рисунке 9 показаны условия, когда волна давления достигает положения B в момент времени t4.
Как можно видеть, это почти идентично условиям, показанным на рисунке 1. Основное отличие состоит в том, что скорость Ui ’немного ниже, чем у исходного U i . Поскольку конец трубы закрыт, жидкости в точке B некуда идти. Таким образом, это вызовет окончательное отражение в момент времени t4, а затем весь процесс будет повторяться.
Где t4 = t3 + L / C ’или t4 = t0 + 2L / C + 2L / C’
На рисунке 10 показано состояние после четвертого отражения. Цикл теперь начал повторяться, однако давление гидроудара теперь немного снижено с P 2 (рисунок 2) до P 2 ’.Это снижение давления имеет две причины. Скорость жидкости снижена из-за потерь энергии.
Звуковая скорость C ” может быть меньше исходной звуковой скорости C. Если на предыдущих этапах, показанных на рисунках 8 и 9, из жидкости был выделен какой-либо газ, то этот объем газа будет уменьшен, однако для этого потребуется время газ должен быть полностью реабсорбирован, поэтому в жидкости могут быть небольшие пузырьки остаточного газа.



html: использовано 8 блоков из 8, кол-во символов 9431 (49%)
)

Такая схема обеспечивает большой ресурс работы.
дюйм
Технологическое и конвейерное оборудование может стабильно оставаться близко к рабочему забою.
Добавить комментарий