Двигатель с неразделенными камерами сгорания: О камерах сгорания и типах смесеобразования. Статьи компании «ООО “ТД Техлайф”»
Неразделенная камера – сгорание – Большая Энциклопедия Нефти и Газа, статья, страница 1
Неразделенная камера – сгорание
Cтраница 1
Неразделенные камеры сгорания более компактны, в результате чего потери тепла от камеры уменьшаются, облегчается процесс запуска и повышается экономичность работы двигателя. Вместе с тем однокамерные двигатели работают более жестко, поэтому износ деталей шатунно-поршневой группы у них интенсивнее. Смесеобразование у таких двигателей происходит при повышенном давлении, и, значит, топливоподающая и топ-ливораспыливающая аппаратура должна обладать повышенной гидравлической плотностью. [1]
Неразделенная камера сгорания геометрически представляет собой единый объем, куда форсункой вводится топливо и где происходят процессы смесеобразования и сгорания. Одна из неразделенных камер сгорания показана на фиг. Форсунка, расположенная по оси цилиндра, подает топливо несколькими струями, расходящимися широкоугольным конусом.
Неразделенные камеры сгорания представляют собой единый объем, ограниченный поверхностями днища поршня, головки ( крышки) и цилиндра. [4]
Неразделенная камера сгорания представляет собой единый объем, заключенный между головкой цилиндра п поршнем. Этот объем образуется обычно за счет углубления в поршне или иногда н головке двигателя. Конфигурация неразделенных камер сгорания весьма разнообразна. [6]
Компактная неразделенная камера сгорания имеет на единицу объема наименьшую поверхность, что ограничивает потери теплоты через ее стенки. Это обстоятельство объясняет основные преимущества дизелей с неразделенными камерами сгорания. [7]
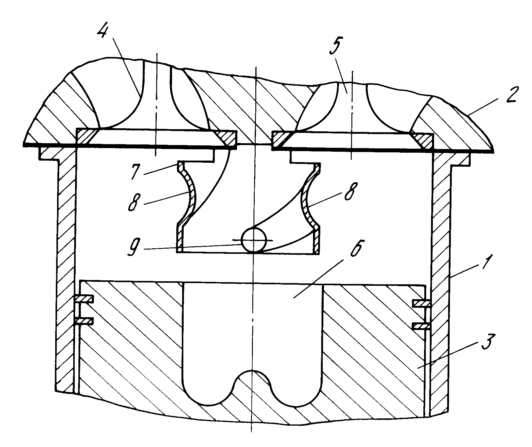
Неразделенная камера сгорания дизельного двигателя ( рис. 44, а, б, б) представляет собой компактную полость, ограниченную фасонным днищем поршня, а также поверхностями головки и стенок цилиндра.
Форму неразделенной камеры сгорания выбирают в зависимости от расположения форсунки, количества, направления и формы струй топлива, вводимого через форсунку. Камера должна обеспечивать интенсивное завихрение в процессе смесеобразования.
[9]В неразделенные камеры сгорания ( они расположены в днище поршня) топливо подают под большим давлением 50 – 100 МПа. Это позволяет получить тонкое распылива-ние топлива, хорошее перемешивание его с воздухом, достаточную полноту сгорания, и двигатель будет развивать наибольшую мощность. [10]
Рассмотрим
Схемы неразделенных камер сгорания представлены на фиг. [12]
У неразделенных камер сгорания все пространство сжатия представляет собой единый объем, который может быть размещен в головке поршня, в крышке рабочего цилиндра, либо между днищами поршня и крышки.
В связи с тем, что топливо впрыскивается непосредственно в указанный единый объем, неразделенные камеры часто именуются камерами непосредственного впрыска.
[14]
У неразделенных камер сгорания все пространство сжатия представляет собой единый объем, в который непосредственно впрыскивается топливо. Поэтому эти камеры часто называют камерами непосредственною впрыска. [15]
Страницы: 1 2 3 4 5
Дизельный двигатель типы дизельного двигателя и принцип его работы
Топливо в дизельных двигателях воспламеняется от соприкосновения со сжатым воздухом.
Бензиновый двигатель является довольно неэффективным и способен преобразовывать всего лишь около 20-30% энергии топлива в полезную механическую работу.
Стандартный дизельный двигатель обычно имеет коэффициент полезного действия в 30-40%, а с турбонаддувом и промежуточным охлаждением свыше 50% (например, MAN S80ME-C7 тратит только 155 гр на кВт*ч, достигая эффективности 54,4%). Дизельный двигатель из-за использования впрыска высокого давления не предъявляет требований к летучести топлива, что позволяет использовать в нём низкосортные тяжелые масла (даже на подсолнечном масле дизель может работать практически без потери мощности).
Дизельный двигатель не имеет дроссельной заслонки, регулирование мощности осуществляется регулированием количества впрыскиваемого топлива. Это приводит к отсутствию снижения давления в цилиндрах на низких оборотах. Потому дизель выдаёт высокий вращающий момент при низких оборотах, что делает автомобиль с дизельным двигателем более «отзывчивым» в движении, чем такой же автомобиль с бензиновым двигателем. По этой причине в настоящее время большинство грузовых автомобилей оборудуются дизельными двигателями. Это является преимуществом также и в двигателях морских судов, так как высокий крутящий момент при низких оборотах делает более лёгким эффективное использование мощности двигателя.
По сравнению с бензиновыми двигателями, в выхлопных газах дизельного двигателя, как правило, меньше окиси углерода (СО), но теперь, в связи с применением каталитических конвертеров на бензиновых двигателях, это преимущество не так заметно. Основные токсичные газы, которые присутствуют в выхлопе в заметных количествах— это углеводороды (НС или СН) , оксиды (окислы) азота (Nox) и сажа (или её производные) в форме чёрного дыма.
Другим важным аспектом, касающимся безопасности, является то, что дизельное топливо нелетучее (то есть легко не испаряется) и, таким образом, вероятность восгорания у дизельных двигателей намного меньше, тем более, что в них не используется система зажигания, попросту говоря, у дизеля нет свечей зажигания. Вместе с высокой топливной экономичностью это стало причиной широкого применения дизелей на танках, поскольку в повседневной небоевой эксплуатации уменьшался риск возникновения пожара в моторном отделении из-за утечек топлива. Меньшая пожароопасность дизельного двигателя в боевых условиях является мифом, поскольку при пробитии брони снаряд или его осколки имеют температуру, сильно превышающую температуру вспышки паров дизельного топлива и так же способны достаточно легко поджечь вытекшее горючее. Детонация смеси паров дизельного топлива с воздухом в пробитом топливном баке по своим последствиям сравнима со взрывом боекомплекта, в частности, у танков Т-34 она приводила к разрыву сварных швов и выбиванию верхней лобовой детали бронекорпуса.
С другой стороны, дизельный двигатель в танкостроении уступает карбюраторному в плане удельной мощности (мощности, снимаемой с единицы массы мотора), а потому в ряде случаев (высокая мощность при малом объёме моторного отделения) более выигрышным может быть использование именно карбюраторного силового агрегата.Конечно, существуют и недостатки, среди которых характерный стук дизельного двигателя при его работе и маслянистость топлива. Однако, они замечаются в основном владельцами автомобилей с дизельными двигателями, а для стороннего человека практически незаметны.
Явными недостатками дизельных двигателей являются необходимость использования стартера большой мощности, помутнение и застывание летнего дизельного топлива при низких температурах, сложность в ремонте и регулировке топливной аппаратуры (ТНВД), так как насосы высокого давления являются устройствами, изготовленными с высокой точностью. Также дизель-моторы крайне чувствительны к загрязнению топлива механическими частицами и водой.
Такие загрязнения очень быстро выводят топливную аппаратуру из строя. Ремонт дизель-моторов, как правило, значительно дороже ремонта бензиновых моторов аналогичного класса. Литровая мощность дизельных моторов также, как правило, уступает аналогичным показателям бензиновых моторов, хотя дизель-моторы обладают более ровным крутящим моментом в своём рабочем диапазоне. Экологические показатели дизельных двигателей значительно уступали до последнего времени двигателям бензиновым. На классических дизелях с механически управляемым впрыском возможна установка только окислительных нейтрализаторов отработавших газов («катализатор» в просторечии), работающих при температуре отработавших газов свыше 300°C, которые окисляют только CO и CH до безвредных для человека углекислого газа (CO2) и воды. Также раньше данные нейтрализаторы выходили из строя вследствие отравления их соединениями серы (количество соединений серы в отработавших газах напрямую зависит от количества серы в дизельном топливе) и отложением на поверхности катализатора частиц сажи.
Так что, по сложности современный и экологически такой же чистый, как и бензиновый дизель-мотор ничем не уступает своему бензиновому собрату, а по ряду параметров сложности и значительно его превосходит. Так, например, если давление топлива в форсунках обычного дизеля с механическим впрыском составляет от 100 до 400 бар, то в новейших системах «Common-rail» оно находится в диапазоне от 1000 до 2500 бар, что влечёт за собой немалые проблемы. Также каталитическая система современных транспортных дизелей значительно сложнее бензиновых моторов, так как катализатор должен «уметь» работать в условиях нестабильного состава выхлопных газов, а в части случаев требуется введение так называемого «сажевого фильтра».
«Сажевый фильтр» представляет собой подобную обычному каталитическому нейтрализатору структуру, устанавливаемую между выхлопным коллектором дизеля и катализатором в потоке выхлопных газов.
В сажевом фильтре развивается высокая температура, при которой частички сажи способны окислиться остаточным кислородом, содержащимся в выхлопных газах. Однако часть сажи не всегда окисляется, и остается в «сажевом фильтре», поэтому программа блока управления периодически переводит двигатель в режим очистки «сажевого фильтра» путём так называемой «постинжекции», то есть впрыска дополнительного количества топлива в цилиндры в конце фазы сгорания с целью поднять температуру газов, и, соответственно, очистить фильтр путём сжигания накопившейся сажи. Стандартом де-факто в конструкциях транспортных дизель-моторов стало наличие турбонаддува (или даже двойного наддува), а в последние годы— и так называемого «интеркулера»— то есть устройства, охлаждающего сжатый турбонагнетателем воздух.
Нагнетатель позволил поднять удельные мощностные характеристики массовых дизель-моторов, так как позволяет пропустить за рабочий цикл большее количество воздуха через цилиндры.
В своей основе конструкция дизельного двигателя подобна конструкции бензинового инжекторного двигателя. Однако, аналогичные детали у дизеля обычно тяжелее и более устойчивы к высокому давления сжатия, имеющим место у дизеля. Головки поршней, однако, специально разработаны под особенности сгорания в дизельных двигателях и часто (но не всегда) рассчитаны на повышенную степень сжатия. Кроме того, головки поршней в дизельном двигателе находятся выше верхней плоскости блока цилиндров, когда поршень находится в верхней точке своего хода. Во многих случаях головки поршней содержат в себе камеру сгорания.
КОНСТРУКЦИЯ
Особенности двигателя
Как уже отмечалось, конструкция дизельного двигателя подобна конструкции бензинового двигателя. Однако аналогичные детали у дизеля существенно усилены, чтобы воспринимать более высокие нагрузки – ведь степень сжатия у него намного выше (16-24 единиц против 9-11 у бензинового).
Характерная деталь в конструкции дизелей – это поршень. Форма днища поршней у дизелей определяется типом камеры сгорания, поэтому по форме легко определить, какому двигателю принадлежит данный поршень. Во многих случаях днище поршня содержит в себе камеру сгорания. Днища поршней находятся выше верхней плоскости блока цилиндров, когда поршень находится в верхней точке своего хода. Так как воспламенение рабочей смеси осуществляется от сжатия, в дизелях отсутствует система зажигания, хотя свечи могут применяться и на дизеле. Но это не свечи зажигания, а свечи накаливания, которые предназначены для подогрева воздуха в камере сгорания при холодном пуске двигателя.
Технические и экологические показатели автомобильного дизельного двигателя в первую очередь зависят от типа камеры сгорания и системы впрыскивания топлива.
Типы камер сгорания
Форма камеры сгорания значительно влияет на качество процесса смесеобразования, а значит и на мощность и шумность работы двигателя.
Камеры сгорания дизельных двигателей разделяются на два основных типа: неразделенные и разделенные.
Несколько лет назад на рынке легкового машиностроения доминировали дизели с разделенными камерами сгорания. Впрыск топлива в этом случае осуществляется не в надпоршневое пространство, а в специальную камеру сгорания, выполненную в головке блока цилиндров. При этом различают два процесса смесеобразования: предкамерный (его еще называют форкамерным) и вихрекамерный.
При форкамерном процессе топливо впрыскивается в специальную предварительную камеру, связанную с цилиндром несколькими небольшими каналами или отверстиями, ударяется об ее стенки и перемешивается с воздухом. Воспламенившись, смесь поступает в основную камеру сгорания, где и сгорает полностью. Сечение каналов подбирается так, чтобы при ходе поршня вверх (сжатие) и вниз (расширение) между цилиндром и форкамерой возникал большой перепад давления, вызывающий течение газов через отверстия с большой скоростью.
Во время вихрекамерного процесса сгорание также начинается в специальной отдельной камере, только выполненной в виде полого шара. В период такта сжатия воздух по соединительному каналу поступает в предкамеру и интенсивно закручивается (образует вихрь) в ней. Впрыснутое в определенный момент топливо хорошо перемешивается с воздухом.
Таким образом, при разделенной камере сгорания происходит как бы двухступенчатое сгорание топлива. Это снижает нагрузку на поршневую группу, а также делает звук работы двигателя более мягким. Недостатком дизельных двигателей с разделенной камерой сгорания являются: увеличение расхода топлива вследствие потерь из-за увеличенной поверхности камеры сгорания, больших потерь на перетекание воздушного заряда в дополнительную камеру и горящей смеси обратно в цилиндр. Кроме того, ухудшаются пусковые качества.
Дизельные двигатели с неразделенной камерой называют также дизелями с непосредственным впрыском. Топливо впрыскивается непосредственно в цилиндр, камера сгорания выполнена в днище поршня.
До недавнего времени непосредственный впрыск использовался на низкооборотистых дизелях большого объема (проще говоря, на грузовиках). Хотя такие двигатели экономичнее моторов с разделенными камерами сгорания, их применение на небольших дизелях сдерживалось трудностями организации процесса сгорания, а также повышенными шумом и вибрацией, особенно в режиме разгона.
Система питания дизеля
Важнейшим звеном дизельного двигателя является система топливоподачи, обеспечивающая поступление необходимого количества топлива в нужный момент времени и с заданным давлением в камеру сгорания.
Топливный насос высокого давления (ТНВД), принимая горючее из бака от подкачивающего насоса (низкого давления), в требуемой последовательности поочередно нагнетает нужные порции солярки в индивидуальную магистраль гидромеханической форсунки каждого цилиндра. Такие форсунки открываются исключительно под воздействием высокого давления в топливной магистрали и закрываются при его снижении.
Существует два типа ТНВД: рядные многоплунжерные и распределительного типа. Рядный ТНВД состоит из отдельных секций по числу цилиндров дизеля, каждая из которых имеет гильзу и входящий в нее плунжер, который приводится в движение кулачковым валом, получающим вращение от двигателя. Секции таких механизмов расположены, как правило, в ряд, отсюда и название – рядные ТНВД. Рядные насосы в настоящее время практически не применяются ввиду того, что они не могут обеспечить выполнение современных требований по экологии и шумности. Кроме того, давление впрыска таких насосов зависит от оборотов коленвала.
Распределительные ТНВД создают значительно более высокое давление впрыска топлива, нежели насосы рядные, и обеспечивают выполнение действующих нормативов, регламентирующих токсичность выхлопа. Этот механизм поддерживает нужное давление в системе в зависимости от режима работы двигателя. В распределительных ТНВД система нагнетания имеет один плунжер-распределитель, совершающий поступательное движение для нагнетания топлива и вращательное для распределения топлива по форсункам.
Эти насосы компактны, отличаются высокой равномерностью подачи топлива по цилиндрам и отличной работой на высоких оборотах. В то же время они предъявляют очень высокие требования к чистоте и качеству дизтоплива: ведь все их детали смазываются топливом, а зазоры в прецизионных элементах очень малы.
Ужесточение в начале 90-х законодательных экологических требований, предъявляемых к дизелям, заставило моторостроителей интенсивно совершенствовать топливоподачу. Сразу же стало ясно, что с устаревшей механической системой питания эту задачу не решить. Традиционные механические системы впрыска топлива имеют существенный недостаток: давление впрыска зависит от частоты вращения двигателя и нагрузочного режима. Это значит, что при низкой нагрузке давление впрыска падает, в результате топливо при впрыске плохо распыляется, попадая в камеру сгорания слишком крупными каплями, которые оседают на ее внутренних поверхностях. Из-за этого уменьшается КПД сгорания топлива и повышается уровень токсичности отработанных газов.
Кардинально изменить ситуацию могла только оптимизация процесса горения топливовоздушной смеси. Для чего надо заставить весь её объём воспламениться в максимально короткое время. А здесь необходима высокая точность дозы и точность момента впрыскивания. Сделать это можно, только подняв давление впрыска топлива и применив электронное управление процессом топливоподачи. Дело в том, что чем выше давление впрыска, тем лучше качество его распыления, а соответственно – и смешивания с воздухом. В конечном итоге это способствует более полному сгоранию топливовоздушной смеси, а значит и уменьшению вредных веществ в выхлопе. Хорошо, спросите вы, а почему бы не сделать такое же повышенное давление в обычном ТНВД и всей этой системе? Увы, не получится. Потому что есть такое понятие, как “волновое гидравлическое давление”. При любом изменении расхода топлива в трубопроводах от ТНВД к форсункам возникают волны давления, “бегающие” по топливопроводу. И чем сильнее давление, тем сильнее эти волны.
И если далее повышать давление, то в какой-то момент может произойти обыкновенное разрушение трубопроводов.
В результате были разработаны два новых типа систем питания – в первом форсунку и плунжерный насос объединили в один узел (насос-форсунка), а в другом ТНВД начал работать на общую топливную магистраль (Common Rail), из которой топливо поступает на электромагнитные (или пьезоэлектрические) форсунки и впрыскивается по команде электронного блока управления. Но с принятием Евро 3 и 4 и этого оказалось мало, и в выхлопные системы дизелей внедрили сажевые фильтры и катализаторы.
Насос-форсунка устанавливается в головку блока двигателя для каждого цилиндра. Она приводится в действие от кулачка распределительного вала с помощью толкателя. Магистрали подачи и слива топлива выполнены в виде каналов в головки блока. За счет этого насос-форсунка может развить давление до 2200 бар. Дозированием топлива, сжатого до такой степени и управлением угла опережения впрыска занимается электронный блок управления, выдавая сигналы на запорные электромагнитные или пьезоэлектрические клапаны насос-форсунок.
Насос-форсунки могут работать в многоимпульсном режиме (2-4 впрыска за цикл). Это позволяет произвести предварительный впрыск перед основным, подавая в цилиндр сначала небольшую порцию топлива, что смягчает работу мотора и снижает токсичность выхлопа. Недостаток насос-форсунок – зависимость давления впрыска от оборотов двигателя и высокая стоимость данной технологии.
Система питания Common Rail используется в дизелях серийных моделей с 1997 года. Common Rail – это метод впрыска топлива в камеру сгорания под высоким давлением, не зависящим от частоты вращения двигателя или нагрузки. Главное отличие системы Common Rail от классической дизельной системы заключается в том, что ТНВД предназначен только для создания высокого давления в топливной магистрали. Он не выполняет функций дозировки цикловой подачи топлива и регулировки момента впрыска. Система Common Rail состоит из резервуара – аккумулятора высокого давления (иногда его называют рампой), топливного насоса, электронного блока управления (ЭБУ) и комплекта форсунок, соединенных с рампой.
В рампе блок управления поддерживает, меняя производительность насоса, постоянное давление на уровне 1600-2000 бар при различных режимах работы двигателя и при любой последовательности впрыска по цилиндрам. Открытием-закрытием форсунок управляет ЭБУ, который рассчитывает оптимальный момент и длительность впрыска, на основании данных целого ряда датчиков – положения педали акселератора, давления в топливной рампе, температурного режима двигателя, его нагрузки и т. п. Форсунки могут быть электромагнитными, либо более современными- пьезоэлектрическими. Главные преимущества пьезоэлектрических форсунок – высокая скорость срабатывания и точность дозирования. Форсунки в дизелях c Common rail могут работать в многоимпульсном режиме: в ходе одного цикла топливо впрыскивается несколько раз – от двух до семи. Сначала поступает крохотная, всего около миллиграмма, доза, которая при сгорании повышает температуру в камере, а следом идет главный «заряд». Для дизеля — двигателя с воспламенением топлива от сжатия — это очень важно, так как при этом давление в камере сгорания нарастает более плавно, без «рыбка».
Вследствие этого мотор работает мягче и менее шумно, снижается количество вредных компонентов в выхлопе. Многократная подача топлива за один такт попутно обеспечивает снижение температуры в камере сгорания, что приводит к уменьшению образования окиси азота- одной из наиболее токсичных составляющих выхлопных газов дизеля. Характеристики двигателя с Common Rail во многом зависят от давления впрыска. В системах третьего поколения оно составляет 2000 бар. В ближайшее время в серию будет запущено четвертое поколение Common Rail с давлением впрыска 2500 бар.
А теперь посмотрите обучающие и очень интересное видео о дизельном двигателе.
Турбодизель. Система турбонаддува.
Эффективным средством повышения мощности и гибкости работы дизеля является турбонаддув. Он позволяет подать в цилиндры дополнительное количество воздуха и соответственно увеличить подачу топлива на рабочем цикле, в результате чего увеличивается мощность двигателя.
Давление выхлопных газов дизеля в 1,5-2 раза выше, чем у бензинового мотора, что позволяет турбокомпрессору обеспечить эффективный наддув с самых низких оборотов, избежав свойственного бензиновым турбомоторам провала – “турбоямы”. Отсутствие дроссельной заслонки в дизеле позволяет обеспечить эффективное наполнение цилиндров на всех оборотах без применения сложной схемы управления турбокомпрессором. На многих автомобилях устанавливается промежуточный охладитель наддуваемого воздуха – интеркулер, позволяющий поднять массовое наполнение цилиндров и на 15-20 % увеличить мощность.
Надув позволяет добиться одинаковой мощности с атмосферным мотором при меньшем рабочем объеме, а значит, снизить массу двигателя. Турбонаддув, помимо всего прочего, служит для автомобиля средством повышения “высотности” двигателя – в высокогорных районах, где атмосферному дизелю не хватает воздуха, наддув оптимизирует сгорание и позволяет уменьшить жесткость работы и потерю мощности. В то же время турбодизель имеет и некоторые недостатки, связанные в основном с надежностью работы турбокомпрессора.
Так, ресурс турбокомпрессора существенно меньше ресурса двигателя. Турбокомпрессор предъявляет жесткие требования к качеству моторного масла. Неисправный агрегат может полностью вывести из строя сам двигатель. Кроме того, собственный ресурс турбодизеля несколько ниже такого же атмосферного дизеля из-за большой степени форсирования. Такие двигатели имеют повышенную температуру газов в камере сгорания, и чтобы добиться надежной работы поршня, его приходится охлаждать маслом, подаваемым снизу через специальные форсунки.
Какие бывают камеры сгорания дизельных двигателей?
🛠 Автосервис в Минске » Блог » Какие бывают камеры сгорания дизельных двигателей?
На качество смесеобразования, как правило, влияют 3 основных фактора – метод впрыска, степень сжатия топливной смеси и геометрическая форма камеры сгорания. А от равномерности распределения смеси внутри камеры зависит мощность «дизеля» и то, как громко он работает.
Дизельные двигатели бывают с разделенной и неразделенной камерой сгорания.
На легковом транспорте, как правило, применяются моторы небольших объемов и, соответственно, с разделенной камерой. В таком виде камер сгорания топливо впрыскивается в дополнительную полость в головке блока цилиндров. В таком случае смесеобразование может осуществляться 2-мя способами – вихрекамерным и форкамерным (предкамерным).
Во время этих двух процессов сгорания, ДТ подается в предварительную камеру, после чего смешивается с кислородом и воспламеняется. Когда камера имеет сферическую форму, воздух там закручивается подобно вихрю, из чего и пошло название. Форкамерная же конструкция предполагает наличие специальных каналов, по которым проходит смесь. Это придает ее составу большей однородности.
В обоих типах разделенных камер сгорание топлива происходит «в 2 шага», что значительно снижает нагрузку на поршня. Но ввиду дополнительных расходов на перекачивание топливной смеси по камерам снижаются пусковые качества, и увеличивается потребление двигателем дизтоплива.
Различия этих двух методов заключаются в том, что в предкамерном процессе смесь приобретает однородность при перекачивании, а значит уже после воспламенения, а в вихрекамерном – смесь перемешивается до однородного состава за счет вихря до воспламенения.
Дизельные двигатели с камерой сгорания неразделенной имеют непосредственную систему впрыска, что, естественно, делает их наиболее экономичными по сравнению с другими конструкциями движков. Но для таких моторов характерна повышенная вибрация и чрезмерная шумность, особенно при разгоне. А все это из-за того, что частота вращения коленвала довольно большая, а система впрыска – прямая.
Добавить комментарий
Камеры сгорания и способы смесеобразования
КАМЕРЫ СГОРАНИЯ И СПОСОБЫ СМЕСЕОБРАЗОВАНИЯ [c.79]Величина степени повышения давления для дизелей устанавливается по опытным данным в основном в зависимости от количества топлива, подаваемого в цилиндр, формы камеры сгорания и способа смесеобразования.
Кроме того, на величину Я, оказывает влияние период задержки воспламенения топлива, с увеличением которого степень повышения давления растет
[c.53]
Выбор степени сжатия для дизелей прежде всего определяется формой камеры сгорания и способом смесеобразования. В зависимости от этих параметров значения степени сжатия е дизелей находятся в пределах [c.75]
Количество и расположение сопловых отверстий выбирается исходя из формы камеры сгорания и способа смесеобразования. [c.359]
Тип камеры сгорания и способ смесеобразования [c.121]
В зависимости от устройства камеры сгорания, определяющего способ смесеобразования, различают два основных типа дизелей дизели с неразделенными камерами сгорания, называемые также дизелями с непосредственным впрыском топлива, и дизели с разделенными камерами сгорания.
[c.
56]
Коэффициент i зависит от режима работы двигателя, способа смесеобразования, условий охлаждения камеры сгорания и догорания на линии расширения. [c.39]
Другой способ получил название пленочного смесеобразования. В этом случае струя (факел) топлива направляется под малым углом к горячей поверхности камеры сгорания и движется вдоль нее в виде пристеночного слоя, увлекаемого также турбулентным потоком воздуха, омывающим поверхность стенки. Этот пристеночный слой состоит из пленки топлива на поверхности стенки и капель топлива в пограничном слое. В результате диффузии паров испаряющегося топлива в воздушном заряде на [c.133]
Цетановые числа дизельных топлив лежат в пределах 35ч-60. Необходимым условием для лучшего сгорания топлива в двигателе дизеля является хорошее перемешивание распыленного топлива с воздухом смесь топлива и воздуха должна быть по возможности однородной. В дизеле процесс получения рабочей смеси сложнее, чем в карбюраторном двигателе, так как он происходит непосредственно в камере сгорания двигателя, а время, отводимое на процессы смесеобразования, значительно меньше.
При плохом распределении топлива по объему камеры сгорания смесь по составу будет неоднородной. Неудовлетворительное распыление топлива ухудшает качество рабочей смеси. В дизеле, где смесь обычно неоднородна по составу и неравномерно распределена по камере сгорания, воздуха для сгорания требуется больше, чем это теоретически необходимо. Расход воздуха у дизелей составляет примерно 20 -f- 25 кг на I кг топлива, т. е. в 1,5-н 2 раза больше, чем в карбюраторных двигателях. Качество рабочей смеси зависит от способов смесеобразования, которые могут быть разделены на три группы.
[c.283]
Смесеобразование при помощи дополнительной камеры. При этом способе цилиндр имеет две камеры сгорания основную и дополнительную — предкамеру (фиг. 121). Предкамера сообщается с основной камерой узким каналом. Топливо подается в предка- [c.284]
Процесс образования горючей смеси и горение происходят почти одновременно.
По способу смесеобразования автомобильные дизельные быстроходные двигатели делятся на несколько типов с непосредственным впрыском топлива с раздельными камерами предкамерного и вихревого типов. Способ смесеобразования определяет устройство камеры сгорания.
[c.186]
Наибольшее число двигателей с неразделенной камерой имеет смешанное, т. е. объемно-пленочное смесеобразование. Количество топлива, направляемого в этом случае на стенки, зависит в основном от конфигурации камеры сгорания, расположения форсунок, способа распыливания топлива, организации вихревых движений и других факторов. Камеры с пленочным и объемно-пленочным смесеобразованием благодаря значительному уменьшению количества топлива, подготовленного к воспламенению за период задержки, и наличию условий для быстрого сгорания топливо-воздушной смеси по мере ее испарения, характеризуются относительно невысокими давлениями сгорания и степенью нарастания давления, а также плавной и мягкой работой.
[c.
80]
Величина коэффициента использования теплоты принимается на основе экспериментальных данных в зависимости от конструкции двигателя, режима его работы, системы охлаждения, формы камеры сгорания, способа смесеобразования, коэффициента избытка воздуха и частоты вращения коленчатого вала. [c.52]
Различие способа смесеобразования в дизельных и карбюраторных двигателях оказывает также влияние на различное исполнение камер сгорания. В дизельных двигателях форма камеры сгорания обеспечивает равномерность распределения рабочей сме- [c.121]
Чтобы рабочая смесь равномерно и быстро распределялась по всей камере сгорания, необходимо глубокое проникновение струи топлива и мелкое ее распыление. Однако мелко распыленное топливо хуже проникает в сжатый воздух камеры сгорания, поэтому необходимо увеличивать давление впрыска топлива. Кроме того, при впрыске топливо должно хорошо перемешиваться с воздухом, что может быть достигнуто завихрением воздуха, создаваемым при поступлении его в цилиндр и при сжатии.
В соответствии с этим в дизельных двигателях применяют различные способы смесеобразования.
[c.122]
Различие способа смесеобразования в дизельных и карбюраторных двигателях оказывает также влияние на различное исполнение камер сгорания. В дизельных двигателях форма камеры сгорания обеспечивает равномерность распределения рабочей смеси по всему объему камеры и влияет также на качество смесеобразования. [c.113]
Параметры скорости процесса сгорания представляют собой константы, величины которых зависят от конкретных физико-химических условий осуществления процесса сгорания в двигателе. Поскольку параметрами скорости сгорания учитывается суммарное влияние этих физико-химических условий, они имеют сложную природу. Поэтому одной из ближайших задач должно явиться экспериментальное исследование рабочих циклов двигателей внутреннего сгорания при самых разных условиях с целью выявления влияния отдельных физико-химических, а также конструктивных факторов на величину параметров скорости процесса сгорания.
В первую очередь следует накапливать опытные данные по влиянию на кинетические константы таких факторов, как степень сжатия, наддув, число оборотов двигателя, нагрузка, впрыск воды, род и сорт топлива, коэффициент избытка воздуха, угол опережения воспламенения (впрыскивания), род зажигания, расположение и число свечей, форма камеры сгорания, способ смесеобразования в дизелях (давление распыливания, форма струи, степень и характер завихрений воздуха, предварительный кратковременный впрыск и др.) и т. д. Когда в этом направлении будет накоплен достаточный опытный материал, можно будет направленно воздействовать на процесс сгорания в нужную сторону.
[c.86]
При проектировании двигателя, новой камеры сгорания, применения другого способа смесеобразования, наддува и т. д. пред- [c.144]
Наибольшее давление сгорания в дизелях выше, чем в карбюраторных двигателях, и в значительной мере оно определяется задержкой воспламенения и принятым в данном двигателе способом смесеобразования.
В подавляющем большинстве случаев наибольшие давления сгорания наблюдаются в дизелях с неразделенными камерами сгорания, в которых жесткость выше, чем в других типах дизелей.
[c.133]
В зависимости от способа смесеобразования камеры сгорания дизелей разделяются на два основных типа 1) неразделенные камеры сгорания, или камеры сгорания непосредственного впрыска, и 2) разделенные камеры, к числу которых относятся вихревая камера, предкамера и другие камеры. [c.122]
Форма поверхности днища, обращенной к камере сгорания, определяется в основном способом смесеобразования, наличием и расположением клапанов в крышке, системой продувки и т. п. В двигателях с внешним смесеобразованием и относительно невысокой степенью сжатия наиболее распространена плоская форма днища. В двухтактных двигателях с щелевой схемой газо- [c.69]
Форму камеры сгорания дизельного двигателя в основном определяет примененный способ смесеобразования.
Камеры сгорания дизельных двигателей подразделяются на разделенные и неразделенные.
[c.36]
По способу смесеобразования дизельные двигатели бывают с неразделенными и разделенными камерами сгорания. [c.103]
Поршень подвергается воздействию значительных механических и термических нагрузок от действия газовых и инерционных сил. Он надежно уплотняет камеру сгорания, препятствует попаданию в нее лишнего количества масла и передает действующие на него силы шатуну и коленчатому валу. Обеспечение надежной работы поршня при форсировании дизеля является одной из наиболее трудных задач. Повышение температуры поршня сверх допустимых пределов приводит к прогарам днища и загоранию поршневых колец. Материал поршня должен обладать малой плотностью, хорошей износоустойчивостью и прочностью при работе в условиях повышенных температур, а также невысоким коэффициентом линейного расширения. Форма днища поршня зависит от способа смесеобразования. На двигателях с непосредственным впрыском применяется камера сгорания с кольцевым углублением по периферии поршня, обеспечивающим отвод тепла от днища и предохраняющим зоны поршневых колец от перегрева.
[c.48]
Двигатели с внутренним смесеобразованием и самовоспламенением топлива. В этих двигателях используется трудноиспаряемое топливо (дизельное топливо, соляровые масла и их смеси), и горючая смесь образуется в камерах сгорания двигателей. Поэтому конструкция камер сгорания дизелей оказывает непосредственное влияние на способ смесеобразования и воспламенения горючей смеси. В современных дизелях в зависимости от конструкции камер сгорания и способа подачи топлива используют неразделенные камеры с объемным или [c.343]
Существует большое количество различных форм камер сгорания и способов организации газовых потоков в цилиндре, у.лучшаю-щпл смесеобразование. Все камеры сгорания могут быть сведены к двум группам неразделенным и разделенным ка.мерам сгорания, [c.207]
По способу смесеобразования бескомпрессорные дизели делятся на двигатели со струйным смесеобразованием (рис. 74, а), двигатели с предкамерой (рис.
74,6) и Гс вихревой камерой (рис. 74, б). В двигателях со струйным смесеобразованием топливо впрыскивается непосредственно в камеру сгорания. В этих двигателях скорость движения воздуха в камере сжатия мала, поэтому для хорошего перемешивания топлива с воздухом впрыск его производится под большим давлением (300—400 бар, а в отдельных случаях до 1400 бар). Для улучшения смесеобразования днища поршней этих двигателей изготовляют фигурными, приспособленными к форме струи топлива, выбрасываемой форсункой. Для улучшения распыливания топлива форсунка имеет несколько отверстий (3—9). Чем больше отверстий, тем лучше распространяется топливо по камере сгорания. При данном способе смесеобразования стремятся к тому, чтобы впрыснутое топливо не попадало на стенки камеры сгорания, так как попадание топлива на стенки, температура которых ниже 200 или 400° С, затрудняет смесеобразование, ведет к повышенному нагарообра-зованию и ухудшает показатели работы дизеля. Компактность неразделенных камер сгорания и малые удельные поверхности теплоотдачи обусловливают минимальные тепловые потери, поэтому преимуш,еством дизелей с неразделенной камерой сгорания являются высокие экономические показатели и более легкий пуск, чем у дизеля с разделенными камерами.
[c.171]
Форсунка (рис. 77, а) предназначена для впрыскивания, распределения по камере сгорания и распыливания топлива, подаваемого топливным насосом. Топливо по трубопроводу высокого давления 1 поступает в щелевой фильтр 2 и из него по сверлениям 3 и 4 в корпусе форсунки 5 попадает в наконечник форсунки 6. По сверлению в наконечнике топливо попадает к игле форсунки 7 и воздействует на ее конус 10 (рис. 77, б). Игла поднимается, сжимает пружину 9, и топливо через центральный канал и рас-пыливающие отверстия сопла 8 впрыскивается в камеру сгорания дизеля. После прекращения подачи топлива насосом высокого давления игла форсунки под воздействием пружины садится на седло. Форсунки, в зависимости от способа смесеобразования, имеют различную конструкцию распыливающей части. На дизелях со струйным смесеобразованием обычно применяют многодырчатые, распылители, на вихрекамерных и предкамерных дизелях — однодырочные распылители со штифтом на конце иглы, который входит внутрь распыливающего отверстия и образует кольцевое проходное сечение (рис.
77, в).
[c.175]
При объемном смесеобразовании, характерном для двигателей с неразделенными камерами сгорания, испарение топлива происходит из факелов мелкораспыленного топлива в объеме камеры сгорания. В случае пленочного смесеобразования, применяемого в дизелях с полу-разделенными камерами сгорания, топливо испаряется с поверхности пленки, образующейся на поверхностях камеры сгорания прн впрыске топлива. При сме1ианном смесеобразовании, которое применяется в дизелях с разделенными камерами сгорания, сочетается пленочное и объемное смесеобразование. От способа смесеобразования зависят требования к организации впрыска топлива. Они касаются компоновки и конструкции камер сгорания и топливоподающси аппаратуры, используемой при различных способах смесеобразования, а также органов газораспределения. [c.141]
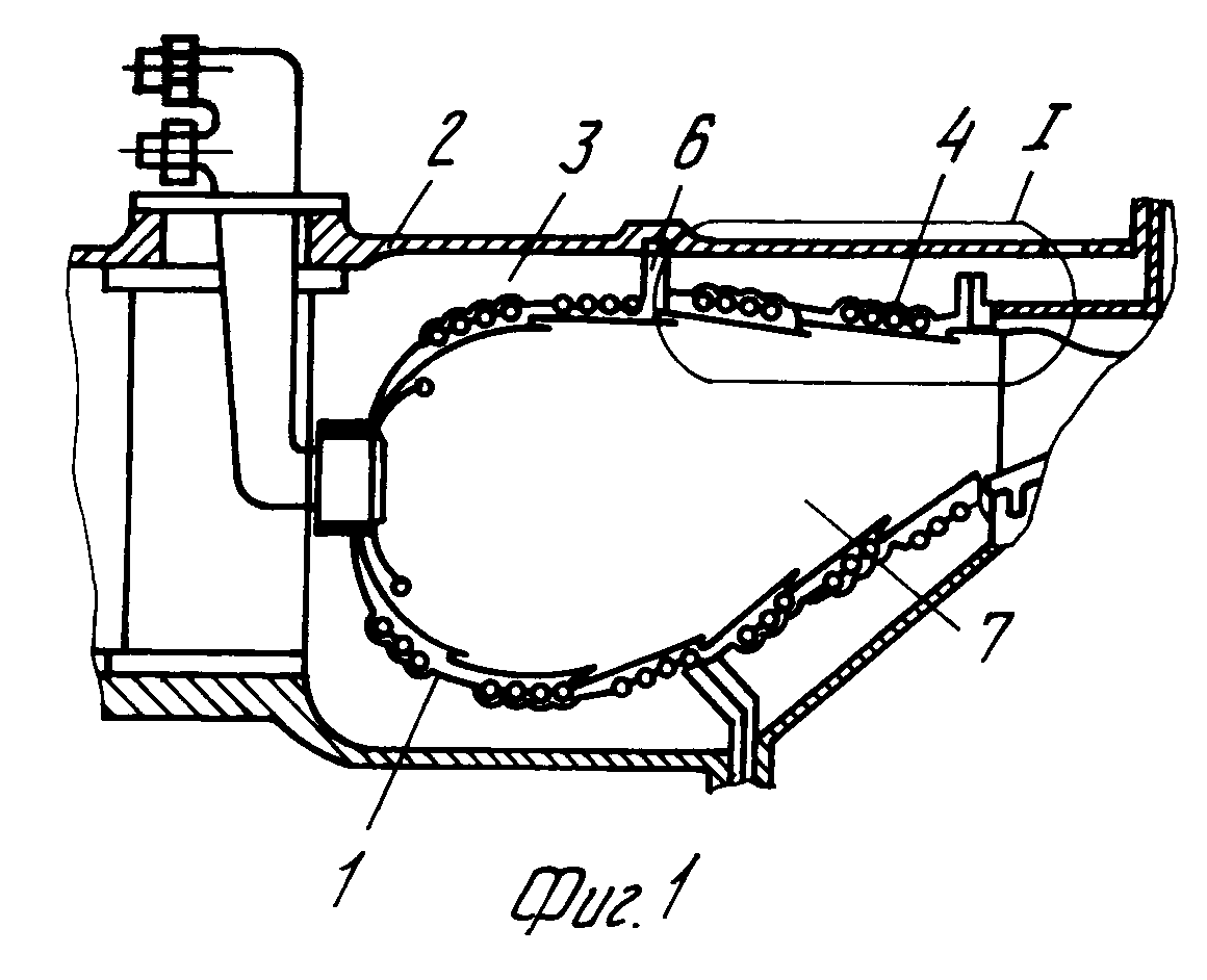
В вихревых камерах (фиг. 120) смесеобразование осуществляется при помощи сильных вихревых движений воздуха, получаемых в результате придания камере специальной формы.
При этом способе смесеобразования камера сгорания делится на две части первая, составляющая от 50 до 80% от всего объема камеры, расположена в крышке цилиндра, а вторая —в цилиндре двигателя. Обе части.соединены между собой широким каналом. Процесс вихреобразования в этих камерах закономерен и достаточно устойчив. При интенсивном вихревом движении сокращается период задержки воспламенения. Давление распылива-ния топлива у вихрекамерных дизелей невелико (100-ь 120 ата).
[c.284]
Предназначен в основном для установки на шасси грузовых автомобилей большой грузоподъемности, самосвалов, тягачей, автокранов, насосных станций, буровых установок и др. Дизели отличаются высокой экономичностью ( ет1п = 175 г Л. с. -ч) (65,6 гШдж), способ смесеобразования — непосредственный впрыск топлива в однополостную камеру сгорания, расположенную в поршне. [c.73]
На рис. 276 и 277 соответственно представлены поперечный и продольный разрезы четырехцилиндрового четырехтактного тракторного дизеля с воздушным охлаждением Д-37Е мощностью Ng per = 50 л.
с. (35,7 квт) при Ле рег =1800 об мин и удельном расходе топлива per = = 190 г/(л.с. -ч) (71,8 г Мдж). Рабочий объем цилиндров дизеля Vk = 4,15 л диаметр D = 105 мм цилиндра, ход S = 120 мм поршня степень сжатия е = 16,5 способ смесеобразования — непосредственный впрыск. Топливо в камеру сгорания неразделенного типа, расположенную в поршне, подается при давлении начала распыла 170 кПсм (16,7 Мн1м ) через бес-штифтовую форсунку закрытого типа с тремя сопловыми отверстиями. Оребренные головки цилиндров отлиты из алюминиевого сплава, оребренные цилиндры и картер — из чугуна. Цилиндр, вставляемый обработанной поверхностью в отверстие картера, и головка цилиндра соединяются с картером четырьмя силовыми шпильками. Между картером и каждым цилиндром устанавливают для обеспечения уплотнения медные прокладки.
[c.389]
По способу смесеобразования — двигатели с внешним и внутренним смесеобразованием. К первым относятся карбюраторные двигатели, подавляющее большинство четырехтактных газовых двигателей и газожидкостные двигатели.
К двигателям с внутренним смесеобразованием относятся дизели, двигатели с непосредственным впрыском топлива в цилиндр и двухтактные газовые двигатели. Дизели, в свою очередь, делятся на компрессорные и бескомпрессорные. Последние делятся на однокамерные и с разделенной камерой сгорания, к которым относятся предкамерные, вихрекамерные и воздушнокамерные дизели.
[c.259]
Совершенствование рабочего процесса существующих типов поршневых двигателей внутреннего сгорания с целью существенного сокращения выброса в атмосферу токсичных составляющих как с продуктами сгорания, так и с парами топлива и масел. Применение различных способов воздействия на процессы смесеобразования (например, системы питания с электронным управлением) и сгорания (например, совершенствование камер сгорания) дефорсирование двигателей за счет уменьшения степени сжатия и частоты вращения коленчатого вала вентиляция картера подбор горючих смесей с меньшей токсичностью продуктов их сгорания и ряд других меро-
[c.
60]
Днище поршня, образующее вместе с головкой цилиндра камеру сгорання, воспринимает давление газов. Форма днища зависит от способа смесеобразования и расположения клапанов в головке. Тронк (юбка) 2 поршня расположен ниже поршневых колец и служит для направления поршня при движении. В тронке расположены бобышки 9, в которых имеются отверстия под поршневой палец 6. [c.41]
У неразделенных камер сгорания все пространство сжатия представляет собой единый объем, в который непосредственно впрыскивается топливо. Поэтому эти камеры часто называют камерами непосредственною впрыска. По способу смесеобразования неразделенные каперы делят на три группы с объемным, пле(ючным и смешанным (объ-смно-пленочным) смесеобразованием. [c.78]
Различают два способа смесеобразования — объемное и пленочное. Б зависидюсти от размеров и конструкции камеры сгорания, о.тин из этих способов может иметь преобладающее значение или только дополнять другой. [c.206]
Уровень шума дизеля определяется характерным протекание ,г процесса сгоранпя и колебательными свойствами элементов его конструкции. Интенсивность его звукового излучения в значительной мере зависит от принятых способов смесеобразования и сгорания. Наименьшим излучением обладают дизели с пленочным (М-процесс) и послойным смесеобразованием, а также дизели с разделенными камерами сгорания. За последнее время наметилась тенденция уменьшения шума при работе дпзеля применением соответствующей конструкции корпусных деталей. [c.207]
Способы, смесеобразования дизелей – MirMarine
Поступающее в цилиндр дизеля топливо должно сгорать полностью и в определенный период времени. Для этого топливо должно быть распылено на мельчайшие частицы (по возможности одинакового размера) и смешано с воздухом так, чтобы каждая частица распыленного топлива была обеспечена необходимым для сгорания количеством воздуха.
Теоретически для сгорания 1 кг нефтяного топлива требуется около 15 кг воздуха. В действительности количество воздуха, потребное для сгорания 1 кг топлива, может отличаться, и притом значительно, от теоретически необходимого. Это зависит от качества смесеобразования.
Оценивается качество смесеобразования коэффициентом избытка воздуха α, который представляет собой отношение действительно расходуемого количества воздуха mд для полного сгорания 1 кг топлива к теоретически необходимому
mт : α = mд / mт
При внешнем смесеобразовании (карбюраторные двигатели) α = 0,95÷1,1
При внутреннем смесеобразовании (дизели, калоризаторные двигатели) α = 1,4÷2,2
У компрессорных дизелей смесеобразование осуществляется при помощи форсунок, в которые подаются топливо под давлением 50 — 60 бар и для его распыливания — сжатый воздух от компрессора под давлением 60—70 бар.
У бескомпрессорных дизелей смесеобразование обеспечивается также при помощи форсунок, но за счет высокого давления топлива, создаваемого топливными насосами, и использования завихрений воздуха при его сжатии в цилиндре.
Способы смесеобразования, применяемые в бескомпрессорных дизелях.
В зависимости от конструкции и формы камеры сгорания различают двигатели с неразделенными и с разделенными камерами сгорания.
У дизелей с неразделенными камерами сгорания применяется прямоструйное смесеобразование — характеризуется высоким давлением топлива (от 250—700 до 2000 бар), поступающего в форсунку, и наличием в распылителе форсунки от 4 до 12 распыливающих отверстий диаметром от 0,2 до 0,9 мм, в зависимости от мощности цилиндра двигателя.
Форма камеры сгорания (рис. 18) приближается к форме факела впрыскиваемого топлива. Этим достигается равномерное распределение частиц топлива по всему объему камеры сгорания.
Площадь поверхностей, ограничивающих камеру сгорания, по отношению к ее объему невелика, что позволяет уменьшать потери тепла в окружающую среду и достигать высокой экономичности.
При прямоструйном смесеобразовании коэффициент избытка воздуха колеблется в пределах α = 1,8÷2,2. Столь высокий коэффициент избытка воздуха отчасти объясняется использованием воздуха для некоторого охлаждения стенок камеры сгорания.
Пленочное смесеобразование
У некоторых быстроходных дизелей применяется пленочное смесеобразование (рис. 19, а). В объем камеры сгорания входит небольшое пространство между поршнем и крышкой цилиндра, а также объем сферической выемки в поршне. Топливо через форсунку с одним отверстием впрыскивается под давлением 150—170 бар в сферическую выемку, покрывая тонкой пленкой поверхность поршня. При соприкосновении с нагретой поверхностью выемки топливо испаряется, интенсивно перемешиваясь с воздухом.
Экономичность при таком способе смесеобразования несколько ниже, чем при прямоструйном; коэффициент избытка воздуха α = 1,6÷1,8.
Предкамерное смесеобразование
У дизелей с предкамерным смесеобразованием (двигатели с разделенными камерами сгорания) камера сгорания состоит из двух камер (рис. 19, б): основной, расположенной между поршнем и крышкой цилиндра, и предкамеры, объем которой составляет около 30% всего объема.
Топливо под давлением 120—150 бар впрыскивается через одно дырчатую форсунку в предкамеру. Здесь оно воспламеняется, и часть его сгорает, повышая давление в предкамере. Отсюда через соединительное отверстие несгоревшее топливо выбрасывается в основную камеру, где смешивается с оставшимся воздухом и окончательно сгорает.
Ввиду большой площади поверхности камеры сгорания экономичность при этом способе ниже, чем при способах смесеобразования, рассмотренных ранее, пусковые качества двигателя хуже.
Коэффициент избытка воздуха а = 1,5÷1,7.
Вихревое смесеобразование
При вихрекамерном смесеобразовании (рис. 19, в) смешивание топлива с воздухом достигается за счет интенсивного завихрения воздуха в вихревой камере. Этому способствуют расположенные на донышке поршня кругообразные выточки.
Топливо под давлением 120—150 бар подается через форсунку с одним отверстием в вихревую камеру, где воспламеняется и частично сгорает. Сгорание остального топлива завершается в основной камере, куда оно выбрасывается через горловину вихревой камеры. Экономичность и пусковые качества — примерно такие же, как в случае предкамерного смесеобразования. Коэффициент избытка воздуха а = 1,4÷1,6.
Разделенные камеры сгорания
Завихрение заряда при сжатии можно достигнуть, применяя камеры сгорания, состоящие из двух объемов (вспомогательного и основного), соединенных между собой каналом. В автомобильных дизелях в качестве вспомогательных камер сгорания наибольпгее распространение получили вихревые камеры сгорания (вихрека-мерныедизели),атакжепредкамеры(предкамерныедизели).
Направление канала, а также форма вихревой камеры обеспечивают в ней вращательное движение воздушного заряда. Скорость перетекающего заряда во время сжатия возрастает и имеет наибольшее значение, когда поршень находится вблизи в. м. т. Впрыскиваемое в конце сжатия в вихревую камеру топливо перемешивается с завихренным воздухом, испаряется и частично сгорает, вследствие чего давление в вихревой камере повывгается. Оно превышает давление в надпорпгаевом пространстве, и несго-ревшее топливо вместе с продуктами сгорания перетекает с высокой скоростью из вихревой камеры в основную камеру сгорания 2, что создает благоприятные условия для перемевшвания топлива с воздухом и сгорания рабочей смеси. Для улучшения процесса сгорания топлива в основной камере 2 в поршне 1 под соединительным каналом имеется специальная выемка. Перетекающее из вихревой камеры топливо попадает в эту выемку, где сосредоточено сравнительно большое количество воздуха, что способствует быстрому сгоранию топливо-воздувшой смеси.
Особенностью рассматриваемой камеры сгорания является наличие нижней съемной полусферы 6, установленной с зазором в головке цилиндров. Вихревая камера уплотнена только по нижней торцовой плоскости. При работе двигателя эта полусфера сильно нагревается, в отдельных зонах ее температура при полной нагрузке достигает 700° С. Наличие такой нагретой детали способствует значительному сокращению периода задержки воспламенения и улучшению процесса сгорания.
Свеча накаливания 5 предназначена для облегчения пуска дизеля при низких температурах. Металлическая спираль свечи, по которой проходит электрический ток от аккумуляторной батареи при подготовке дизеля к пуску, сильно нагревается и подогревает воздух, находящийся в вихревой камере. Этим обеспечивается быстрое воспламенение топлива при пуске дизеля.
В современных дизелях объем вихревой камеры составляет примерно половину объема всей камерысгорания.
Предкамера обычно соединяется с основной камерой сгорания одним или несколькими каналами.Впроцессе сжатия часть воздуха из надпоршневого пространства перетекает в предкамеру. Наи-больвгая скорость перетекания наблюдается при приближении порвшя к в. м. т. Примерно в этот момент начинается впрыск топлива в предкамеру. Так как объем предкамеры сравнительно невелик, то в ней сгорает только часть топлива, вследствие чего давление в предкамере резко повышается, и несгоревшее топливо вместе с продуктами сгорания с больвгой скоростью выбрасывается в основную камеру сгорания 2, перемешивается там с воздухом и сгорает. Объем предкамеры составляет 25—40% общего объема камеры сгорания.
При применении разделенных камер сгорания, для которых характерно усиленное движение воздуха, обеспечивается хорошее перемевшвание топлива с воздухом. Это позволяет осуществлять впрыск топлива при меньншх давлениях по сравнению с неразделенными камерами, а также использовать распылители форсунок с одним отверстием относительно большого диаметра.
В дизелях с разделенными камерами сгорания во вспомогательных камерах имеются горячие зоны, поэтому период задержки воспламенения значительно меньше, чем в дизелях с неразделенными камерами сгорания. Это позволяет без особых трудностей использовать эти дизели как многотопливные. Максимальное давление цикла в основных камерах сгорания этих дизелей, а также жесткость процесса сгорания меньше, чем у двигателей с неразделенными камерами.
Экономичность дизелей с разделенными камерами сгорания из-за потерь на перетекание и дополнительной отдачи теплоты в стенки ниже, чем у дизелей с неразделенными камерами сгорания.
Вихрекамерное смесеобразование применяют в высокооборотных автомобильных дизелях, устанавливаемых на легковых автомобилях, а также в тракторных дизелях.
Наш Карачев – Головка блока цилиндров 2
Если выступание клапана не уменьшается, когда устанавливаются большие клапаны, то увеличение потока будет малым или его вообще может не быть, а в некоторых случаях (например, как показано здесь), клапаны большего размера могут действительно уменьшить поток при низком и среднем подъеме клапанов.Другой причиной для использования впускных клапанов большего размера является то, что любые улучшения мощности не обязательно сопровождаются заметными потерями в других областях. Однако получение таких преимуществ на некоторых головках блока требует большего, чем простое уменьшение выступания клапанов. Эти случаи влекут за собой потери большого количества времени, затрачиваемого на модификацию. Первым примером этого являются ранние головки для форсированных двигателей “Шевроле”, которые используют впускные клапаны диаметром 49,1 мм. Установка увеличенных клапанов “Шевроле” диаметром 51,3 мм без каких-либо других изменений уменьшит поток. Потребуется значительное число небольших модификаций в камере сгорания и во впускных каналах для получения требуемого увеличения потока; и это не просто вопрос обработки (сошлнфовки), а определения того, где и сколько чего снять.
К сожалению, мы не можем дать вам в этом случае несколько общих указаний. “Выглаживание” канала и обработка окружающих деталей срабатывает довольно редко. Даже опытный специалист по головкам блока затрачивает много времени на измерения и o6pa6otKV, чтобы добиться потока, который “прячется” в изгибах головки. Конечно, чем больше стендовых испытаний проводится в процессе работы, тем лучше будет результат, но при окончательном анализе использование испытательного стенда определит эффективность обработки.
Хороший поток при низком подъеме клапанов обеспечивает интенсивный разгон и хорошую приемистость в движении. Впускные клапаны увеличенного размера являются одним из путей получения этих преимуществ. Эти головки блока двигатели “Крайслер ” имеют камеры сгорания, в которые установлены впускные клапаны диаметром, близким к 55,9 мм.
При окончательном анализе, хороший поток при низком подъеме клапанов необходим для двигателя, чтобы обеспечить интенсивный разгон и хорошую приемистость. Так как впускные клапаны большего размера могут улучшить поток при низком подъеме клапанов и работают надежно, хотя часто и недешевы, в большинстве случаев они предлагают привлекательный и практический путь для повышения мощности.
Выпускной канал и размер клапанов
Одним из самых легких путей потери мощности форсированного или гоночного двигателя является использование выпускной системы с ограниченной пропускной способностью. Слово “система” в данном случае относится ко всей длине выпускного тракта, от выпускного клапана до конца выхлопной трубы. Любое сопротивление па этом пути уменьшает мощность и экономичность двигателя. Любое обратное давление в системе надавливает на поршень, когда он идет вверх при такте выпуска. Это давление вниз на поршень делает отрицательную работу. Она вычитается из рабочего хода. С любой точки зрения, поток выхлопных газов из двигателя должен выходить как можно легче.
Может казаться очевидным, что система с ограничениями ухудшит работу двигателя, но менее очевидно то, что плохо изготовленная система без глушителя для грузового автомобиля может также ухудшить мощность и топливную эффективность. Во многих случаях гонки на длинные дистанции могут быть выиграны благодаря меньшему количеству остановок для заправок и весу имеющегося в автомобиле топлива. В таких ситуациях максимальная экономия топлива непосредственно связана с эффективностью выпускной системы.
Аналогично впускному каналу, модификации выпускного канала должны обеспечить высокую скорость потока и оптимизацию удаления отработанных газов из камеры сгорания при перекрытии клапанов. Удаление металла из областей максимальной скорости, не опускание пола канала, удаление препятствий около седел клапанов и уменьшение размера выступов направляющих втулок — все это является необходимыми факторами.
Конструкция выпускной системы также играет заметную роль при получении оптимальной мощности, и следующая далее глава будет посвящена этому важному предмету. Однако, поток выхлопных газов начинается у выпускного клапана и канала, и конструкция выпускного канала должна обеспечивать минимальное сопротивление и соответствующую скорое и,, необходимые для удаления отработанных газов в период перекрытия клапанов. Практически все модификации впускного канала, обсуждаемые в предыдущих разделах, относятся и к выпускному каналу. Удаление металла из областей максимальной скорости, не опускание “пола” канала, удаление выступов около седел клапанов, уменьшение размеров направляющих втулок клапанов, установка бронзовых направляющих втулок и обеспечение точной работы клапанов — все эти меры являются необходимыми.
Вдобавок к этому, установка выпускных клапанов большего размера может улучшить мощность двигателя. Но это может быть напрасной мерой, если размер клапана больше, чем в определенной пропорции от диаметра впускного канала. Звучит странно? Это фактор смещения потока, который является важным при конструировании и форсирования двигателя.
Смещение потока: размеры впускных и выпускных клапанов
Если вы разрабатываете головку блока цилиндров для получения максимальной мощности, то не будет никаким сюрпризом, что основной целью является максимальный поток. Это, кроме всего прочего, требует использования клапанов большего размера, которые могут быть физически установлены в камеры сгорания. Это требует решения, как лучше всего разделить имеющееся пространство между впускными и выпускными клапанами. Другими словами, что лучше: большой впускной и маленький выпускной клапан, оба клапана одинакового размера или большой выпускной и маленький впускной клапан? Прежде всего, можно подумать, что большой выпускной клапан — это тот путь, которым нужно идти; после всего отработанные газы, без сомнения, занимают больший объем, чем газы, втянутые в цилиндр через впускную систему. Однако, когда мы касаемся мощности, действует другое “железное” правило: легче опустошить цилиндр, чем наполнить его.
Годы экспериментов показали, что оптимальный размер выпускного клапана должен составлять примерно около 75% от впускного или, если точнее, поток через него должен составлять примерно 75% потока через впускной клапан. Это правило применяется только тогда, когда диаметры комбинируемых клапанов равны общему имеющемуся пространству в камере, т. е. клапаны почти касаются друг друга, как часто бывает в гоночных двигателях. Если используются клапаны с размерами, меньшими, чем максимальные, а мощность не является основной целью, то баланс между потоками впускного и выпускного каналов не так критичен.
Самое простое правило, которому нужно следовать: если основным требованием является мощность, то следуйте нормальному соотношению 0,75:1. Это правило можно изменить в тех случаях, когда двигатель оснащен системой турбонаддува или впрыска окиси азота. Для этих систем требуется обеспечение большего потока выхлопных газов и может успешно использоваться соотношение диаметров выпускного и впускного клапанов, составляющее 0,9:1 (поток выхлопных газов составляет 90% от потока впускаемой смеси) или даже больше.
Хорошим примером того, что может быть сделано с выпускными клапанами, иллюстрирует головка блока двигателя CHVY 186 (“Шевроле”). Обычно эти головки оснащены выпускными клапанами диаметром 38,1 мм. Испытания на стенде показали, что увеличение диаметра выпускных клапанов до 42,7 мм и неизменность размера впускного клапана поможет увеличению мощности и топливной эффективности.
К сожалению, установка увеличенных выпускных клапанов имеет “ловушку”, которая обычно не связана с увеличением размеров впускных клапанов. Водяная рубашка внутри головки блока цилиндров расположена рядом с седлами выпускных клапанов. Это помогает поддерживать клапаны и седла холодными, но часто препятствует установке клапанов максимального размера. Вдобавок, тонкие отливки и большое количество тепла (побочный продукт высокой мощности) могут привести к образованию трещин в седлах, и это обычно укорачивает срок службы головки блока.
Замечание. Когда главной целью конструктора, является экономия, а не мощность, размер выпускного клапана может быть увеличен до соотношения 0,75:1 даже при увеличении дна-метра впускного клапана. Когда поток выпускного канала увеличивается, то пробег и срок службы двигателя будут улучшены. Однако здесь есть предел, как и во всем. Выпускные клапаны, размер которых превышает 90-95% от размера впускного клапана, даюг очень маленькую дополнительную топливную экономию, и так как они используют пространство, обычно отдаваемое впускным клапанам, то потенциал по мощности будет уменьшен.
Установлено, что опустошить цилиндр легче, чем наполнить его. Это кардинальное правило диктует оптимальные размеры клапанов. Проверки показали, что у всех гоночных двигателей максимальная мощность будет получена тогда, когда размер выпускного клапана составляет примерно 0,75% от размера впускного клапана.
Камеры сгорания
Большинство дискуссий, относящихся к типам камер сгорания, касается того, какой из них лучше для форсированного двигателя. Двумя основными типами, имеющимися в распоряжении для конструкторов двигателей, являются следующие:
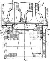
• замкнутая или разделенная камера сгорания классической клиновидной формы, в которой камера не простирается на весь диаметр отверстия цилиндра на стороне свечи зажигания или закаленной стороне (противоположной) головки блока;
• открытая или неразделенная камера, — модифицированная версия клиновидной камеры, которая простирается на сторону свечи зажигания или закаленную (противоположную) сторону головки блока или, в некоторых случаях, в обе стороны до полного диаметра отверстия цилиндра.
Для конструкторов двигателей имеются камеры сгорания двух обычных типов. Разделенная камера сгорания (вверху, двигатель “Шевроле “) представляет собой небольшую компактную камеру, которая не расширяется до отверстия цилиндра. Неразделенная камера (внизу, также двигатель “Шевроле “) расширяется на стороне свечи зажигания (на некоторых двигателях также и на другой стороне) до полного диаметра отверстия цилиндра.
Изначально неразделенные камеры развивались по двум причинам:
• они минимизировали выступание клапанов на некоторых форсированных двигателях в начале и середине 60-х годов, но из-за ужесточения требований к токсичности выхлопных газов было установлено, что
• неразделенные камеры стремились уменьшить токсичные выбросы.
Некоторые из испытанных двигателей со степенью сжатия 8,8:1 использовали поршни с выемкой, головки блока типа 186 с разделенными камерами сгорания промышленными карбюраторами. Многочисленные проверки показали, что двигатели выдавали на 20 л. с. больше, чем те же двигатели, но с головками блока с неразделенными камерами сгорания и с плоскими поршнями.
Для повседневного использования на головках блока с неразделенными камерами сгорания редко бывает какое-либо увеличение потока и мощности. Фактически, головки с неразделенными камерами сгорания могут в чем-то уменьшить потенциал мощности, из-за того, что большие камеры меньше сопротивляются детонации.
Эти головки с неразделенными камерами иногда можно узнать по их очень небольшой или вообще отсутствующей закаленной (противоположной свече зажигания) области.
Некоторые головки блока, обычно известные как конструкции с разделенной камерой сгорания, в действительности являются головками с неразделенными камерами сгорания. Ранние конструкции включают в себя камеру, которая простирается до диаметра отверстия цилиндра па стороне свечи зажигания (классическая конструкция с неразделенной камерой сгорания). Но они часто считаются головками с разделенными камерами сгорания, т. к. поздние головки двигателей “Крайслер”, обычно называемые головками с разделенными камерами, имеют выемку на противоположной стороне (от свечи), которая расширяет камеру до полного отверстия цилиндра. В этом случае более ранние “меньше разделенные” камеры считаются многими конструкторами двигателей “Крайслер” разделенными камерами.
Неразделенные и разделенные камеры сгорания
Несмотря на то, что головки с неразделенными камерами сгорания являются желательными для форсированных двигателей, головки с разделенными камерами часто являются вполне адекватным выбором вместе с распределительным валом особого профиля, пока не возникает избыточное выступание клапанов. Хотя многие головки с разделенными камерами “страдают” от увеличенного выступания клапанов, осторожная корректировка формы (и иногда это не требует сильной обработки) может уменьшить сильное выступание. Почему? Потому что слегка модифицированные головки блока могут часто обеспечить поток, сравнимый с головками с неразделенными камерами сгорания при подъеме клапанов величиной до 14,0 мм. Головки с неразделенными камерами сгорания, однако, имеют отдельные преимущества при сравнении, т. к. они стремятся уменьшить выступание клапанов при высоких значениях подъема клапанов, часто составляющего 17,8 мм. Однако для повседневного использования в головках с неразделенным и камерами сгорания редко имеется какое-либо увеличение потока (и мощности) Фактически, головки с неразделенными камерами могут в чем-то уменьшить потенциал мощности, т. к. камера большего размера меньше сопротивляется детонации.
Головка с разделенными камерами сгорания имеет дополнительные преимущества. Компактная разделенная камера сгорания допускает использование относительно высокой степени сжатия (9:1 или более) без использования куполообразных поршней. Купол поршня уменьшает мощность, ограничивая распространение переднего фронта пламени в объеме камеры сгорания. Вы можете спросить: почему поршни с высокими куполами обычно используются в гоночных двигателях? Потери в эффективности сгорания из-за купола поршня компенсируются увеличением мощности, получаемой из-за очень высокой степени сжатия, часто составляющей 12,5:1 или даже больше. Это тот случай, когда “может это и неэлегантно, зато это работает”.
Двигатель автомобиля СORVETЕ ZR-1. Поршни с выемками и компактные камеры сгорания для уменьшения движения фронта пламени и детонации при оптимизации мощности.
Степень сжатия
Термическая эффективность и, следовательно, эффективность, с которой топливо используется для совершения полезной работы, непосредственно связана со степенью сжатия. Чем выше степень сжатия, тем меньше топлива будет использовано для получения той же самой мощности. Типичные значения степеней сжатия от 18:1 до 22:1, используемые в дизельных двигателях, частично объясняют, почему они так эффективно работают. Вдобавок к этому, для полной реализации преимуществ этой высокой степени сжатия, па дизельном двигателе никогда не используется дроссельная заслонка. Другими словами, он всасывает как можно больше воздуха, практически так же, как и бензиновый двигатель при широко открытой дроссельной заслонке. Вместо ограничения количества воздуха, поступающего в двигатель, с помощью дроссельной заслонки мощность двигателя регулируется с помощью изменения количества топлива, впрыскиваемого в цилиндр. Это значит, что даже при низких уровнях мощности (когда в камеру сгорания впрыскивается очень малое количество топлива), дизельный двигатель сжимает воздух в цилиндре очень сильно: при этом выделяется столько тепла, что его достаточно для воспламенения даже очень обедненной смеси. Однако когда дросселируется двигатель с искровым зажиганием (бензиновый двигатель), то количество воздуха, втягиваемого в цилиндры, уменьшается, и так как это эффективная степень сжатия, то в результате топливная эффективность при частично закрытой дроссельной заслонке тоже уменьшается.
Нет сомнений в том, что высокая степень сжатия увеличивает мощность. Изображенная далее схема показывает, что мощность при полном открывании дроссельной заслонки теоретически улучшается при увеличении степени сжатия. Приведенные данные предполагают, что увеличение степени сжатия не создает проблем в других областях, таких как детонация т. д. Вы заметите, что закон уменьшения приводит к довольно простому выводу: когда степень сжатия идет вверх, то при каждом увеличении прирост мощности будет все меньше. К примеру, увеличение компрессии от 8,0:1 до 9,0:1 приводит к большему увеличению мощности, чем увеличение сжатия с 11,0:1 до 12,0:1 (2% роста мощности против 1,3%).
1 — препятствия в системе впуска приводят к низкой динамической степени сжатия;
2 – высокая объемная эффективность (VE) приводит к высокой динамической степени сжатия.
Указанные значения являются типичными для двигателей, использующих распределительные валы с относительно коротким периодом впуска, подобные валам во многих форсированных двигателях. Когда продолжительность такта впуска увеличивается (путем установки распределительного вала с более длительным периодом впуска), прирост мощности от увеличения степени сжатия становится даже больше, чем показанная в таблице. Это происходит оттого, что данные, показанные в таблице, базируются на механических степенях сжатия (т.е. определенных путем математических расчетов из фиксированного объема), а не на динамических степенях сжатия, которые продолжают увеличиваться, когда эффективность впуска увеличивается. Когда система впуска модифицируется для улучшения наполнения, то динамическая степень сжатия увеличивается очень похожим образом, как и при увеличении размера поршня, т. к. в цилиндр поступает дополнительное количество воздуха и топлива. Эффективность впуска может продолжать увеличиваться даже до точки “упаковки” цилиндра (объемная эффективность выше 100%), как это предполагается некоторыми комбинациями ‘впускного и выпускного коллекторов. Максимальное давление внутри камеры сгорания перед воспламенением изменяется, когда изменяется плотность подаваемой смеси. Когда система впуска работает с низкой эффективностью, т. е. когда дроссельные заслонки закрыты пли впускная
система забита, то цилиндр наполняется лишь частично и динамическое давление сжатия низкое. Когда система впуска работает с высокой объемной эффективностью (значение более 100% достигается на многих гоночных двигателях), динамическая степень сжатия может создавать давления/которые превышают давления, ожидаемые от механической (рассчитанной) степени сжатия. В таких случаях увеличение механической степени сжатия может ввести двигатель в режим детонации и уменьшить мощность и надежность двигателя.
Приведенная далее таблица показывает увеличение мощности и крутящего момента при увеличении степени сжатия. Эта таблица базируется на данных по двигателю с распределительным валом, обеспечивающим относительно короткую продолжительность впуска.
Найдите существующую степень сжатия в правой части таблицы. Выберите новую степень сжатия в левой части таблицы. Число в квадрате, где пересекутся соответствующие столбцы, будет равно ожидаемому увеличению мощности (в %). К примеру, если степень сжатия увеличивается с 9,0:1 до 12:1, то мощность увеличивается примерно на 4,5%. Прирост мощности будет немного больше, если продолжительность впуска будет больше.
Некоторые комбинации впускного и выпускного коллекторов могут “упаковывать ” цилиндр с положительным давлением (обеспечивание У Е более 100%). Так как это увеличивает динамическую степень сжатия, то оптимальная степень сжатия может быть низке, чем при использовании более консервативных систем впуска.
Недостатки высокой степени сжатия
Увеличение степени сжатия не всегда приводят к увеличению мощности. Если статическая (подсчитанная) степень сжатия уже находится около предела детонации для используемого топлива, то дальнейшее увеличение статической степени сжатия может ухудшить мощность и/или надежное 11. двигателя. Как ранее упоминалось, это особенно справедливо, когда специальный распределительный вал и системы впуска и выпуска добиваются объемной эффективности (VE) величиной более 100%. Когда (VE) увеличивается, то динамическая степень сжатия также увеличивается, гак как цилиндр “упаковывается” смесью так как если бы работал невидимый нагнеатель.
Другой эффект от увеличения степени сжатия довольно незначителен и неизвестен некоторым создателям двигателей. Когда VE превышает 100%, поступившая смесь находится под небольшим положительным давлением, однако, она может заполнить только пространство в цилиндре плюс пространство в камере сгорания. К примеру, если объем цилиндра и камеры составляет вместе 416,2 см3, то это фиксированное пространство будет в основном определять, сколько топливовоздушной смеси может попасть в цилиндр. Если мы решаем увеличим, степень сжатия путем уменьшения объема камеры сгорания или путем увеличения размера выпуклости поршня (это наиболее распространенные методы), то это пространство будет не более названной величины. Да, цилиндр сохраняет постоянный рабочий объем — рабочий объем двигателя не изменялся. Но изменили общин объем цилиндра и камеры сгорания. Это означает, что пространство для поступающей рабочей смеси уменьшается. Таким образом, при увеличении степени сжатия мы почти незаметно уменьшили объемную эффективность двигателя. Пример: типичный двигатель “Шевроле” Grand National 350 может использовать степень сжатия 12,5:1. Он также может иметь VE около 115%; таким образом, при оборотах динамическая степень сжатия будет заметно выше 12,5:1. Если увеличить статическую степень сжатия до 13,5:1 путем уменьшения объема камеры сгорания, то в объем цилиндра/камеры сгорания поступит меньше рабочей смеси, VE уменьшится и мощность, скорее всего, снизится.
Воспользуемся воображаемым примером для уяснения деталей. Представим себе двигатель со степенью сжатия 2,0:1 и, просто ради аргумента скажем, что общий объем (нерабочий объем) одного цилиндра, когда поршень находится в НМТ (нижней мертвой точке), составляет 3278 см3. Это объем, создаваемый поршнем при одном такте плюс объем камеры сгорания над поршнем, находящимся в положении ВМП (верхней мертвой точке). Так как степень сжатия составляет 2,0:1, го объем над поршнем, находящимся в ВМТ должен составлять половину от общего объема цилиндра или 1639 см3, (т. е. 1639 см3 “выбранного” объема плюс 1639 см3 камеры сгорания равны 3278 см3 общего объема цилиндра). Даже при 3278 см3 во всем цилиндре двигатель может втянуть только 1639 см3 свежей рабочей смеси, т. к. имеется давление в коллекторе у впускного канала (в случае с VE, равной 100%) и только вытесненным объем поршня может работать для втягивания воздуха и топлива. Остальные 1639 см3 будут заполнены выхлопными газами от последнего цикла сгорания.
Добавим теперь к воображаемому двигателю нагнетатель (компрессор) и отрегулируем давление так, что он будет подавать 3278 см3 топливовоздушной смеси в цилиндр вместо исходных 1639 см3, которые двигатель мог “вдохнуть” в прежнем состоянии. С нашим нагнетателем в цилиндре будет находиться 3278 см3 свежей смеси в конце такта впуска и не будет остаточных выхлопных газов. Это существенно улучшит мощность. Но что произойдет, если в безрассудных поисках дополнительной мощности увеличить степень сжатия до 3,0:1, уменьшив объем камеры сгорания над поршнем в ВМТ со 1639 см3 до 1092 см3? Когда поршень находится в конце такта впуска, общин объем цилиндра будет теперь только 2731 см3. Если не изменять давление наддува, то оно может “вдавить” только 2731 см3 топливовоздушной смеси в цилиндр. Это уменьшит объем смеси на 547 см3 или примерно на 17%. Двигатель втягивает менее воспламененную смесь, объемная эффективность уменьшается (на 17%) и мощность снижается. Справедливо то, что 2731 см3 подаваемой смеси сгорает с более высокой эффективностью благодаря увеличению степени сжатия, но улучшение степени сжатия покрывает только 5% из 17% потерь мощности.
Многие из вас могут теперь реализовать важные преимущества, получая максимально возможную VE (объемную эффективность). Чем выше VE, которую вы сможете получить, тем ниже будет требуемая степень сжатия; а чем ниже степень сжатия, тем меньше выступ поршня, тем легче фронту пламени распространяться в объеме камеры сгорания. Эти соотношения являются некоторыми из тех методов, которые используют профессионалы для увеличения мощности двигателей.
Если на воображаемый двигатель объемом 1639 см3 со степенью сжатия 2,0:1, который втягивает 1639 см3 топливовоздучпюй смеси (в верху) установить наддув, то он теперь будет заполняться 3278 см3 смеси (в середине). Если степень сжатия увеличивается до 3,0:1 путем уменьшения объема камеры сгорания, то в двигатель будет поступать только 2731 см3 топливовоздушной смеси. Результатом будет уменьшение мощности (внизу), т. к. объемная эффективность уменьшилась на 17%
1 – 1639 см3; 2 – 1092 см3.
Степень сжатия и топливо
Хотя верхние пределы степени сжатия и фазы газораспределения распределительного вала достаточно хорошо определены для гоночных двигателей, “обычные” форсированные двигатели для повседневного использования как правило работают при более низких уровнях мощности и в основном при частично открытой дроссельной заслонке. Увеличение степени сжатия может иногда обеспечить заметный прирост мощности, но это же самое увеличение степени сжатия может дать даже большее улучшение топливной экономичности. При увеличении степени сжатия от 8,0:1 до 10,0:1 мощность при полностью открытой дроссельной заслонке может увеличиться на 3 или 4%. Но экономия топлива при частично закрытой дроссельной заслонке может увеличиться более чем на 15%. В этом нет ничего удивительного, если вы помните, что динамическая степень сжатия при частично открытой дроссельной заслонке заметно ниже, чем статическая степень сжатия. Увеличение статической степени сжатия добавляет эффективности в нужном месте: при частично открытой дроссельной заслонке.
Лучшим путем увеличения степени сжатия является увеличение диаметра отверстия цилиндра путем расточки блока цилиндров или выбором блока с отверстиями большего диаметра. Эта модернизация может увеличить степень сжатия, путем давления рабочего объема, уменьшая необходимость использования поршней с большими “куполами ” или уменьшения объема камер
Более высокая степень сжатия, конечно, требует использования высокооктанового топлива и часто имеющееся топливо имеет гораздо меньшее октановое число, чем хотелось бы многим. Имеются несколько путей обойти данную проблему. Если вы изготавливаете двигатель с “нуля” и желаете сберечь время, обратившись к инженеру с опытом изготовления форсированных двигателей, вы можете полу чить рекомендации по увеличению степени сжатия, приводящему к заметному росту мощности двигателя. В некоторых случаях двигатели со степенью сжатия порядка 11:1 успешно использовали бензин с октановым числом 87, но это требует подбора всех детален двигателя, особенно конструкции распределительного вала и головки-блока цилиндров плюс использование системы впрыска воды.
Если вы выберете метод изготовления с “нуля”, одним из самых легких путей увеличения степени сжатия является использование традиционных поршней для высокой степени сжатия, имеющих минимальную высоту куполообразной части, так что нет сильных помех распространению пламени. Если желаемая степень сжатия не может быть достигнута путем плавного увеличения куполообразной части п уменьшением объема камеры сгорания с помощью обработки головки блока (лучше угловая обработка). то лучшим путем для увеличения степени сжатия будет увеличение диаметра отверстия цилиндра, часто с помощью расточки блока. Выдерживая практические пределы для толщины стенок цилиндров (обычно допускается увеличение диаметра отверстия цилиндра не более чем на 0,75 – 1,0 мм), эта модификация может увеличить степень сжатия путем добавления рабочего объема, что уменьшает необходимость больших “куполов” у поршней или камер сгорания меньшего объема.
Если проект вашего двигателя более “умеренный”, то, возможно, будет достаточно обработки головки блока, а стоимость обработки головки составляет одну из самых дешевых операций по увеличению мощности и экономичности двигателя.
Потери тепла
Сгорание топлива в камере сгорания двигателя генерирует тепло, которое расширяет продукты сгорания и “толкает” поршни вниз в отверстие цилиндра. Если тепло отводится от расширяющейся смеси перед тем, как она сможет полностью воздействовать на поршень, потенциальная мощность будет потеряна. Если можно было бы построить идеальный двигатель, то он использовал бы тепло сгорания для расширения рабочей смеси, и ничего бы не терялось из-за рассеяния тепла окружающими металлическими поверхностями. При этих условиях двигатель будет иметь максимальную термическую эффективность, а его выходная мощность будет почти в два раза больше, чем у обычного форсированного двигателя. Представьте себе: двигатель V8 рабочим объемом (4916 см3) с одним четырехкамерным карбюратором выдает мощность почти 800 л.с.! К сожалению, практически невозможно добиться термической эффективности, близкой к 100%. Одной из целей проекта любого двигателя должна быть максимальная термическая эффективность, т. к. она контролирует то, как двигатель преобразует энергию топлива в полезную мощность.
Алюминиевые головки блока цилиндров отводят тепло от камер сгорания быстрее, чем чугунные. Но с другой стороны, алюминиевые головки “страдают” от нескольких горячих мест и имеют более низкие температуры поверхности.
Термическая эффективность и металлургия
Имеется много путей улучшения термической эффективности. Некоторые являются незначительными и требуют серьезных исследований для их обнаружения, другие же являются очевидными.
Тепловые характеристики металла, подвергаемого воздействию горящей топливовоздушной смеси в первую очередь в головке блока цилиндров, являются одним из путей. Алюминиевые головки блока являются более эффективными проводниками тепла, чем чугун, а мощность может быть заметно снижена из-за потерь тепла в водяной рубашке. Но с другой стороны, алюминиевая головка “страдает” от некоторых разогретых мест в камере сгорания и обычно имеет более низкие температуры поверхности. Эти последние факторы позволяют достичь более высокой степени сжатия при использовании алюминия и уменьшают чувствительность к детонации. Для двигателей с низкой степенью сжатия чугун является лучшей основой из-за его улучшенной тепловой эффективности.
Покрытия камер сгорания
Теплопроводность алюминия и чугуна может быть существенно уменьшена путем использования относительно новой технологии для автомобильной индустрии: покрытия из тепловых барьеров. Эти высокотехнологичные изолирующие материалы с толщиной порядка 0,4 мм могут серьезно уменьшить теплопроводность. Их использование в последние годы стало достаточно распространенным и, без сомнения, они работают.
Степень прироста мощности от использования покрытий из тепловых барьеров зависит от конструкции головки, размера камеры сгорания и от материала головки (как уже говорилось, алюминий имеет лучшую теплопроводность и может получить больше преимуществ от изолирующих покрытий). Вообще говоря, обычным является прирост мощности порядка 3%. Также и прирост в экономии топлива при “полном дросселе” часто составляет около 3% с возможно большими улучшениями в экономичности при работе с частично открытой дроссельной заслонкой. Как было отмечено в прошлой главе, изолирующие покрытия на поршнях могут также улучшить термическую (тепловую) эффективность примерно на 4-8%.
Таким образом, покрытие поршней и камер сгорания может улучшить мощность примерно на 10%. Однако, можно получить еще большую мощность (см. далее).
Клапаны и термостойкие покрытия
Хотя поршни и камеры сгорания являются основными областями использования термостойких покрытий, покрытия могут быть использованы и для других менее очевидных областей. Покрытия могут быть использованы на впускных и выпускных клапанах для дальнейшего улучшения мощности и надежности двигателя. Обычно происходит так, что поступающая рабочая смесь отдает значительную часть тепла, когда проходит через впускной клапан. Покрытие передней поверхности впускного клапана может существенно уменьшить температуру на задней стороне клапана, улучшая тепловую эффективность и увеличивая мощность.
Покрытия из термических барьеров, используемые в камерах сгорания, часто улучшают мощность и топливную экономичность при полностью открытой дроссельной заслонке примерно на 3%, а на алюминиевых головках возможен даже больший прирост. Изолирующие покрытии, используемые на поршнях, в камерах сгорания и на клапанах могут привести к увеличению мощности более чем на 10%. К сожалению, эти специальные покрытия довольно дороги.
Более того, большинство проблем, связанных с клапанами, относятся к теплу и концентрируются вокруг очень горячих выпускных клапанов. Термостойкие покрытия уменьшают температуру головки клапана и, соответственно, потребность в широких седлах для выпускных клапанов. Покрытие на передней части выпускного клапана предотвращает то, что тепло от сгорания смеси достигнет клапана, тогда меньше тепла передастся на седло. В дополнение к этому, если покрытием защищена задняя сторона выпускного клапана (за исключением седла и стержня), то тепло, достигающее клапана, уменьшается еще больше. Эти модификации позволяют конструкторам концентрировать свое внимание на оптимизации ширины седла клапана для улучшения характеристик потока. Таким образом, в случае покрытия выпускных клапанов, изолирующий материал может не дать непосредственных результатов в увеличении мощности, но это допускает использование модификаций, которые могут улучшить характеристики двигателя.
Покрытия из термических барьеров являются высокотехнологичными материалами, которые могут значительно снизить теплопроводность, несмотря на свою малую толщину (около 0,4 мм). Их использование в последние годы становится все более и более обычным, и нет сомнений в том, что они предлагают эффективный путь улучшения мощности двигателя.
К сожалению, описываемые специальные покрытия являются относительно дорогими и редко используются на других двигателях, кроме профессиональных гоночных двигателей. На форсированных двигателях для повседневного использования, создание которых часто ограничивается финансовыми возможностями, указанные модификации вряд ли являются практичными. Многие другие модификации могут быть осуществлены в пределах разумного бюджета. Они являются менее дорогими и более эффективными, и в связи с этим можно найти возможность лучшего использования ограниченных финансовых ресурсов. Термостойкие покрытия должны рассматриваться только как последний” шаг при изготовлении дорогого двигателя.
Обработка камеры сгорания
Если использование термостойких покрытий в камере сгорания не представляется возможным, то следующим полезным шагом может быть полировка поверхности камеры сгорания. Это уменьшит поверхность, благодаря удалению тысяч “закоулков и щелей”, которые поглощают тепло. Это также уменьшит вероятность образования нагара, который служит причиной детонации. Однако следует иметь в виду, что полировка камер сгорания “открывает дверь” для потенциальных проблем. Имеется несколько вещей, о которых следует помнить:
• Не увеличивайте камеру сгорания больше, чем требуется. Увеличенная камера сгорания требует дополнительного распространения пламени и имеет большую поверхность, поглощающую тепло.
• Если вы хотите сделать больше, чем отполировать камеры сгорания, уберите только материал, который “вносит вклад” в выступание клапанов. Не пытайтесь изменять форму камер сгорания, пока не познакомитесь с тем, как сделанные вами модификации будут влиять на распространение пламени.
• Не жалейте времени, чтобы изменить объем всех камер сгорания перед началом работы, чтобы вы могли предпринять шаги для того, чтобы сделать объемы камер одинаковыми при их полировке. Просто уменьшение деталей камеры поможет у
Несколько двигателей против одного двигателя с несколькими камерами сгорания
Единственные потенциальные различия, которые я вижу в этом, – это диапазон действия стабилизатора и возможность выключения определенных двигателей. Falcon 9 использует 9 отдельных двигателей, что позволяет ему отключать столько двигателей, сколько необходимо в полете для приземления, повторного входа в атмосферу или в случае поломки одного двигателя. Многокамерный однокамерный двигатель мог бы сделать это с некоторой модификацией, однако в точке, где вы размещаете отдельные топливопроводы, он, по сути, станет отдельными двигателями.Для шарнирных целей использование одной насосной системы действительно будет работать, только если все сопла соединены и подвешены вместе. Очередной раз; если бы они устанавливали карданный шарнир отдельно, насосной системе, вероятно, потребовалась бы модификация, которая по существу привела бы к отдельным двигателям.
Единственное реальное преимущество использования системы с одним насосом состоит в том, что она обеспечивает стабильный поток топлива в каждую камеру. Об этом рассказывается на странице Википедии о РД-170: «Некоторые советские и российские ракетные двигатели используют подход объединения небольших камер сгорания вокруг одной турбины и насоса.В начале 1950-х годов многие советские конструкторы двигателей, в том числе Валентин П. Глушко, столкнулись с проблемами нестабильности сгорания при проектировании больших тяговых камер. В то время они решили проблему, используя группу меньших осевых камер ». (Википедия, 2017). Из-за требований к потоку топлива больших осевых камер, поток топлива может происходить неравномерно между отдельными камерами, если недостаточно топлива / неравномерное количество топливо закачивается. Использование одного насоса гарантирует, что все камеры получают одинаковое давление топлива.
Использование одной большой насосной системы в нескольких камерах также, вероятно, поможет снизить стоимость и сложность rd-170. Однако эта конструкция не получила широкого распространения в настоящее время в планируемых и используемых в настоящее время пусковых системах. Насколько мне известно, единственная система, которая в настоящее время использует что-то подобное (поправьте меня, если я ошибаюсь), – это РД-180, используемый на ракете-носителе Атлас (https://en.wikipedia.org/wiki/File:Rd180schematic.png ).
Улучшение рабочих характеристик и характеристик выбросов одноцилиндрового дизельного двигателя с возвратной камерой сгорания с использованием дизельного топлива и метиловых эфиров ятрофы
Выбросы двигателей с воспламенением от сжатия (CI) вносят токсичность в атмосферу.Нежелательные отложения углерода от этих двигателей реализуются в близлежащих статических или динамических системах, таких как транспортные средства, жители и т. Д. Целью данной исследовательской работы является улучшение рабочих характеристик и характеристик выбросов дизельного двигателя в модифицированной возвратной камере сгорания. с использованием смеси дизельного топлива и метилового эфира ятрофы (J20) при трех различных давлениях впрыска. Из литературы установлено, что форма камеры сгорания и давление впрыска топлива оказывают влияние на рабочие характеристики и параметры выбросов двигателя CI.В этой работе возвратная камера сгорания с тремя различными давлениями впрыска топлива (200, 220 и 240 бар) была использована вместо обычной полусферической камеры сгорания для дизельного топлива и J20. По результатам экспериментов установлено, что возвратная камера улучшает термическую эффективность торможения дизеля и J20 во всех испытанных условиях. Также обнаружено, что 20% -ная смесь метилового эфира ятрофы показала 4% -ное улучшение термического КПД тормоза в возвратной камере при максимальном давлении впрыска.Экологическая безопасность напрямую связана со снижением нежелательного воздействия как на живые, так и на неживые существа. В настоящее время серьезную озабоченность вызывает загрязнение окружающей среды. Даже при строгих нормах выбросов требуются новые методы для уменьшения вредного воздействия от автомобилей. Токсичность окиси углерода (СО) хорошо известна. В возвратной камере сгорания количество выбросов CO снижается на 26% по сравнению с обычным режимом работы двигателя на топливе. Кроме того, количество дыма снижается на 24%, а выброс углеводородов (УВ) – на 24%.Таким образом, модифицированная возвратная камера сгорания снижает количество вредных загрязняющих веществ, таких как несгоревшие углеводороды и СО, а также выбросы токсичного дыма.
Ключевые слова: Двигатель с воспламенением от сжатия; Давление впрыска; Смесь метилового эфира ятрофы; Возвратная камера сгорания; Выбросы дыма; Несгоревшие углеводороды.
Главная камера сгорания – жидкостные ракетные двигатели (J-2X, RS-25, общие)
Если вы вернетесь на несколько поколений в семью со стороны моей матери, вы найдете знаменитого художника по имени Чарльз Фредерик Кимбалл.Также по материнской линии в семье, в другой ветви, пару поколений спустя был профессиональный коммерческий художник. Со стороны отца моя бабушка была прекрасным художником, писавшим в основном пейзажи долин реки Ирокез и Гудзон в северной части штата Нью-Йорк. И, конечно же, я замужем за чрезвычайно талантливым художником. Можно подумать, что с такими родословными и таким большим разоблачением у меня самого есть немного художественных способностей. Вы ошибаетесь. Я люблю искусство. Я просто не могу это сделать.
Самое близкое, что я подхожу к визуальному выражению, ограничивается творениями Microsoft PowerPoint. Однако на этой узкой арене, особенно когда дело доходит до инженерных дисциплин, все еще есть чем заняться. В этой статье мы займемся одним из моих любимых псевдохудожественных хобби и поиграем со схемами двигателя с экспандерным циклом.
Итак, давайте начнем с простого, счастливого маленького цикла, который называется замкнутым циклом расширителя. Большая часть того, что вам нужно знать об этом цикле, содержится в его названии.Во-первых, он закрыт. Это означает, что все пропелленты, попадающие в двигатель, уходят, проходя через горловину основной камеры сгорания, тем самым обеспечивая наибольшую доступную химическую эффективность. Позже мы увидим, что «закрыто» противоположно «открыто». Во-вторых, это расширитель. Это означает, что турбомашина приводится в движение топливом, которое забирает тепловую энергию из контуров охлаждения в основной камере сгорания и сопле. Обычно в двигателях с детандерным циклом используются криогенные пропелленты, так что при нагревании эти пропелленты превращаются из жидкоподобных жидкостей в газоподобные.В турбинах очень эффективно используются газоподобные приводные жидкости. (Обратите внимание, что я все время говорю о «текучих средах», а не просто о жидкостях и газах. Это потому, что обычно рекомендуется иметь дело со сверхкритическими текучими средами в охлаждающих трубах или каналах. Фазовые изменения могут быть непредсказуемыми и привести к некоторым странным профилям давления.)
Выше представлен шедевр Microsoft PowerPoint, иллюстрирующий ракетный двигатель с замкнутым циклом детандера. Топливо и окислитель поступают из ступени и пропускаются через насосы для повышения их давления.Со стороны топлива нагнетание насоса направляется через главный топливный клапан (MFV) к форсунке и рубашкам охлаждения основной камеры сгорания (MCC). Я не показывал здесь фактическую маршрутизацию. Обычно сначала охлаждается МКЦ, а затем уже более теплое топливо используется для охлаждения сопла. Тепловые нагрузки в МКЦ значительно выше, чем в сопле. Но каким бы ни был точный маршрут охлаждающей жидкости, разряд, теперь полный энергии, полученной в процессе охлаждения, подается в турбины.Перепускной клапан турбины окислителя (OTBV), показанный на схеме, является средством управления соотношением компонентов смеси путем снижения мощности, подаваемой на турбину окислителя. В некоторых случаях, если у вас есть только одна настройка отношения смеси для двигателя, вы можете поставить здесь отверстие, а не клапан. Турбины приводятся в движение теплым топливом, а затем выход турбин подается через главный инжектор, а затем в зону сгорания. На стороне окислителя трассировка намного проще. Выпуск насоса окислителя проходит через главный клапан окислителя (MOV) непосредственно в главный инжектор.Внутри МСС происходит сгорание топлива, возникающее в результате высвобождение энергии, образование высокоскоростных продуктов сгорания и выброс этих продуктов через звуковое горло МСС и через сверхзвуковое сопло. Та-да, выпад сделан!
Закрытый детандер – это один из самых простых циклов двигателя, который когда-либо можно было представить. Известный двигатель RL10, впервые разработанный в 1950-х годах и до сих пор использующийся, основан на этом цикле (с небольшим поворотом, что есть только одна турбина, а насосы соединены через коробку передач, что устраняет необходимость в OTBV).Эта простота является одновременно сильной стороной цикла и его ограничивающей чертой. Примите во внимание тот факт, что все топливо – водород в случае большинства детандеров – проходит через двигатель и в конечном итоге попадает в камеру сгорания. Все это давление приводит к падению давления. Это означает, что турбины не имеют такого большого перепада давлений, с которым приходится иметь дело с точки зрения создания мощности для насосов. Другими словами, выходная сторона турбины – это точка с самым низким давлением в цикле, и это камера сгорания.В результате давление в вашей камере не может быть очень высоким. Это означает, что горловина вашего MCC относительно велика, а затем это означает, что степень расширения вашего сопла и удлинителя сопла начинает ограничиваться просто размером и структурным весом.
Также обратите внимание, что вся мощность для управления полным циклом обеспечивается теплом, улавливаемым топливом в каналах MCC и охлаждения форсунок. Это становится ограничивающим фактором с точки зрения общей мощности и класса тяги двигателя.По мере того, как двигатель становится больше, при заданном давлении в камере, уровень тяги увеличивается до второй степени характеристического диаметра горловины, но доступная площадь поверхности, которая будет использоваться для сбора тепла для приведения в действие цикла, увеличивается только на этот характеристический диаметр до первая сила. Другими словами, тяга пропорциональна «D-квадрату», но в первом порядке мощность турбины пропорциональна «D». Таким образом, вы можете стать настолько большим только тогда, когда у вас не будет достаточно энергии для выполнения цикла. Одним из способов преодоления этого является увеличение длины камеры сгорания, чтобы получить большую площадь поверхности теплопередачи.Европейский двигатель под названием Vinci следует этому подходу. Но даже этот подход является ограничивающим, если зайти слишком далеко, поскольку слишком длинная камера снижает эффективность сгорания, и, конечно же, более длинная камера сгорания также начинает становиться ужасно тяжелой.
Итак, насколько большим может быть ракетный двигатель с замкнутым детандерным циклом? Что ж, это повод для постоянных споров и дебатов. Я могу только высказать свое мнение. Я бы сказал, что двигатель с закрытым расширяющимся циклом наиболее полезен и наиболее практичен, когда он поддерживается на уровне тяги менее примерно 35 000 фунтов силы.
Возвращаясь к понятию художественного самовыражения, каковы же возможные вариации на тему двигателя с детандерным циклом? Что ж, темы и вариации используются для изучения и потенциального преодоления воспринимаемых недостатков в цикле замкнутого расширителя. Первым в этой серии является Closed Split Expander, портрет которого представлен ниже:
Недостаток, рассматриваемый здесь, заключается в том, что в замкнутом цикле детандера все топливо было вытеснено по всему двигателю, что привело к большим потерям давления.В этом случае некоторая часть – обычно большая часть – топлива перекачивается до более низкого давления через первую ступень насоса, а затем другая часть перекачивается до более высокого давления. Таким образом, подача топлива «раздельная», отсюда и название. Именно этот поток с более высоким давлением, проходящий через регулирующий клапан охлаждающей жидкости (FCCV), проталкивается по всему двигателю для охлаждения MCC и сопла и для приведения в действие турбин. Поток с более низким давлением подается непосредственно в главный инжектор. Теория состоит в том, что, не требуя перекачки всего топлива до максимального давления, вы уменьшаете потребность в мощности для топливной турбины.Водородный турбонасос всегда потребляет большую часть энергии, вырабатываемой в цикле, поэтому это важное понятие.
Помогает ли этот цикл? Да, немного. Может быть. Баланс того, насколько разделить, что это разделение влияет на эффективность теплопередачи (меньший поток означает, возможно, более низкие скорости жидкости, более низкие скорости означают меньшую теплопередачу, более низкая теплопередача означает меньшую мощность …) не всегда ясно, что вы много выиграют от усилий по усложнению цикла.А вот портрет красивый, не правда ли? В нем есть реалистичное чутье, индустриально-утилитарное чутье середины века.
Далее, желая заявить о себе, можно обратиться к вековой проблеме промежуточного уплотнения в турбонасосе окислителя. Внимательно посмотрите на первые две схемы, представленные здесь. Вы увидите, что насос окислителя приводится в движение турбиной, использующей топливо в качестве рабочего тела. Это очень типичная ситуация с ракетными двигателями, будь то двигатель с детандерным циклом или другие циклы.Например, такая ситуация наблюдается в двигателе с поэтапным сгоранием RS-25 и в газогенераторном двигателе J-2X. Однако эта ситуация может привести к катастрофическому провалу. У вас есть топливо и кислород в одной машине вместе с вращающимися металлическими частями. Если две жидкости смешиваются и что-то трется, то БУМ, у вас плохой день. Итак, внутри насосов окислителя у вас обычно есть сложное уплотнение, которое включает непрерывную продувку гелиевым барьером для разделения двух жидкостей.Однако для следующей схемы цикла детандера мы можем исключить необходимость в этом сложном очищенном уплотнении.
Это замкнутый цикл двойного расширителя. Он по-прежнему «закрыт» в том смысле, что все, что попадает в двигатель, выходит через горловину MCC. Новая часть состоит в том, что она «двойная» в том, что теперь мы не только используем топливо для охлаждения, но и используем окислитель. Таким образом, мы используем нагретое топливо для привода топливного турбонасоса и нагретого окислителя для привода турбонасоса окислителя. Для этого эскиза я использовал разделенную конфигурацию на стороне окислителя, при этом часть потока перекачивается до более низкого давления и направляется непосредственно к основному инжектору, а другая часть перекачивается до более высокого давления, проходя через регулирующий клапан охлаждающей жидкости окислителя. (OCCV), который будет проталкиваться через рубашку сопла с регенеративным охлаждением, а затем через турбину турбонасоса окислителя.Я сделал это, поскольку вы, вероятно, работаете в двигателе при соотношении смеси (водород / кислород) от 5 до 6. Вы не захотите проталкивать такое количество окислителя через каналы или трубки охлаждения форсунок. Теперь, если вы разрабатываете детандер с использованием чего-то вроде метана в качестве топлива, чтобы ваше соотношение смеси было ниже, то, возможно, вы можете рассмотреть вариант со стороной окислителя без разделения.
Обратите внимание, что с подходом с двумя расширителями я избавился от необходимости в продуванном уплотнительном пакете в насосе окислителя и, таким образом, я исключил потенциальный катастрофический сценарий (в случае отказа уплотнительного пакета).Однако я добился этого за счет некоторой сложности цикла. К тому же охлаждение окислителем не всегда радует. Всякий раз, когда у вас есть охлаждающая рубашка (гладкая стенка или трубы), у вас всегда есть вероятность растрескивания и утечки. Если вы охлаждаете водородом, небольшая утечка лишнего водорода в богатую топливом среду является относительно благоприятной ситуацией. Это происходит постоянно. Но что, если вы протечете окислитель в среду с богатыми топливом продуктами сгорания? Что ж, некоторые исследования показали, что с вами все будет в порядке, но меня это немного смущает.Кроме того, вы используете нагретый окислитель для привода турбины. Это можно сделать, но использование чего-то вроде кислорода для вращения вращающихся металлических деталей требует большой осторожности. При неправильных обстоятельствах чистая среда окислителя может сгореть практически с чем угодно в качестве топлива, включая большинство металлов. Итак, несмотря на все ваши усилия по устранению уплотнения в турбонасосе окислителя, мне не ясно, что вы сделали ситуацию намного безопаснее. Однако, несмотря на эти потенциальные недостатки, схематический портрет сам по себе имеет определенное ощущение барокко, а сторона окислителя – положительно рококо.
Итак, вы зашли так далеко. Почему бы не сделать последний шаг? Представляем закрытый двойной сплит-расширитель:
К настоящему времени, пройдя через прогрессию, вы понимаете, как она «закрыта», как она «двойственна» и как она «разделена» (на этот раз с обеих сторон). Это непрактично с точки зрения рецепта успешной конструкции ракетного двигателя по ряду причин, уравновешивающих сложность и предполагаемые преимущества, но это впечатляющая схема. На мой взгляд, это готический вид, почти как средневековый собор с великолепными аркбутанами и каскадными орнаментами, которые просто поражают воображение деталями.
Итак, мы разобрались с сорняками создания портретов из эспандерных циклов ради их красоты, а не обязательно их полезной практичности. Давайте вернемся в более практическую сферу и поставим под вопрос то, что было общим для всех представленных до сих пор циклов. Это было слово «закрыто». Должен ли двигатель с детандерным циклом быть замкнутого цикла? Конечно нет! Сделав это наблюдение, мы приходим к очень практичному варианту. Представляем «Открытый цикл расширителя»:
Это самое большое различие между этой и любой другой предыдущей схемой заключается в том, что рабочая жидкость, приводящая в действие турбины, сбрасывается в нижнюю по потоку часть сопла.Это точка с гораздо более низким давлением, чем в основной зоне горения. Первое, что думает большинство людей, когда видят этот цикл, это то, что это должен быть двигатель с более низкой производительностью. В конце концов, вы сбрасываете топливо после горловины ГЦК. И да, это неотъемлемая неэффективность этого цикла. Всякий раз, когда вы удаляете топливо каким-либо образом в обход первичного сгорания, вы теряете эффективность. Однако вот что вы получите: много-много маржи для вашего бюджета давления. Поскольку мне не нужно пытаться засунуть байпас турбины в камеру сгорания, я могу сделать давление в камере намного выше.В практическом смысле я могу сделать его в два-три раза выше, чем в простом двигателе с замкнутым детандерным циклом. Это позволяет мне сделать горловину очень маленькой, что, в свою очередь, дает возможность очень высокого коэффициента расширения сопла в разумных пределах по размеру и весу конструкции. Очень высокий коэффициент расширения означает большее ускорение выхлопа, и, таким образом, я могу почти полностью вернуться к тем же характеристикам, что и при закрытом цикле, несмотря на сброс топлива.
Вот, однако, действительно крутая часть цикла открытого детандера: я могу использовать высокий перепад давления на турбинах, чтобы получить больше мощности от заданного уровня теплопередачи в рубашках охлаждения. Выше, ранее в этой статье, я предположил, что существует практический предел тяги для закрытых расширителей примерно в 35 000 фунтов силы (мое мнение), и это было связано с геометрическими соотношениями между силой тяги и площадью поверхности теплопередачи. Для открытого детандера я могу спроектировать турбины с высокой степенью сжатия, для которых мне не нужно столько тепла, чтобы приводить в действие насосы.Таким образом, я могу сделать двигатель с большей тягой. Как высоко? Что ж, мои хорошие друзья из Mitsubishi Heavy Industries (MHI) и Японского агентства космических исследований (JAXA) разработали версию этого цикла, которая обеспечивает тягу до 60000 фунтов силы, и я видел другие концептуальные проекты, которые идут еще выше. . Японцы уже используют меньшую версию этого цикла на двигателе LE-5B, который генерирует 32 500 фунтов силы. Обратите внимание, что они часто ссылаются на этот цикл под другим названием, которое очень часто встречается в литературе, и это «цикл слива расширителя» с частью «слива», описывающей сброс за борт в сопло.Я предпочитаю обозначение «открытый», поскольку оно четко отличает его от «закрытых» циклов, проиллюстрированных ранее.
Мы почти подошли к концу этой статьи, но мы еще не достигли конца возможностей со схемами двигателя с детандерным циклом. Это то, что делает их забавными и, на мой взгляд, похоже на игру с искусством. Можно придумывать всевозможные комбинации и дополнения. Например, что, если вы взяли цикл экспандера и добавили немного горелки? Снова и снова я говорил, что ограничивающим фактором для закрытого детандера является количество тепла, которое вы собираете в охлаждающих рубашках.Ну, ладно, давайте добавим небольшую горелку, у которой нет другой цели, кроме как подогревать газ турбины. Результат выглядит примерно так:
В этом цикле используется газогенератор, но он не является газогенераторным циклом, поскольку продукты сгорания этого газогенератора не используются для непосредственного привода турбин. Скорее выхлоп GG проходит через теплообменник, а затем сбрасывается за борт. Да, вы немного теряете эффективность своей производительности, потому что это больше не замкнутый цикл, но потоки ПГ могут быть небольшими, и вы получаете от этого повышение доступной мощности турбомашин и, следовательно, потенциальной тяги.Это мое собственное произведение искусства, которое я хочу продемонстрировать, и это может сделать каждый.
Помните Боба Росса из Общественного вещания? Мне нравилось смотреть его шоу, и, как я уже сказал, я не умею рисовать достойно. Но его шоу было расслабляющим, чтобы смотреть и слушать, и он всегда безжалостно поддерживал его. Ошибок никогда не было. В конце концов, все можно было исправить. И любой мог сделать красивые горы и счастливые деревца. Я хотел бы предположить, что то же самое можно сказать и о моем маленьком хобби – сборке схем счастливых маленьких циклов экспандеров.Нет, большинство из них, вероятно, никогда не будут построены и не летают, и схематические портреты, вероятно, никогда не украсят стены MOMA, но это нормально. Моя бабушка-художница говорила мне, что иногда цель искусства не обязательно находится в конечном продукте, а скорее как часть творческого пути.
Тяговая камера– обзор
4 цикла ракетных двигателей
Жидкое ракетное топливо необходимо транспортировать в ТКУ ЖРД с применением силы. Более простой метод основан на давлении газа, которое заставляет ракетное топливо проходить через один или несколько клапанов подачи основного топлива или непосредственно в TCA (как в случае твердотопливных ракетных двигателей).Другой метод заключается в использовании смонтированных на двигателе турбонасосов, работающих на горячем газе, для подачи топлива из его бака в TCA. Все крупные жидкостные ускорительные двигатели для всех ракет-носителей во всем мире, которые когда-либо летали или летают сегодня, имеют турбонасосный привод, тогда как системы с подачей давления обычно используются для меньших силовых установок, таких как двигательные установки космического корабля с регулировкой ориентации и скорости и меньшие верхние ступени .
Системы подачи под давлением могут быть продувочными или регулируемыми. В конфигурации с простой продувкой топливные баки изначально находятся под давлением с помощью конечного количества газа, и давление в баллонах снижается по мере того, как пропеллент расходуется.В регулируемых системах постоянное давление в баллоне поддерживается за счет управления потоком нагнетаемого вещества из отдельных газовых баллонов высокого давления.
Системы с подачей давления по своей природе являются замкнутыми циклами, но их производительность ограничена из-за достижимого давления в камере и, следовательно, скорости, до которой может быть ускорен поток в сопле. Подача давления обычно составляет приблизительно от 1 до 4 МПа. Диапазон низкого давления примерно соответствует ограничению низкого давления резервуаров с минимальной толщиной стенки.Предел высокого давления примерно соответствует точке, в которой потеря веса резервуаров подачи газа высокого давления преодолевает дополнительную сложность и вес системы с насосным приводом.
Циклы мощности двигателя для систем с насосным питанием включают цикл GG, цикл детандера и цикл ступенчатого сгорания. Обычно циклы с насосной подачей требуют, чтобы работа, требуемая насосом, обеспечивалась турбиной. Требуемая работа насоса зависит от расхода, m.p, плотности жидкого топлива, ρ , необходимого повышения давления, Δ p , и эффективности насоса, η p :
Wp = m.pΔpρηp.
Поставляемая работа турбины связана с расходом турбины, mt, степенью давления турбины, TPR, температурой на входе в турбину, T ti , свойствами газа привода турбины R и γ , а также турбиной КПД, η t :
Wt = mt [γγ − 1] RT [1- (1TPR) γ − 1γ] ηt.
Уравновешивание рабочих потоков с потоками топлива может быть довольно сложной задачей, особенно во время переходных режимов двигателя, и требует значительного объема предварительного анализа и тестирования системы двигателя.
Цикл GG (рис. 1) является наиболее распространенным типом ракетных двигателей, используемых в качестве главных двигателей. Он классифицируется как двигатель открытого цикла и в простейшей форме состоит из набора турбонасосов для каждого топлива, GG для обеспечения мощности для привода турбонасосов, набора регулирующих клапанов, а также основной камеры и сопла. Газ из ПГ проходит через турбины, которые приводят в действие турбонасосы, и затем удаляется отдельно из основной камеры. Обычно 4 или 5% от общего потока топлива проходит через ГП, который обычно работает на богатой топливом смеси в соответствии с ограничениями по температуре на входе в турбину.Этот поток за борт турбины снижает потенциальную производительность двигателя. Иногда поток GG используется для обеспечения возможности управления транспортным средством, а иногда его можно использовать как пленочное охлаждение (также известное как охлаждение отвала) на заднем конце форсунки.
Цикл детандера является самым простым из двигателей с насосным питанием и может быть сконфигурирован как двигатель с открытым или закрытым циклом. В любом случае энергия для перекачки пороха получается не за счет сжигания пороха в газогенераторе, а за счет передачи тепла от основной камеры.Топливо, обычно водород, используется в качестве регенеративного хладагента до того, как его используют в качестве газа для привода турбины. Теплопередача в упорной камере и сопле ограничивает энергию, доступную для перекачки топлива, и, следовательно, достижимое давление в камере. Кроме того, топливо должно иметь высокую теплоемкость и хорошие свойства теплопередачи и должно легко испаряться, не проходя через двухфазное состояние.
Цикл детандера по своей сути прост в запуске и управлении, поскольку устраняются проблемы динамики и стабильности при сгорании в горелке или газовом газе.Детандерный двигатель запускается за счет использования скрытой теплоемкости камеры и сопла для первоначального ускорения турбонасосов перед зажиганием основной камеры. Цикл экспандера идеально подходит для верхних ступеней и приложений для переброски помещений, в которых требуется простота запуска и многократные перезапуски. Двигатели рабочего цикла детандера, используемые для верхних ступеней, включают RL-10-A5 и LE-5. Уровни тяги колеблются примерно от 20 до 40 кН.
Двигатель с тактом ступенчатого сгорания (СК) (рис.3) представляет собой двигатель с замкнутым циклом, который представляет собой наиболее производительный и наиболее сложный рабочий цикл. В циклах SC часть или все топливо поступает из разряда турбонасоса в камеру предварительного сжигания под высоким давлением, которая производит газ для привода турбины. Выходящий из турбины поток смешивается с оставшимся топливом и сжигается в основной камере сгорания. Все газы сгорания расширяются из-за высокого давления, поэтому I sp является высоким. Однако этот цикл требует высоких давлений в горелке, которые нагружают турбомашины.
Рисунок 3. Ракетный двигатель полнопоточного ступенчатого сгорания. Топливо и окислитель перекачиваются до очень высокого давления перед подачей в форкамеры для обогащенных топливом и богатых окислителем. Перед поступлением в камеру предварительного сжигания топливо используется для регенеративного охлаждения основной камеры сгорания и форсунки. Горячий выхлопной газ турбины поступает в основную камеру сгорания, где он вступает в реакцию с образованием высокотемпературного газа под высоким давлением, который расширяется до очень высоких скоростей в сверхзвуковом сопле.
Самый ранний из идентифицированных тактовых двигателей SC, Topping Turbine Turborocket, был построен компанией Reaction Motors и развивал тягу в 5000 фунтов.Турбонасос приводился в действие турбиной, расположенной внутри камеры сгорания. Приводной вал, приводящий в действие насосы, выходил из камеры через центр инжектора. Первым двигателем цикла SC, запущенным в производство, был советский двигатель NTO / UDMH RD-253, который использовался на первой ступени ракеты-носителя «Протон», впервые запущенной в 1965 году. Советский Союз также использовал цикл SC на всех двигателях LOX. / керосиновые двигатели серии NK, использованные в программе лунной ракеты N1 в середине 1960-х годов. Хорошо известным тактовым двигателем SC является SSME, который, вероятно, является наиболее совершенным двигателем, эксплуатируемым сегодня.
Цикл SC можно разделить на категории в зависимости от того, является ли газ привода турбины богатым топливом или окислителем. Цикл обогащенного топливом SC (FRSC) обычно применяется к двигателям LOX / LH 2 (т.е. SSME, RD-0120 и LE-7). Богатый окислителем цикл SC (ORSC) используется в двигателях на углеводородном топливе и был продемонстрирован в нескольких российских двигателях (например, РД-170, НК-33 и РД-253) с использованием LOX / керосина или NTO / UDMH. Другой вариант цикла SC – это цикл полнопоточного SC (FFSC), который объединяет некоторые достоинства циклов FRSC и ORSC, но не был продемонстрирован ни в одной системе двигателя.Цикловый двигатель FFSC требует наличия двух дожигателей, одна из которых вырабатывает богатый топливом горячий газ для питания топливного турбонасоса, а другая вырабатывает богатый окислителем горячий газ для питания турбонасоса окислителя.
Хотя ракетные двигательные установки – довольно зрелая область, есть существенные возможности для улучшения. Требуются достижения в следующих областях: надежность системы и долговечные компоненты; диагностика исправности двигателя; топливо с высокой плотностью энергии и хранением; более легкие, высокотемпературные материалы; форсунки, которые автоматически подстраиваются под условия давления окружающей среды; и усовершенствованные термодинамические циклы.
Модель 39a
На главную – Поиск – Обзор – Алфавитный указатель: 0-1-2-3-4-5-6-7-8-9
A- B- C- D- E- F- G- H- I- J- K- L- M- N- O- P- Q- R- S- T- U- V- W- X- Y- Z
Модель 39a
Thiel LOx / Ракетный двигатель на спирте. Однокамерный двигатель для В-2 серий С, А9. Испытан в 1942-45 гг. Никогда не производился в Германии, но послужил основой для успешных послевоенных американских и французских ракетных двигателей.
AKA : А-9. Статус : Проверено в 1942-45 гг. Усилие : 288,70 кН (64 902 фунт-силы). Удельный импульс : 255 с. Удельный импульс на уровне моря : 220 с. Время горения : 115 с. Диаметр : 1,65 м (5,41 фута).
В начале 1940-х годов Тиль и его команда стремились создать однокамерный двигатель с тягой 25 метрических тонн вместо замкнутого прототипа двигателя для A4, в котором использовалось 18 отдельных камер по 1,5 тс. Им удалось продемонстрировать 60-секундное время горения в 18-камерной конструкции, но сам двигатель считался слишком сложным для производства, требуя тысячи собранных вручную трубок для подачи топлива и окислителя в камеру.Тиль стремился заменить эти тысячи трубок более простой системой впрыска – рядами простых просверленных отверстий на плоской пластине инжектора в головной части камеры. Но это не могло быть достигнуто до того, как A4 пошла в производство, а 18-камерная конструкция использовалась в тысячах серийных V-2.
Немецкие разработки усовершенствованных ракетных камер для A4 были сконцентрированы в Техническом колледже в Дрездене. Группу возглавил Георг Бек, и в ее состав входили Карл Зиннер (изобретатель инжектора для «насадки для душа»), Ханс Линденберг и Конрад Данненберг.Они курсировали между Дрезденом и Пенемюнде во время долгого процесса проб и ошибок создания инжектора ракетного двигателя, который обеспечивал бы стабильное сгорание. Одна конструкция за другой приводила к появлению двигателей, которые создавали резонансные колебания во время сгорания, которые разрывали двигатели, или неравномерное сгорание, которое прожигало поверхность инжектора. Группе, наконец, удалось изготовить пластину инжектора B7 для 8-тонного тягового двигателя, которая использовалась для ракеты класса “земля-воздух” Вассерфаль.Только в 1945 году команда из Дрездена усовершенствовала пластину форсунки B8, предназначенную для использования в двигателе камеры сгорания с конической головкой модели 39a для производственной серии A4 C. В B8 использовалась пластина форсунки с круглыми пазами и отверстиями, расположенными сложным радиальным образом. , параллельные и круговые узоры. Эта конструкция так и не пошла в производство в Германии, но легла в основу успешных послевоенных американских и французских ракетных двигателей.
Усилие (sl): 249,100 кН (56000 фунтов-силы). Тяга (сл): 25,397 кгс.
Подтемы
| XLR43-NA-1 Rocketdyne Ракетный двигатель LOx / Alcohol. Разработка завершена в 1951 году. Mark III – американская версия однокамерного двигателя V-2, испытанного во время Второй мировой войны, но с половинной массой и на 34% большей тягой. Отправная точка для всех более поздних двигателей Rocketdyne. |
| A-6 Rocketdyne ракетный двигатель LOx / спирт.Снят с производства. Используется на ракете-носителе Редстоун. Первый полет в 1953 году. Разработан на основе XLR43-NA-1, американской версии однокамерного двигателя V-2, испытанного в 1945 году. |
| Ракетный двигатель A-7 Rocketdyne LOx / Hydyne. Снят с производства. Версия двигателя Redstone для испытательного автомобиля Jupiter-C с топливом Hydyne и временем горения 140 секунд. Летал 1956-1959 гг. Газогенератор, насосный. Тяга 370 кН на уровне моря. |
Страна : Германия. Ракеты-носители : A9 / A10, A9 / A10 / A11. Пропелленты : Lox / Alcohol. Ступени : Ступень A-9. Агентство : Тиль.
Вернуться к началу страницы
На главную – Поиск – Обзор – Алфавитный указатель: 0-1-2-3-4-5-6-7-8-9
A- B- C- D- E- F- G- H- I- J- K- L- M- N- O- P- Q- R- S- T- U- V- W- X- Y- Z
© 1997-2019 Mark Wade – Контакты
© / Условия использования
В музее выставлен советский ракетный двигатель РД-107.Пока есть четыре камеры сгорания (шесть камер сгорания, включая верньеры) которые технически являются частью этого ракетного двигателя, но не отображаются), там один турбонасос, поэтому РД-107 считается одиночной ракетой. двигатель. Советы опробовали несколько более крупных конструкций с одним сгоранием. камеры, но не смогли преодолеть проблемы нестабильности горения, и поэтому остановились на системе с несколькими камерами сгорания. Эти четыре горения камеры фиксируются (т.е., не карданный), и так два навесных верньера (с приводом тем же турбонасосом, что и основные камеры сгорания). упаковка. Несколько советских ракет / ракет, начиная с Р-7 и до включительно электрический ток Российская ракета Союз (хотя эта ссылка необъяснимо относится к двигатели как «твердотопливные ракетные ускорители») использовали группу из четырех накладных РД-107 и центральный маршевый двигатель РД-108 (очень похожий на РД-107, но с четырьмя верньерами).В то время как РД-107 претерпел ряд незначительные модификации с годами, сегодня это в основном тот же двигатель, что и был в конце 1950-х, что сделало его самым долгоживущим ракетным двигателем, который до сих пор оставался на рынке. производство. Заявленная тяга для РД-107 варьируется от 178000 фунтов. от 183000 фунтов до 204000 фунтов до 228000 фунтов. Два нониуса каждый поставляют около 8 500 фунтов тяги, что может объяснить некоторую разницу (или возможно, заявленный диапазон связан с завышенными характеристиками двигателей. время).Тем не менее, каждая камера сгорания дает немного меньшую тягу, чем 56000 фунтов ракетного двигателя Фау-2. Некоторые версии ракеты Атлас (у которой была первая успешный испытательный полет в декабре 1957 г. и первый запуск на орбиту годом позже) упакованы две тяги ЛР-89 камеры вместе в устройстве, аналогичном РД-107 (с общим турбонасосы), которые вместе давали тягу более 300 000 фунтов. (По иронии судьбы, современные версии ракеты Атлас используют российский двигатель РД-180.) Как и двигатель Фау-2 (и современник РД-107, Редстоун двигатель), он использовал парогенератор перекиси водорода для питания своего турбонасосы и, как и двигатель Redstone, длинная цилиндрическая камера сгорания. РД-107 улучшил эти двигатели на используя в качестве топлива РП-1 (а не смесь 75% этилового спирта и 25% вода, добавляемая для поддержания достаточно низкой температуры горения для предотвращения прогорания стенок упорной камеры) и имеющий колоколообразную форму камеры тяги, а не более длинная (и тяжелая) коническая камера тяги. Двигатель выставлен в музее внутри стены, с тягой. плоскости выхода камер находятся на одном уровне со стенкой, что не позволяет осмотреть основную часть двигатели. Альков покрыт зеркальными панелями, что позволяет косвенный просмотр ограниченных частей двигателя. |
Границы | CFD-оптимизация геометрии предкамеры бензинового двигателя с искровым зажиганием
Введение
Турбулентное струйное зажигание (TJI) (Attard et al., 2010; Тулсон и др., 2010; Alvarez et al., 2018) – одна из многообещающих технологий, которая обеспечивает сверхбедное сжигание с высокой энергоэффективностью и низким уровнем выбросов. В системе TJI используется предварительная камера, в которой размещается свеча зажигания и, по желанию, топливно-воздушные форсунки, которые уже используются в двигателях с искровым зажиганием на природном газе (Mastorakos et al., 2017). В общем, стехиометрическая топливно-воздушная смесь может подаваться в форкамеру для обеспечения успешного воспламенения, в то время как основная камера может вмещать достаточно бедную смесь для значительного повышения термического КПД.Для активной конструкции форкамеры, где установлены как топливные, так и воздушные форсунки, для форкамеры может быть подготовлена точная топливно-воздушная смесь без рециркуляции отработавших газов. Недостатком этого варианта активной форкамеры является то, что требуется дополнительная топливная система, что увеличивает стоимость и сложность управления, упаковки и охлаждения. В случае пассивной форкамеры топливный инжектор не устанавливается внутри форкамеры, так что топливно-воздушная смесь должна полагаться на естественную продувку во время такта впуска, чтобы попасть в форкамеру.Следовательно, конструкция пассивной форкамеры затрудняет точную подготовку заряда внутри форкамеры, что может привести к более серьезной нестабильности горения и большей вероятности пропуска зажигания. В обоих вариантах топливно-воздушная смесь в форкамеру воспламеняется свечой зажигания. Температура и давление внутри форкамеры быстро повышаются. Следовательно, большая разница давлений между форкамерой и основной камерой вытесняет горячие продукты сгорания из небольших отверстий на конце форкамеры, образуя горячую турбулентную струю, воспламеняющую сжатый обедненный заряд в основной камере сгорания.Горение, вызванное этой горячей реагирующей турбулентной струей, происходит намного быстрее из-за пространственно распределенных фронтов пламени (Attard et al., 2010). Меньше тепла передается деталям двигателя из-за быстрого сгорания и бедной смеси. По сравнению с обычными двигателями SI, которые работают в стехиометрических условиях и ограничиваются детонацией двигателя, бедная смесь в основной камере не имеет детонации в большинстве условий и, следовательно, допускает гораздо более высокую степень сжатия. Кроме того, относительно низкая температура сгорания в обедненной основной камере значительно снижает выбросы NOx и твердых частиц (PM).
TJI был тщательно исследован экспериментально и численно. Тулсон и его сотрудники провели серию фундаментальных исследований TJI, используя оптическую машину быстрого сжатия (RCM). Тулсон и др. (2012) сравнили обычное искровое зажигание и TJI в оптическом одноцилиндровом двигателе и продемонстрировали, что TJI обеспечивает более быстрое сгорание из-за множества широко распределенных мест воспламенения. Gentz et al. (2015) исследовали влияние размера отверстия на TJI в машине быстрого сжатия (RCM).Было обнаружено, что при почти стехиометрическом соотношении воздуха к топливу большое сопло, которое производит более распределенные в пространстве струи, приведет к более быстрому развитию горения. Однако в более бедных условиях для инициирования горения требуется сопло меньшего диаметра, которое производит более быструю и мощную струю. Генц и Тулсон (2016) далее сравнили активную и пассивную заправку топливом в TJI. При пассивной заправке одно сопло имеет лучшие характеристики, чем двойное сопло с той же площадью поперечного сечения.Карими и др. (2014) провели экспериментальный и расчетный анализ воспламенения горячей струи в камере сгорания. Горячая струя характеризуется тремя различными струями: пристенной струей, струей, падающей на стенку, и свободной струей. Ли и др. (2019) провели экспериментальное исследование TJI в RCM и одноцилиндровом двигателе. Исследование показало, что существует две модели воспламенения в предварительных камерах в зависимости от диаметра отверстий: схема воспламенения пламени с большим диаметром отверстия и схема самовоспламенения с отверстием меньшего размера.Biswas et al. (2016) выявили два механизма зажигания в основной камере: струйное зажигание и пламенное зажигание. Бисвас и Цяо (2016) провели экспериментальное исследование воспламенения ультра-обедненных предварительно смешанных смесей h3 / воздух горячей струей, выпущенной из форкамеры, со стехиометрической смесью, визуализированной с использованием одновременной высокоскоростной шлирен-фотографии и хемилюминесценции OH *. Сравниваются три геометрии сопла (прямая, сходящаяся и сходящаяся-расходящаяся). Наблюдались алмазные ударные структуры в сверхзвуковых струях и высокотемпературная зона за ударными волнами, что может снизить предел воспламеняемости в основной камере.Нестабильность горения становится заметной вблизи предельных условий обедненной смеси. Бисвас и Цяо (2018) дополнительно исследовали влияние местоположения искры и соотношения эквивалентности в предкамере на характер воспламенения в основной камере. Эффективное соотношение, описывающее местоположение искры, определяет динамику пламени в форкамеру. Bolla et al. (2019) смоделировали продуманную форкамеру автомобильного размера, установленную в головной части машины быстрого сжатия-расширения, с использованием RANS и LES. Показано, что наклонное сопло отверстия форкамеры создает вихревой поток внутри форкамеры.Benekos et al. (2020) провели 2D DNS-исследование процесса воспламенения в основной камере. Численно исследовано влияние теплового граничного условия стенки, начальной температуры смеси и отношения эквивалентности в основной камере. Было обнаружено, что горячая струя из форкамеры может быть разбита на мелкие ядра в холодном состоянии основной камеры или образует факел в горячем состоянии. Muller et al. (2018) исследовали механизм зажигания в основной камере. Было обнаружено, что как кинетические, так и тепловые эффекты важны для процесса воспламенения, вызванного горячей струей.Наблюдаются сильные корреляции между гидродинамикой, перемешиванием и горением. Ахтар и др. (2017) исследовали влияние геометрии отверстия на работу предкамеры с использованием визуализации Шлирена. Рассмотрены круглые и щелевые формы с одинаковой площадью поперечного сечения. Было обнаружено, что щелевидная форкамера может ускорять распространение пламени на ранних стадиях. Freeman et al. (2020) разработали новую конструкцию форкамеры с помощью 3D CFD горения. Результаты CFD показывают, что двигатель SI с предварительной камерой имеет хорошие улучшения по сравнению с обычным бензиновым двигателем SI, особенно в отношении экономии топлива.Исходя из разницы давлений между основной камерой и форкамерой, процесс газообмена между ними можно описать четырехступенчатым процессом. Shah et al. (2015) экспериментально исследовали влияние объема форкамеры и диаметра сопла на результирующие характеристики зажигания. Было обнаружено, что более крупная форкамера обеспечивает более высокую энергию зажигания, что приводит к сокращению угла развития пламени и продолжительности горения. При заданном объеме форкамеры диаметр сопла в основном влияет на продолжительность горения.Hlaing et al. (2020) раскрывает двухступенчатый механизм сгорания в основной камере, причем последняя стадия, как считается, способствует массовому воспламенению заряда основной камеры. Тепловыделение предкамеры коррелирует с прочностью смеси предкамеры, которая влияет на фазирование сгорания предкамеры и начальное тепловыделение в основной камере. Tang et al. (2020) использовали одновременную отрицательную хемилюминесценцию PLIF и OH для визуализации процесса газообмена и струи пламени из сопел форкамеры, что показало, что длина проникновения струи пламени намного короче, чем у струи форкамеры.Предлагается трехступенчатый газообменный процесс. Когда коэффициент эквивалентности предкамеры увеличивается от бедного до слегка обогащенного, разница давлений между основной камерой и предкамерой, момент зажигания и момент пикового перепада давления сначала увеличиваются, а затем достигают плато. Kim et al. (2019) сравнили модели турбулентного горения (многозонный реактор с хорошим перемешиванием и G-уравнение) для предкамерного зажигания. Модель G-уравнения дает лучшие прогнозы, чем модель реактора с хорошим перемешиванием.Сверху, хотя были проведены обширные вычислительные и экспериментальные работы для понимания и прогнозирования искрового зажигания в форкамере, конструкция форкамеры по-прежнему в значительной степени основана на опыте, и отсутствует общая стратегия, которая могла бы обеспечить руководство к оптимальному воспламенению. дизайн. Zhang et al. (2020) провели комплексный 3D CFD-анализ легкового бензинового двигателя с пассивной форкамерой. Предложена трехфазная феноменологическая модель для описания воспламенения пламени при форкамерном струйном горении.Предварительная камера с вихревыми форсунками создает организованное и повторяемое вихревое движение, которое может быть полезно для горения. Угол и ориентация зонта форсунки форкамеры могут быть дополнительно оптимизированы для данной системы сгорания для достижения снижения потерь тепла сгорания. Hua et al. (2021) сравнили четыре конструкции форкамеры, пассивную и активную заправку топливом при испытаниях двигателей. Они обнаружили, что объем и количество форсунок являются двумя ключевыми параметрами для оптимизации конструкции форкамеры. Предварительная камера с меньшим объемом имеет лучший IMEP и экономию топлива из-за меньшего тепловыделения и потерь при сгорании в форкамере.Изученная форкамера с одним отверстием генерирует более сильную горячую струю, чем форкамеры с семью отверстиями, что эффективно улучшает скорость горения и расширяет предел сжигания обедненной смеси.
С точки зрения производства и механического проектирования, MAHLE Powertrain является ведущим разработчиком в области применения TJI для трансмиссии легковых автомобилей. Attard et al. (2010) продемонстрировали на одном одноцилиндровом двигателе, что TJI может выдерживать до 54% массовой доли разбавителя, что приводит к увеличению экономии топлива на 18%.Аттард и Парсон (2010) показали, что тип свечи зажигания, ориентация и межэлектродный зазор практически не влияют на горение при струйном зажигании. Они пришли к выводу, что это частично связано с тем, что искровой разряд в форкамере занимает гораздо большую часть камеры по сравнению с обычным искровым зажиганием. Они также обнаружили, что наибольший эффект имеет вылет свечи зажигания, что не очень важно для обычных двигателей SI.
В сочетании с генетическим алгоритмом, 3D CFD сгорания широко используется при разработке двигателей (Shi et al., 2011). Ge et al. (2009) и Ge et al. (2010) разработали автоматизированные процессы расчета для оптимизации топливной системы, корпуса поршня и коэффициента завихрения. Ge et al. (2010) разработали метод оптимизации, который одновременно оптимизирует несколько рабочих условий путем разделения проектных параметров на параметры оборудования и рабочие параметры. Ge et al. (2011) и Ли и др. (2012) объединили законы масштабирования с методом оптимизации в (Ge et al., 2010) для оптимизации сгорания двигателя. Методы машинного обучения применялись во многих областях сгорания двигателей.Moiz et al. (2018) объединили машинное обучение с генетическим алгоритмом и 3D CFD для оптимизации сгорания двигателя. Метод был применен к дизельному двигателю большой мощности. Kodavasal et al. (2018) использовали методы машинного обучения для анализа контролирующего фактора межциклового изменения в бензиновом двигателе с искровым зажиганием. Probst et al. (2019) использовали два метода машинного обучения (гауссовский процесс и SuperLearner) для прогнозирования сгорания двигателя. Сравнивались разные методы оптимизации. Были рекомендованы оптимизация роя частиц, дифференциальная эволюция, алгоритм GENOUD и микрогенетический алгоритм (GA).Бадра и др. (2020) оптимизировали систему сгорания бензинового двигателя с воспламенением от сжатия, используя CFD и алгоритм градиента сетки машинного обучения. Shah et al. (2019) использовали методы машинного обучения для прогнозирования задержки воспламенения, скорости пламени, октанового числа и фазы сгорания многокомпонентных заменителей бензина в двигателях с воспламенением от сжатия с однородным зарядом.
Конструкция форкамеры является наиболее важным компонентом двигателей этого типа, и это остается проблемой. В литературе обычно исследуется влияние одного или нескольких проектных параметров на характеристики двигателя.Однако систематическое изучение геометрии форкамеры отсутствует. В данной статье описывается автоматизированный метод оптимизации конструкции форкамеры с использованием трехмерной вычислительной гидродинамики горения. DOE, GA, машинное обучение сочетается с 3D-моделированием горения CFD для оптимизации конструкции форкамеры двигателя с искровым зажиганием. Сравниваются разные модели машинного обучения. Оптимальная конструкция сравнивается с усредненной конструкцией и неудачной конструкцией, чтобы понять, как параметры конструкции физически влияют на характеристики двигателя.
Конфигурации двигателя и численные методы
Был смоделирован двигатель с искровым зажиганием с трехмерным впрыском топлива (PFI), который является одним из примеров использования CONVERGE. В таблице 1 перечислены параметры конфигурации двигателя. Для всех случаев коэффициент глобальной эквивалентности установлен на единицу. В оригинальном двигателе свеча зажигания установлена в центре головки блока цилиндров. В настоящей работе свеча зажигания заменяется системой TJI (см. Рис. 1), нижняя часть которой имеет размер, как свечу зажигания.Таким образом, вся форкамера может быть установлена непосредственно на двигатель SI без изготовления новой головки блока цилиндров. Было проведено моделирование полного цикла для всех вариантов двигателя, то есть начиная с EVO (открытие выпускного клапана, которое составляет -579,8 ° ВМТ) до EVO (140,2 ° ВМТ). Смоделирован процесс газообмена. В IVC (закрытие впускного клапана) массовая доля CO2 и h3O во всей камере (включая основную и форкамерную) составляет 1,83%, что эквивалентно примерно 5,4% EGR.
ТАБЛИЦА 1 .Конфигурации двигателя.
РИСУНОК 1 . Поверхность одного форкамерного двигателя СИ.
В данной статье коммерческое программное обеспечение CFD CONVERGE (Richards et al., 2017) использовалось для моделирования двигателя, основанного на методе конечных объемов. В таблице 2 перечислены основные модели, использованные в настоящем моделировании. Адаптивное уточнение сетки (AMR) и фиксированное встраивание использовались для баланса эффективности и точности. Использовалась модель реальной жидкости – уравнение состояния Редвича – Квонга. Модель горения SAGE с механизмом PRF (Liu et al., 2012) использовался для всех имитационных моделей двигателей SI, в которых топливо представляет собой газообразный бензин. Для моделирования машины быстрого сжатия используется метан. Использовалась модель горения SAGE с механизмом GRI 3.0. Модель горения SAGE рассматривает каждую вычислительную ячейку как реактор с идеальным перемешиванием, то есть нет явных моделей турбулентного химического взаимодействия (TCI). Недавно Dahms et al. (2019) провели асимптотический анализ, который показал, что в многозонной модели SAGE присутствует неявный TCI.Неявный TCI означает, что производительность модели горения зависит от размера сетки, числового и т. Д. TCI может быть полностью восстановлен моделью SAGE, когда размер сетки и временной шаг приближаются к размеру DNS. Хотя текущий размер сетки и временной шаг недостаточно малы для полного восстановления TCI, локальное измельчение сетки вблизи фронта пламени может в значительной степени восстановить TCI. Кроме того, эффекты турбулентности учитываются через коэффициент турбулентной диффузии, через который TKE влияет на процессы смешения энергии, частиц и количества движения.Таким образом, определенный уровень влияния турбулентности на процесс горения был захвачен настоящим моделированием. Во всех симуляциях горения используется нестационарный RANS с k – ε моделью RNG (Han and Reitz, 1995). Предполагалась постоянная диффузионная способность с турбулентным числом Прандтля 0,9 и турбулентным числом Шмидта 0,78. В форкамеру не учитывалась геометрия свечи зажигания. И в обычном двигателе SI, и в форкамере искровое зажигание моделировалось с использованием точечного источника. Базовый размер ячейки установлен на 4 мм.К AMR было применено трехуровневое встраивание, основанное на температуре и скорости. Граница предкамеры была доведена до 0,5 мм с использованием фиксированной заделки. Пятиуровневая и трехуровневая фиксированная заливка использовалась для сопловой и ближней сопловой областей течения струи соответственно. AMR уровня три активируется как градиентом температуры, так и градиентом скорости.
ТАБЛИЦА 2 . Вычислительные модели.
Модель стены Launder and Spalding (Launder and Spalding, 1974) используется для обработки границ твердых стен.Температура поршня, гильзы, головки цилиндров, предкамеры, дна выпускного клапана, штока выпускного клапана, выпускного канала, впускного канала, дна впускного клапана и штока впускного клапана установлена на 450, 400, 400, 450, 525, 425. , 400, 300, 480 и 350 К соответственно. На входе во впускной канал устанавливается давление 1 атм и устанавливается идеальная стехиометрическая смесь газообразного бензина и воздуха. Давление на выходе из выхлопного отверстия также установлено на 1 атм. Обратный поток с температурой 610 К и смесью N2 (71.9% по массе), CO2 (19,2%) и h3O (8,9%) подается на выпускное отверстие выхлопного отверстия. В начале моделирования (-579,8 ° ATDC, что соответствует EVO) предполагается, что смеси в основной камере и предкамеру состоят из N2 (71,9% по массе), CO2 (19,2%) и h3O (8,9%). ). Путем моделирования всего цикла покрывается процесс продувки основной камеры и предварительной камеры. Прогнозируемые остатки в основной камере и форкамере более надежны. Та же численная модель была использована для моделирования случая TJI с одним соплом MSU, который успешно воспроизвел изображения в цилиндрах и усредненный график давления в основной камере, которые будут представлены в следующем разделе.Это означает, что настоящая численная модель и сетка могут воспроизводить процессы воспламенения и горения в форкамере и основной камере. На рис. 1 показана поверхность одного форкамерного двигателя SI. Впускные и выпускные каналы расположены с двух сторон в направлении x , то есть двигатель примерно симметричен плоскости y ( y = 0). На рисунке 2 показана типичная сетка предкамерного двигателя SI при –2,5 ° ВМТ. За счет дополнительного объема форкамеры степень сжатия форкамерного двигателя SI снижена с 10.0 для базового двигателя. Для упрощения впрыск топлива не учитывается. Предполагается, что всасываемая топливно-воздушная смесь идеально перемешана.
РИСУНОК 2 . Расчетная сетка одного случая при −2,5 ° ВМТ.
Предварительная камера имеет 6 отверстий. Размер отверстия и нормальное направление среза сопла фиксированы. В настоящем исследовании оптимизирована только геометрия над соплом. Предполагается осесимметричная форма верхней части форкамеры, расположенной над сопловой частью. Таким образом, геометрия верхней части может быть упрощена до симметричного 2D профиля.Затем полу-профиль параметризуется и аналитически описывается с использованием 11 проектных параметров. На рисунке 3 (слева) показан эскиз примерной конструкции с 11 расчетными параметрами. Точка А закреплена и соединяется с сопловой частью форкамеры. Точки B, C, D и E гибкие. Точка B имеет ту же радиальную координату, что и точка A, т.е. часть AB вертикальна. Вертикальная координата точки B определяется расчетным параметром «bz». Точки C и D имеют одинаковые радиальные координаты, что определяется расчетным параметром «cr.Их вертикальные координаты определяются буквами «cz» и «dz». Координаты точки E определяются расчетным параметром «er» и «ez». Радиус верхней части предкамеры установлен больше, чем размер свечи зажигания, чтобы гарантировать, что обычная свеча зажигания может быть установлена в предкамеру. Таким образом, радиальная координата точки E имеет минимальное значение. Расчетный параметр «xde» используется для определения кривизны DE. Расчетные параметры «gz», «hz» и «θ» используются для определения кривой между точками B и C. Таблица 3 перечисляет диапазон этих 11 проектных параметров.Кривые Безье нанесены на угол, чтобы обеспечить плавные переходы. Параметры «bz», «dz», «gz», «hz» и «θ» физически находятся в пределах [0,1]. За исключением тета, все установлены на [0,01, 0,99], чтобы избежать потенциальной проблемы сингулярности. Для «θ» выбран диапазон [0,2, 0,8], чтобы избежать слишком острых углов для кривой BC. Минимальное значение параметра «er» указывает на радиальный размер обычной свечи зажигания, то есть предварительная камера должна быть, по крайней мере, достаточно большой для размещения свечи зажигания. Его максимальное значение равно 1.8 исходя из опыта. Параметр «cr» указывает отношение радиуса в точке C и точке E, и поэтому он больше 1. Его минимальное значение установлено на 1,02, чтобы оставить достаточно места для кривой DE. Его максимальное значение установлено на 1,2 в зависимости от опыта. Минимальное значение параметра «ez» указывает минимальную высоту для размещения обычной свечи зажигания. Его максимальное значение установлено на 3,0 в зависимости от опыта. Параметр «cz» является нормированным параметром, описывающим высоту точки C. Его минимальное значение ограничено расстоянием до головки блока цилиндров, т.е.е., чтобы избежать пересечения с головкой блока цилиндров и сохранить достаточную толщину стенки форкамеры. Его максимальное значение установлено на 2,0, исходя из опыта авторов. Параметры кривизны «xbc» и «xde» имеют неотрицательные значения: 0 для прямой линии и 1 для круговой кривой. Для них заданы диапазоны [0,1, 2,0], чтобы охватить разумное разнообразие кривизны. На рисунке 3 (справа) показаны три примера дизайна. Черная сплошная линия обозначает дизайн со всеми минимальными параметрами. Красная пунктирная линия обозначает проект со всеми средними параметрами (это конструкция DOE56 в разделе «Анализ горения оптимальной конструкции»).Синяя пунктирная линия обозначает все максимальные параметры.
РИСУНОК 3 . Слева: расчетные параметры форкамеры. Справа: проект со всеми минимальными параметрами (черная сплошная линия), всеми средними параметрами (красная пунктирная линия) и всеми максимальными параметрами (синяя пунктирная линия).
ТАБЛИЦА 3 . Диапазоны расчетных параметров форкамеры.
На рисунке 4 показана схема метода оптимизации, основанного на байесовской стратегии обновления (Enright and Frangopol, 1999).Байесовская стратегия обновления – это подход, основанный на обучении на практике, в котором теорема Байеса используется для обновления вероятности гипотезы по мере появления большего количества свидетельств или информации. В настоящем приложении модуль машинного обучения обновляется, когда становятся доступны другие результаты CFD. Оптимизация начинается с DOE (плана эксперимента) всех проектных параметров. В настоящей работе размер DOE установлен равным 56, что представляет собой матрицу DOE небольшого размера с 11 проектными параметрами.Матрица DOE генерируется с использованием метода выборки латинского гиперкуба в Matlab. Все конструкции в этом DOE смоделированы с помощью 3D CFD горения. Эти результаты CFD образуют первую базу данных, которая используется в модуле машинного обучения (ML) для обучения данных. Таким образом, модуль ML может заменить 3D CFD горения в процессе оптимизации. Затем для оптимизации используется генетический алгоритм (GA) в сочетании с обученным модулем ML, который порекомендует один «оптимальный» дизайн (ы). «Оптимальный» дизайн (ы) дополнительно подтвержден в 3D CFD горения.Таким образом, роль подхода ML + GA состоит в том, чтобы предложить потенциально хорошие планы вместо точного прогнозирования объективного CA50. Все конструкции, предложенные подходом ML + GA, будут дополнительно подтверждены моделированием 3D CFD. Другими словами, мы судим об алгоритме машинного обучения на основе того, какой дизайн он предложил, а не на основе предсказанного CA50. Преимущество ML заключается в сокращении общего количества дорогостоящих вычислений 3D CFD-моделирования. Таким образом, ML не обязательно должен быть инструментом количественного прогнозирования.Вместо этого качественное прогнозирование результатов CFD с помощью ML будет достаточно и на самом деле более важно, чем количественное прогнозирование. Результаты этих «оптимальных» схем добавляются в базу данных для дальнейшего повышения точности модуля ML. По сравнению с случаями 3D-горения CFD, которые обычно занимают около 20 часов с использованием 72 ядер, время вычислений для варианта GA + ML составляет всего около нескольких минут с использованием ноутбука, что совершенно незначительно. Таким образом, этот метод значительно снижает вычислительные затраты за счет замены 3D CFD горения на модуль ML при оптимизации.Модуль ML также помогает сузить оптимальную область во всем пространстве проектирования и сокращает общее количество запусков 3D CFD горения. Подход байесовского обновления сокращает общее количество итераций. Учитывая природу ГА, окончательный «оптимальный» дизайн – это лучший дизайн среди всех рассмотренных проектов, а не точный оптимум во всем пространстве дизайна (Shi et al., 2011).
РИСУНОК 4 . Набросок метода оптимизации байесовского обновления.
Результаты и обсуждение
Проверка модели
Трехмерная CFD-модель сгорания проверена в одном случае MSU RCM с форкамерой, которая работает в условиях, аналогичных двигателю (Gholamisheeri et al., 2017). В этом случае диаметр сопла составляет 3,0 мм и λ = 1,25. Начальное давление и температура как для экспериментов, так и для моделирования составляли 1,04 бар и 80 ° C соответственно. Топливо – метан. Скелетный механизм из 30 видов, основанный на GRI3.0 (Lu and Law, 2008), используется в модели SAGE. За исключением механизма реакции, все модели и настройки такие же, как описано в разделе «Конфигурации двигателя и численные методы». На рисунке 5 показано сравнение предсказанных и измеренных (Gholamisheeri et al., 2017) давления в основной камере, достигая очень хорошего согласия. На рисунке 6 показано сравнение экспериментальных хемилюминесцентных изображений (Gholamisheeri et al., 2017) и прогнозируемого температурного контура в основной камере при аналогичных временах горения. Принципиальная форма горячей струи, выходящей из форкамеры, получена разумно. Из-за характера модели RANS прогнозируемая горячая струя намного более гладкая, чем измеренная. В целом, настоящая численная модель способна воспроизвести горение TJI.
РИСУНОК 5 . Сравнение расчетного и измеренного давления в основной камере.
РИСУНОК 6 . Сравнение экспериментальных хемилюминесцентных изображений (вверху) и прогнозируемого температурного контура (внизу) в основной камере при одинаковой продолжительности горения.
Оценка моделей машинного обучения
Настоящая модель CFD затем применяется для моделирования корпусов двигателей SI, работающих на бензине и с предварительной камерой (c.е., рисунок 1). Все следующие результаты и анализ основаны на моделировании бензинового двигателя SI с пассивной форкамерой. В настоящей работе для оптимизации используются модуль ML (учащийся регрессии) и модуль GA в Matlab. CA50, угол поворота коленчатого вала, соответствующий 50% расхода топлива, для простоты взят как единственная цель работы двигателя. При таком же моменте зажигания меньшее значение CA50 указывает на более быстрое сгорание, что оставляет больше места для замедления искры и улучшенной экономии топлива.Для модуля ML используется перекрестная проверка с 5-кратной проверкой. На первом этапе тестируются все модели машинного обучения, доступные в модуле регрессионного обучения. Все конструктивные параметры, перечисленные в таблице 3, взяты на вход модулей ML. CA50, прогнозируемый CFD, устанавливается в качестве выходных данных. В таблице 4 показаны RMSE всех протестированных моделей машинного обучения. Образцы представляют собой результаты матрицы ДОЭ, которая в общей сложности составляет 56 образцов. В целом экспоненциальный георадар имеет самое низкое среднеквадратичное значение 2,628. Среди каждой категории выбирается одна модель для дальнейших оценок, включая надежную линейную модель (Ronchetti et al., 1997), модели грубого дерева (Breiman et al., 1984), среднего гауссовского SVM (Xu et al., 2009), модели дерева с мешками (Ting and Witten, 1997) и экспоненциального георадара (Williams and Rasmussen, 2006). На рисунке 7 показано сравнение прогнозируемого и фактического CA50 с использованием этих пяти выбранных моделей. Ось x указывает фактический CA50. Ось y указывает прогнозируемый CA50 с использованием моделей машинного обучения. Видно, что в целом все модели имеют некачественную подгонку. Одна из причин – небольшое количество выборок (= 56).Разница в подгонке между разными моделями машинного обучения более очевидна. В частности, очень плохо подогнана грубая модель дерева. Используя метод, показанный на рисунке 4, эти пять моделей машинного обучения тестируются с 24 итерациями. Каждая итерация дает один «оптимальный» дизайн для каждой модели. На рисунке 8 показан прогнозируемый CFD CA50 «оптимальных» дизайнов на основе выбранных моделей машинного обучения. Можно видеть, что относительно средняя гауссовская модель SVM (SVM) дает наиболее оптимизированный дизайн с этими 24 итерациями.Таким образом, средняя гауссовская модель SVM используется для оптимизации следующего этапа.
ТАБЛИЦА 4 . RMSE моделей машинного обучения.
РИСУНОК 7 . Сравнение прогнозируемых и фактических значений CA50 с использованием пяти выбранных моделей машинного обучения с 56 образцами из DOE. (A) Робастная линейная модель , (B) Модель грубого дерева , (C) SVM со средним гауссовым обзором , (D) дерево с мешками и экспоненциальный георадар (E) .
РИСУНОК 8 .Сравнение CA50, предсказанного с помощью CFD, по пяти выбранным моделям машинного обучения.
Средняя гауссовская модель SVM обучается с использованием всех результатов CFD (включая те, которые используются в других моделях машинного обучения). Используется тот же метод, что показан на рисунке 4. Спустя 10 поколений не было найдено лучшего дизайна, чем конструкция «SVM67» (67 – его номер поколения). На рисунке 9 показан прогнозируемый CFD CA50 для всех поколений. Ось x указывает номер поколения. Символы «*» обозначают 56 отсчетов матрицы ДОЭ.Квадратные квадраты с символами обозначают результаты средней гауссовской модели SVM. Символы круга обозначают результаты других моделей машинного обучения. Таким образом, для дальнейшего анализа выбирается конструкция «SVM67» с самым низким CA50 2,9 ° ATDC. В следующем разделе этот дизайн сравнивается с дизайном «RegTree64», который представляет наихудший CA50 (22,2 ° ATDC). Помимо этих двух крайних точек, в подробном анализе также рассматривается проект «DOE56», который представляет собой усредненный проект (все параметры проекта являются усредненными значениями по всем их диапазонам).Его CA50 составляет 6,5 ° ATDC. С этими тремя точками можно наблюдать более четкую тенденцию.
РИСУНОК 9 . CFD-предсказанный CA50 всех поколений.
На рисунке 10 показано сравнение прогнозируемых и фактических значений CA50 с использованием среднего гауссовского SVM со всеми 184 образцами. По сравнению со средним графиком SVM по Гауссу на рисунке 7, который основан на 56 выборках, качество подгонки улучшилось. Соответствующее среднеквадратичное значение снижено с 2,6349 до 2,2618. Хотя оптимизация началась с матрицы DOE минимального размера и, таким образом, исходное качество подгонки низкое, она постепенно улучшалась за счет добавления большего количества выборок из моделирования CFD в базу данных для обучения.В целях оптимизации, если подход ML + GA может улавливать правильный тренд, направление оптимизации будет правильным. Даже иногда подход ML + GA предлагает некоторые плохие конструкции, это не разрушит весь процесс оптимизации, поскольку конструкции будут подтверждены в симуляциях CFD. Только результаты CFD будут серьезно рассмотрены для дальнейшего анализа и разработки оборудования, а не результаты, предсказанные моделью машинного обучения. Таким образом, качественного прогнозирования результатов CFD с помощью модели машинного обучения будет достаточно для настоящих приложений оптимизации.
РИСУНОК 10 . Сравнение прогнозируемых и фактических значений CA50 с использованием среднего гауссовского SVM со всеми 184 образцами.
Следует отметить, что нынешняя «оптимальная» конструкция является оптимальной только с точки зрения CA50 на основе момента зажигания -15 ° ATDC и без геометрии свечи зажигания. С учетом других целей и / или ограничений оптимальный дизайн будет другим. Успешная оптимизация CA50 обеспечит прямое руководство к оптимальной экономии топлива.
Анализ горения оптимальной конструкции
Чтобы лучше понять, как параметры конструкции влияют на работу двигателя, сравниваются выбранные три конструкции. На рисунке 11 показаны кривые давления и скорости тепловыделения (HRR) основной камеры и предкамеры. Конструкция SVM67 имеет самое раннее повышение давления, что указывает на более быстрое сгорание. Конструкция RegTree64 имеет самое низкое пиковое давление и слабый HRR, что указывает на слабое сгорание как в форкамеру, так и в основной камере.Однако прямо перед моментом зажигания (CA = -15 ° ATDC) конструкция RegTree64 имеет более высокое давление в цилиндре, чем две другие конструкции. Это связано с меньшим объемом предкамеры, чем в двух других конструкциях (см. Рис. 12), и, следовательно, с более высокой степенью сжатия. При том же давлении и температуре наддува конструкция RegTree64 с более высокой степенью сжатия имеет более высокое давление и температуру в цилиндре, чем две другие конструкции, что является более благоприятным термодинамическим условием для более быстрого сгорания.Однако CA50, график давления и HRR показывают, что у RegTree64 самое медленное сгорание. По-видимому, процесс зажигания конструкции RegTree64 не выиграл от более высоких термодинамических условий во время зажигания. Конструкция DOE56 также имеет несколько более высокое давление и температуру, чем конструкция SVM67 во время зажигания, в то время как ее процесс воспламенения происходит медленнее, чем конструкция SVM67. Это означает, что для нынешних процессов горения термодинамика не является самым доминирующим фактором. Средние массовые доли CO2 в форкамеру в момент зажигания равны 0.0246 (SVM67), 0,0230 (DOE56) и 0,0207 (RegTree64) соответственно. Конструкция SVM67 имеет самую высокую концентрацию CO2 в форкамере, что также не способствует более быстрому сгоранию, чем в двух других конструкциях. Таким образом, термохимическое состояние всей форкамеры также не является определяющим фактором.
РИСУНОК 11 . Профили следа давления основной камеры (слева) и форкамеры (справа) .
РИСУНОК 12 .Сравнение распределений z-скорости конструкций SVM67 (слева) , DOE56 (посередине) и RegTree64 (справа) при −15 ° ATDC.
На рисунке 13 показано сравнение распределений CO2 для конструкций SVM67 (слева), DOE56 (в центре) и RegTree64 (справа) при -15 ° ATDC. Контурные графики представляют собой массовую долю CO2 на срезе размером x , проходящем через центр сопла ( x = 0). Символ «+» указывает на место искры. Массовая доля CO2 в месте искры в этот момент равна 0.02334 (SVM67), 0,0216 (DOE56) и 0,02734 (RegTree64). Высокая концентрация CO2 в месте искры в конструкции RegTree64 является одной из причин самого медленного процесса воспламенения. По сравнению с конструкцией SVM67, концентрация CO2 конструкции DOE56 в месте искры ниже, что благоприятно для воспламенения и распространения пламени. Однако в целом процесс воспламенения у него медленнее, чем у конструкции SVM67. Таким образом, все термохимические условия конструкции СВМ67 не способствуют более быстрому процессу воспламенения.Это должно быть связано с другим физическим механизмом, выходящим за рамки термохимических условий.
РИСУНОК 13 . Сравнение распределений CO2 для конструкций SVM67 (слева) , DOE56 (в центре) и RegTree64 (справа) при -15 ° ATDC.
На рис. 12 показано распределение скоростей z внутри предкамеры в момент зажигания для выбранных трех конструкций. Контурные графики нанесены на срез размером x , проходящий через центр сопла ( x = 0).Когда поршень движется в верхнюю мертвую точку (ВМТ), газ из основной камеры попадает в форкамеру через сопла. Следовательно, внутри форкамеры образуются струйные потоки. Благодаря большему объему форкамеры, струя в конструкции SVM67 длится дольше, чем в двух других конструкциях. Поле течения внутри форкамеры более сложное в конструкции SVM67, чем у двух других конструкций. В конструкции SVM67 образуется множество вихрей, создающих более сильную турбулентность, которая усиливает распространение пламени.Скорости z в месте нахождения искры составляют 14,5, 52,9 и 23,0 м / с соответственно. Относительно небольшая скорость восходящего потока конструкции SVM67 способствует распространению пламени вниз. Рядом с местом искры есть область с сильным нисходящим потоком, который переносит ядро пламени вниз. Конструкция DOE56 имеет очень сильный восходящий поток около места искры, который направит ядро пламени к потолку форкамеры, что вызовет большее гашение пламени. На рис. 14 показаны изолинии турбулентной кинетической энергии (TKE) внутри предкамеры в момент зажигания для выбранных трех конструкций.Конструкция SVM67 имеет явно более высокое ТКЕ, чем две другие конструкции. И его распределение в пространстве более однородное. Более высокое значение TKE увеличивает скорость турбулентного пламени и ускоряет распространение пламени.
РИСУНОК 14 . Сравнение распределений TKE конструкций SVM67 (слева) , DOE56 (посередине) и RegTree64 (справа) при -15 ° ATDC.
На рисунках 15 и 16 показаны изолинии температуры конструкций SVM67 (слева), DOE56 (в центре) и RegTree64 (справа) при −12.5 ° и -10 ° ATDC соответственно. В верхнем ряду показаны результаты для среза x , проходящего через центр сопла ( x = 0), а в нижнем ряду показаны результаты для среза y ( y = 0). . Очевидно, что в конструкции SVM67 пламя распространяется намного быстрее, чем в двух других конструкциях. Направления распространения пламени слабо коррелируют с областями с высоким ТКЕ. Кроме того, относительно сильный нисходящий поток около места искры перемещает все горящее облако вниз, т.е.е., дальше от верха форкамеры и меньше закалки стенок. Поскольку струйный поток из сопла, идущий вверх, все еще существует, пламя не может распространяться в центральную область форкамеры. Вместо этого он распространяется по боковой стене. Для конструкции DOE56 ядро пламени распространяется к верхней части форкамеры. Это происходит из-за относительно низкого TKE и сильного восходящего потока, как показано на рисунке 12. Можно видеть, что ядро пламени было частично погашено стенкой.Его ядро пламени распространяется в области боковых стенок, которые имеют относительно более сильный нисходящий поток. Ядро пламени конструкции RegTree64 имеет разумный размер на ранней стадии (см. Правый график на рисунке 15), почти сравнимый с размером ядра конструкции DOE56. Частично это связано с относительно слабым восходящим потоком. Однако, по сравнению с двумя другими проектами, ядро пламени дизайна RegTree64 не имеет большого распространения. Его форма не сильно искажается потоком, как две другие конструкции.Это должно быть связано с гораздо более низкой величиной скорости и TKE, чем в двух других конструкциях. В конце концов, конструкция RegTree64 имеет очень медленный процесс воспламенения внутри предкамеры и, следовательно, очень медленное сгорание внутри основной камеры. Таким образом, можно сделать вывод, что интенсивность турбулентности и структура потока внутри форкамеры имеют решающее значение для процесса воспламенения. Для улучшения характеристик двигателя предпочтительны сильная турбулентность и большая скорость нисходящего потока.
РИСУНОК 15 .Сравнение температурных распределений конструкций SVM67 (слева) , DOE56 (посередине) и RegTree64 (справа) при −12,5 ° ATDC. Верхний ряд: x-срез. Нижний ряд: y-срез.
РИСУНОК 16 . Сравнение температурных распределений конструкций SVM67 (слева) , DOE56 (посередине) и RegTree64 (справа) при −10 ° ATDC. Верхний ряд: x-срез. Нижний ряд: y-срез.
Регрессионный анализ проектных параметров
Регрессионный анализ проводится для выявления того, как проектные параметры влияют на цель, которой является СА50 в настоящем исследовании.На рисунках 17 и 18 показаны корреляции между CA50 и всеми проектными параметрами. Более высокий коэффициент детерминации ( R 2 ) указывает на более сильные корреляции. Таким образом, можно сделать вывод, что расчетные параметры «cr», «er» и «ez» являются наиболее очевидными воздействиями на CA50. Параметры «cr» (наибольший радиус, равный «cr», умноженному на радиус в точке E) и «er» (радиус в верхней части предкамеры) определяют радиусы верхней и нижней частей предкамеры, соответственно. .Параметр «ez» определяет высоту форкамеры. Их отрицательные наклоны указывают на то, что больший радиус и / или высота снижает CA50, т.е. более быстрое сгорание. Это согласуется с предыдущим анализом горения, согласно которому больший объем способствует процессу воспламенения. Форкамера имеет примерно цилиндрическую форму. Его объем в основном зависит от радиуса и высоты. Это объясняет, почему эти три параметра имеют относительно более последовательное влияние на CA50. Поскольку объем пропорционален квадрату радиуса, наклон «cr» и «er» больше, чем параметр «ez».Но поскольку радиус зависит как от «cr», так и «er», результирующие коэффициенты определения этих двух параметров ниже, чем «ez». Расчетный параметр «θ» определяет наклон между верхней и нижней частью форкамеры. Чем больше тета, тем круче наклон. Корреляция показывает, что крутой уклон предпочтительнее для лучшей производительности двигателя. Его относительный коэффициент детерминации подразумевает сильное взаимодействие с другими параметрами конструкции. Параметры, определяющие высоту предкамеры, «cz», «dz», «hz», «gz» и «bz», демонстрируют слабую корреляцию с CA50 из-за их низких коэффициентов детерминации.
РИСУНОК 17 . Корреляции между CA50 и проектными параметрами (bz, cr, cz, dz, er и ez).
РИСУНОК 18 . Корреляция между CA50 и проектными параметрами (gz, hz, theta, xbc и xde).
Параметры «xbc» и «xde» определяют изгибы вокруг углов. Их влияние относительно незначительно. Настоящий результат согласуется с наблюдением Shah et al. (2015), что больший объем форкамеры способствует процессу зажигания форкамеры.При сгорании двигателя обычно термодинамика является наиболее доминирующим фактором. При том, что все остальное остается неизменным, больший объем предкамеры приводит к более низкой степени сжатия, что обычно снижает эффективность двигателя и замедляет сгорание из-за более низкой температуры и давления в цилиндре во время зажигания. Настоящая заявка показывает, что существует конкуренция во влиянии термодинамики и гидродинамики на сгорание в предкамерном двигателе. При определенных условиях гидродинамика может обогнать термодинамику и стать наиболее доминирующим фактором сгорания в предкамерном двигателе.Термодинамика может стать доминирующим фактором, если объем предварительной камеры превышает определенный предел. Когда объем предварительной камеры слишком велик, это приведет к низкому CR, чрезмерным потерям тепла в предварительной камере (Hua et al., 2021) и слабой горячей струе, выходящей в основную камеру. В этом случае CR следует зафиксировать во время оптимизации геометрии форкамеры, чтобы изолировать его влияние.
Чтобы избежать потенциальной систематической ошибки при линейном регрессионном анализе, используется метод повторной выборки с начальной загрузкой.Всего 184 точки данных подвергаются повторной выборке случайным образом 1000 раз, и к каждой выборке применяется линейный регрессионный анализ. На рисунке 19 показан график разброса наклона и коэффициента детерминации (RSQ) всех проектных параметров, рассчитанных на основе 1000-кратного бутстрэппинга. Результаты показывают ту же тенденцию, что и на рисунках 17 и 18, с точки зрения наклона и коэффициента детерминации. Параметры «cr», «er» и «ez» имеют наибольший коэффициент детерминации. Это означает, что предыдущий линейный регрессионный анализ достаточен для сравнения относительной важности различных проектных параметров для работы двигателя.Результаты аппроксимации модели линейной регрессии представлены в дополнительном материале.
РИСУНОК 19 . Наклон и коэффициент детерминации (RSQ) всех проектных параметров при 1000-кратном бутстреппинге.
Заключение
В этой работе разработан эффективный метод оптимизации, основанный на стратегии байесовского обновления для оптимизации двигателей внутреннего сгорания на основе 3D CFD. Этот метод объединяет DOE, генетический алгоритм и метод машинного обучения.Метод применяется для оптимизации конструкции форкамеры двигателя с искровым зажиганием. Геометрия форкамеры параметризуется 11 конструктивными параметрами. CA50 рассматривается как основная цель оптимизации. Сгенерирована матрица DOE этих проектных параметров. Конструкции в матрице DOE моделируются с помощью 3D CFD горения, который создает базу данных, которая используется для обучения моделей машинного обучения. Оценка различных моделей машинного обучения проводится в два этапа. Первый этап основан на RMSE моделей машинного обучения.Второй этап основан на итерациях с генетическим алгоритмом и 3D CFD горения. Оптимальная конструкция сравнивается с усредненной конструкцией, чтобы понять влияние конструкции форкамеры на характеристики двигателя. Из данной статьи можно сделать следующие выводы:
1) Предлагаемый метод оптимизации байесовского обновления на основе трехмерного CFD-моделирования горения, параметризации, DOE, GA и машинного обучения является эффективным и применимым для разработки двигателей.
2) Средняя гауссовская модель SVM оказалась лучшей моделью машинного обучения в Matlab для данного приложения.
3) Анализ горения выбранных конструкций показал, что интенсивность турбулентности и структура потока внутри предкамеры имеют решающее значение для процесса искрового зажигания. Больший объем форкамеры приводит к более сильному потоку струи в форкамеру и, как следствие, более сильной турбулентности и нисходящему потоку, который ускоряет процессы воспламенения и распространения пламени.
4) Был проведен простой линейный регрессионный анализ. Результаты показывают, что радиус и высота предкамеры оказывают очевидное влияние на CA50.Это три основных конструктивных параметра, определяющих объем предкамеры. Большой радиус верхней части форкамеры способствует процессу зажигания. Высота форкамеры меньше влияет на работу двигателя. Крутой наклон между верхней и нижней частью форкамеры благоприятен для процесса зажигания.
4) Большой объем предкамеры приводит к более низкой степени сжатия, более низкому давлению и температуре во время зажигания и более высокой остаточной концентрации в предкамере, что не способствует более быстрому воспламенению / сгоранию.Таким образом, термохимические условия вступают в противоречие с условиями гидродинамики. Выбор правильной конструкции – это поиск золотого пятна, которое ставит под угрозу эти два различных механизма.
В будущем будут приниматься во внимание другие параметры конструкции, включая количество отверстий сопла, размер отверстия сопла, направление отверстия сопла, ориентацию отверстия сопла, синхронизацию зажигания и корпус поршня. Следует изучить более широкий диапазон проектных параметров. Геометрия свечи зажигания должна быть включена в модель CFD.Дополнительные цели (например, CA10, TKE и фракция остаточного газа в форкамере, выбросы) и ограничения (например, пиковое давление, скорость повышения пикового давления) могут быть приняты во внимание с использованием многоцелевых методов оптимизации.
Заявление о доступности данных
Необработанные данные, подтверждающие выводы этой статьи, будут предоставлены авторами без излишних оговорок.
Вклад авторов
HG и PZ внесли равный вклад в данную статью.
Конфликт интересов
Авторы заявляют, что исследование проводилось в отсутствие каких-либо коммерческих или финансовых отношений, которые могут быть истолкованы как потенциальный конфликт интересов.
Благодарности
Авторы выражают признательность компании Convergent Science Inc. за поддержку этого исследования, предоставляя бесплатную академическую лицензию CONVERGE. Авторы выражают признательность Центру высокопроизводительных вычислений (HPCC) Техасского технологического университета в Лаббоке за предоставление ресурсов высокопроизводительных вычислений, которые способствовали результатам исследований, представленных в этой статье.Авторы благодарят рецензентов за ценные комментарии.
Дополнительные материалы
Дополнительные материалы к этой статье можно найти в Интернете по адресу: https://www.frontiersin.org/articles/10.3389/fmech.2020.599752/full#supplementary-material.
Ссылки
Ахтар, М.С., Сан, С., Ма, X., Шен, Ю., Шуай, С.Дж., и Ван, З. (2017). Влияние геометрии сопла форкамеры на воспламенение и распространение пламени свечи зажигания, работающей на природном газе. Технический документ SAE 2017-01-2338.doi: 10.4271 / 2017-01-2338
CrossRef Полный текст | Google Scholar
Альварес, К. Э. К., Коуту, Г. Э., Розо, В. Р., Тириет, А. Б., и Валле, Р. М. (2018). Обзор форкамерных систем зажигания как технологии обедненного сгорания для двигателей SI. Заявл. Therm. Англ. 128, 107–120. doi: 10.1016 / j.applthermaleng.2017.08.118
CrossRef Полный текст | Google Scholar
Attard, W. P., Fraser, N., Parsons, P., and Toulson, E. (2010). Система сгорания форкамеры с турбулентным реактивным зажиганием для значительного повышения экономии топлива в трансмиссии современных транспортных средств. SAE Int. J. Eng. 3, 20–37. doi: 10.4271 / 2010-01-1457
CrossRef Полный текст | Google Scholar
Attard, W. P., and Parsons, P. (2010). Разработка ядра пламени для искровой системы сгорания с форкамерой, способной работать с высокой нагрузкой, с высоким КПД и почти нулевыми выбросами NOx. SAE Int. J. Eng. 3, 408–427. doi: 10.4271 / 2010-01-2260
CrossRef Полный текст | Google Scholar
Badra, J., khaled, F., Sim, J., Pei, Y., Viollet, Y., Pal, P., и другие. (2020). Оптимизация системы сгорания легкового двигателя GCI с использованием CFD и машинного обучения. Технический документ SAE 2020-01-1313. doi: 10.4271 / 2020-01-1313
CrossRef Полный текст | Google Scholar
Бенекос, С., Фрузакис, К. Э., Яннакопулос, Г. К., Болла, М., Райт, Ю. М., и Булучос, К. (2020). Предкамерное зажигание: предварительное двухмерное исследование DNS эффектов начальной температуры и основного состава камеры. Сжигание. Пламя 215, 10–27. DOI: 10.1016 / j.combustflame.2020.01.014
CrossRef Полный текст | Google Scholar
Бисвас, С., и Цяо, Л. (2018). Воспламенение сверхобедной предварительно смешанной смеси h3 / воздуха с использованием нескольких горячих турбулентных струй, образующихся при сгорании в предкамерной камере. Заявл. Therm. Англ. 132, 102–114. doi: 10.1016 / j.applthermaleng.2017.11.073
CrossRef Полный текст | Google Scholar
Бисвас, С., и Цяо, Л. (2016). Форкамерное зажигание горячей струей ультра-бедных смесей h3 / воздух: влияние сверхзвуковых струй и нестабильность горения. SAE Int. J. Eng. 9, 1584–1592. doi: 10.4271 / 2016-01-0795
CrossRef Полный текст | Google Scholar
Болла, М., Шапиро, Э., Тини, Н., Киртатос, П., Котзагианни, М., и Булучос, К. (2019). Численное моделирование предкамерного горения в оптически доступной RCEM. Технический документ SAE 2019-01-0224. doi: 10.4271 / 2019-01-0224
CrossRef Полный текст | Google Scholar
Брейман, Л., Фридман, Дж., Стоун, К. Дж., И Олшен, Р. А. (1984). Деревья классификации и регрессии .Бока-Ратон: CRC Press.
Google Scholar
Дамс, Р. Н., Чен, Дж. Х., Нгуен, Т., и Рит, М. (2019). «Разработка модели фундаментальных процессов сгорания», в Ежегодном собрании по оценке заслуг Министерства энергетики США.
Google Scholar
Энрайт, М. П., и Франгополь, Д. М. (1999). Прогнозирование состояния разрушения бетонных мостов с использованием байесовского обновления. J. Struct. Англ. 125, 1118–1125.
CrossRef Полный текст | Google Scholar
Фриман, К., Эндрес, Дж., Робинсон, Дж., Парамесваран, С., Ге, Х. и Чжао, П. (2020). Разработка под руководством CFD системы форкамерного зажигания для двигателей внутреннего сгорания. Внутр. J. Powertrains 11, 23–27. doi: 10.1515 / 9783486736366-027
CrossRef Полный текст | Google Scholar
Ge, H. W., Lee, C. W., Shi, Y., Reitz, R. D., and Willems, W. (2011). Объединение законов масштабирования и вычислительной оптимизации для разработки рекомендаций по уменьшению размеров дизельного двигателя. Технический документ SAE 2011-01-0836.doi: 10.4271 / 2011-01-0836
CrossRef Полный текст | Google Scholar
Ge, H. W., Shi, Y., Reitz, R. D., Wickman, D., and Willems, W. (2010). Разработка двигателя с использованием многомерного CFD и компьютерной оптимизации. Технический документ SAE 2010-01-0360. doi: 10.4271 / 2010-01-0360
CrossRef Полный текст | Google Scholar
Ge, H. W., Shi, Y., Reitz, R. D., Wickman, D. D., and Willems, W. (2009). Оптимизация дизельного двигателя HSDI для легковых автомобилей с использованием многоцелевого генетического алгоритма и многомерного моделирования. SAE Int. J. Eng. 2, 691–713. doi: 10.4271 / 2009-01-0715
CrossRef Полный текст | Google Scholar
Ge, H. W., Shi, Y., Reitz, R. D., and Willems, W. (2010). Оптимизация дизельного двигателя HSDI при малой нагрузке с использованием многоцелевого генетического алгоритма и детальной химии. Proc. Inst. Мех. Англ. Часть D J. Automob. Англ. 224, 547–563. doi: 10.1243 / 09544070JAUTO1351
CrossRef Полный текст | Google Scholar
Gentz, G., Thelen, B., Gholamisheeri, M., Litke, P., Brown, A., Hoke, J., et al. (2015). Исследование влияния диаметра отверстия на систему зажигания турбулентной струи посредством визуализации горения и определения характеристик в машине быстрого сжатия. Заявл. Therm. Англ. 81, 399–411. doi: 10.1016 / j.applthermaleng.2015.02.026
CrossRef Полный текст | Google Scholar
Генц, Г. Р., Тулсон, Э. (2016). Экспериментальные исследования турбулентного струйного воспламенителя на жидком пропане в машине быстрого сжатия. SAE Int. J. Eng. 9, 777–785. doi: 10.4271 / 2016-01-0708
CrossRef Полный текст | Google Scholar
Gholamisheeri, M., Wichman, I.S, and Toulson, E. (2017). Исследование поля турбулентного струйного течения в системе турбулентного струйного зажигания (TJI), работающей на метане. Сжигание. Пламя , 183, 194–206. doi: 10.1016 / j.combustflame.2017.05.008
CrossRef Полный текст | Google Scholar
Хан, З., и Райтц, Р. Д. (1995). Моделирование турбулентности двигателей внутреннего сгорания с использованием моделей ГСЧ κ – ε. Сжигание. Sci. Technol. 106, 267–295. doi: 10.1080 / 00102209508
2CrossRef Полный текст | Google Scholar
Hlaing, P., Echeverri Marquez, M., Singh, E., Almatrafi, F., Cenker, E., Ben Houidi, M., et al. (2020). Влияние обогащения в форкамере на концепцию искрового воспламенения в предкамеру обедненной смеси с узкой горловиной. Технический документ SAE 2020-01-0825. doi: 10.4271 / 2020-01-0825
CrossRef Полный текст | Google Scholar
Хуа, Дж., Чжоу, Л., Гао, К., Фэн, З., и Вэй, Х. (2021). Влияние конструкции форкамеры и параметров впрыска на характеристики двигателя и характеристики сгорания в двигателе с турбулентным реактивным зажиганием (TJI). Топливо 283, 119236. doi: 10.1016 / j.fuel.2020.119236
CrossRef Полный текст | Google Scholar
Карими А., Раджагопал М. и Налим Р. (2014). Возгорание от горячей струи в камере сгорания постоянного объема. J. Eng. Газовые турбины Power , 136, 041506. doi: 10.1115 / 1.4025659
CrossRef Полный текст | Google Scholar
Kim, J., Скарчелли Р., Сом С., Шах А., Бирудуганти М. С. и Лонгман Д. Э. (2019). «Оценка моделей турбулентного горения для моделирования предкамерного воспламенения в двигателе, работающем на природном газе», на осенней технической конференции ASME ICED, стр. V001T06A12. doi: 10.1115 / ICEF2019-7278
CrossRef Полный текст | Google Scholar
Kodavasal, J., Abdul Moiz, A., Ameen, M., and Som, S. (2018). Использование машинного обучения для анализа факторов, определяющих межцикловые изменения в бензиновом двигателе с искровым зажиганием. J. Energy Resour. Technol. 140, 13–19. doi: 10.1115 / 1.4040062
CrossRef Полный текст | Google Scholar
Лаундер Б. Э. и Сполдинг Д. Б. (1974). Численный расчет турбулентных течений. Comput. Методы Прил. Мех. Англ. 3, 269–289.
CrossRef Полный текст | Google Scholar
Ли, К. У., Ге, Х. У., Райтц, Р. Д., Курц, Э. и Виллемс, В. (2012). Вычислительная оптимизация уменьшенного дизельного двигателя, работающего в обычном режиме диффузионного горения, с использованием многоцелевого генетического алгоритма. Сжигание. Sci. Technol. 184, 78–96. doi: 10.1080 / 00102202.2011.620051
CrossRef Полный текст | Google Scholar
Ли, Ф., Чжао, З., Ван, Б., и Ван, З. (2020). Экспериментальное исследование форкамерного струйного зажигания в машине быстрого сжатия и одноцилиндровом двигателе, работающем на природном газе. Внутр. J. Engine Res. 146, 47–53. doi: 10.1177 / 1468087419883783
CrossRef Полный текст | Google Scholar
Лю, И-Д., Цзя, М., Се, М-З., И Панг, Б. (2012). Усовершенствование каркасной кинетической модели окисления первичного эталонного топлива с использованием методологии полусвязки. Energy Fuels 26, 7069–7083. doi: 10.1021 / ef301242b
CrossRef Полный текст | Google Scholar
Лу, Т., и Ло, К. К. (2008). Критерий, основанный на вычислительном сингулярном возмущении для идентификации квазистационарных видов: редуцированный механизм окисления метана с химическим составом NO. Сжигание. Пламя 154, 761–774. doi: 10.1016 / j.combustflame.2008.04.025
CrossRef Полный текст | Google Scholar
Mastorakos, E., Allison, P., Джусти, А., Де Оливейра, П., Бенекос, С., Райт, Ю. и др. (2017). Фундаментальные аспекты струйного зажигания двигателей, работающих на природном газе. SAE Int. J. Eng. 10, 2429–2438. doi: 10.4271 / 2017-24-0097
CrossRef Полный текст | Google Scholar
Moiz, A. A., Pal, P., Probst, D., Pei, Y., Zhang, Y., Som, S., et al. (2018). Подход на основе генетического алгоритма машинного обучения (ML-GA) для быстрой оптимизации с использованием высокопроизводительных вычислений. SAE Int. J. Comm. Veh. 11, 291–306.doi: 10.4271 / 2018-01-0190
CrossRef Полный текст | Google Scholar
Muller, M., Freeman, C., Zhao, P., and Ge, H. (2018). «Численное моделирование механизма зажигания в основной камере системы турбулентного струйного зажигания», на осенней технической конференции ASME ICED. doi: 10.1115 / icef2018-9587
CrossRef Полный текст | Google Scholar
Probst, D. M., Raju, M., Senecal, P. K., Kodavasal, J., Pal, P., Som, S., et al. (2019). Оценка стратегий оптимизации для моделирования двигателей с использованием эмуляторов машинного обучения. J. Eng. Газовые турбины Энергетика , 141, 124–129. doi: 10.1115 / 1.4043964
CrossRef Полный текст | Google Scholar
Richards, K., Senecal, P., and Pomraning, E. (2017). CONVERGE 2.4 механика . Мэдисон, Висконсин: Convergent Science, Inc.
Google Scholar
Ронкетти, Э., Филд, К., и Бланшар, В. (1997). Выбор надежной линейной модели путем перекрестной проверки. J. Am. Стат. Доц. 92, 1017–1023. doi: 10.2307 / 2965566
CrossRef Полный текст | Google Scholar
Шах, А., Tunestal, P., and Johansson, B. (2015). Влияние объема форкамеры и диаметра сопла на зажигание форкамеры в тяжелых двигателях, работающих на природном газе. Технический документ SAE 2015-01-0867. doi: 10.4271 / 2015-01-0867
CrossRef Полный текст | Google Scholar
Шах, Н., Чжао, П., ДелВесково, Д., и Ге, Х. (2019). Прогнозирование свойств самовоспламенения и пламени для многокомпонентных топлив с использованием методов машинного обучения. Технический документ SAE 2019-01-1049. doi: 10.4271 / 2019-01-1049
CrossRef Полный текст | Google Scholar
Shi, Y., Ге, Х. В., и Райтц, Р. Д. (2011). Вычислительная оптимизация двигателей внутреннего сгорания . Лондон: Спрингер. DOI: 10.1007 / 978-0-85729-619-1
CrossRef Полный текст
Тан, К., Сампат, Р., Маркес, М. Е., Хлаинг, П., Шарма, П., Бен, М., и др. al. (2008). Одновременное негативное изображение хемилюминесценции PLIF и OH * газообмена и струи пламени из узкой форкамеры. Технический документ SAE 2020-01-2080, (2020). doi: 10.4271 / 2020-01-2080
CrossRef Полный текст | Google Scholar
Тинг, К.М., и Виттен, И. Х. (2020). Укладка в мешки и крестовины моделей . Новая Зеландия: Гамильтон Пресс.
Google Scholar
Toulson, E., Huisjen, A., Chen, X., Squibb, C., Zhu, G., Schock, H., et al. (2012). Визуализация искрового зажигания пропана и природного газа и турбулентного струйного зажигания. SAE Int. J. Eng. 5, 1821–1835. doi: 10.4271 / 2012-32-0002
CrossRef Полный текст | Google Scholar
Тулсон, Э., Шок, Х. Дж. И Аттард, В.П. (2010). Обзор систем сгорания с форкамерным реактивным зажиганием. Технический документ SAE 2010-01-2263. doi: 10.4271 / 2010-01-2263
CrossRef Полный текст | Google Scholar
Уильямс, К.

Добавить комментарий