Пк 33 погрузчик: Орел-Погрузчик ПК-33-01-00 : технические характеристики, описание, обзор
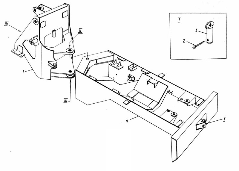
Погрузчик ПК-33-01-00 / ПК-33-01-01 | ООО “ОрелДорТех”
Номинальная грузоподъемность | 3,5 т | |
Вместимость ковша | 1,80 м 3 | |
Максимальная высота разгрузки ковша (при угле разгрузки 45 град) | 2 820 / 2 850 мм | |
Вылет режущей кромки ковша (на макс. высоте разгрузки, при угле разгрузки 45 град) | 850 / 1 020 мм | |
Максимальное вырывное усилие | 10 500 / 10 000 кгс | |
Статическая опрокидывающая нагрузка | 6 610 кгс | |
Длина (ПК-33-01-00 / ПК-33-01-01) | 6 960 / 7 165 мм | |
Ширина | 2 640 мм | |
Высота (по кабине) | 3 240 мм | |
Эксплуатационная масса | 10 000 / 10 380 кг | |
Колесная база | 2 740 мм | |
Колея | 2 000 мм | |
Радиус поворота | 5 800 мм | |
Емкость топливного бака | 150 л | |
Тип рамы | шарнирно-сочлененная | |
Максимальная скорость передвижения: | вперед 32 км/ч | |
назад 18,1 км/ч | ||
Количество передач: | вперед 4 | |
назад 2 | ||
Рулевое управление | гидравлическое | |
Двигатель | Д-245 или Д-260. | |
Мощность двигателя | Д-245: 73,6 кВт (100 л.с.) | |
Д-260.2: 95,7 кВт (130 л.с.) | ||
Д-245: 22,71 л/моточас | ||
Д-260.2: 24,5 л/моточас | ||
Шины | 21,3 R24 | |
Дополнительное оборудование (только для ПК-33-01-01):
Кабина унифицирована с каркасом безопасности FOPS-ROPS, крюк монтажный, вилы грузовые, отвал для снега, ковш двухчелюстной, вилы с захватом, захват челюстной, вилы сельскохозяйственные.
Также кабина снабжена системой вентиляции и отопления, по дополнительному заказу может быть установлен кондиционер.
Фронтальный погрузчик ПК-33-01-00 (3,5т) – СТЗ
Производим навесное сменное оборудование для фронтальных колесных погрузчиков ← Назад Технические характеристики, описание Орел-Погрузчик ПК-33-01-00 :
Номинальная грузоподъемность: 3500 кг.
Вместимость ковша: 1,8 м3.
Максимальное вырывное усилие: 9 550 кгс.
Статическая опрокидывающая нагрузка: 6 610 кгс.
Эксплуатационная масса: 10 100 кг.
Максимальная высота разгрузки ковша (ПК-33-01-00 / ПК-33-01-ООА): 2 820 / 3 250 мм.
Вылет режущей кромки ковша: 850.
Длина: 7 070 мм.
Ширина: 2 500 мм.
Высота (по кабине): 3 320 мм.
Колесная база: 2 840 мм.
Колея: 1 930 мм.
Радиус поворота: 5,6 м.
Тип рамы: шарнирно-сочлененная.
Коробка передач: гидромеханическая У.35.615.
Максимальная скорость передвижения (вперед / назад): 33 / 18 км/ч.
Количество передач (вперед / назад): 4 / 2.
Рулевое управление (шарнирно-сочлененная рама): гидростатическое.
Двигатель: Д-260.2.
Мощность двигателя: 95 кВт.
Расход топлива: 21,2 л/моточас.
Емкость топливного бака: 150 л.
Мосты: ОДМ.73.001-4.
Шины: 21.3 R24.
Гидравлический цикл
Подъем стрелы: 5,8 c.
Разгрузка ковша: 1,3 c.
Опускание стрелы: 4,7 c.
Внимание! Наша компания не продает колесные погрузчики. Мы производим навесное оборудование для них.
Мы технологически освоили Фронтальный погрузчик ПК-33-01-00 и можем предложить к нему такое навесное оборудование, как ковши, вилы, отвалы, трубо- и бревнозахваты, люльки-подъемники, стрелы и адаптеры.
Уточнить любые вопросы и сделать заказ Вы можете по телефону: +7 (499) 703-22-92
Ковши на Фронтальный погрузчик ПК-33-01-00
На Фронтальный погрузчик ПК-33-01-00 можно приобрести и установить следующие виды ковшей производства нашей компании:
| Фото | Тип/модель ковша | Цена | Технические характеристики | Подробнее |
Прочие варианты ковшей на Фронтальный погрузчик ПК-33-01-00
Отвалы на Фронтальный погрузчик ПК-33-01-00
Для уборки снега и эффективной работы с различными сыупчими материалами на Фронтальный погрузчик ПК-33-01-00 можно установить различные отвалы нашего производства:
| Фото | Тип/модель отвала | Цена | Технические характеристики | Подробнее |
Вилы на Фронтальный погрузчик ПК-33-01-00
| Фото | Тип/модель вил | Цена | Подробнее |
Бревнозахваты на Фронтальный погрузчик ПК-33-01-00
| Фото | Модель/тип бревнозахвата | Цена | Технические характеристики | Подробнее |
Трубозахват на Фронтальный погрузчик ПК-33-01-00
| Фото | Модель/тип захвата для труб | Цена | Технические характеристики | Подробнее |
Стрелы на Фронтальный погрузчик ПК-33-01-00
| Фото | Тип/модель стрелы | Цена | Технические характеристики | Подробнее |
Люлька на Фронтальный погрузчик ПК-33-01-00 для подъема людей на высоту
| Фото | Тип/модель люльки | Цена | Технические характеристики | Подробнее |
Коммунальная уборочная щетка на Фронтальный погрузчик ПК-33-01-00
Все навесное оборудование на Фронтальный погрузчик ПК-33-01-00, перечисленное выше, наша компания производит полностью самостоятельно и абсолютно автономно.
И лишь только подметальную щетку HOLMS мы не производим сами. Мы продаем ее, являясь официальным дилером ее производителя.
| Фото | Наименование и модель щетки | Цена | Краткое описание щетки | Подробнее |
Все виды навесного оборудования к этому 3,5-тонному фронтальному погрузчику, а также ко многим другим погрузчикам Вы можете найти на нашем сайте в разделе навесное оборудование для фронтальных погрузчиков.
Уточнить любые вопросы и сделать заказ Вы можете просто позвонив по телефону нашей компании:
+7 (499) 703-22-92
Неудобно или просто не хотите звонить?
отправьте нам сообщение
У Ваших друзей или коллег есть Фронтальный погрузчик ПК-33-01-00?
Возможно, они как раз ищут надежное качественное и недорогое навесное оборудование для него.
Поделитесь с ними ссылкой на эту страницу нашего сайта – они будут Вам благодарны!
← Назад
НБО-15П отвал для погрузчика ПК-33 – Альфа-Техник
Описание
Отвал для снега с фиксированным поворотом в комплекте с переходной плитой предназначен для установки его на фронтальный погрузчик ПК 33-01-00 и использования для расчистки автомобильных дорог и площадей от снега.
| НБО-15П отвал для погрузчика ПК-33 | |
|---|---|
| Возможно изготовление по ТЗ заказчика | |
| ТЕХНИЧЕСКИЕ ХАРАКТЕРИСТИКИ | |
| Артикул | 2.3.7 |
| Тип отвала | Поворотный |
| Габариты, мм | |
| ширина, мм | 2800 |
| высота, мм | 930 |
| высота подъема над опорной поверхностью, мм, не менее | 600 |
| глубина (max) опускания ниже опорной поверхности, мм | 300 |
| Масса эксплуатационная, кг | 630 |
| Угол поворота, мм | +/- 25 |
| Присоединение | Переходная плита на фронтальный погрузчик ПК 33-01-00 |
| Кромка отвала | Стальная |
| Масса отвала, кг | 630 |
Отвал для снега поставляется с переходной плитой.
Установка на фронтальном погрузчике отвала для снега не влечет за собой конструктивных изменений погрузчика и не ухудшает его маневренности и транспортных свойств.
Отвал для снега состоит из: отвала, плиты переходной, проставки.
1. Отвал; 2. Плита переходная; 3 Проставка
Переходная плита предназначена для укрепления отвала для снега к стреле погрузчика, с помощью которой производится подъем и опускание отвала.
Плита имеет коробчатое сечение. Для прочности конструкции применяют ребра. На концах поперечины плиты имеются кронштейны для шарнирного присоединения к ним отвала. Кронштейны 10 служат для шарнирного соединения со стрелой и коромыслом погрузчика.
Рабочий орган – отвал сварной конструкции изготовлен из гнутого листа, ребер жесткости, короба. К нижней части гнутого листа крепятся сменные ножи, которые имеют две режущие кромки. При затуплении одной режущей кромки, можно использовать вторую режущую кромку путем поворота ножа.
Проставка 3 сварной конструкции крепится между отвалом 1 и плитой 2 пальцами 4 и предназначена для поворота отвала вокруг вертикальной оси в плане. Проставка при необходимости устанавливается между левым или правым кронштейнами отвала и соответствующим кронштейном. Соединение проставки с отвалом и рамой шарнирное посредством плиты.
Стоимость на сегодняшний день уточняйте у менеджера – Звоните +7(4862) 48-42-67
Отечественные фронтальные погрузчики – Основные средства
Больше всех в этом году порадовала Группа ГАЗ в лице ЗАО «Челябинские строительно-дорожные машины». Завод разработал погрузчики нового поколения. Разработал с нуля, снизив металлоемкость, изменив конструкцию, компоновку и компонентную базу. Вниманию общественности были представлены погрузчики В-140.1 и В-160М. Погрузчик В-140.1 при грузоподъемности (г/п) 4 т весит 13 т и легче своего предшественника В-140 на 1,5 т. У него иная конструкция рамы и в тех местах, где толстый металл не нужен, применен тонкий.
Вместимость ковша уменьшена до 2,3 м3. Изменен дизайн капота и оперения для удобного доступа в моторный отсек, установлена кабина более-менее современного дизайна. Погрузчик укомплектован узлами и агрегатами как отечественными, так и импортными, при этом дорогих европейских или японских изделий нет. Двигатель ЯМЗ-236 соединен с ГМП 4WG180, собранной в Китае по лицензии ZF. Вместо мостов Raba использованы мосты Feicheng Jincheng (в настоящее время это Taian Jiuzhou Jincheng Machinery Co., Ltd) и резина производства Shandong Linglong Rubber Co., Ltd. Погрузчик запущен в серийное производство в феврале текущего года.
Аналогичным образом построен погрузчик В-160М массой 19 т и г/п 6 т. Он легче предыдущей модели на 2,1 т, при этом инженерам удалось повысить наполняемость ковша до 3,5 м3, увеличить углы разгрузки и запрокидывания ковша, уменьшить массу стрелы. Погрузчик комплектуют двигателем ЯМЗ-238М2 мощностью 176 кВт, ГМП 4WG-180, мостами ZL-60. На выставке «СТТ-2010» погрузчик В-160М демонстрировали с кабиной класса «премиум».
«Премиум», разумеется, в своей ценовой категории. Производство новых моделей погрузчиков освоили благодаря техническому перевооружению завода.
Таким образом, у Группы ГАЗ сегодня 4 модели погрузчиков – В-140.1, В-160М, В-175 и В-190. Погрузчик В-175 представлен в 2008 г. Эта машина массой 24 т и г/п 7,5 т оснащена 4-кубовым ковшом, двигателем ЯМЗ-238БЕ2 мощностью 220 кВт, ГМП ZF 4WG-260. Самая тяжелая модель В-190 представлена еще раньше – в 2007 г. Целью разработки этой модели было создать конкурентоспособный тяжелый погрузчик с улучшенной кинематикой рабочего оборудования. Погрузчик массой 28 т и г/п 9 т укомплектован двигателем ЯМЗ-238Д-2 мощностью 243 кВт, ГМП ZF 4WG-260, ковшом вместимостью 5 м3.
«ЧТЗ-Уралтрак» набрал хороший темп в освоении совершенно нового для крупнейшего тракторного завода вида техники. Первые образцы фронтальных погрузчиков ПК-30 и ПК-40 предприятие представило в 2007 г., освоило их производство и начало серийный выпуск. На выставке «СТТ-2007» эти модели сразу привлекли внимание не только самим фактом своего появления, но и дизайном, выполненным во вполне современном духе: скошенный капот моторного отсека, панорамное остекление кабины.
ПК-30 укомплектовали двигателем ММЗ Д-245 мощностью 90 кВт, ГМП ZF 4WG-130, взаимозаменяемыми мостами ZF MT-L3065. Масса погрузчика – 10,7 т, грузоподъемность – 3 т, вместимость ковша – 1,6 куб.м. Погрузчик ПК-46 получил двигатель ЯМЗ-236М2-4 мощностью 132 кВт, ГМП ZF 4WG-160, взаимозаменяемые мосты ОДМ.73.001-6 белорусского производства либо мосты ZF – передний MT-L3085 и задний VN-L3075. Масса погрузчика – 14 т, г/п – 4,6 т, вместимость основного ковша – 2,4 м3.
В 2008 г. завод представил третью, самую тяжелую модель погрузчика – ПК-65. Масса его – 19 т, г/п – 6,5 т, вместимость основного ковша – 3,6 куб.м. Силовой агрегат – ЯМЗ-238М2-21 мощностью 176 кВт, гидромеханическая КП ZF 4WG-210, передний мост – ZF MT-L3105, задний – ZF MT-L3095.
В 2006 г. орловский завод «Погрузчик» вошел в холдинг с ЗАО «Дормаш» и получил название ЗАО «Орёл-Погрузчик». Заводы проводят совместные разработки и продвигают сходные модельные ряды, включающие модели ПК-27, ПК-33 и ПК-40.
Завод «Дормаш» комплектует свои погрузчики двигателями Cummins, ГМП и мостами Dana и ZF. На ПК-27 г/п 2,7 т и массой 8,5 т установлен двигатель мощностью 74 кВт, ГМП Dana с 4 передачами вперед и 3 назад, мосты Dana с бортовыми планетарными редукторами и главной передачей с автоматической блокировкой дифференциала. Двигатель соединен с ГМП через эластичную муфту и карданную передачу. Гидропривод построен на итальянской гидроаппаратуре. Вместимость основного ковша – 1,4 м3. Для погрузчика ПК-33 массой 10,2 т, грузоподъемностью 3,5 кг использовали двигатель мощностью 92 кВт, ГМП и мосты Dana. Вместимость основного ковша этой машины – 1,8 м3. «Старшая» модель ПК-40 массой 11,4 т и г/п 4 т оснащена двигателем мощностью 100 кВт, ГМП ZF с 4 скоростями вперед и 3 назад и мостами ZF. Вместимость основного ковша – 2,2 м3. По заказу стрелы всех трех моделей оснастят механизмом быстрой смены навесного оборудования. Также заказчику могут быть предложены комплектации с увеличенной высотой разгрузки, укороченной кабиной или уменьшенной высотой погрузчика.
«Орёл-Погрузчик» предлагает тот же модельный ряд, но в более простой комплектации. ПК-27 комплектуют двигателем Д-245 мощностью 74 кВт, ГМП У.35.615, мостами ОДМ.73.001-4. На ПК-33 ставят двигатель Д-260.2 мощностью 95 кВт или Д-242S2 мощностью 90 кВт, такую же гидромеханическую КП и мосты, как и на ПК-27. «Старшая» модель ПК-40 укомплектована двигателем Д-260.1 мощностью 109 кВт, ГМП У.35.615 и мостами ОДМ.73.001-1. Погрузчики можно использовать также с сельскохозяйственными и грузовыми вилами, бульдозерным и грейдерным отвалом, роторным снегоочистителем, вилами с захватом, челюстным захватом, двухчелюстным ковшом. Доступна комплектация с увеличенной высотой разгрузки.
Чебоксарский завод промышленных тракторов (ОАО «Промтрактор»), входящий в состав Концерна «Тракторные заводы», приступил к производству карьерного фронтального погрузчика ПК12.02 массой 48 т и г/п 12 т в начале 1990-х. В начале 2000-х гг. руководство концерна приняло стратегию диверсификации продуктового портфеля и формирования комплексов машин для нефтегазовой отрасли, горнодобывающей промышленности, для строительства и коммунального хозяйства.
Широкая гамма фронтальных погрузчиков для всех этих направлений совершенно необходима.
«Первая ласточка» массой 22 т и г/п 6 т – «Четра» ПК60 был представлен общественности в 2004 г. Для отечественного машиностроения того времени это была машина инновационная не только по оснащению, но и по дизайну. На погрузчике применен двигатель ЯМЗ-238НД4-1 мощностью 175 кВт, ремонтопригодный и нетребовательный к качеству ГСМ. Гидромеханическая трансмиссия включает блок силовой передачи, две главные передачи, совмещенные вместе с дифференциалами в переднем и заднем мостах и бортовые редукторы с маслопогружными рабочими тормозами. Блок силовой передачи производства Dana-Spicer (Бельгия) состоит из одноступенчатого гидротрансформатора, коробки передач, системы управления КП и стояночного тормоза. Вальная коробка передач с переключением под нагрузкой обеспечивает 4 передачи переднего и 4 передачи заднего хода. Передача крутящего момента от двигателя через эластичную муфту на гидротрансформатор и от КП на главные передачи производится карданными передачами.
Система управления КП позволяет переключать передачи в ручном и автоматическом режиме.
Погрузчик работает с основным отвалом вместимостью 3,3 м3. На базе ПК60 создан вилочный погрузчик ПК60В, предназначенный для погрузки леса.
В 2007 г. концерн представил следующую модель – «Четра» ПК40, выполненную в таком же дизайне. Погрузчик массой 14,5 т и г/п 4,3 т оснащен двигателем Cummins QSB6.7 мощностью 110 кВт, гидромеханической трансмиссией с 4 передачами вперед и 3 назад, обеспечивающей транспортную скорость до 41,8 км/ч. Погрузчик работает с ковшами вместимостью 2…2,4 м3.
В планах концерна было создание полного модельного ряда погрузчиков г/п 3, 4, 5, 6, 8, 10, 12, 20, 25 т, но, по-видимому, реализовать эти планы помешал кризис. Модернизированный карьерный погрузчик ПК12.02 теперь называется «Четра» ПК120 и весит 52,9 т. На него устанавливают двигатель ЯМЗ-850.10-01 мощностью 382 кВт или Cummins KTA-19-C250 мощностью 353 кВт и основные и скальные ковши вместимостью 5,5.
..6,7 м3.
Белорусское ОАО «Амкодор» выпускает широкую гамму погрузчиков, столь приглянувшихся коммунальным службам. Здесь сказывается как доступная цена, так и доступная ремонтная база – погрузчики построены преимущественно на агрегатной базе белорусского и российского производства. Предприятие поставляет машины 6 типоразмеров в разных модификациях, различающихся главным образом двигателем. Это машины г/п 2,5 т – модель 325, г/п 3,4 т – модели 332А, 332В, 333А, 333А1, 333В и 333Е, г/п 4 т – модель 342, г/п 5 т – модель 352 и самые мощные г/п 6 т – модель 361 и г/п 7 т – модель 371 с двигателем Cummins. На базе фронтальных одноковшовых погрузчиков «Амкодор» сформировал линейку универсальных погрузчиков, которые позиционируются отдельно как многофункциональные машины. От базовых моделей их отличает механизм быстрой смены навесного оборудования. В эту линейку входят модель 332С г/п 3,4 т, модель 342С г/п 4 т, модель 352С г/п 4,7 т. Отдельно стоит модель 320 г/п 2 т, созданная именно как универсальный погрузчик.
В перечень сменного оборудования, предлагаемого «Амкодор», входят ковши с зубьями и без зубьев, ковши двухчелюстные, ковши с увеличенной высотой разгрузки, челюстные захваты, безблочная крановая стрела, бульдозерный отвал, поворотный отвал для снега, грузовые вилы, подметальная щетка, вилы для погрузки соломы или сена, решетчатый ковш для погрузки корнеплодов.
Как видим, отечественным заводам есть что предложить в наиболее конкурентном диапазоне грузоподъемности. Причем заказчику доступен выбор двигателя, КП, мостов, оснащения кабины, рабочего оборудования. Отчетливо видно, что освоение современных средств проектирования и конкурентной по цене, но достаточно качественной агрегатной базы дает впечатляющие результаты. Кризис несколько задержал развитие направления фронтальных погрузчиков, но если в экономике не будет в дальнейшем потрясений, то заводы быстро наверстают отставание.
|
Грузоподъемность, кг |
3 500 |
|||
|
Вместимость основного ковша, м³ |
1,8 |
|||
|
Ширина режущей кромки ковша, мм |
2 500 |
|||
|
Длина, мм |
7 070 |
|||
|
Ширина по колесам, мм |
1 840 |
|||
|
Высота по кабине |
3 320 |
|||
|
Высота разгрузки, мм |
2 820 |
|||
|
Вырывное усилие, кг |
9 550 |
|||
|
Масса эксплуатационная, кг |
10 100 |
|||
|
Модель двигателя |
Д-260 |
|||
|
Мощность кВт (л/с) |
95 (130) |
|||
|
Радиус поворота, м |
5,6 |
|||
|
Дифференциал |
Повышенного трения |
|||
|
Рабочая тормозная система |
Барабанные тормозные механизмы в ступицах колес, с раздельным пневматическим приводом по мостам |
|||
|
Тип стояночных тормозов |
Ручной, дисковый |
|||
|
Рулевое управление |
Шарнирно-сочлененная рама, с гидравлическим приводом и гидравлической обратной связью, аварийным насосом с приводом от ведущих колес |
|||
|
Тип гидросистемы |
Двухнасосная с приоритетным клапаном для рулевого управления |
|||
|
Тип гидрораспределителя |
2-х секционный с прямым гидравлическим управлением |
|||
|
Топливный бак, л |
150 |
|||
|
Предельная скорость трансп. |
35/6,5 |
|||
Радиатор масляный погрузчика ПК-33: ТЛК-4.1714.000
Радиатор масляный: ТЛК-4.1714.000
Применяемость: погрузчик ПК-33-01-00 двигатель ММЗ: Д-260.2
Техническая характеристика:
Исполнение: медный,трубчато пластинчатый, традиционная технология пайки
двухходовая конструкция, бачки – стальные, сердцевина – медная
Рядность: – 2-рядный радиатор
в одном ряду 54 охлаждающие трубки *2 итого = 108шт.
Теплоотдача кВт: – 14
Габаритные размеры,мм: высота-633, ширина-473, глубина-60
Размеры сердцевины: ширина- 54, высота-37,5
Диаметр патрубков: вход – 27*1,5 выход 27*1,5
Расход масла лит/мин.: – 50
Вес кг: – 8,840
Габариты упаковки,мм: высота- 620 ширина- 730 толщина- 80
Производитель: ООО «Оренбургский радиатор»
входит в состав блока 1520-1301.
000-03 погрузчика ПК-33
радиатор ТЛК-4.1714.000 аналогов нет
есть вариант замены ….. надо учитывать одно техническое условие
на практике при замене сложностей не возникало
Отправим транспортной компанией: [email protected]
* Цена не является публичной офертой, технические характеристики носят информационный характер.Мнения и рекомендации отражают только нашу точку зрения и не являются официальными.
ТЛК-4.1714.000 масляный радиатор погрузчика ПК-33 Д-260
медно-латунный,трубчато-пластинчатый,традиционная технология пайки
Входит в состав блока радиаторов 1520-1301.000-03,
– чертеж масляного радиатора ТЛК-4.1714.000 габритными размерами
Масляный радиатор ПК-33, масляный радиатор погрузчика ПК-33: orenradspb@mail.
ru
Оренбургский радиатор, Автомаш-радиатор,ТАСПО-радиатор, Композит-групп радиаторы
Погрузчик одноковшовый фронтальный ПК-33-01-00 г.в. 2010, № рамы 482, № двиг 097341, ПСМ ВЕ744039, 61 ЕА 07-56 (идентификационные данные отсутствуют и/или являются нечитаемыми). | Ростовская область
Порядок оформления участия в торгах, перечень документов участника и требования к оформлению:
Заявки на участие в торгах подаются в электронной форме посредством системы электронного документооборота на сайте в сети Интернет по адресу: http://bankrupt.tender.one/
Порядок и критерии определения победителя торгов:
Победителем открытых торгов по продаже имущества (предприятия) должника посредством публичного предложения признается участник торгов, который представил в установленный срок заявку на участие в торгах, содержащую максимальную цену за имущество (предприятия) должника, которая не ниже начальной цены продажи имущества (предприятия) должника, установленной для определенного периода проведения торгов.
В случае если несколько заявок содержат равные предложения о цене имущества должника, то право приобретения имущества должника принадлежит участнику торгов, который в установленный срок первым представил заявку.
Срок и порядок подписания договора купли – продажи:
В течение пяти дней с даты подписания протокола торгов арбитражный управляющий направляет победителю торгов предложение заключить договор купли-продажи с приложением проекта данного договора в соответствии с предоставленным победителем торгов предложением о цене предприятия.
Сроки уплаты покупной цены по итогам проведения торгов:
Задаток в размере 20% от начальной стоимости лота на соответствующем интервале публичного предложения вносится по следующим реквизитам: Получатель: МУП “БКР” г. Ростова-на-Дону, ИНН/КПП 6163096941/616301001 , р/с 40702810700000022453, ПАО КБ “Центр-Инвест”, БИК 046015762, к\с 30101810100000000762, назначение платежа –”Задаток за лот № _, торги МУП “БКР”.
Оплата в соответствии с договором купли-продажи предприятия должна быть осуществлена покупателем в течение тридцати дней со дня подписания договора по следующим реквизитам: Получатель: МУП “БКР” г. Ростова-на-Дону, ИНН/КПП 6163096941/616301001, р/с 40702810100000014430, ПАО КБ “Центр-Инвест”, БИК 046015762, к\с 30101810100000000762.
ТОП 11 Крупнейшие покупатели запчастей для погрузчиков в 🇦🇴 Анголе
Показать все Трейдинг Производство
Товар запчасти для погрузчиков оптом
Торгово-скупочная компания
Вы хотите найти новых клиентов, покупающих запчасти для погрузчиков оптом
Maquinas E Tractores De Angola Ltda.
- Экскаваторы-погрузчики Jcb 3dx super с ковшом 6 в 1, 0,24 м3 Экскаватор бкт, с живой связью, в сборе во всех ре (19)
- Экскаваторы-погрузчики Jcb 3dx super m.№ 7 (15)
Mufik International Fzc General Tra
Колесный погрузчик L&T с двигателем и ковшом 1,7 куб.
см (L&T Construction Ion Equipment/GST# 29aaacl4175c1zn/inv#1Активная косметика для красоты
- Прочая проволочная сетка 24swg loader (48)
- Заплаты для ремонта проколов из вулканизированной резины или резиновой подложки U-образный квадратный фильтр-погрузчик (17)
- Масляные или бензиновые фильтры для двигателей внутреннего сгорания filter kpl 05.7 погрузчик д
Базель Ангола Sociedade De
Отдельный загрузчик с вакуумным бункером сал-300 г
Бом Амиго Коммерсиал Лтд.
Челюсти захвата погрузчика для 28 шт. (hgw-25) (09s14lr1503)-sidel India Private Ltd. i nv-tdsr3642 дата 30-10-2019 gst-27aadcs
Муфик Интернэшнл Fzc
Колесный погрузчик L&T wl9020 с пеплом ok leyland h6etic3ru23/3, шестицилиндровый, 4-тактный, с водяным охлаждением и турбонаддувом, с
Фертиафрика Комерсио
Налоговая накладная на ленточный погрузчик gfipl/18-19/ 018 dt.
28.06.2018 гст жесть №08aadcg8140 r1z1ООО «Африкан Оушн Трейдинг»
- Фильтры Leypart для погрузчиков и генераторов r 62, 5 кВА Топливный фильтр fs 36 (12)
- Колесо в сборе для погрузчиков L&T 0
- Фильтры Leypart для погрузчиков и генераторов r 62, 5 кВА Воздушный элемент вторичный af 0
Юнайтед Индастайрс Лтд.
Запчасти для выдувной машины для домашних животных с клиновым ремнем основного загрузчика (mcon
Advanced Beauty Cosmetics S.а.
Загрузчик бункера модель 138а с промежуточным бункером z5 (дтл согласно накладной)
Министерио Да Конструкао Э Образ Паб
Экскаватор-погрузчик Case модель 570st 4wd m n o: ekkh00713 пин. *nkj570stekkh00713* (е .номер:8045.45.748-255321)
менеджер по логистике в ЕС, Азию
логистика, сертификат
электронная почта: [email protected]
Крупнейшие запасные части для производителей погрузчиков и экспортеров
| Компания (размер) | Продукт | Страна |
1. 🇭🇰 Uniparts India Ltd. (11) | ЧАСТИ ДЛЯ ФРОНТАЛЬНЫХ ПОГРУЗЧИКОВ ЧАСТИ ДЛЯ ФРОНТАЛЬНЫХ ПОГРУЗЧИКОВ СТУПИЦА, ШТИФТ, ПОВОРОТНЫЙ ШТИФТ ИНВ. СИН ДТ. С. № СЧЕТА. ДТ. № МЭК ЧИСТАЯ ВЕС. | Гонконг САР |
| 2. 🇦🇪 Good Day General Trading L.L.C. (10) | ЭКСКАВАТОРЫ-ПОГРУЗЧИКИ Б/У ВСЕГО ДВЕ ЕДИНИЦЫ ТОЛЬКО ЭКСКАВАТОРЫ-ПОГРУЗЧИКИ Б/У МОДЕЛЬ КОРПУСА L SS MAC HINE СЕРИЙНЫЙ НОМЕР. Т БЛОК ДВИГАТЕЛЬ E №. H. CHA SSIS NO. T L MAC HINE СЕРИЙНЫЙ НОМЕР. Т | Объединенные Арабские Эмираты |
| 3.🇸🇪 Ало Аб (10) | ПОГРУЗЧИКИ | Швеция |
| 4. 🇮🇹 Compagnia Generale Trattori SpA (9) | ГУСЕНИЧНЫЙ ПОГРУЗЧИК CAT K | Италия |
| 5. 🇨🇳 Komatsu (Чанчжоу) (9) | ЗАПЧАСТИ ДЛЯ КОЛЕСНЫХ ПОГРУЗЧИКОВ ЗАПЧАСТИ ДЛЯ КОЛЕСНЫХ ПОГРУЗЧИКОВ ЗАПЧАСТИ ДЛЯ КОЛЕСНЫХ | Китай |
Запчасти к погрузчикам Склад
- Склад в Луанде
- Запасные части для погрузчиков в Уамбо
- Склад в Лобиту
- Бенгела, Ангола
- Склад, Намибе, Ангола
Просмотрите эту статью:
Лицо: Диана Зеленкова 26 января 2022 г.
Образование: Токийский научный университет, Япония
© Copyright 2016 – 2022 “Экспорт из России”.Все права защищены. Сайт не является публичной офертой. Вся информация на сайте носит ознакомительный характер. Все тексты, изображения и товарные знаки на этом веб-сайте являются интеллектуальной собственностью их соответствующих владельцев. Мы не являемся дистрибьютором бренда или компаний, представленных на сайте, Политика конфиденциальности
Универсальные экскаваторы-погрузчики для тракторов
Kubota выпускает две новые экскаваторы-погрузчики Tier 4 Final — L47 и M62. L47 заменит L39 и L45, а M62 заменит M59.Обе машины будут классифицироваться как компактные TLB, но M62 будет предлагать радиус действия и глубину копания 14 футов.
«Обычно для 14-футового радиуса действия вы должны перейти от компактной линии к стандартной машине, — объясняет Тайлер Питтсон из Kubota». Таким образом, вы переходите от машины с 12-футовым вылетом стоимостью около 50 000 долларов к 100 000 долларов или больше, чтобы получить 14-футовый вылет ».
M62 обеспечит дополнительный радиус действия по более доступной цене.
Фронтальный погрузчик
Машины TLB оснащены новым переключателем дроссельной заслонки, который увеличивает частоту вращения двигателя без увеличения скорости движения, обеспечивая дополнительную мощность для работы погрузчика.«Это экономит топливо, повышает эффективность и снижает уровень шума двигателя», — говорит Питтсон.
Машины стандартно поставляются с механическим двухрычажным быстроразъемным соединением, которое позволяет легко прикреплять и снимать передние орудия. С дополнительной гидравлической муфтой вам даже не нужно будет вставать с сиденья трактора. Просто нажмите две кнопки, чтобы отпустить рычаги, отойдите от отсоединенного орудия, перейдите к следующему орудию и нажмите кнопки, чтобы задействовать рычаги.
Обратная лопата
Новый режим ползания позволяет вам медленно двигаться вперед или назад одним касанием пальца, не отрываясь от органов управления обратной лопатой, поэтому вам не нужно будет менять положение сиденья для выполнения незначительных регулировок.
Быстросъемная сцепка стрелы обратной лопаты позволяет быстро менять ковши в зависимости от выполняемой работы. Если вы хотите работать без обратной лопаты, четырехточечная система быстрого крепления позволяет легко отсоединить обратную лопату. Трактор оснащен валом отбора мощности и дополнительной трехточечной навеской, что позволяет выполнять больше работы с TLB.
Трактор
Независимый ВОМ со скоростью вращения 540 об/мин может приводить в действие роторные культиваторы, снегоочистители и косилки, устанавливаемые сзади. Трехточечная сцепка категории I или категории II позволяет легко подсоединять навесное оборудование сзади.
Новая панель IntelliPanel предоставляет всю важную информацию, необходимую для поддержания TLB в оптимальном рабочем состоянии. Индикаторы включают текущее рабочее состояние, состояние двигателя, предупреждающие знаки о топливе и масле, а также различные индикаторы технического обслуживания.
Технические характеристики
L47
Полная мощность двигателя: 47
Мощность ВОМ: 33
Фронтальный погрузчик: грузоподъемность 2848 фунтов
Обратная лопата: максимальная глубина копания 10 футов
Рабочий вес: 7205 фунтов
Максимальная высота подъема: 9 футов, 6 футов дюймов
M62
Полная мощность двигателя: 63
Мощность ВОМ: 46
Фронтальный погрузчик: грузоподъемность 3960 фунтов
Обратная лопата: максимальная глубина копания 14 футов
| QA-CC1 | Куб Кадет 476 и Вудс 1009 | 78 фунтов.![]() | 100-001-000 |
| QA-CC2 | Куб Кадет 417 и Вудс 165 | 78 фунтов. | 100-022-000 |
| QA-CC3 | Детеныш кадета 833 | 80 фунтов. | 100-078-000 |
| КА-Я1 | Cub Cadet Yanmar CL300 (штифты 1-1/4 дюйма) | 80 фунтов. | 100-191-000 |
| КА-Я2 | Cub Cadet Yanmar CL300 (штифты 1 дюйм) | 80 фунтов. | 100-201-000 |
| QA-Bh2 | Буш Боров 2240, 2245, 2246 и 2247 | 78 фунтов. | 100-053-000 |
| QA-Bh3 | Втулочный боров 2425, 2440, 2440QT и 2445 | 88 фунтов. | 100-085-000 |
| QA-Bh4 | Буш Боров 2840, 2845 и 3450 | 191 фунт. | 100-189-000 |
| QA-GB1 | Грейт-Бенд 240, 260 и 280 | 81 фунт. | 100-020-000 |
| QA-GB2 | Грейт-Бенд 330 | 84 фунта.![]() | 100-005-000 |
| QA-GB3 | Great Bend 440 Штыревой | 86 фунтов. | 100-080-000 |
| QA-GB4 | Great Bend 660, 760, 770, 860 и 870 штифтового типа | 230 фунтов. | 100-099-000 | КА-АЛО | John Deere 553, 563 и 673 только с Global Carrier, (переходная пластина JD QA) | 223 фунта. | 100-084-000 |
| QA-JD1 | John Deere 80 штифтовых и 440 штифтовых | 76 фунтов. | 100-011-000 |
| QA-JD2 | John Deere 300, 300X, 300CX, 305, 400X, 400CX, 419, 420, 430, 440QA и 460 (переходная плита JD QA) | 86 фунтов. | 100-018-000 |
| QA-JD3 | John Deere 510, 512, 520, 521, 522, 540, 541 и 542 (переходная пластина JD QA) | 106 фунтов. | 100-019-000 |
| QA-JD4 | John Deere 145, 146, 148 и 158 штифтового типа | 224 фунта.![]() | 100-067-000 |
| QA-JD5 | John Deere 70 и 70A штифтового типа (включая штифты) | 77 фунтов. | 100-030-000 |
| QA-JD6 1 | John Deere 620, 640, 720, 721, 725, 726, 740, 741 и 746 (переходная пластина JD QA) | 235 фунтов. | 100-068-0001 |
| QA-JD7 | Тракторный погрузчик John Deere 245, 260 и 265 (переходная пластина JD QA) | 224 фунта. | 100-069-000 |
| QA-JD8 | John Deere 840 (переходная пластина JD QA) | 277 фунтов. | 100-073-000 |
| QA-JD9 | John Deere 48 Pin-Type | 230 фунтов. | 100-077-000 |
| QA-JD10 | John Deere 100 и 175 Pin-Type | 180 фунтов. | 100-087-000 |
| QA-JD11 | John Deere 75 Pin-Type | 77 фунтов. | 100-184-000 |
| QA-JD12 | John Deere 244J (переходная пластина JD QA) и 304J | 250 фунтов.![]() | 100-203-000 |
| 1 Требуется комплект защелок John Deere #BW15457 или комплект ATI Corporation | 27 фунтов. | 001-001-068 | |
| КА-КУ1 | Kubota LA401, LA402, LA452, LA480, LA481, LA482, LA680, LA681, LA682, LB402, LB552 и LB702 | 76 фунтов. | 100-007-000 |
| ПК-КУ1 | Комплект контактов для QA-KU1 и QA-KU6 (дополнительно) | 4 фунта. | 000-161-062 |
| КА-КУ2 | Kubota BF500, BF550, LA450, LA500 и LA650 (включает: QA-KU1 и комплект штифтов PK-KU1) | 80 фунтов. | 100-008-000 |
| КА-КУ3 | Kubota BF800, BF900, BF1100, LA950, LA1100 и LA1150 (включает: QA-KU5 и комплект контактов PK-KU5) | 94 фунта. | 100-012-000 |
| КА-КУ4 | Кубота TL720 | 95 фунтов. | 100-013-000 |
| ПК-КУ4 | Комплект контактов для QA-KU4 и QA-KU9 (дополнительно) | 6 фунтов.![]() | 000-161-063 |
| КА-КУ5 | Кубота LA950A, LA1001, LA1002 и LA1150A | 88 фунтов. | 100-014-000 |
| ПК-КУ5 | Комплект контактов для QA-KU5 и QA-KU7 (дополнительно) | 6 фунтов. | 000-161-064 |
| КА-КУ6 | Кубота TL420 и TL421 | 76 фунтов. | 100-015-000 |
| КА-КУ7 | Kubota LA1251 Штифтовой | 124 фунта. | 100-016-000 |
| КА-КУ8 | Кубота TL1150 и LA1162 | 125 фунтов. | 100-064-000 |
| КА-КУ9 | Кубота LA852 | 81 фунт. | 100-025-000 |
| QA-KU10 | Кубота М1000 | 81 фунт. | 100-032-000 |
| КА-КУ11 | Кубота LA463 и LA513 | 78 фунтов. | 100-059-000 |
| QA-KU12 | Кубота LA723 | 80 фунтов. | 100-060-000 |
| КА-КУ13 | Кубота LA853 | 81 фунт.![]() | 100-061-000 |
| КА-КУ14 | Kubota LA1301, LA1601 и LA1251 с Kubota QA (переходная пластина) | 260 фунтов. | 100-072-000 |
| КА-КУ15 | Кубота LA403 | 78 фунтов. | 100-076-000 |
| QA-KU16 | Кубота LA703 | 81 фунт. | 100-082-000 |
| QA-KU17 | Кубота LA504 | 78 фунтов. | 100-196-000 |
| КА-КУ18 | Kubota LA1153 и LA1353 Штифтовой | 195 фунтов. | 100-207-000 |
| QA-KX161 | Мини-экскаватор Kubota KX161-3 и U45 с Kubota QA (переходная плита) | 230 фунтов. | 100-091-000 |
| QA-KX121 | Kubota KX121-3, KX91-3 и U35 с Kubota QA | 229 фунтов. | 100-186-000 |
| QA-KX080 | Kubota KX080-3 с Kubota QA | 278 фунтов. | 100-190-000 |
| QA-U55 | Kubota U55, KXO57-4 с Kubota QA | 240 фунтов.![]() | 100-212-000 |
| QA-MF1 | Massey Ferguson L100, 1246, 1466, AGCO SL46, Challenger ML30, TYM TL100 и TL200 | 84 фунта. | 100-021-000 |
| QA-MF2 | Massey Ferguson 232, 236, 246, 832, 838, 932, 1032, 1040, 1050, AGCO SL48, AGCO 656 и Challenger ML40 | 101 фунт. | 100-006-000 |
| QA-MF3 | Massey Ferguson 1244, 1464, 1520, AGCO SL44 и Challenger ML20 и L90 | 84 фунта. | 100-088-000 |
| QA-MF4 | Massey Ferguson L200, L210, DL130, DL250, DL260 и 1530 | 193 фунта. | 100-206-000 |
| QA-AC1 | Эллис Чалмерс 400, 450, 460 и 500 | 84 фунта. | 100-095-000 |
| КА-АЛО | New Holland 810TL, 820TL, 830TL и 840TL, Case IH LX720, LX730, LX740 и LX750 (Европейский стиль QA) | 223 фунта. | 100-084-000 |
| QA-FO1 | New Holland 7108, 7308 и Case IH L130 | 76 фунтов.![]() | 100-009-000 |
| QA-FO2 | New Holland 2109, 620TL, 7109, 7209, 7210, 7309, 7310 и 7410 | 117 фунтов. | 100-010-000 |
| QA-FO3 | New Holland 14LA, 15LA, 16LA, 17LA, 18LA, Case IH L160, LX114, LX116 и LX118 | 100 фунтов. | 100-026-000 |
| QA-FO4 | Форд 770, 770А и 770В | 80 фунтов. | 100-002-000 |
| QA-FO5 | Форд 345C и 345D | 193 фунта. | 100-070-000 |
| QA-FO6 | Форд 445C, 445D, 545C и 545D | 194 фунта. | 100-071-000 |
| QA-FO7 | Погрузчики Ford 712, 720, 725, 730 и 735 | 194 фунта. | 100-079-000 |
| QA-FO8 | Погрузчик Форд 740 | 196 фунтов. | 100-081-000 |
| QA-FO9 | Форд 771, Кубота 1500, Шварц 1200HD, 1350 и 1450 | 85 фунтов. | 100-086-000 |
| QA-FO10 | Форд 776А, 776Б, 777Б, 777Д и 777Е | 207 фунтов.![]() | 100-089-000 |
| QA-FO11 | Форд 745 (прямой штифт) | 201 фунт. | 100-092-000 |
| QA-FO12 | Форд 772, Шварц 1300 и 1400 | 196 фунтов. | 100-093-000 |
| QA-FO13 | New Holland 7614 (TV140) (переходная пластина QA) | 270 фунтов. | 100-097-000 |
| QA-FO14 | Ford 445, 445A, 545 и 545A (4-звенная навеска) | 201 фунт. | 100-185-000 |
| QA-FO15 | Погрузчик Форд 744 | 200 фунтов. | 100-195-000 |
| QA-FO16 | Ford 776F (диаметр пальца 1-1/4 дюйма) | 208 фунтов. | 100-197-000 |
| QA-FO17 | Форд 32LA и 33LA | 195 фунтов. | 100-202-000 |
| QA-FO18 | Новая Голландия 32LC, 52LC, CaseIH LX232, LX252 | 195 фунтов. | 100-210-000 |
| QA-CA1 | Кейс IH 2250 и 2255 | 93 фунта.![]() | 100-017-000 |
| QA-CA2 | Кейс IH 2050 | 108 фунтов. | 100-027-000 |
| QA-CA3 | Кейс ИХ 2000 | 108 фунтов. | 100-033-000 |
| QA-CA4 | Case IH 10QA и L108 (штифты включены) | 76 фунтов. | 100-054-000 |
| QA-CA5 | Кейс IH 1850 и 2200 | 198 фунтов. | 100-101-000 |
| QA-CA6 | Case IH 510, 520 и L300 штифтового типа | 260 фунтов. | 100-181-000 |
| QA-CA7 | Чемодан 56 л, 60 л и 74 л | 195 фунтов. | 100-187-000 |
| QA-CA8 | Чемодан 54 л | 169 фунтов. | 100-193-000 |
| 1173 | Колесный погрузчик CAT | 1980 Hot Wheels Workhorses | Желтый, с черно-белой надписью «C 988» сбоку, черный салон, желтая база Hong Kong, с желтыми CT | 4 доллара. 00 | 12,00 $ | |
| 1173 | Колесный погрузчик CAT | 1982 Hot Wheels Workhorses | Желтый, с черно-белой надписью «C 988» сбоку, черный салон, желтая база Malaysia, с желтыми CT | 4 доллара.00 | 12,00 $ | |
| 1173 | Колесный погрузчик CAT | 1982 Hot Wheels Workhorses | Желтый, без тампонов, черный интерьер, желтая база Malaysia, с желтыми CT | 4,00 $ | 15 долларов. 00 | |
| 1173 | Колесный погрузчик CAT | 1986 Хот Вилс Рабочие Лошади | Желтый, с черно-белой надписью «C 988» сбоку, черный салон, желтая база Malaysia, с желтыми CT | 4,00 $ | 15 долларов.00 | |
| 1173 | Колесный погрузчик CAT | 1986 Хот Вилс Рабочие Лошади | Желтый, с черно-белой надписью «C 988» сбоку, черный салон, желтая база Malaysia, с CT | 3,00 $ | 8,00 $ | |
| 1173 | Колесный погрузчик | 1989 Hot Wheels Workhorses | Желтый, без тампонов, черный интерьер, желтая база Malaysia, с желтыми CT | 4 доллара. 00 | 8,00 $ | |
| 1173 | Колесный погрузчик | 1989 Hot Wheels Workhorses | Желтый, без тампонов, черный внутри, желтая база Malaysia, с GoldCT | 15,00 $ | 45 долларов.00 | |
| 1173 | 3 | Колесный погрузчик | Экспериментальная карта 1989 года | Желтый, без тампонов, черный внутри, желтая база Malaysia, с желтыми CT | 3,00 $ | 150,00 $ |
| 1173 | 3 | Колесный погрузчик | 1990 Хот Вилс | Желтый, без тампонов, черный внутри, желтая база Malaysia, с желтыми CT | 3 доллара. 00 | 12,00 $ |
| 1173 | 3 | Колесный погрузчик | 1992 Хот Вилс | Желтый, без тампонов, черный внутри, желтая база Malaysia, с желтыми CT | 3,00 $ | 5 долларов.00 |
| 3871 | Колесный погрузчик | 1992 Строительная бригада, 5 шт. в упаковке То же, что и коллектор #3 | Желтый, без тампонов, черный интерьер, желтая малайзийская база, с желтыми концентраторами | 3,00 $ | ||
| 17993 | Колесный погрузчик | 1997 Боевые машины Caterpillar | Желтый, логотип CAT по бокам, база Malaysia, с желтыми CT | $0. 00 | $0,00 | |
| 19692 | 641 | Колесный погрузчик | 1997 Хот Вилс #641 | Оранжевый, с белым логотипом HW сбоку, серый салон, неокрашенная китайская база, с CT | 1,00 $ | 2 доллара.00 |
| 19692 | 641 | Колесный погрузчик | 1998 Хот Вилс #641 | Оранжевый, с золотым логотипом HW сбоку, серая внутренняя часть, неокрашенная китайская база, с CT | 1,00 $ | 2,00 $ |
| 27078 | 111 | Колесный погрузчик | 2000 Виртуальная коллекция Код = GSGZLR | Бело-красный, с красным логотипом HW сбоку, черный салон, неокрашенная китайская база, с ORSB | $0. 50 | 1,00 $ |
| 50653 | 123 | Колесный погрузчик | 2001 Хот Вилс #123 | Мтфлк. Грей и Мтфлк. Дк. Синий, с красным, оранжевым, желтым и синим пламенем по бокам и на крыше, логотип HW по бокам, «Hot Wheels» на крыше, черный салон, неокрашенная китайская база, с ORSB | $0.50 | 1,00 $ |
| 55071 | 186 | Колесный погрузчик | 2002 Хот Вилс #186 | Мтфлк. Дк. Красные, с красными, желтыми, оранжевыми и серебряными тампонами с пламенем и логотипом HW по бокам, пламенем и надписью «Hot Wheels» на крыше, серый салон, плоская черная китайская база, с OR5SP | $0. 50 | 1,00 $ |
| R0971 | Колесный погрузчик | 2010 Demolition Derby 5-Pk | Черно-желтый с желтым логотипом HW по бокам с желтой базой для Таиланда, с желто-черными OR6SP | $0,00 | $0.00 | |
| Т8633 | Колесный погрузчик | 2011 HW City Works 5-Pk | Мтфлк. Зеленый и светло-зеленый с желтыми и черными тампонами, логотип HW и «T9592» по бокам, черная база Таиланд, с OR6SP | $0,00 | $0. 00 | |
| Х1696 | 044 | Колесный погрузчик | 2013 Hot Wheels HW City Городские работы | Синий и желтый, с желтым и оранжевым пламенем, черными и желтыми полосами по бокам, желтая база Malaysia, с желтыми/черными OR6SP | $0,00 | $0.00 |
| Х1876 | 044 | Колесный погрузчик | 2013 Hot Wheels HW City Городские работы | Черный и оранжевый, с желтым и оранжевым пламенем, черными и желтыми полосами по бокам, черная база Malaysia, с желтыми/черными OR6SP | $0,00 | $0. 00 |
| БФЦ33 | 008 | Колесный погрузчик | 2014 Hot Wheels HW City Городские работы | Желтый, с черными, синими и оранжевыми полосами по бокам, желтая база Malaysia, с желтыми/черными OR6SP | $0,00 | $0.00 |
Фронтальные погрузчики российского производства. Российские погрузчики ОАО МЗ им.
Грузовая техника импортного производства в избытке остается на рынке спецтехники РФ. Только в последние годы доля участия в производстве и модернизации машин класса отечественной марки приближается к 5 процентам. Однако уже сегодня можно объективно выделить целую линейку предприятий, выпускающих на действующей производственной линии вилочный погрузчик российского производства.
, который соответствует требованиям текущего рынка, например продан.
Ярким примером является Группа компаний «Волжский погрузчик», производственные мощности которой в Нижнем Новгороде позволяют производить погрузчики VP по тайваньской лицензии. На данный момент список выпускаемых моделей в линейке достигает 30 штук. Этот модельный ряд богат газовыми, электрическими и газовыми машинами, позволяющими работать с грузом от 1,5 до 10 тонн. Примечательно, что этот же завод также выпускает, например, устройства с дизельным приводом и трансмиссией, для работы с нагрузкой до 3.5 тонн и подъем вил до 6 метров.
Не менее заметных успехов добились работники ООО «Владимирский моторно-тракторный завод», который с 1945 года является крупным производственным звеном российского специального автомобилестроения. Например, именно здесь выпускаются самоходные шасси, которыми комплектуется вилочный погрузчик Россия ВТЗ-30СШ-ПВ. Уникальная подъемная установка работает с объемом до 1 тонны и способна поднимать багаж на высоту до 2,8 метра.
Среди наиболее знаковых производственных предприятий стоит упомянуть ЗАО «Санкт-Петербургский тракторный завод», на базе которого с 1927 года было основано станкостроение. В настоящий момент завод выпускает глобальную номенклатуру сельскохозяйственной, дорожно-строительной и погрузочной техники на собственном потоке. Относительно последних можно выделить три модели – это отечественные погрузчики вилочные , способные работать с грузом до 5 тонн на высоте до 3 метров.Можно не сомневаться – это лидер техники!
Еще одним классным представителем производственной отрасли по выпуску спецтехники является ОАО «МЗ им. М.И. Калинина», где выпуск электропогрузчиков основан с 1956 года. В процессе реформирования производства, уже в 1994 году, выпуск вилочных электропогрузчиков российского производства грузовики, оснащенные современным дизелем.Примечательно, что выпускаемые модификации погрузочных машин с оптимизированной компоновкой противовеса и по сей день не имеют аналогов в европейском автомобилестроении.
В общем, если вы ставите перед собой цель переоснастить или оснастить свой автопарк современными вилочными погрузчиками российского производства, то эта миссия легко выполнима. Во многом отечественные модели превосходят зарубежные аналоги, получая от российского производителя не только возможность купить погрузчик по доступной цене, но и не иметь проблем с оперативной техподдержкой.
11215 26.03.2019 6 мин.ПК-30, Уральский завод
Погрузчик ПК-30
- масса машины – 10700 кг;
- грузоподъемность от 2.от 7 до 4 тонн;
- тип дизельного двигателя;
- мощность 122 л.с.;
- максимальная скорость 35 км/ч; объем ковша
- – 1,6 куб.м.; Ширина режущей кромки ковша
- – 2450 мм.
Преимущества технологии:
- высокая надежность;
- высокая производительность;
- возможность функционирования в сложных условиях;
- низкая стоимость по сравнению с аналогичным оборудованием зарубежного производства; Производство
- с применением инновационных технологий.

Дефекты:
- без защиты шарнира подъемный механизм от пыли и грязи, которая становится абразивом и может привести оборудование в негодность в течение нескольких лет;
- без защиты шланга. Если какой-либо предмет попадет между кабиной оператора и ковшом, то гидравлическая система или рулевое управление могут выйти из строя.
Цена такого оборудования от производителя 2,5 млн руб. . Если приобретать это оборудование через посредников или дилеров, то его цена может быть в пределах 3 млн рублей.
Спецтехника данной модели представляет собой современную производительную машину, которая быстро и качественно выполнит любые погрузочно-обрабатывающие работы.
Высокая мощность и грузоподъемность оборудования позволяет поднимать большую массу груза. Активно используется в дорожном строительстве.
Terex TL65, Орловский завод
Российский погрузчик Terex TL65
Технические характеристики данной техники включают:
- малые габариты, масса аппарата 9900 кг;
- грузоподъемность 1.
5 тонн; - тип дизельного двигателя;
- мощность 85 л.с.; объем ковша
- – 0,9 куб.м.; Ширина режущей кромки ковша
- – 1200 мм.
Преимущества:
- габаритная ширина (1700 мм), позволяет работать на узких строительных площадках;
- надежность;
- высокая производительность;
- возможность функционирования в различных производственных условиях;
- низкая цена машины по сравнению с аналогичной спецтехникой зарубежного производства;
- не требует особого ухода при эксплуатации;
- использование передовых технологий в производстве отдельных элементов и систем.
Дефекты:
- из-за малых габаритов не допускается использование оборудования в тяжелых условиях работы;
- незащищенные шланги;
Цена:
Если заказать такую модель спецтехники у производителя, то заплатить придется не более 1,8 млн руб.
В зависимости от местонахождения дилера стоимость такой машины может меняться. из 2.от 0 до 2,2 млн руб.
Современный технологичный дизайн, техническая надежность и малые габариты позволяют ему быть востребованной моделью на рынке подобной спецтехники. Высокий спрос из-за низкой стоимости и большого количества преимуществ этой машины.
Все преимущества большого автокрана в мире – .
“Кировец” К-702МА-ПК6, Санкт-Петербург
Технические характеристики машины:
- масса машины – 21000 кг; грузоподъемность
- около 6 тонн;
- тип дизельного двигателя;
- мощность 125 л.с.;
- максимальная скорость 39 км/ч; объем ковша
- – 4 куб.м.; Ширина режущей кромки ковша
- – 3200 мм.
Кировец К 702 МА-ПК6
Преимущества специального оборудования:
- многофункциональность;
- высокая надежность;
- можно использовать при низких (до -40 градусов) и высоких (до +40 градусов) температурах воздуха;
- низкая стоимость;
- Не требует особого ухода;
- возможность использования в различных производственных условиях.

Минусы данной спецтехники:
- незащищенные шланги;
- невозможность работы со связными и плотными грунтами.
Стоимость станка в пределах 2,0 млн руб.
Такое спецоборудование предназначено для работы с мелкокусковыми и сыпучими материалами. Отлично выполняет любые работы, связанные с погрузкой, разгрузкой, уборкой. Если станок оснащен специальным захватом с клещами, то его можно использовать на деревообрабатывающем предприятии в качестве штабелеукладчика.
ЗТМ 216А (АРТ), Ростовская область
Характеристики этой модели:
- масса машины – 17000 кг;
- грузоподъемность около 3.5 тонн;
- тип дизельного двигателя;
- мощность 115 л.с.;
- максимальная скорость 30 км/ч; Вместимость ковша
- – от 1,7 до 2,0 куб.м.; Ширина режущей кромки ковша
- – 2400 мм.
Технологические преимущества:
- высокая производительность и надежность;
- низкий расход топлива;
- отличная грузоподъемность;
- джойстик управления в кабине оператора;
- защита от опрокидывания кабины и от падающих предметов.

Недостатки модели:
- вместимость малого ковша;
- низкая скорость движения;
- невозможность работы со связными и плотными грунтами.
Стоимость такого оборудования находится в пределах 1,7 – 1,85 млн руб.
Конструкция данного фронтального погрузчика предусматривает установку трех моделей двигателей и двух моделей гидромеханических трансмиссий. Активно используется на складах и в сельском хозяйстве.
За счет смены рабочих органов эту технику можно использовать в портах, карьерах, леспромхозах и т.д.
Четра-60 и Четра-К12, Чебоксарский завод Промтрактор
Технические характеристики Эти две популярные модели этого производителя:
- грузоподъемность от 6 до 12 тонн;
- вес снаряжения – 22900 кг; Объем ковша
- – от 5,5 до 6,8 куб.м. м.;
- тип дизельного двигателя;
- мощность 238 л.с.;
- максимальная скорость 30 км/ч; Ширина режущей кромки ковша
- – 2500 мм.

Преимущества данной техники заключаются в следующих параметрах:
- высокая производительность;
- отличная маневренность;
- мобильность;
- транспортабельность;
- простая конструкция;
- большой набор опций;
Недостатки спецтехники:
- невозможность работы со связными и плотными грунтами.
Стоимость такого фронтального погрузчика российского погрузчика в пределах 1.7 – 1,95 млн руб. (сравните с ценой погрузчика).
Такая спецтехника прекрасно справляется с работой по планировке площадок, выгрузкой в отвал или на транспорт, а также с погрузкой и разгрузкой штучных грузов. Активно используется на складах, в различных карьерах и портах, а также в коммунальном хозяйстве и сельском хозяйстве.
Амкодор 333б
Преимущества модели:
- высокая производительность;
- отличная маневренность;
- рентабельность;
- компактность техники;
- мобильность;
- транспортабельность;
- простая конструкция;
- большой набор опций;
- надежность гидравлической конструкции и системы управления.

Недостатки спецтехники:
- непригодность машины для работы со связными и плотными грунтами.
Большинство дилерских компаний продают эту машину в пределах 2,2 – 2,3 млн. руб.
Эта машина выпускалась еще в постсоветское время на заводе «Амкодор» в Белоруссии. Но при этом она имеет прекрасные технические характеристики и пользуется большой популярностью среди строительных и дорожных компаний нашей страны.
Инженеры компании выбрали такую производственную линию, в результате чего получилась техника с максимальной эффективностью при простой конструкции станка.
Что сделать, чтобы машину не забрал эвакуатор — узнайте в .
Заключение
В заключение следует отметить, что многие фронтальные погрузчики российского производства могут проигрывать такой импортной технике в компоновке кабины оператора и наборе опций. А вот по практичности, надежности и стоимости обслуживания таким отечественным моделям нет равных.
Отличная производительность и экономичность, компактность и простота в эксплуатации, приемлемая цена Фронтальные погрузчики российского производства позволили этой технике стать популярной среди строительных и дорожных компаний.
Вилочный погрузчик – это разновидность специального оборудования, предназначенного для перевозки грузов. различных типов и веса в пределах территории завода-изготовителя или склада, а также применяемых в сфере горного, гражданского, дорожного и инженерного строительства.
Рынок спецтехники представлен большим количеством марок и марок, самыми доступными по стоимости являются российские погрузчики.Современные технологии производства и использование качественных материалов для изготовления оборудования данного типа позволяют считать его одним из самых надежных и качественных.
1 Типы и назначение погрузчиков
Строительную площадку, парк коммунальной техники, производственную или складскую площадку невозможно представить без вилочных погрузчиков.
С их помощью осуществляется разгрузка-погрузка и перемещение товаров или сырья, складирование их на хранение.
Ввиду того, что в каждом конкретном случае под грузом понимаются материалы различного вида, веса и назначения, существует и традиционная классификация грузчиков.
Основными типами оборудования этого класса являются:
Производство вилочных погрузчиков в России ориентировано на удовлетворение потребности потребителя в обоих основных видах погрузочной техники.
Как следует из названия, фронтальные погрузчики российского (и не только российского) производства оснащаются фронтальным навесным элементом, в основном в форме. Они предназначены для перевозки сыпучих материалов – песка, щебня, гравия, снега и т. д. Такие модели в основном приобретаются и сдаются в аренду дорожно-строительными, коммунальными предприятиями, а также востребованы в горнодобывающей и других отраслях промышленности, сельском хозяйстве.Некоторые модели имеют повышенную грузоподъемность и перевозят материалы весом до 16 тонн.
В зависимости от применения они могут быть оснащены колесами или.
В оснащении складских помещений и производственных цехов более востребован вилочный погрузчик. Вилочные погрузчики оснащены вилкообразным подъемным механизмом. Применяются для разгрузки и погрузки материалов на поддонах, их транспортировки в пределах склада или производственной площадки. В отличие от фронтальных моделей вилочные погрузчики с отличной грузоподъемностью имеют значительно меньшие габариты и большую маневренность.Они востребованы при оснащении супер- и гипермаркетов, портов, вокзалов, аэропортов и других учреждений. В этом сегменте техники также популярны компактные самоходные агрегаты, способные быстро перевозить грузы массой до 100-150 кг.
В России погрузчики производятся на многих предприятиях, среди которых Челябинский тракторный завод является лидером по объему производства и соотношению качества и стоимости. Если говорить о самых популярных моделях, то стоит обратить внимание на загрузчик ПК.
Все модели этой серии спецтехники отличаются простотой эксплуатации, производительностью, неприхотливостью в обслуживании, надежностью и долговечностью.
2 Популярные модели
При выборе погрузочного оборудования необходимо учитывать следующие факторы:
- технические характеристики, определяющие рабочие параметры и условия эксплуатации;
- срок службы, периодичность технического обслуживания;
- тип двигателя – от этой характеристики зависит возможность использования машины в помещении или на улице, возможность работы при отрицательных температурах;
- грузоподъемность и допустимая высота перемещения груза в вертикальной плоскости;
- соблюдение требований безопасности и охраны труда; Цена
- .
Мы подготовили для вас краткий обзор самых востребованных в современных условиях вилочных погрузчиков и погрузчиков российского производства, соотношение цены и качества которых считается оптимальным.
2.1 ПКУ 08
Погрузчик ПКУ 08 малогабаритный фронтального типа, который агрегатируется с большинством моделей МТЗ, в частности с техникой 8-й и 9-й серий. Применяется для перевозки на небольшие расстояния сыпучих материалов (от снега и песка до щебня и графита), а также сена, соломы (в том числе стогов), минеральных и органических удобрений.
Может комплектоваться ковшами различного объема (0,35/0,5 куб.м), граблями и другими сменными рабочими органами, количество которых может достигать 15 разновидностей.
2,2 шт. 27
Погрузчик ПК 27 – переднеприводная модель с большим полезным объемом ковша (1,35/1,5 куб.м). Незаменим в сельском хозяйстве, так как комплектуется широким набором оборудования различного назначения – снегоуборщиком, вилами, отвалами, ковшами, грейферами, монтажными крюками.Особенностью модели является возможность увеличения параметров высоты выгрузки, что делает ее универсальной.
2,3 шт.
30 ПК 30 используется при выполнении земляных работ. Помимо классических характеристик эта модель самостоятельно обрабатывает грунт в процессе обратной засыпки валов или насыпей и используется как альтернатива компактному бульдозеру. При меньших размерах и массе по сравнению с экскаваторами машина обладает большей грузоподъемностью и маневренностью даже в условиях небольшого закрытого помещения (строительная площадка).
2,4 шт. 33
Погрузчик ПК 33 – одноковшовая машина фронтального типа агрегатирования с ковшом объемом 1,8 куб.м. и грузоподъемностью до 3,3 т в зависимости от модификации. Развивает скорость при движении вперед (4 передачи) и назад (2 передачи) соответственно 40 и 23 км/ч, благодаря чему считается одной из самых производительных моделей.
2,5 шт. 40
Погрузчик ПК 40 относится к категории самоходной одноковшовой техники и используется в землеройно-планировочных работах.Широкий спектр рабочих органов, процесс замены которых прост и эффективен, также используется для очистки улиц от снега, веток, выполнения такелажных, монтажно-строительных работ, перевозки длинномерных конструкций и грузов.
2,6 шт. 46
Погрузчик ПК 46 — универсальная высокопроизводительная машина, которая может конкурировать с . Востребован в строительстве, горнодобывающей промышленности, коммунальном хозяйстве. Оснащена пневматическими колесами для дополнительного тягового усилия — например, в эквиваленте песка эта модель одновременно перевозит до 5 тонн груза.
2,7 шт. 65
Модель 65 используется для земляных работ и является лидером в своем сегменте. При высоких характеристиках он имеет относительно небольшой вес, оптимизированную конструкцию и оснащение. Прост в эксплуатации и удобен для водителя за счет применения высокотехнологичных современных материалов и систем отопления и вентиляции. Машина ПК 65 маневренна и быстра, также работает в стесненных условиях в гражданском и дорожном строительстве.
2.8 Универсальный российский минипогрузчик Multix (видео)
В настоящее время мировой рынок строительной техники представлен четырьмя основными группами производителей погрузчиков.
Американские производители
Лидеры строительного рынка начала 20 века, старейшие американские компании Clark, Yale, Hyster, Baker и Towmo-tor, инициировавшие производство погрузчиков, сегодня практически отсутствуют на российском рынке.
Погрузчики Bobkat
Вилочный погрузчик Bobkat (США) с телескопической стрелой достойно зарекомендовал себя на российском рынке.
Bobkat, до 2007 года входившая в состав Ingersoll-Rand, а сейчас принадлежащая Doosan Infracore, специализируется на производстве малогабаритного оборудования.Семейство Bobkat представлено пятью базовыми моделями и широким спектром навесного оборудования. Изделие Bobcat по праву считается универсальным – благодаря своим габаритам оно незаменимо там, где использование крупногабаритной техники нецелесообразно или просто невозможно. Высочайшая производительность погрузчиков, их универсальность и возможность быстрой смены навесного оборудования – основные преимущества погрузчиков Bobcat.
Погрузчики Caterpillar
Американская корпорация Caterpillar, образованная в 1925 году – известный производитель машиностроительной и землеройной техники, имеющий более 450 подразделений по всему миру, на сегодняшний день является признанным лидером по объему продаж.
Погрузчики New Holland
Созданные в 1895 году машины New Holland (Пенсильвания, США) надежны и просты в использовании. Эти экскаваторы-погрузчики способны эффективно выполнять не только земляные работы, но и погрузочно-разгрузочные работы с помощью ковша или грейфера.
Основные характеристики техники New Holland – маневренность и большая грузоподъемность, что во многом определяет сферу их использования.
Европейские производители
Из признанных европейских производителей строительной и складской спецтехники стоит отметить немецкие компании Jungheinrich, Linde и Still, которые в настоящее время несколько стеснены на мировом рынке из-за азиатской экспансии на Запад.
Перегружатели перегружателей
Благодаря несомненной немецкой надежности и безопасности в эксплуатации перегружатели перегружателей пользуются заслуженной репутацией во всем мире. Эти машины отличаются высокой экономичностью и выполняют свои обязанности практически в любых условиях.
Ассортимент продукции Стилла достаточно широк: электрические и вилочные погрузчики, штабелеры, электротележки и др.
Погрузчики Balcancar
Россиянам хорошо известны болгарские Balkancar, ввезенные еще в СССР. На сегодняшний день этот бренд не пользуется особой популярностью в России.Исключение составляют погрузчики вторичного рынка и хорошо зарекомендовавшая себя ремонтная служба. Отличительными чертами болгарских погрузчиков является простота конструкции, а также недорогой рынок запчастей.
Японские производители
Однажды «завоевав» мировой авторынок, японские автомобили, в том числе и погрузчики, до сих пор занимают лидирующие позиции. Наравне с доступной ценой их выгодно отличает высокая надежность и широкий выбор комплектаций.
Погрузчики таких известных марок, как Mitsubishi, Toyota, TCM, Nissan и Komatsu являются «авангардом» японской транспортной отрасли.
Погрузчики Mitsubishi
Вилочные погрузчики Mitsubishi пользуются большой популярностью у покупателей.
Надежность и качество – «визитная карточка» компании, приоритетом которой является удовлетворенность клиентов продукцией. Оборудование Mitsubishi производится по самым строгим стандартам, что обеспечивает 100% надежность в эксплуатации.
Базовое кредо Mitsubishi Forklift Trucks – работа без простоев.
Погрузчики Komatsu
Komatsu Group присутствует на мировом строительном рынке уже более 90 лет.Погрузчики Komatsu пользуются большим спросом на отечественном рынке строительной техники, т.к. соответствуют самым высоким международным стандартам качества. Среди преимуществ Komatsu – широкий спектр дополнительных услуг, выгодные условия гарантийного обслуживания.
Вилочные погрузчики Toyota
С 60-х годов Toyota сохраняет свое лидерство в производстве вилочных погрузчиков. Эксклюзивная система производства позволяет компании собирать уникальное оборудование, практически не имеющее недостатков. При разработке вилочных погрузчиков специалисты Toyota учитывают малейшие нюансы эксплуатации, а также пожелания своих клиентов.
Вилочные погрузчики Toyota – гарантия качества!
Погрузчики TCM
Погрузчики этой фирмы идеально подходят для работы в российских условиях, очень экономичны и надежны. Погрузчики предназначены для перевозки широкого спектра и хранения различных видов грузов.
Оптимальное соотношение цены и качества, простота в эксплуатации, прочность, маневренность и экологичность – вот основные преимущества погрузчиков производства японской компании TCM.
Погрузчики Nissan
Полувековой опыт разработки и производства погрузчиков сегодня реализован в лучших образцах спецтехники производства Nissan.В результате постоянного совершенствования технологий компания Nissan представляет вниманию потребителя погрузчик, обладающий следующими характеристиками: экологичность, комфорт, безопасность, простота эксплуатации, простота обслуживания, а также длительный срок службы.
Другие азиатские производители
Среди южнокорейских экспортеров Halla, Tong Hyung и Samsung и Daewoo последний, несомненно, является лидером корейской промышленности.
На внутренний рынок Daewoo поставляет ричтраки, электрические и вилочные погрузчики, штабелеры.
Hyundai вкладывает значительные средства в разработку новых моделей техники, что позволяет ей конкурировать со многими известными мировыми производителями.
Большая часть корейской техники изготавливается по японской лицензии, хотя в последнее время появляются образцы собственной разработки среднего качества.
2 460 000 руб. вилочный погрузчик Санкт-Петербург В наличии. Возможна продажа в лизинг. Есть 10% субсидия от Минпромторга. Вилочный погрузчик ТВЭКС ВП 05 предназначен для погрузочно-разгрузочных работ в промышленности, строительстве, на транспорте и складском хозяйстве.ВП-05 оснащен дизельным двигателем мощностью 60 кВт, гидростатическая трансмиссия облегчает работу в стесненных условиях. Комфортабельная кабина может быть выполнена как в остекленном, так и в каркасном исполнении. Погрузчик сохраняет работоспособность в диапазоне температур окружающего воздуха от -40С до +40С.
Для погрузчика имеется большой комплект сменного рабочего оборудования (уширенная каретка, ковш, крюковая подвеска стрелы). Технические характеристики Эксплуатационная масса, кг 7800 Мощность двигателя, кВт 59,6 Скорость движения, км/ч 20 Габаритные размеры, мм (л/ш/ч) 4700 / 2100 / 2650 Грузоподъемность номинальная, кг 5000 Давление в пневмосистеме, МПа 0.6 -0,7
Техинком Питер
09.05.2019 НМЗ GEKA D50 Новая технология 2 600 000 руб. вилочный погрузчик Санкт-Петербург 5-тонный новый дизельный погрузчик по лучшей цене в России! Высота подъема 3,3 метра. Теплая кабина. Высокий клиренс. Приходите на осмотр. Есть много вариантов грузоподъемности на выбор! Отгрузка по России. СПОРТСМЕН 7 лет на площадке 09.05.2019
Вилочный погрузчик RM-Terex VP-05 Новая технология 1 100 000 руб. Омск Вилочных погрузчиков Королевская, 1.5 тонн, 2017 г. Дизель, газ/бензин. Грузоподъемность от 1,0 до 1,5 тонн. Высота подъема 3 метра. Двигатель NISSAN K21, ISUZU C240 / коробка передач / насос / гидрораспределитель / гидроцилиндры – Япония.
Преобразователь / шины / способ покраски / РВД – США Крышки гидроцилиндров наклона / Светодиодные фонари / ходовые огни / маяк / необслуживаемый аккумулятор / шумо-виброизоляция капота / регулируемая рулевая колонка / замедление опускания и подъема мачты в крайних положениях / замена радиатора двигателя без демонтажа противовеса / уменьшенный руль.Гарантия 1 год. Лизинг. СКИДКИ!
Сибирский центр грузчиков
6 лет на сайте
11.05.2019 Вилочный погрузчик RM-Terex VP-05 Новая технология 2 465 000 руб. Новосибирск, Томск Вилочный погрузчик RM-Terex VP-05 Запсибстройдормашсервис 7 лет на сайте 08.05.2019
НМЗ GEKA D30 Новая техника 800 000 руб. Вилочный погрузчик Екатеринбург Продам вилочный погрузчик 3т. Торговая марка GEKA. Торговля. Расширенная гарантия. Подробности по телефону. 30.04.2019
ТВЕКС ВП-05 Новая технология 2 400 000 руб. вилочный погрузчик Москва Автопогрузчик RM TEREX (РМ ТЕРЭКС) ВП 05 производства ЗАО «Тверской экскаватор» (ТВЭКС) предназначен для выполнения погрузочно-разгрузочных работ в промышленности, строительстве, на транспортных и складских объектах.
ВП-05 оснащен дизельным двигателем мощностью 60 кВт, гидростатическая трансмиссия облегчает работу в стесненных условиях. Удобная кабина может быть выполнена как в остекленном исполнении, так и в каркасном. Погрузчик ТВЭКС ВП 05 сохраняет свою работоспособность в диапазоне температур окружающего воздуха от -40С до +40С. Для погрузчика имеется большой комплект сменного рабочего оборудования (уширенная каретка, ковш, крюковая подвеска стрелы). Технические характеристики Эксплуатационная масса, кг 7800 Мощность двигателя, кВт 59,6 Скорость движения, км/ч 20 Габаритные размеры, мм (л/ш/ч) 4700 / 2100 / 2650 Грузоподъемность номинальная, кг 5000 Давление в пневмосистеме, МПа 0.6 -0,7
Центр DST RM-TEREX 6 лет на месте
17.10.2018 Погрузчик Волга VP G18 Новая техника Цена по запросу вилочный погрузчик Нижний Новгород загрузчик в наличии. Все оборудование VP участвует в государственной программе субсидирования лизинга. Этот погрузчик доступен в лизинг от 26 000 руб/мес. У нас есть 10 вариантов лизинга без переплаты.
Контакт.
1 год на сайте
27.02.2018 Погрузчик Волга VP D15 Б/у 2009 300 000 руб. вилочный погрузчик Киров Погрузчик ВП Д15 производство Россия, Волжский погрузчик.Двигатель Япония Грузоподъемность 1500 кг Высота подъема 3000 мм Центр тяжести груза, мм 500 Погрузчик надежный, недорогой в эксплуатации 1 год на сайте 24.01.2018
Нмз GEKA Новая технология Цена по запросу вилочный погрузчик Невьянск Грузоподъемность от 1 до 10 тонн. Невьянский машиностроительный завод. 6 лет на сайте 19.07.2017
Погрузчик Волга ВП Д35 Новая техника Цена по запросу вилочный погрузчик Нижний Новгород Вилочные погрузчики VP D35 грузоподъемностью 3,5 тонны отличаются надежностью, высокой маневренностью и долгим сроком службы.Они предназначены для интенсивных погрузочно-разгрузочных работ в тяжелой промышленности и на грузовых терминалах и могут эффективно использоваться как внутри помещений, так и снаружи. В качестве силовой установки на погрузчиках используются оригинальные японские дизельные двигатели KUBOTA V3300 с низким уровнем выбросов, соответствующие стандартам TIER 2 и TIER 3.
Преимущества Высокая мощность. Простота обслуживания и долговечность. Комфорт оператора и отличный круговой обзор. Соответствие современным экологическим стандартам.
Волжский Погрузчик
5 лет на сайте
18.04.2017 Погрузчик Волга ВП Д30 Новая техника Цена по запросу вилочный погрузчик Нижний Новгород Вилочные погрузчики VP D30 грузоподъемностью 3.0 тонн надежны, маневренны и имеют длительный срок службы. Они предназначены для интенсивных погрузочно-разгрузочных работ в тяжелой промышленности и на грузовых терминалах и могут эффективно использоваться как внутри помещений, так и снаружи. Погрузчики оснащены оригинальными японскими дизельными двигателями KUBOTA V3300 с низким уровнем выбросов, которые соответствуют стандартам TIER 2 и TIER 3. Достоинства: Высокая мощность. Простота обслуживания и долговечность. Комфорт оператора и отличный круговой обзор. Соответствие современным экологическим стандартам.Волжский Погрузчик 5 лет на сайте 18.04.2017
Погрузчик Волга ВП Д25 Новая техника Цена по запросу вилочный погрузчик Нижний Новгород Погрузчики VP грузоподъемностью 2,5 тонны обладают всеми преимуществами нового модельного ряда.
Их отличительной чертой являются компактные габариты, отличная динамика и устойчивость. Вилочные погрузчики оснащены оригинальными японскими дизельными двигателями KUBOTA V2403 с низким уровнем выбросов, которые соответствуют стандартам TIER 2 и TIER 3. Эти двигатели надежны в работе, высокоэффективны и обеспечивают оптимальную работу погрузчика.Современная трансмиссия в сочетании с мощным двигателем и эффективными тормозами в масляной ванне делают эти вилочные погрузчики подходящими для загруженных производственных циклов на промышленных предприятиях, складах и в логистических центрах. Преимущества погрузчиков ВП Д25: Отличная динамика и управляемость. Стабильность первого класса. Простота обслуживания. Комфорт оператора и отличный круговой обзор. Соответствие современным экологическим стандартам. вилочный погрузчик
Саратов
1000 м/ч
Продам погрузчик Твекс ВП-05, грузоподъемность 5 тонн, в отличном состоянии.2004 очень холодный заводится без проблем. Все агрегаты полностью рабочие. Торговля уместна.
2 года на сайте
14.02.2017Вилочный погрузчик производства Россия. Российские вилочные погрузчики Российские вилочные погрузчики
Погрузчик – вид специальной техники, предназначенной для перевозки грузов различного вида и веса в пределах территории производственного предприятия или склада, а также применяемой в горнодобывающей промышленности, гражданском, дорожном и инженерном строительстве.
Рынок спецтехники представлен большим количеством марок и брендов, наиболее доступными по стоимости являются российские вилочные погрузчики.Современные технологии производства и использование качественных материалов для изготовления этого вида оборудования делают его одним из самых надежных и качественных.
1 Типы и назначение погрузчиков
Строительную площадку, парк техники предприятий ЖКХ, производственную или складскую площадку невозможно представить без погрузчиков. С их помощью осуществляется разгрузка и погрузка и перемещение товаров или сырья, их складирование на хранение.
В связи с тем, что в каждом конкретном случае к грузу относятся материалы различного вида, веса и назначения, существует и традиционная классификация вилочных погрузчиков.
Основными типами транспортных средств этого класса являются:
Производство вилочных погрузчиков в России ориентировано на удовлетворение потребностей потребителей в обоих основных видах погрузочной техники.
Как следует из названия, фронтальные погрузчики российского производства(и не только российского) комплектуются фронтальным агрегатируемым элементом, в основном по форме. Они предназначены для перевозки сыпучих материалов – песка, щебня, гравия, снега и т. д. Такие модели в основном приобретаются и сдаются в аренду дорожно-строительными, коммунальными предприятиями, а также востребованы в горнодобывающей и других отраслях промышленности, сельском хозяйстве… Некоторые модели имеют повышенную грузоподъемность и перевозят материалы весом до 16 тонн. В зависимости от области применения они могут быть оснащены колесным или .
В оснащении складских площадей и производственных цехов более востребован вилочный погрузчик. Вилочные погрузчики оснащены вилкообразным подъемным механизмом. Применяются для разгрузки и погрузки материалов на поддонах, их транспортировки в пределах склада или промышленной площадки. В отличие от передних моделей вилы с отличной грузоподъемностью имеют значительно меньшие размеры и большую маневренность… Они востребованы при оснащении супер- и гипермаркетов, портов, вокзалов, аэропортов и других учреждений. Популярен в этом сегменте техники и компактный самоходный агрегат, способный быстро перевозить грузы массой до 100-150 кг.
В России погрузчики производятся на многих предприятиях, среди которых Челябинский тракторный завод является лидером по объему производства и соотношению качества и стоимости. Если говорить о самых популярных моделях, то стоит обратить внимание на загрузчик ПК.Все модели этой серии спецтехники отличаются простотой в эксплуатации, производительностью, малой потребностью в обслуживании, надежностью и долговечностью.
2 Популярные модели
При выборе погрузочной спецтехники необходимо учитывать следующие факторы:
технические условия- , определяющие рабочие параметры и условия эксплуатации;
- ресурс работы, периодичность обслуживания;
- тип двигателя – от этой характеристики зависит возможность использования машины в помещении или на улице, возможность работы в условиях низких температур;
- грузоподъемность и допустимая высота перемещения груза в вертикальной плоскости;
- соблюдение требований безопасности и охраны труда; Цена
- .
Мы подготовили для вас краткий обзор самых востребованных в современных условиях погрузчиков российского производства, соотношение цены и качества которых мы считаем оптимальным.
2.1 ПКУ 08
Погрузчик ПКУ 08 малогабаритный фронтальный, агрегатируется с большинством моделей МТЗ, в частности с техникой 8 и 9 серий. Применяется для перевозки сыпучих материалов на небольшие расстояния (от снега и песка до гравия и графии), а также сена, соломы (в том числе в стогах), минеральных и органических удобрений.
Может комплектоваться ковшами различного объема (0,35/0,5 куб.м), грабельной решеткой и другими сменными рабочими органами, количество которых может достигать 15 разновидностей.
2,2 шт. 27
Погрузчик ПК 27 – переднеприводная модель с большим полезным объемом ковша (1,35/1,5 куб.м). Незаменим в сельском хозяйстве, так как комплектуется широким спектром оборудования различного назначения – снегоуборщиком, вилами, отвалами, ковшами, грейферами, монтажными крюками.Особенностью модели является возможность увеличения параметров высоты выгрузки, что делает ее универсальной.
2,3 шт. 30
ПК 30 применяется при выполнении земляных работ. Помимо классических функций, эта модель самостоятельно обрабатывает грунт в процессе отсыпки валов или насыпей и используется как альтернатива компактному бульдозеру. При меньших габаритах и массе по сравнению с экскаваторами машина обладает более высокой грузоподъемностью и маневренностью даже в небольшом закрытом помещении (строительная площадка).
2,4 шт. 33
Погрузчик ПК 33 — фронтальная одноковшовая машина с ковшом 1,8 м.куб. и грузоподъемностью до 3,3 т в зависимости от модификации. Развивает скорость при движении вперед (4 передачи) и назад (2 передачи) соответственно 40 и 23 км/ч, благодаря чему считается одной из самых производительных моделей.
2,5 шт. 40
Погрузчик ПК 40 относится к категории самоходной одноковшовой техники и используется при проведении землеройных и планировочных работ.Широкий выбор рабочих органов, процесс замены которых прост и эффективен, также используется для очистки улиц от снега, веток, выполнения такелажных, монтажно-строительных работ, перевозки длинномерных конструкций и грузов.
2,6 шт. 46
Погрузчик PK 46 — это универсальная высокопроизводительная машина, способная конкурировать. Он востребован в строительной, горнодобывающей и коммунальной сферах. Оснащена пневматическими колесами, обеспечивающими дополнительное тяговое усилие — например, в эквиваленте песка эта модель одновременно перевозит до 5 тонн груза.
2,7 шт. 65
Модель 65 используется для земляных работ и является лидером в своем сегменте. При высоких характеристиках он имеет относительно небольшой вес, оптимизированную конструкцию и оснащение. Он прост в эксплуатации и удобен для водителя за счет использования в производственном процессе высокотехнологичных современных материалов и систем отопления и вентиляции. Машина ПК 65 маневренная и скоростная, работает также в закрытых помещениях в гражданском и дорожном строительстве.
2.8 Универсальный российский мини-погрузчик Multix (видео)
11215 26.03.2019 6 минутПК-30, Уральский завод
Погрузчик ПК-30
- масса машины – 10700 кг;
- грузоподъемность от 2,7 до 4 тонн;
- тип дизельного двигателя;
- мощность 122 л.с.;
- максимальная скорость 35 км/ч; объем ковша
- – 1,6 куб.м.; Ширина режущей кромки ковша
- – 2450 мм.
Преимущества технологии:
- высокая надежность;
- высокая производительность;
- возможность функционирования в сложных условиях;
- низкая стоимость по сравнению с аналогичным оборудованием зарубежного производства; Производство
- с применением инновационных технологий.

Дефекты:
- отсутствие защиты в местах соединения подъемного механизма от пыли и грязи, которые становятся абразивными и могут привести оборудование в негодность на несколько лет;
- без защиты шлангов. Если какой-либо предмет упадет между кабиной оператора и ковшом, это может привести к повреждению гидравлической системы или рулевого управления.
Цена такого оборудования от производителя 2,5 млн руб. … Если приобретать данное оборудование через посредников или дилеров, то его цена может быть в пределах 3 млн. руб.
Спецтехника данной модели представляет собой современную производительную машину, которая быстро и качественно выполнит любые погрузочно-обрабатывающие работы.
Высокая мощность и грузоподъемность оборудования позволяет поднимать большую массу груза. Активно используется в дорожном строительстве.
Terex TL65, Орловский завод
Российский погрузчик Terex TL65
Технические характеристики данной техники включают:
- малые габариты, вес аппарата 9900 кг;
- грузоподъемность 1.
5 тонн; - тип дизельного двигателя;
- мощность 85 л.с.; объем ковша
- – 0,9 куб.м.; Ширина режущей кромки ковша
- – 1200 мм.
Преимущества:
- габаритная ширина (1700 мм), позволяет работать на узких строительных площадках;
- надежность;
- высокая производительность;
- способность функционировать в различных производственных условиях;
- низкая цена автомобиля по сравнению с аналогичной спецтехникой зарубежного производства;
- не требует особого ухода при эксплуатации;
- использование новейших технологий в производстве отдельных элементов и систем.
Дефекты:
- в связи с небольшими размерами не допускается использование оборудования в тяжелых условиях работы;
- незащищенные шланги;
Цена:
Если заказать такую модель спецтехники у производителя, то заплатить придется не более 1,8 млн руб.
В зависимости от местонахождения дилера стоимость такого автомобиля может варьироваться от 2.0 до 2.2 миллиона рублей.
Современный технологичный дизайн, техническая надежность и малые габариты позволяют ему быть востребованной моделью на рынке подобной спецтехники. Высокий спрос обусловлен низкой ценой и множеством достоинств этой машины.
Все преимущества самого большого автокрана в мире – .
“Кировец” К-702МА-ПК6, Санкт-Петербург
Технические характеристики машины:
- масса машины – 21000 кг;
- грузоподъемностью около 6 тонн;
- тип дизельного двигателя;
- мощность 125 л.с.;
- максимальная скорость 39 км/ч; объем ковша
- – 4 куб.м.; Ширина режущей кромки ковша
- – 3200 мм.
“Кировец” К 702 МА-ПК6
Преимущества специального оборудования:
- многофункциональность;
- высокая надежность;
- можно использовать при низких (до -40 градусов) и высоких (до +40 градусов) температурах воздуха;
- низкая стоимость;
- Не требует особого ухода;
- возможность использования в различных производственных условиях.

Недостатки данной спецтехники:
- незащищенные шланги;
- невозможность работы со связными и плотными грунтами.
Стоимость автомобиля в пределах 2,0 млн руб.
Такое спецоборудование предназначено для работы с мелкокусковыми и сыпучими материалами. Отлично выполняет любые работы, связанные с погрузкой, разгрузкой, уборкой. Если оснастить станок специальным захватом с пассатижами, то его можно использовать на деревообрабатывающем предприятии в качестве штабелеукладчика.
ЗТМ 216А (АРТ), Ростовская область
Характеристики этой модели:
- масса машины – 17000 кг;
- грузоподъемность около 3.5 тонн;
- тип дизельного двигателя;
- мощность 115 л.с.;
- максимальная скорость 30 км/ч; Вместимость ковша
- – от 1,7 до 2,0 куб.м.; Ширина режущей кромки ковша
- – 2400 мм.
Технические преимущества:
- высокая производительность и надежность;
- низкий расход топлива;
- отличная грузоподъемность;
- джойстик управления в кабине оператора;
- защита от опрокидывания кабины и от падения предметов.

Недостатки модели:
- вместимость малого ковша;
- низкая скорость движения;
- невозможность работы со связными и плотными грунтами.
Стоимость такой спецтехники находится в пределах 1,7 – 1,85 млн руб.
Этот колесный погрузчик подходит для трех моделей двигателей и двух моделей. гидромеханические трансмиссии. Активно используется на складах и в сельском хозяйстве.
За счет смены рабочих органов эту технику можно использовать в портах, карьерах, лесоперерабатывающей промышленности и так далее.
Четра-60 и Четра-К12, Чебоксарский завод “Промтрактор”
Технические характеристики этих двух популярных моделей от этого производителя следующие:
- грузоподъемность от 6 до 12 тонн;
- вес снаряжения – 22900 кг; Вместимость ковша
- – от 5,5 до 6,8 куб.м.;
- тип дизельного двигателя;
- мощность 238 л.
с.; - максимальная скорость 30 км/ч; Ширина режущей кромки ковша
- – 2500 мм.
Преимущества данной техники заключаются в следующих параметрах:
- высокая производительность;
- отличная маневренность;
- мобильность;
- транспортабельность;
- простая конструкция;
- большой набор опций;
Недостатки спецтехники:
- невозможность работы со связными и плотными грунтами.
Стоимость такого фронтального погрузчика Российский вилочный в пределах 1.7 – 1,95 млн руб. (сравните с ценой вилочного погрузчика).
Такая спецтехника отлично справляется с планировкой площадок, выгрузкой в отвал или на транспорт и с погрузкой и разгрузкой штучных грузов. Активно используется на складах, в различных карьерах и портах, а также в коммунальном хозяйстве и сельском хозяйстве.
Амкодор 333б
Преимущества модели:
- высокая производительность;
- отличная маневренность;
- рентабельность;
- компактность оборудования;
- мобильность;
- транспортабельность;
- простая конструкция;
- большой набор опций;
- надежность гидравлической конструкции и системы управления.

Недостатки спецтехники:
- невозможность работы машины на связных и плотных грунтах.
Большинство дилерских компаний продают эту машину в пределах 2,2-2,3 млн руб.
Эта машина выпускалась в постсоветское время на заводе “Амкодор” в Белоруссии. Но до сих пор он имеет отличные технические характеристики и пользуется большой популярностью у строительных и дорожных компаний нашей страны.
Инженеры компании выбрали такую производственную линию, благодаря которой техника получилась с максимальной эффективностью при простоте конструкции машины.
Что делать, чтобы машину не забрал эвакуатор – узнайте на .
Заключение
В заключение следует отметить, что многие фронтальные погрузчики российского производства могут проигрывать такой импортной технике в компоновке кабины оператора и наборе опций.Но по практичности, надежности и стоимости обслуживания таким отечественным моделям нет равных.
Отличные характеристики и экономичность, компактность и простота в эксплуатации, а также достойная цена на фронтальные погрузчики российского производства помогают этой технике стать популярной среди строительных и дорожных компаний.
Мы определили пятерку самых популярных производителей вилочных погрузчиков, которые используются на складах, терминалах и в логистических центрах России.
Представленные вилочные погрузчики – лучший выбор по соотношению цена/качество, они надежны и неприхотливы.Именно поэтому многие российские компании выбирают их в качестве своих основных помощников на складе.
Если вы находитесь на этапе выбора вилочного погрузчика для своего бизнеса, и не можете определиться с выбором производителя, этот обзор может быть вам полезен!
№ 1. Вилочный погрузчик Komatsu
Вилочные погрузчики Komatsu модели используются на различных многоярусных складских площадках и на открытых площадках. Эти машины очень удобны при выполнении подъемно-разгрузочных работ на автомобильном, железнодорожном и других видах транспорта.
Часто погрузчики этой марки осуществляют подачу продукции на транспортную линию и ее транспортировку с конвейера на предприятиях, производящих строительные материалы.
Стоимость нового дизельного погрузчика Komatsu грузоподъемностью 5 тонн 1 300 000 – 1 400 000 руб.
Погрузчик б/у с дизельным двигателем грузоподъемностью 1,5 тонны стоит около 500 000 рублей.
# 2. Вилочный погрузчик Hyundai
Вилочные погрузчики Hyundai модельного рядаV отличаются машинами для складского, портового и промышленного назначения.Они способны выполнять грузоподъемные операции с грузами массой в пределах 1 – 5 тонн. Этим и объясняется востребованность погрузчиков этой компании для подъема, складирования или разгрузки рулонов, грузов на паллетах, контейнеров и товаров в нестандартной упаковке.
Цены на новые дизельные погрузчики грузоподъемностью 5 тонн 2 000 000 – 2 200 000 руб.
Подъемное машинное дизельное топливо б/у грузоподъемностью 2000 кг можно приобрести по цене 1 200 000 – 1 300 000 руб.
№ 3. Вилочный погрузчик Linde
Вилочные погрузчики Lindeиспользуются потребителями в различных отраслях промышленности.
Машины с увеличенной высотой кабины используются различными компаниями по производству напитков.
Для литейных производств выпускаются грузоподъемные механизмы, имеющие разную степень защиты от воздействия очень высоких температур.
Подъемное оборудование этой марки также используется в производстве бумаги. Модели оснащены устройствами, препятствующими наматыванию бумажных волокон на вращающиеся части загрузчика.
Новый электропогрузчик Linde грузоподъемностью 1,8 тонны стоит от 600 000 до 700 000 рублей.
Подержанный электромобиль можно купить дешевле в пределах 450 000 руб.
№ 4. Вилочный погрузчик Heli
Вилочные погрузчики Heli, работающие с грузами массой до 5 тонн, с большим успехом используются в низкотемпературных помещениях, в помещениях для хранения косметики и фармацевтических препаратов, супермаркетах и гипермаркетах, а также на стеллажных складах.
закрытого типа. Большегрузные автомобили грузоподъемностью до 16 тонн используются для подъемно-разгрузочных работ в портовых районах.
Продажа новых дизельных моделей грузоподъемностью 1,5 тонны осуществляется по цене 500 000 – 600 000 руб.
Погрузчики б/у можно купить за 250 000 – 350 000 руб.
№ 5. Вилочный погрузчик Mitsubishi
Вилочные погрузчики Mitsubishi, оснащенные малошумным дизельным двигателем, характеризует низкая токсичность выхлопных газов, но чаще всего они используются на подвесных площадках или открытых складских помещениях.Для работы с таким погрузчиком в закрытом складе необходима мощная принудительная вентиляция.
Для работы в ограниченном пространстве лучше всего подходят электропогрузчики, не имеющие вредных выхлопных газов.
Купить новый вилочный погрузчик Mitsubishi с дизельным двигателем грузоподъемностью 2,5 тонны можно по цене 850 000 – 950 000 рублей.
Б/у дизельная грузоподъемная техника той же грузоподъемности будет стоить 600 000 – 700 000 руб.
Напоминаем, что вилочные погрузчики поставляются с двигателем внутреннего сгорания и электроприводом… Вы также можете выбрать погрузчик с необходимой грузоподъемностью и высотой подъема груза. Узнайте больше о том, какой вилочный погрузчик выбрать.
Если вам нужен погрузчик для склада грузоподъемностью до 3-х тонн, то рекомендуем вам присмотреться к этому.
Вы можете купить вилочный погрузчик одного из вышеперечисленных производителей, обратившись в одну из компаний (официальных дилеров), представленных на нашем сайте.
Современный мировой рынок специальной техники, применяемой в строительстве и других работах, связанных с транспортировкой, погрузкой и разгрузкой грузов, представлен производителями погрузчиков, которые подразделяются на четыре основные группы: американские производители, европейские, японские и другие азиатские производители специальное оборудование.
американских производителей
американских производителя представлены такими компаниями, как Yale, Baker, Towmo-tor, Clark и Hyster, которые являются старейшими пионерами вилочных погрузчиков.
Правда, сегодня спецтехника этих фирм на российском рынке практически отсутствует… Среди американских вилочных погрузчиков следует обратить внимание в первую очередь на Bobkat, Caterpillar и New Holland.
производятся одноименной компанией, которая специализируется на малогабаритной технике… Погрузчики Bobkat представлены пятью базовыми моделями… Компания также выставляет широкий спектр навесного оборудования… Благодаря компактным размерам погрузчики Bobkat поистине универсальны и практически незаменимы в случаях, когда невозможно или затруднительно использовать крупногабаритные габаритное спецоборудование. Основными преимуществами погрузчиков Bobkat являются их универсальность, высокая производительность и возможность быстрой замены навесного оборудования.
Погрузчики Caterpillar производятся корпорацией, известной своей землеройной и инженерной техникой.Имея более четырехсот пятидесяти подразделений по всему миру, корпорация Caterpillar сегодня является лидером по объему реализуемой продукции.
производства Пенсильвании зарекомендовали себя как надежные и простые в эксплуатации. Универсальность экскаваторов-погрузчиков New Holland заключается в том, что они могут выполнять не только земляные работы, но и эффективно решать погрузочно-разгрузочные задачи с помощью грейфера или ковша. Погрузчики New Holland отличаются большой грузоподъемностью и маневренностью, что учитывается при определении области применения этой техники.
Европейские производители
Европейские производители вилочных погрузчиков представлены в основном немецкими компаниями, такими как Still, Jungheinrich и Linde. Правда, стоит отметить, что из-за широкого распространения на западном рынке строительной и складской техники азиатские вилочные погрузчики в настоящее время продают ассортимент продукции немецких компаний не особенно широко.
Штифтовые погрузчики – воплощение немецкого качества. Эта спецтехника не только очень надежна, но и безопасна в эксплуатации.
Именно поэтому погрузчики Still пользуются заслуженной популярностью и авторитетом во всем мире. При этом данная спецтехника отличается высокой степенью эффективности и эффективно решает поставленные задачи практически в любых условиях. Еще производит спецтехнику разных видов: штабелеры, электропогрузчики, электротележки, вилочные погрузчики и др.
Отдельно следует упомянуть о таких погрузчиках, как Балканкар, хорошо известных на российском рынке еще со времен Советского Союза…Сегодня болгарская спецтехника не пользуется особой популярностью, так как ей сложно конкурировать с более именитыми производителями. Отличительными чертами вилочных погрузчиков Балканкар является дешевый рынок запчастей, налаженная служба ремонта и простота конструкции.
японских производителей
Одними из лидеров мирового рынка спецтехники являются японские производители. Продукцию японских компаний отличает высокая эксплуатационная надежность, широкий ассортимент комплектующих и доступная цена.
.. В авангарде японской спецтехники стоят такие всемирно известные бренды, как TCM, Mitsubishi, Nissan, Toyota и Komatsu.
Погрузчики компании ТСМ отлично зарекомендовали себя в российских условиях, отличаются высокой надежностью и экономичностью. Спецтехника ТСМ предназначена для выполнения широкого спектра работ, в том числе складирования и перевозки грузов. Среди преимуществ, отличающих погрузчики TCM, можно выделить простоту эксплуатации, экологичность, оптимальное соотношение цены и качества, надежность и маневренность.
Вилочные погрузчики Mitsubishiдавно пользуются популярностью у покупателей. Своеобразной «визитной карточкой» бренда Mitsubishi является качество и надежность продукции, а также максимальное внимание к потребностям клиента. Поскольку корпорация придерживается очень строгих стандартов качества, вилочные погрузчики Mitsubishi обладают практически стопроцентной надежностью, в которой простая техника является исключением из правил.
Пятидесятилетний опыт Nissan в разработке и производстве вилочных погрузчиков не пропал даром.
Постоянное совершенствование технологий позволяет этой японской компании создавать превосходную технику, которая является экологически чистой, простой в эксплуатации и обслуживании. Погрузчики Nissan удобны, безопасны и имеют долгий срок службы.
Концерн Toyota занимается производством строительной и складской спецтехники с шестидесятых годов прошлого века. За это время Toyota стала лидером в производстве вилочных погрузчиков и остается лидером в этой области по сей день. Благодаря эксклюзивной системе производства, разработанной специалистами компании, Тойота выпускает спецтехнику, в которой практически невозможно найти изъяны.При разработке конструкций погрузчиков инженеры компании учитывают все нюансы, которые могут возникнуть в процессе эксплуатации. Продукция Toyota ориентирована на максимальное удовлетворение потребностей клиента, а потому является гарантией качества.
Погрузочная техника импортного производства в изобилии хранится на рынке спецтехники РФ. Только в последние годы долевое участие в производстве и модернизации машин класса отечественной марки приближается к 5 процентам.
Однако уже сегодня можно объективно выделить целые линейные предприятия, которые в активном производственном потоке изготавливают вилочный погрузчик российского производства , отвечающий требованиям современного рынка, например, для продажи.
Ярким примером является Группа компаний «Волжский погрузчик», производственные мощности которой в Нижнем Новгороде позволяют выпускать погрузчики VP по тайваньской лицензии. На данный момент список выпускаемых моделей в линейке достигает 30 штук.В этом ассортименте богаты бензиновые, электрические и газовые автомобили, позволяющие работать с грузом от 1,5 до 10 тонн. Примечательно, что на этом же заводе выпускаются, например, устройства с дизельным приводом и трансмиссией, для работы с грузом до 3,5 тонн и подъемом вил до 6 метров.
Не менее заметных успехов добились работники ООО «Владимирский моторно-тракторный завод», который с 1945 года является крупным производственным звеном российского специального автомобилестроения.
Например, именно здесь производятся самоходные шасси, которыми комплектуется вилочный погрузчик Россия ВТЗ-30СШ-ПВ.Уникальная подъемная установка работает с объемом до 1 тонны и способна поднимать багаж на высоту 2,8 метра.
Среди наиболее знаковых предприятий-производителей стоит упомянуть об АО «Петербургский тракторный завод», станкостроение, на котором он основан с 1927 года. В настоящее время завод выпускает мировую линейку сельскохозяйственной, дорожно-строительной и погрузочно-разгрузочной техники на свой собственный. Относительно последних можно выделить три модели — это отечественные вилочные погрузчики , способные работать с грузом до 5 тонн на высоте до 3 метров.В этом нет никаких сомнений – это лидерская техника!
Еще одним классным представителем производственной сферы по выпуску спецтехники является ОАО «МЗ им. М.И. Калинина», где производство электропогрузчиков было основано в 1956 году. В процессе реформирования производства уже в 1994 году налажен выпуск вилочных электропогрузчиков российского производства, оснащенных современными дизельными.
.. Примечательно, что выпускаемые модификации погрузочных машин с оптимизированной компоновкой противовеса не имеют аналогов в европейском автомобилестроении и по сей день.
В общем, если вы ставите перед собой цель переоснастить или оснастить свой автопарк современными вилочными погрузчиками российского производства, то эта миссия легко выполнима. Отечественные модели во многом превосходят зарубежные аналоги, получая от российского производителя не только возможность купить погрузчик по доступной цене, но и не иметь проблем с оперативной техподдержкой.
Грузчик фруктов, добытчик хлеба, медалист. Мечтатель
КАРАЧИ: История жизни Маратиба — это мечта.В 1997 году в маленьком приграничном городке Касур 16-летний подросток, единственный кормилец своей семьи, загружал фрукты в фургоны, чтобы поставить еду на стол. Семнадцать лет спустя он гордился тем, что стал лучшим бойцом вольного стиля Пакистана, заняв пьедестал с флагом страны на плечах на Азиадах.
Из контингента из 239 человек Маратиб стал первым пакистанцем в этом году в Инчхоне, выигравшим медаль, завоевав маловероятную бронзу в ушу в весовой категории 70 кг.
Ушу — форма традиционного китайского боевого искусства, напоминающая кикбоксинг и тайский бокс.Проще говоря, как определил сам Маратиб, ушу — это бой в свободном стиле, в котором игрок может использовать все, кроме колена и локтя, чтобы нокаутировать своего противника.
«Слишком занят борьбой с тяжелыми временами, как будто я не спал все эти годы», — сказал Маратиб The Express Tribune . «Сейчас мне 33 года. Все эти годы, хорошие и плохие, кажутся одним долгим путешествием наяву. От погрузки фруктов в грузовики и работы на фабрике по производству нитей до тренировок по ушу и завоевания медали Азиатских игр; Я чувствую, что совсем не спал.Все это время я преследовал свои мечты, балансируя между стремлением стать профессиональным бойцом и обеспечением своей семьи».
По словам Маратиба, его самой большой мечтой было соревноваться в смешанных единоборствах (MMA) и боях UFC, в которых участвуют игроки со всего мира, а также предлагаются прибыльные денежные призы за каждый бой.
Чтобы продолжить карьеру в вольной борьбе, Маратибу нужно было уехать за границу, что он не мог себе позволить. Однако он был полон решимости найти способ зарабатывать деньги с помощью ушу, даже если это означало сражаться только на региональном уровне.
«Легко жаловаться или злиться», — сказал Маратиб, дебютировавший за Пакистан на Южноазиатских играх 2006 года. Там он выиграл золотую медаль в соревнованиях Санда; бой один на один. «Несмотря на случайные заработки, которые я выполнял, чтобы прокормить свою семью, я был благословлен тем, что меня представили Мухаммаду Рамзану, который руководил китайской академией боевых искусств ушу кунг-фу в Касуре. Он был тем, кто официально познакомил меня с правилами и спортом».
Маратиб тренируется не менее четырех часов каждый день и уделяет пристальное внимание своему рациону, следя за тем, чтобы он получал достаточно белка и мяса для поддержания своей мышечной массы.
Став частью клуба, он начал дружить с другими спортсменами, а его тренер помогал ему с тренировками и личными проблемами.
Теперь они часть его; тренер и игроки — его семья, клуб — его дом, спорт — его жизнь.
«Что такое вольная борьба?» — спросил Маратиб. «Даже на международном уровне, в MMA и VCL, большинство бойцов родом из бедных семей. Я тоже один из них. Будучи единственным кормильцем для своей семьи, у меня была своя доля трудностей.Помимо того, что в 16 лет я работал грузчиком, я готовил дома, так как моя мать была нездорова, а отца я потерял в 11 лет. У меня были младшие братья и сестры, и мне тоже приходилось о них заботиться. Но когда я приходил в клуб и дрался, я чувствовал себя как дома».
33-летний мужчина считает, что спорт привлекает все больше и больше спортсменов, поскольку мальчики направляют свою дополнительную энергию на что-то позитивное, например, на ушу.
«Ушу — это дисциплина. Моя страсть — оставаться верным этому. Есть ограничения, и есть код.Так что вольная борьба также требует от нас соблюдения техники и кодекса», — сказал Маратиб. «Матч длится пять минут, но обычно становится очень тяжелым.
Этот вид спорта тоже многому научил меня в жизни. Это как узнать о наших ограничениях».
Маратиб продолжал впечатлять после своего дебюта, завоевав невероятную бронзу на Азиатских играх 2006 года в весовой категории до 65 кг. Он также смог успешно защитить свой титул на играх SAF 2011 года.
Благодаря почти безупречной стратегии и хрестоматийной технике феноменальный рост Маратиба в национальной гонке никогда не был сюрпризом для тех, кто видел его тренировки.Он особенно известен своими быстрыми ударами, позволяющими застать противника врасплох.
Маратиб сказал, что он, возможно, не смог бы стать профессиональным бойцом фристайла в ММА, но, преследуя свою страсть, ему тоже было легко зарабатывать для своей семьи.
«Я получил работу в Wapda в 2000 году. В конце концов, благодаря ушу. Я позаботился о том, чтобы стать одним из лучших спортсменов в этом виде спорта, и Вапда нанял меня», — сказал он. «Мне предложили драться в Китае, но я не мог уехать, так как был единственным кормильцем для своей семьи и поэтому не мог бросить работу.
Это был выбор, навязанный мне, но я не огорчен».
Азиатские игры 2014 года в Инчхоне были последним разом, когда мир видел, как этот мальчик из маленького городка
участвует в Играх, и теперь он будет
сконцентрирован на национальных чемпионатах. Не сумев реализовать свою мечту о соревнованиях в ММА, Маратиб теперь надеется, что сможет воплотить ее в жизнь с помощью одного из своих учеников из Касура.
«Я хочу, чтобы один из моих учеников достиг самого высокого уровня прямо сейчас», — сказал он. «У меня 25 ребят в Касуре, где мы тренируемся.Я считаю, что мне суждено было выиграть медали на Азиатских играх, но мои ученики могут выиграть более крупные соревнования».
Опубликовано в Экспресс-трибуне, 9 декабря TH , 2014.
9Как Спорт на Facebook , Следуйте @etribunesports в Twitter, чтобы оставаться в курсе и присоединиться к разговору.
.

/с загрузкой, км/час
см (L&T Construction Ion Equipment/GST# 29aaacl4175c1zn/inv#1
28.06.2018 гст жесть №08aadcg8140 r1z1


/683b96b384c6fd7.ru.s.siteapi.org/img/1063c55ed5a56aa75f369e4abe452860dd7f905e.jpg)





/683b96b384c6fd7.ru.s.siteapi.org/img/d873246a041598f3d63f1953e80dcf2726790cd8.jpg)
00
00
00
50
50
00
00 
5 тонн;





5 тонн;


Добавить комментарий