Π‘Π΅ΠΊΡΠΈΡ ΠΊΡΠ°Π½Π° Π±Π°ΡΠ΅Π½Π½ΠΎΠ³ΠΎ β ΠΠ°ΡΠΈΡΠ° ΠΎΡ ΡΠΎΠ±ΠΎΡΠΎΠ²
ΡΠΎΠ΅Π΄ΠΈΠ½Π΅Π½ΠΈΠ΅ ΠΏΠΎΡΡΠΎΠ² ΡΠ΅ΠΊΡΠΈΠΉ Π±Π°ΡΠ½ΠΈ Π±Π°ΡΠ΅Π½Π½ΠΎΠ³ΠΎ ΠΊΡΠ°Π½Π° – ΠΏΠ°ΡΠ΅Π½Ρ Π Π€ 2257334
ΠΠ·ΠΎΠ±ΡΠ΅ΡΠ΅Π½ΠΈΠ΅ ΠΎΡΠ½ΠΎΡΠΈΡΡΡ ΠΊ ΡΠΎΠ΅Π΄ΠΈΠ½Π΅Π½ΠΈΡΠΌ ΠΌΠ΅ΡΠ°Π»Π»ΠΎΠΊΠΎΠ½ΡΡΡΡΠΊΡΠΈΠΉ Π³ΡΡΠ·ΠΎΠΏΠΎΠ΄ΡΠ΅ΠΌΠ½ΡΡ ΠΌΠ°ΡΠΈΠ½, Π² ΡΠ°ΡΡΠ½ΠΎΡΡΠΈ ΠΊ ΡΠΎΠ΅Π΄ΠΈΠ½Π΅Π½ΠΈΡΠΌ ΠΏΠΎΡΡΠΎΠ² ΡΠ΅ΠΊΡΠΈΠΉ Π±Π°ΡΠ΅Π½ Π±Π°ΡΠ΅Π½Π½ΠΎΠ³ΠΎ ΠΊΡΠ°Π½Π°. Π‘ΠΎΠ΅Π΄ΠΈΠ½Π΅Π½ΠΈΠ΅ ΠΏΠΎΡΡΠΎΠ² ΡΠ΅ΠΊΡΠΈΠΉ Π±Π°ΡΠ½ΠΈ Π±Π°ΡΠ΅Π½Π½ΠΎΠ³ΠΎ ΠΊΡΠ°Π½Π° Π²ΠΊΠ»ΡΡΠ°Π΅Ρ Π²ΡΠΏΠΎΠ»Π½Π΅Π½Π½ΡΠΉ ΠΈΠ· Π²Π΅ΡΡ Π½Π΅Π³ΠΎ ΠΈ Π½ΠΈΠΆΠ½Π΅Π³ΠΎ ΠΊΠ»ΠΈΠ½ΡΠ΅Π² Π·Π°ΠΌΠΎΠΊ, ΠΊΠΎΡΠΎΡΡΠΉ ΡΠ°ΡΠΏΠΎΠ»ΠΎΠΆΠ΅Π½ Π² ΠΎΡΠ²Π΅ΡΡΡΠΈΡΡ Π²Π½ΡΡΡΠ΅Π½Π½Π΅ΠΉ ΠΈ Π½Π°ΡΡΠΆΠ½ΡΡ ΠΏΡΠΎΡΡΠΈΠ½ ΠΏΠΎΡΡΠΎΠ² ΡΠ΅ΠΊΡΠΈΠΉ Π±Π°ΡΠ½ΠΈ, ΠΈ ΡΠΈΠΊΡΠ°ΡΠΎΡ Π·Π°ΠΌΠΊΠ°. ΠΡΠΈ ΡΡΠΎΠΌ Π½Π° ΠΎΠ΄Π½ΠΎΠΌ ΠΈΠ· ΠΏΠΎΡΡΠΎΠ² Π·Π°ΠΊΡΠ΅ΠΏΠ»Π΅Π½ Π΄Π΅ΡΠΆΠ°ΡΠ΅Π»Ρ Π·Π°ΠΌΠΊΠ° Π² Π½Π΅ΡΠ°Π±ΠΎΡΠ΅ΠΌ ΠΏΠΎΠ»ΠΎΠΆΠ΅Π½ΠΈΠΈ ΠΏΠΎΡΠ»Π΅Π΄Π½Π΅Π³ΠΎ, Π° ΡΠΈΠΊΡΠ°ΡΠΎΡ ΡΠ²ΡΠ·Π°Π½ Ρ ΡΠΏΠΎΠΌΡΠ½ΡΡΡΠΌ Π΄Π΅ΡΠΆΠ°ΡΠ΅Π»Π΅ΠΌ ΠΈ Π·Π°ΠΌΠΊΠΎΠΌ. Π ΡΠ΅Π·ΡΠ»ΡΡΠ°ΡΠ΅ ΠΏΠΎΠ²ΡΡΠ°Π΅ΡΡΡ ΠΏΡΠΎΡΠ½ΠΎΡΡΡ ΠΈ Π½Π°Π΄Π΅ΠΆΠ½ΠΎΡΡΡ ΡΠΎΠ΅Π΄ΠΈΠ½Π΅Π½ΠΈΡ ΠΏΠΎΡΡΠΎΠ² ΡΠ΅ΠΊΡΠΈΠΉ Π±Π°ΡΠ½ΠΈ, Π° ΡΠ°ΠΊΠΆΠ΅ ΠΏΠΎΠ²ΡΡΠ°Π΅ΡΡΡ ΡΠ΄ΠΎΠ±ΡΡΠ²ΠΎ ΠΌΠΎΠ½ΡΠ°ΠΆΠ° Π±Π°ΡΠ½ΠΈ ΠΈ ΡΠ½ΠΈΠΆΠ΅Π½ΠΈΠ΅ ΡΡΡΠ΄ΠΎΠ΅ΠΌΠΊΠΎΡΡΠΈ ΠΌΠΎΠ½ΡΠ°ΠΆΠ½ΡΡ ΡΠ°Π±ΠΎΡ. 6 Π·.ΠΏ. Ρ-Π»Ρ, 8 ΠΈΠ».

Π‘ΠΎΠ΅Π΄ΠΈΠ½Π΅Π½ΠΈΠ΅ ΠΏΠΎΡΡΠΎΠ² ΡΠ΅ΠΊΡΠΈΠΉ Π±Π°ΡΠ½ΠΈ Π±Π°ΡΠ΅Π½Π½ΠΎΠ³ΠΎ ΠΊΡΠ°Π½Π°.
ΠΠ°Π½Π½ΠΎΠ΅ ΠΈΠ·ΠΎΠ±ΡΠ΅ΡΠ΅Π½ΠΈΠ΅ ΠΎΡΠ½ΠΎΡΠΈΡΡΡ ΠΊ ΡΠΎΠ΅Π΄ΠΈΠ½Π΅Π½ΠΈΡΠΌ ΠΌΠ΅ΡΠ°Π»Π»ΠΎΠΊΠΎΠ½ΡΡΡΡΠΊΡΠΈΠΉ Π³ΡΡΠ·ΠΎΠΏΠΎΠ΄ΡΠ΅ΠΌΠ½ΡΡ ΠΌΠ°ΡΠΈΠ½, Π² ΡΠ°ΡΡΠ½ΠΎΡΡΠΈ ΠΊ ΡΠΎΠ΅Π΄ΠΈΠ½Π΅Π½ΠΈΡΠΌ ΠΏΠΎΡΡΠΎΠ² ΡΠ΅ΠΊΡΠΈΠΉ Π±Π°ΡΠ΅Π½ Π±Π°ΡΠ΅Π½Π½ΠΎΠ³ΠΎ ΠΊΡΠ°Π½Π°. ΠΠ½ΠΎ ΠΌΠΎΠΆΠ΅Ρ Π±ΡΡΡ ΡΠ°ΠΊΠΆΠ΅ ΠΈΡΠΏΠΎΠ»ΡΠ·ΠΎΠ²Π°Π½ΠΎ Π² ΠΊΠΎΠ½ΡΡΡΡΠΊΡΠΈΡΡ Π΄ΡΡΠ³ΠΈΡ ΠΌΠ°ΡΠΈΠ½ ΠΈ Π² ΡΠΎΠ΅Π΄ΠΈΠ½Π΅Π½ΠΈΡΡ ΡΠ΅ΠΊΡΠΈΠΉ Π±Π°ΡΠ΅Π½ ΠΎΠ±ΡΠ΅Π³ΠΎ Π½Π°Π·Π½Π°ΡΠ΅Π½ΠΈΡ.
ΠΠ·Π²Π΅ΡΡΠ½ΠΎ ΡΠΎΠ΅Π΄ΠΈΠ½Π΅Π½ΠΈΠ΅ ΠΏΠΎΡΡΠΎΠ² ΡΠ΅ΠΊΡΠΈΠΉ Π±Π°ΡΠ½ΠΈ Π±Π°ΡΠ΅Π½Π½ΠΎΠ³ΠΎ ΠΊΡΠ°Π½Π°, ΡΠΎΠ΄Π΅ΡΠΆΠ°ΡΠ΅Π΅ Π·Π°ΠΊΡΠ΅ΠΏΠ»Π΅Π½Π½ΡΠ΅ Π½Π° ΠΊΠΎΠ½ΡΠ°Ρ ΠΏΠΎΡΡΠΎΠ² Ρ Π²ΠΎΡΡΠΎΠ²ΠΈΠΊΠΈ Ρ Π²ΡΡΡΡΠΏΠ°ΠΌΠΈ ΠΈ ΡΠΎΠ΅Π΄ΠΈΠ½Π΅Π½Π½ΡΠ΅ ΠΌΠ΅ΠΆΠ΄Ρ ΡΠΎΠ±ΠΎΠΉ ΠΏΠΎΠ»ΡΠΌΡΡΡΡ Ρ Π²ΡΡΡΡΠΏΠ°ΠΌΠΈ Ρ Π²ΠΎΡΡΠΎΠ²ΠΈΠΊΠΎΠ², ΠΎΡΠ»ΠΈΡΠ°ΡΡΠ΅Π΅ΡΡ ΡΠ΅ΠΌ, ΡΡΠΎ Ρ ΡΠ΅Π»ΡΡ ΠΏΠΎΠ²ΡΡΠ΅Π½ΠΈΡ Π½Π°Π΄Π΅ΠΆΠ½ΠΎΡΡΠΈ ΠΎΠ½ΠΎ ΡΠ½Π°Π±ΠΆΠ΅Π½ΠΎ ΡΡΡΠ°Π½ΠΎΠ²Π»Π΅Π½Π½ΡΠΌΠΈ ΠΌΠ΅ΠΆΠ΄Ρ ΡΠΎΡΡΠ°ΠΌΠΈ Ρ Π²ΠΎΡΡΠΎΠ²ΠΈΠΊΠΎΠ² ΠΊΠ»ΠΈΠ½ΠΎΠ²ΠΈΠ΄Π½ΡΠΌΠΈ Π²ΠΊΠ»Π°Π΄ΡΡΠ°ΠΌΠΈ, ΡΠ²ΡΠ·Π°Π½Π½ΡΠΌΠΈ ΠΌΠ΅ΠΆΠ΄Ρ ΡΠΎΠ±ΠΎΠΉ ΡΠ΅Π·ΡΠ±ΠΎΠ²ΠΎΠΉ ΡΡΡΠΆΠΊΠΎΠΉ, ΠΏΡΠΈ ΡΡΠΎΠΌ ΠΏΠΎΠ»ΡΠΌΡΡΡΡ Π²ΡΠΏΠΎΠ»Π½Π΅Π½Ρ Ρ ΠΎΠΊΠ½Π°ΠΌΠΈ Π΄Π»Ρ ΡΠΏΠΎΠΌΡΠ½ΡΡΡΡ Π²ΠΊΠ»Π°Π΄ΡΡΠ΅ΠΉ ΠΈ ΠΈΡ Π²ΡΡΡΡΠΏΡ ΠΈ Π²ΡΡΡΡΠΏΡ Ρ Π²ΠΎΡΡΠΎΠ²ΠΈΠΊΠΎΠ² ΡΠΎ ΡΡΠΎΡΠΎΠ½Ρ ΡΠΎΠΏΡΡΠΆΠ΅Π½ΠΈΡ Π²ΡΠΏΠΎΠ»Π½Π΅Π½Ρ Ρ ΠΏΡΡΠΌΡΠΌΠΈ ΡΠ³Π»Π°ΠΌΠΈ [1].
ΠΠ·Π²Π΅ΡΡΠ½ΠΎ ΡΠ°Π·ΡΠ΅ΠΌΠ½ΠΎΠ΅ ΡΠΎΠ΅Π΄ΠΈΠ½Π΅Π½ΠΈΠ΅ ΡΠ΅ΠΊΡΠΈΠΉ Π±Π°ΡΠ΅Π½Π½ΠΎΠ³ΠΎ ΠΊΡΠ°Π½Π°, Π² ΠΊΠΎΡΠΎΡΠΎΠΌ Ρ ΡΠ΅Π»ΡΡ ΡΠ»ΡΡΡΠ΅Π½ΠΈΡ ΡΡΠ»ΠΎΠ²ΠΈΠΉ ΡΠΊΡΠΏΠ»ΡΠ°ΡΠ°ΡΠΈΠΈ Π½Π° ΡΠ΅Π·ΡΠ±ΠΎΠ²ΠΎΠΌ ΠΊΠΎΠ½ΡΠ΅ ΡΠ΅ΠΊΡΠΈΠΈ ΡΡΡΠ°Π½ΠΎΠ²Π»Π΅Π½Π° Π·Π°ΡΠΈΡΠ½Π°Ρ Π²ΡΡΠ»ΠΊΠ°, Π²Π·Π°ΠΈΠΌΠΎΠ΄Π΅ΠΉΡΡΠ²ΡΡΡΠ°Ρ Ρ Π½Π°ΠΊΠΈΠ΄Π½ΠΎΠΉ Π³Π°ΠΉΠΊΠΎΠΉ ΠΏΠΎΡΡΠ΅Π΄ΡΡΠ²ΠΎΠΌ ΠΌΡΡΡΡ ΡΡΠ΅ΠΏΠ»Π΅Π½ΠΈΡ [2].
ΠΠ·Π²Π΅ΡΡΠ½ΠΎ ΡΠ°ΠΊΠΆΠ΅ ΡΠΎΠ΅Π΄ΠΈΠ½Π΅Π½ΠΈΠ΅ ΠΏΠΎΡΡΠΎΠ² Π±Π°ΡΠ½ΠΈ ΠΊΡΠ°Π½Π°, Π²ΠΊΠ»ΡΡΠ°ΡΡΠ΅Π΅ Π½Π°ΡΡΠΆΠ½ΡΡ, Π²Π½ΡΡΡΠ΅Π½Π½ΡΡ ΠΏΡΠΎΡΡΠΈΠ½Ρ, Π² ΠΎΡΠ²Π΅ΡΡΡΠΈΡΡ ΠΊΠΎΡΠΎΡΡΡ ΡΠ°ΡΠΏΠΎΠ»ΠΎΠΆΠ΅Π½Ρ ΡΠΎΠ΅Π΄ΠΈΠ½ΠΈΡΠ΅Π»ΡΠ½ΡΠ΅ ΡΠΈΠ»ΠΈΠ½Π΄ΡΠΈΡΠ΅ΡΠΊΠΈΠ΅ ΡΠ»Π΅ΠΌΠ΅Π½ΡΡ, ΡΠ°ΡΠΏΠΎΠ»ΠΎΠΆΠ΅Π½Π½ΡΠ΅ Π² ΡΠ°Π·Π»ΠΈΡΠ½ΡΡ Π³ΠΎΡΠΈΠ·ΠΎΠ½ΡΠ°Π»ΡΠ½ΡΡ ΠΏΠ»ΠΎΡΠΊΠΎΡΡΡΡ [3].
ΠΠ·Π²Π΅ΡΡΠ½ΠΎ ΡΠΎΠ΅Π΄ΠΈΠ½Π΅Π½ΠΈΠ΅ ΡΠ΅ΠΊΡΠΈΠΉ Π±Π°ΡΠ½ΠΈ ΠΊΡΠ°Π½Π°, Π²ΠΊΠ»ΡΡΠ°ΡΡΠ΅Π΅ ΡΠ°ΡΠΏΠΎΠ»ΠΎΠΆΠ΅Π½ΠΈΠ΅ Π²ΠΎ Π²Π½ΡΡΡΠ΅Π½Π½Π΅ΠΉ ΠΏΠΎΠ»ΠΎΡΡΠΈ ΠΎΠ΄Π½ΠΎΠ³ΠΎ ΠΏΠΎΡΡΠ° ΠΎΠ΄Π½ΠΎΠΉ ΡΠ΅ΠΊΡΠΈΠΈ ΠΊΠ²Π°Π΄ΡΠ°ΡΠ½ΡΠΉ Π² ΡΠ΅ΡΠ΅Π½ΠΈΠΈ ΠΊΠΎΠ½Π΅Ρ ΡΠ»Π΅ΠΌΠ΅Π½ΡΠ° Π΄ΡΡΠ³ΠΎΠ³ΠΎ ΠΏΠΎΡΡΠ° Π΄ΡΡΠ³ΠΎΠΉ ΡΠ΅ΠΊΡΠΈΠΈ, ΠΏΡΠΈ ΡΡΠΎΠΌ Π² ΠΏΠΎΡΡΠ°Ρ Π²ΡΠΏΠΎΠ»Π½Π΅Π½Ρ ΠΎΡΠ²Π΅ΡΡΡΠΈΡ ΠΏΠΎΠ΄ ΡΠΎΠ΅Π΄ΠΈΠ½ΠΈΡΠ΅Π»ΡΠ½ΡΠ΅ ΡΠ»Π΅ΠΌΠ΅Π½ΡΡ, ΠΊΠΎΡΠΎΡΡΠ΅ ΡΠ°ΡΠΏΠΎΠ»ΠΎΠΆΠ΅Π½Ρ Π² ΡΡΠΈΡ ΠΎΡΠ²Π΅ΡΡΡΠΈΡΡ , ΠΏΡΠΈ ΡΡΠΎΠΌ ΠΎΡΠΈ ΠΎΡΠ²Π΅ΡΡΡΠΈΡ ΠΏΠΎΡΡΠΎΠ² ΡΠΎΠ²ΠΌΠ΅ΡΠ΅Π½Ρ Ρ ΠΎΡΡΡ ΡΡΠ΅ΡΠΆΠ½Ρ [4].
Π‘ΠΎΠ΅Π΄ΠΈΠ½ΠΈΡΠ΅Π»ΡΠ½ΡΠ΅ ΡΠ»Π΅ΠΌΠ΅Π½ΡΡ Π΄Π°Π½Π½ΠΎΠ³ΠΎ ΡΠ΅Ρ Π½ΠΈΡΠ΅ΡΠΊΠΎΠ³ΠΎ ΡΠ΅ΡΠ΅Π½ΠΈΡ ΠΈΠΌΠ΅ΡΡ ΡΠ°ΡΠΏΠΎΠ»ΠΎΠΆΠ΅Π½Π½ΡΠ΅ ΠΏΠΎ Π΄Π»ΠΈΠ½Π΅ ΠΊΠ°ΠΆΠ΄ΠΎΠ³ΠΎ ΡΠ»Π΅ΠΌΠ΅Π½ΡΠ° ΠΊΠΎΠ½ΠΈΡΠ΅ΡΠΊΠΈΠ΅ ΡΡΠ°ΡΡΠΊΠΈ, Π²Π·Π°ΠΈΠΌΠΎΠ΄Π΅ΠΉΡΡΠ²ΡΡΡΠΈΠ΅ Ρ ΠΎΡΠ²Π΅ΡΡΡΠΈΡΠΌΠΈ ΠΏΡΠΎΡΡΠΈΠ½, ΠΏΡΠΈ ΡΡΠΎΠΌ ΡΠΎΠ΅Π΄ΠΈΠ½ΠΈΡΠ΅Π»ΡΠ½ΡΠ΅ ΡΠ»Π΅ΠΌΠ΅Π½ΡΡ ΠΈΠΌΠ΅ΡΡ ΡΡΠ΅Π΄ΡΡΠ²Π° ΠΈΡ ΡΠΈΠΊΡΠ°ΡΠΈΠΈ Π½Π° ΠΏΠΎΡΡΠ°Ρ ΡΠ΅ΠΊΡΠΈΠΉ ΠΈ ΡΠ°ΡΠΏΠΎΠ»ΠΎΠΆΠ΅Π½Ρ Π²ΠΎ Π²Π·Π°ΠΈΠΌΠ½ΠΎ ΠΏΠ΅ΡΠΏΠ΅Π½Π΄ΠΈΠΊΡΠ»ΡΡΠ½ΡΡ Π½Π°ΠΏΡΠ°Π²Π»Π΅Π½ΠΈΡΡ Π½Π° ΡΠ°Π·Π½ΡΡ ΡΡΠΎΠ²Π½ΡΡ .
ΠΠ°ΠΈΠ±ΠΎΠ»Π΅Π΅ Π±Π»ΠΈΠ·ΠΊΠΈΠΌ ΡΠ΅Ρ Π½ΠΈΡΠ΅ΡΠΊΠΈΠΌ ΡΠ΅ΡΠ΅Π½ΠΈΠ΅ΠΌ ΠΊ Π΄Π°Π½Π½ΠΎΠΌΡ ΠΈΠ·ΠΎΠ±ΡΠ΅ΡΠ΅Π½ΠΈΡ ΠΏΠΎ ΡΡΡΠ½ΠΎΡΡΠΈ ΠΈ Π΄ΠΎΡΡΠΈΠ³Π°Π΅ΠΌΠΎΠΌΡ ΡΡΡΠ΅ΠΊΡΡ ΡΠ²Π»ΡΠ΅ΡΡΡ ΡΠΎΠ΅Π΄ΠΈΠ½Π΅Π½ΠΈΠ΅ ΠΏΠΎΡΡΠΎΠ² ΡΠ΅ΠΊΡΠΈΠΉ Π±Π°ΡΠ½ΠΈ Π±Π°ΡΠ΅Π½Π½ΠΎΠ³ΠΎ ΠΊΡΠ°Π½Π°, Π²ΠΊΠ»ΡΡΠ°ΡΡΠ΅Π΅ Π·Π°ΠΌΠΎΠΊ, ΠΊΠΎΡΠΎΡΡΠΉ ΡΠ°ΡΠΏΠΎΠ»ΠΎΠΆΠ΅Π½ Π² ΠΎΡΠ²Π΅ΡΡΡΠΈΡΡ ΠΏΡΠΎΡΡΠΈΠ½ ΡΡΡΠΊΡΠ΅ΠΌΡΡ ΠΏΠΎΡΡΠΎΠ² ΠΈ ΡΠΈΠΊΡΠ°ΡΠΎΡ Π·Π°ΠΌΠΊΠ° [5].
Π Π΄Π°Π½Π½ΠΎΠΌ ΡΠ΅Ρ Π½ΠΈΡΠ΅ΡΠΊΠΎΠΌ ΡΠ΅ΡΠ΅Π½ΠΈΠΈ ΡΡΠ½ΠΊΡΠΈΠΈ Π·Π°ΠΌΠΊΠ° Π²ΡΠΏΠΎΠ»Π½ΡΡΡ Π²ΡΡΡΠ΅ΡΠ½ΠΎ Π½Π°ΠΏΡΠ°Π²Π»Π΅Π½Π½ΡΠ΅ ΠΊΠ»ΠΈΠ½ΡΡ, ΠΊΠΎΡΠΎΡΡΠ΅ Π·Π°ΡΠΈΠΊΡΠΈΡΠΎΠ²Π°Π½Ρ ΠΌΠ΅ΠΆΠ΄Ρ ΡΠΎΠ±ΠΎΠΉ ΠΈ Π² ΠΎΡΠ²Π΅ΡΡΡΠΈΡΡ ΠΏΡΠΎΡΡΠΈΠ½ ΠΏΠ»Π°Π½ΠΊΠΎΠΉ ΠΈ ΡΠ΅Π·ΡΠ±ΠΎΠ²ΡΠΌ ΡΡΠ΅ΡΠΆΠ½Π΅ΠΌ.
ΠΠ·Π²Π΅ΡΡΠ½Ρ ΡΠ°ΠΊΠΆΠ΅ ΡΡΡΠΊΠΎΠ²ΡΠ΅ ΡΠΎΠ΅Π΄ΠΈΠ½Π΅Π½ΠΈΡ ΡΠ΅ΠΊΡΠΈΠΉ Π±Π°ΡΠ½ΠΈ Π±Π°ΡΠ΅Π½Π½ΠΎΠ³ΠΎ ΠΊΡΠ°Π½Π°, ΠΊΠ°ΠΆΠ΄ΠΎΠ΅ ΠΈΠ· ΠΊΠΎΡΠΎΡΡΡ ΡΠΎΠ΄Π΅ΡΠΆΠΈΡ ΠΏΡΠΎΡΡΠΈΠ½Ρ ΡΠ΅ΠΊΡΠΈΠΈ, Π² ΠΎΡΠ²Π΅ΡΡΡΠΈΡΡ ΠΊΠΎΡΠΎΡΡΡ ΡΡΡΠ°Π½ΠΎΠ²Π»Π΅Π½Ρ ΡΠΎΠ΅Π΄ΠΈΠ½ΠΈΡΠ΅Π»ΡΠ½ΡΠ΅ ΡΠ»Π΅ΠΌΠ΅Π½ΡΡ [6, 7, 8].
Π‘ΡΡΠ΅ΡΡΠ²Π΅Π½Π½ΡΠΌΠΈ Π½Π΅Π΄ΠΎΡΡΠ°ΡΠΊΠ°ΠΌΠΈ ΠΈΠ·Π²Π΅ΡΡΠ½ΡΡ ΡΠ΅Ρ Π½ΠΈΡΠ΅ΡΠΊΠΈΡ ΡΠ΅ΡΠ΅Π½ΠΈΠΉ ΡΠ²Π»ΡΠ΅ΡΡΡ ΡΠΎ, ΡΡΠΎ Π² ΡΠ»ΡΡΠ°ΡΡ ΠΏΠΎΠ²ΡΠΎΡΠ½ΠΎΠ³ΠΎ ΠΌΠΎΠ½ΡΠ°ΠΆΠ° Π±Π°ΡΠ΅Π½Π½ΡΡ ΠΊΡΠ°Π½ΠΎΠ² ΡΠΎΠ΅Π΄ΠΈΠ½ΠΈΡΠ΅Π»ΡΠ½ΡΠ΅ ΡΠ»Π΅ΠΌΠ΅Π½ΡΡ ΠΎΠΊΠ°Π·ΡΠ²Π°ΡΡΡΡ Π² ΠΎΡΠ²Π΅ΡΡΡΠΈΡΡ Π΄ΡΡΠ³ΠΈΡ ΡΠ΅ΠΊΡΠΈΠΉ Π±Π°ΡΠ½ΠΈ ΠΊΡΠ°Π½Π°, Π² ΠΊΠΎΡΠΎΡΡΡ ΠΎΠ½ΠΈ ΠΏΠΎΠ²ΡΠΎΡΠ½ΠΎ ΠΏΡΠΈΡΠ°Π±Π°ΡΡΠ²Π°ΡΡΡΡ Π² ΠΏΡΠΎΡΠ΅ΡΡΠ΅ ΡΠΊΡΠΏΠ»ΡΠ°ΡΠ°ΡΠΈΠΈ Π±Π°ΡΠ½ΠΈ, ΠΏΡΠΈΡΠ΅ΠΌ Π²ΠΌΡΡΠΈΠ½Ρ ΠΈ Π·Π°Π΄ΠΈΡΡ Π² ΠΎΡΠ²Π΅ΡΡΡΠΈΡΡ ΠΈ Π½Π° ΠΊΠ»ΠΈΠ½ΡΡΡ , ΠΏΠΎΠ»ΡΡΠ΅Π½Π½ΡΠ΅ Π²ΠΎ Π²ΡΠ΅ΠΌΡ ΠΏΠ΅ΡΠ²ΠΎΠ³ΠΎ ΡΠΎΠ΅Π΄ΠΈΠ½Π΅Π½ΠΈΡ ΡΠ΅ΠΊΡΠΈΠΉ, ΠΎΠΊΠ°Π·ΡΠ²Π°ΡΡ ΠΎΡΡΠΈΡΠ°ΡΠ΅Π»ΡΠ½ΠΎΠ΅ Π²Π»ΠΈΡΠ½ΠΈΠ΅ Π½Π° ΠΏΡΠΎΡΠ½ΠΎΡΡΡ ΡΠΎΠ΅Π΄ΠΈΠ½Π΅Π½ΠΈΡ.
ΠΡΡΠ³ΠΈΠΌ Π½Π΅Π΄ΠΎΡΡΠ°ΡΠΊΠΎΠΌ ΠΈΠ·Π²Π΅ΡΡΠ½ΡΡ ΡΠ΅Ρ Π½ΠΈΡΠ΅ΡΠΊΠΈΡ ΡΠ΅ΡΠ΅Π½ΠΈΠΉ ΡΠ²Π»ΡΠ΅ΡΡΡ ΡΠΎ, ΡΡΠΎ Π² Π½ΠΈΡ Π½Π΅ ΠΏΡΠ΅Π΄ΡΡΠΌΠΎΡΡΠ΅Π½Ρ ΡΡΠ΅Π΄ΡΡΠ²Π° ΠΏΡΠΈΠ²ΡΠ·ΠΊΠΈ ΡΠΎΠ΅Π΄ΠΈΠ½ΠΈΡΠ΅Π»ΡΠ½ΡΡ ΡΠ»Π΅ΠΌΠ΅Π½ΡΠΎΠ² ΠΊ ΠΏΡΠΎΡΡΠΈΠ½Π°ΠΌ ΠΏΠ΅ΡΠ²ΠΎΠ½Π°ΡΠ°Π»ΡΠ½ΠΎΠ³ΠΎ ΡΠΎΠ΅Π΄ΠΈΠ½Π΅Π½ΠΈΡ ΡΠ΅ΠΊΡΠΈΠΉ, ΠΊΠΎΠ³Π΄Π° ΡΠ΅ΠΊΡΠΈΠΈ Π±Π°ΡΠ½ΠΈ ΡΠΎΠ΅Π΄ΠΈΠ½ΡΡΡΡΡ Π΄ΡΡΠ³ Ρ Π΄ΡΡΠ³ΠΎΠΌ Π½Π° ΡΡΡΠΎΠΈΡΠ΅Π»ΡΠ½ΠΎΠΉ ΠΏΠ»ΠΎΡΠ°Π΄ΠΊΠ΅ Π²ΠΏΠ΅ΡΠ²ΡΠ΅.
ΠΠ°Π½Π½ΠΎΠ΅ ΠΎΠ±ΡΡΠΎΡΡΠ΅Π»ΡΡΡΠ²ΠΎ ΠΎΡΠ½ΠΎΡΠΈΡΡΡ ΡΠ°ΠΊΠΆΠ΅ ΠΊ ΡΠ΅Ρ Π½ΠΈΡΠ΅ΡΠΊΠΎΠΌΡ ΡΠ΅ΡΠ΅Π½ΠΈΡ [5], Π·Π°ΠΌΠΎΠΊ ΠΊΠΎΡΠΎΡΠΎΠ³ΠΎ Π²ΡΠΏΠΎΠ»Π½Π΅Π½ ΠΈΠ· Π΄Π²ΡΡ Π²ΡΡΡΠ΅ΡΠ½ΠΎ Π½Π°ΠΏΡΠ°Π²Π»Π΅Π½Π½ΡΡ ΠΊΠ»ΠΈΠ½ΡΠ΅Π². ΠΡΠΈ ΠΈΠ·Π²Π»Π΅ΡΠ΅Π½ΠΈΠΈ ΠΊΠ»ΠΈΠ½ΡΠ΅Π² Π·Π°ΠΌΠΊΠ° ΠΈΠ· ΠΎΡΠ²Π΅ΡΡΡΠΈΠΉ ΠΏΡΠΎΡΡΠΈΠ½ Π²ΠΎ Π²ΡΠ΅ΠΌΡ Π΄Π΅ΠΌΠΎΠ½ΡΠ°ΠΆΠ° Π±Π°ΡΠ½ΠΈ ΠΊΠ»ΠΈΠ½ΡΡ ΠΏΠ΅ΡΠ΅ΠΌΠ΅ΡΠΈΠ²Π°ΡΡΡΡ, Π° ΠΏΡΠΈ ΠΏΠΎΠ²ΡΠΎΡΠ½ΠΎΠΌ ΠΌΠΎΠ½ΡΠ°ΠΆΠ΅ Π±Π°ΡΠ½ΠΈ ΠΊΠ°ΠΆΠ΄ΡΠΉ ΠΊΠ»ΠΈΠ½ Π·Π°ΠΌΠΊΠ° ΡΠ°Π±ΠΎΡΠ°Π΅Ρ Π² ΡΠΎΡΠ΅ΡΠ°Π½ΠΈΠΈ Ρ Π΄ΡΡΠ³ΠΈΠΌ ΠΊΠ»ΠΈΠ½ΠΎΠΌ ΠΈ Ρ Π΄ΡΡΠ³ΠΎΠΉ ΠΏΡΠΎΡΡΠΈΠ½ΠΎΠΉ Π΄ΡΡΠ³ΠΎΠ³ΠΎ ΠΏΠΎΡΡΠ°.
ΠΡΠΏΠΎΠ»Π½Π΅Π½Π½ΡΠΉ ΠΈΠ· Π΄Π²ΡΡ ΠΊΠ»ΠΈΠ½ΡΠ΅Π² Π·Π°ΠΌΠΎΠΊ, Π½Π°Ρ ΠΎΠ΄ΡΡΠΈΠΉΡΡ Π² Π½Π΅ΡΠ°Π±ΠΎΡΠ΅ΠΌ ΠΏΠΎΠ»ΠΎΠΆΠ΅Π½ΠΈΠΈ, ΠΊΠΎΠ³Π΄Π° ΠΊΠ»ΠΈΠ½ΡΡ Π²ΡΠ²Π΅Π΄Π΅Π½Ρ ΠΈΠ· ΠΎΡΠ²Π΅ΡΡΡΠΈΠΉ ΠΏΡΠΎΡΡΠΈΠ½ ΠΏΠΎΡΡΠΎΠ² ΡΠ°ΠΊΠΈΠΌ ΠΎΠ±ΡΠ°Π·ΠΎΠΌ, ΡΡΠΎ Π½Π΅ ΠΏΡΠ΅ΠΏΡΡΡΡΠ²ΡΡΡ ΠΈΡ ΠΏΠΎΠ»Π½ΠΎΠΌΡ ΡΠ°Π·ΡΠ΅Π΄ΠΈΠ½Π΅Π½ΠΈΡ ΠΈ ΡΡΠ΅ΠΌΡ Π²Π΅ΡΡ Π½Π΅ΠΉ ΡΠ΅ΠΊΡΠΈΠΈ Π±Π°ΡΠ½ΠΈ Ρ Π½ΠΈΠΆΠ½Π΅ΠΉ Π΅Π΅ ΡΠ΅ΠΊΡΠΈΠΈ, ΠΊΠ°ΠΆΠ΄ΡΠΉ ΡΠ°Π· ΠΏΡΠΈ ΠΏΠΎΠ²ΡΠΎΡΠ½ΠΎΠΌ ΠΌΠΎΠ½ΡΠ°ΠΆΠ΅ Π±Π°ΡΠ½ΠΈ Π·Π°ΠΌΠΎΠΊ ΠΈΠ· Π΄Π²ΡΡ Π½Π΅ ΠΏΡΠΈΡΠ°Π±ΠΎΡΠ°Π½Π½ΡΡ Π΄ΡΡΠ³ ΠΊ Π΄ΡΡΠ³Ρ ΠΊΠ»ΠΈΠ½ΡΠ΅Π² Π²Π²ΠΎΠ΄ΠΈΡΡΡ Π² Π΄ΡΡΠ³ΠΈΠ΅ ΠΎΡΠ²Π΅ΡΡΡΠΈΡ ΠΏΡΠΎΡΡΠΈΠ½ ΡΠΎΠ΅Π΄ΠΈΠ½Π΅Π½ΠΈΡ ΠΈ ΠΊΠ°ΠΆΠ΄ΡΠΉ ΡΠ°Π· ΡΠ°ΠΊΠΎΠΉ Π·Π°ΠΌΠΎΠΊ ΠΏΡΠΈ Π²Π²Π΅Π΄Π΅Π½ΠΈΠΈ Π΅Π³ΠΎ Π² Π΄ΡΡΠ³ΠΈΠ΅ ΠΎΡΠ²Π΅ΡΡΡΠΈΡ Π΄ΡΡΠ³ΠΈΡ ΠΏΡΠΎΡΡΠΈΠ½ Π²Π½ΠΎΠ²Ρ ΠΏΡΠΈΡΠ°Π±Π°ΡΡΠ²Π°Π΅ΡΡΡ ΠΊ ΠΏΠΎΠ²Π΅ΡΡ Π½ΠΎΡΡΡΠΌ ΡΡΠΈΡ ΠΎΡΠ²Π΅ΡΡΡΠΈΠΉ. ΠΡΠΈ ΡΡΠΎΠΌ ΠΊΠ°ΠΆΠ΄Π°Ρ Π½ΠΎΠ²Π°Ρ ΠΏΡΠΈΡΠ°Π±ΠΎΡΠΊΠ° Π·Π°ΠΌΠΊΠ° Π½Π΅ Π²ΡΠ΅Π³Π΄Π° ΡΠ²Π»ΡΠ΅ΡΡΡ ΡΡΡΠ΅ΠΊΡΠΈΠ²Π½ΠΎΠΉ Π²ΡΠ»Π΅Π΄ΡΡΠ²ΠΈΠ΅ ΡΠΆΠ΅ ΡΠΏΠΎΠΌΠΈΠ½Π°Π²ΡΠΈΡ ΡΡ Π²ΡΡΠ΅ Π·Π°Π΄ΠΈΡΠΎΠ² ΠΈ Π²ΠΌΡΡΠΈΠ½ ΠΎΡ ΠΏΡΠ΅Π΄ΡΠ΄ΡΡΠ΅ΠΉ ΠΏΡΠΈΡΠ°Π±ΠΎΡΠΊΠΈ ΠΏΡΠ΅Π΄ΡΠ΄ΡΡΠ΅Π³ΠΎ ΠΌΠΎΠ½ΡΠ°ΠΆΠ° Π±Π°ΡΠ½ΠΈ. ΠΠ°Π½Π½ΠΎΠ΅ ΠΎΠ±ΡΡΠΎΡΡΠ΅Π»ΡΡΡΠ²ΠΎ ΠΎΡΡΠΈΡΠ°ΡΠ΅Π»ΡΠ½ΠΎ Π²Π»ΠΈΡΠ΅Ρ Π½Π° ΠΏΡΠΎΡΠ½ΠΎΡΡΡ ΠΈ Π½Π°Π΄Π΅ΠΆΠ½ΠΎΡΡΡ ΡΠΎΠ΅Π΄ΠΈΠ½Π΅Π½ΠΈΡ ΠΏΠΎΡΡΠΎΠ² ΡΠ΅ΠΊΡΠΈΠΉ Π±Π°ΡΠ½ΠΈ ΠΊΡΠ°Π½Π°.
ΠΠ· ΠΈΠ·Π²Π΅ΡΡΠ½ΡΡ Π½Π°ΠΈΠ±ΠΎΠ»Π΅Π΅ Π±Π»ΠΈΠ·ΠΊΠΈΠΌ ΡΠ΅Ρ Π½ΠΈΡΠ΅ΡΠΊΠΈΠΌ ΡΠ΅ΡΠ΅Π½ΠΈΠ΅ΠΌ ΠΊ Π΄Π°Π½Π½ΠΎΠΌΡ ΠΈΠ·ΠΎΠ±ΡΠ΅ΡΠ΅Π½ΠΈΡ ΠΏΠΎ ΡΡΡΠ½ΠΎΡΡΠΈ ΠΈ Π΄ΠΎΡΡΠΈΠ³Π°Π΅ΠΌΠΎΠΌΡ ΡΡΡΠ΅ΠΊΡΡ ΡΠ²Π»ΡΠ΅ΡΡΡ ΡΠΎΠ΅Π΄ΠΈΠ½Π΅Π½ΠΈΠ΅ ΠΏΠΎΡΡΠΎΠ² ΡΠ΅ΠΊΡΠΈΠΉ Π±Π°ΡΠ½ΠΈ Π±Π°ΡΠ΅Π½Π½ΠΎΠ³ΠΎ ΠΊΡΠ°Π½Π°, Π²ΠΊΠ»ΡΡΠ°ΡΡΠ΅Π΅ Π²ΡΠΏΠΎΠ»Π½Π΅Π½Π½ΡΠΉ ΠΈΠ· Π²Π΅ΡΡ Π½Π΅Π³ΠΎ ΠΈ Π½ΠΈΠΆΠ½Π΅Π³ΠΎ ΠΊΠ»ΠΈΠ½ΡΠ΅Π² Π·Π°ΠΌΠΎΠΊ, ΠΊΠΎΡΠΎΡΡΠΉ ΡΠ°ΡΠΏΠΎΠ»ΠΎΠΆΠ΅Π½ Π² ΠΎΡΠ²Π΅ΡΡΡΠΈΡΡ Π²Π½ΡΡΡΠ΅Π½Π½Π΅ΠΉ ΠΈ Π½Π°ΡΡΠΆΠ½ΡΡ ΠΏΡΠΎΡΡΠΈΠ½ ΠΏΠΎΡΡΠΎΠ² ΡΠ΅ΠΊΡΠΈΠΉ Π±Π°ΡΠ½ΠΈ, ΠΈ ΡΠΈΠΊΡΠ°ΡΠΎΡ Π·Π°ΠΌΠΊΠ° [5].
Π Π΅ΡΠ°Π΅ΠΌΠΎΠΉ ΠΈ Π΄ΠΎΡΡΠΈΠ³Π°Π΅ΠΌΠΎΠΉ ΡΠ΅Ρ Π½ΠΈΡΠ΅ΡΠΊΠΎΠΉ Π·Π°Π΄Π°ΡΠ΅ΠΉ Π΄Π°Π½Π½ΠΎΠ³ΠΎ ΠΈΠ·ΠΎΠ±ΡΠ΅ΡΠ΅Π½ΠΈΡ ΡΠ²Π»ΡΠ΅ΡΡΡ ΠΏΠΎΠ²ΡΡΠ΅Π½ΠΈΠ΅ ΠΏΡΠΎΡΠ½ΠΎΡΡΠΈ ΠΈ Π½Π°Π΄Π΅ΠΆΠ½ΠΎΡΡΠΈ ΡΠΎΠ΅Π΄ΠΈΠ½Π΅Π½ΠΈΡ ΠΏΠΎΡΡΠΎΠ² ΡΠ΅ΠΊΡΠΈΠΉ Π±Π°ΡΠ½ΠΈ, Π° ΡΠ°ΠΊΠΆΠ΅ ΠΏΠΎΠ²ΡΡΠ΅Π½ΠΈΠ΅ ΡΠ΄ΠΎΠ±ΡΡΠ²Π° ΠΌΠΎΠ½ΡΠ°ΠΆΠ° Π±Π°ΡΠ½ΠΈ ΠΈ ΡΠ½ΠΈΠΆΠ΅Π½ΠΈΠ΅ ΡΡΡΠ΄ΠΎΠ΅ΠΌΠΊΠΎΡΡΠΈ ΠΌΠΎΠ½ΡΠ°ΠΆΠ½ΡΡ ΡΠ°Π±ΠΎΡ.
Π£ΠΊΠ°Π·Π°Π½Π½Π°Ρ ΡΠ΅Ρ Π½ΠΈΡΠ΅ΡΠΊΠ°Ρ Π·Π°Π΄Π°ΡΠ° Π΄ΠΎΡΡΠΈΠ³Π°Π΅ΡΡΡ ΡΠ΅ΠΌ, ΡΡΠΎ Π² ΡΠΎΠ΅Π΄ΠΈΠ½Π΅Π½ΠΈΠΈ ΠΏΠΎΡΡΠΎΠ² ΡΠ΅ΠΊΡΠΈΠΉ Π±Π°ΡΠ½ΠΈ Π±Π°ΡΠ΅Π½Π½ΠΎΠ³ΠΎ ΠΊΡΠ°Π½Π°, Π²ΠΊΠ»ΡΡΠ°ΡΡΠ΅ΠΌ Π²ΡΠΏΠΎΠ»Π½Π΅Π½Π½ΡΠΉ ΠΈΠ· Π²Π΅ΡΡ Π½Π΅Π³ΠΎ ΠΈ Π½ΠΈΠΆΠ½Π΅Π³ΠΎ ΠΊΠ»ΠΈΠ½ΡΠ΅Π² Π·Π°ΠΌΠΎΠΊ, ΠΊΠΎΡΠΎΡΡΠΉ ΡΠ°ΡΠΏΠΎΠ»ΠΎΠΆΠ΅Π½ Π² ΠΎΡΠ²Π΅ΡΡΡΠΈΡΡ Π²Π½ΡΡΡΠ΅Π½Π½Π΅ΠΉ ΠΈ Π½Π°ΡΡΠΆΠ½ΡΡ ΠΏΡΠΎΡΡΠΈΠ½ ΠΏΠΎΡΡΠΎΠ² ΡΠ΅ΠΊΡΠΈΠΉ Π±Π°ΡΠ½ΠΈ, ΠΈ ΡΠΈΠΊΡΠ°ΡΠΎΡ Π·Π°ΠΌΠΊΠ°, – Π½Π° ΠΎΠ΄Π½ΠΎΠΌ ΠΈΠ· ΠΏΠΎΡΡΠΎΠ² Π·Π°ΠΊΡΠ΅ΠΏΠ»Π΅Π½ Π΄Π΅ΡΠΆΠ°ΡΠ΅Π»Ρ Π·Π°ΠΌΠΊΠ° Π² Π½Π΅ΡΠ°Π±ΠΎΡΠ΅ΠΌ ΠΏΠΎΠ»ΠΎΠΆΠ΅Π½ΠΈΠΈ ΠΏΠΎΡΠ»Π΅Π΄Π½Π΅Π³ΠΎ, Π° ΡΠΈΠΊΡΠ°ΡΠΎΡ ΡΠ²ΡΠ·Π°Π½ Ρ Π΄Π΅ΡΠΆΠ°ΡΠ΅Π»Π΅ΠΌ ΠΈ Π·Π°ΠΌΠΊΠΎΠΌ.
ΠΠ΅ΡΠΆΠ°ΡΠ΅Π»Ρ Π·Π°ΠΌΠΊΠ° Π² Π½Π΅ΡΠ°Π±ΠΎΡΠ΅ΠΌ ΠΏΠΎΠ»ΠΎΠΆΠ΅Π½ΠΈΠΈ ΠΏΠΎΡΠ»Π΅Π΄Π½Π΅Π³ΠΎ Π²ΠΊΠ»ΡΡΠ°Π΅Ρ Π½Π°ΠΏΡΠ°Π²Π»ΡΡΡΡΡ, Π² ΠΊΠΎΡΠΎΡΠΎΠΉ ΠΏΠΎΠ΄Π²ΠΈΠΆΠ½ΠΎ ΡΡΡΠ°Π½ΠΎΠ²Π»Π΅Π½ Π·Π°ΠΌΠΎΠΊ, Π½Π°ΠΏΡΠ°Π²Π»ΡΡΡΠ°Ρ ΡΠ°ΡΠΏΠΎΠ»ΠΎΠΆΠ΅Π½Π° ΠΏΠΎΠΏΠ΅ΡΠ΅ΠΊ ΠΏΠΎΡΡΠ° ΠΈ Π²ΡΠΏΠΎΠ»Π½Π΅Π½Π° Ρ ΠΏΡΠΎΠ΄ΠΎΠ»ΡΠ½ΡΠΌΠΈ ΠΏΠ°Π·Π°ΠΌΠΈ Π² Π΅Π΅ Π±ΠΎΠΊΠΎΠ²ΡΡ ΡΠ°ΡΡΡΡ , Π½ΠΈΠΆΠ½ΠΈΠΉ ΠΊΠ»ΠΈΠ½ Π²ΡΠΏΠΎΠ»Π½Π΅Π½ Ρ ΠΎΡΡΡ, ΠΊΠΎΡΠΎΡΠ°Ρ ΡΡΡΠ°Π½ΠΎΠ²Π»Π΅Π½Π° Π² ΠΏΡΠΎΠ΄ΠΎΠ»ΡΠ½ΡΡ ΠΏΠ°Π·Π°Ρ Π±ΠΎΠΊΠΎΠ²ΡΡ ΡΠ°ΡΡΠ΅ΠΉ Π½Π°ΠΏΡΠ°Π²Π»ΡΡΡΠ΅ΠΉ, ΡΠΈΠΊΡΠ°ΡΠΎΡ Π²ΡΠΏΠΎΠ»Π½Π΅Π½ ΠΈΠ· ΠΏΠΎΠ²ΠΎΡΠΎΡΠ½ΠΎΠΉ ΡΠ°ΠΌΠΊΠΈ Ρ Π·Π°ΠΊΡΠ΅ΠΏΠ»Π΅Π½Π½ΠΎΠΉ Π½Π° Π½Π΅ΠΉ ΠΏΡΡΠΆΠΈΠ½Π½ΠΎΠΉ Π·Π°ΡΠ΅Π»ΠΊΠΎΠΉ, Π²Π·Π°ΠΈΠΌΠΎΠ΄Π΅ΠΉΡΡΠ²ΡΡΡΠ΅ΠΉ Ρ ΠΎΡΡΡ Π½ΠΈΠΆΠ½Π΅Π³ΠΎ ΠΊΠ»ΠΈΠ½Π° Π² Π΅Π³ΠΎ ΡΠ°Π±ΠΎΡΠ΅ΠΌ ΠΈ Π½Π΅ΡΠ°Π±ΠΎΡΠ΅ΠΌ ΠΏΠΎΠ»ΠΎΠΆΠ΅Π½ΠΈΡΡ , ΠΏΡΠΈ ΡΡΠΎΠΌ ΠΏΠΎΠ²ΠΎΡΠΎΡΠ½Π°Ρ ΡΠ°ΠΌΠΊΠ° ΡΠ°ΡΠ½ΠΈΡΠ½ΠΎ Π·Π°ΠΊΡΠ΅ΠΏΠ»Π΅Π½Π° Π½Π° Π½Π°ΠΏΡΠ°Π²Π»ΡΡΡΠ΅ΠΉ.
ΠΠ΅ΡΡ Π½ΠΈΠΉ ΠΈ Π½ΠΈΠΆΠ½ΠΈΠΉ ΠΊΠ»ΠΈΠ½ΡΡ ΠΏΠΎΠ΄Π²ΠΈΠΆΠ½ΠΎ ΡΠ²ΡΠ·Π°Π½Ρ ΠΌΠ΅ΠΆΠ΄Ρ ΡΠΎΠ±ΠΎΠΉ, Π½ΠΈΠΆΠ½ΠΈΠΉ ΠΊΠ»ΠΈΠ½ Π²ΡΠΏΠΎΠ»Π½Π΅Π½ Ρ ΡΠΏΠΎΡΠΎΠΌ, Π²Π·Π°ΠΈΠΌΠΎΠ΄Π΅ΠΉΡΡΠ²ΡΡΡΠΈΠΌ Ρ Π²Π΅ΡΡ Π½ΠΈΠΌ ΠΊΠ»ΠΈΠ½ΠΎΠΌ ΠΏΡΠΈ ΠΏΠ΅ΡΠ΅ΠΌΠ΅ΡΠ΅Π½ΠΈΠΈ ΠΏΠΎΡΠ»Π΅Π΄Π½Π΅Π³ΠΎ ΠΎΡΠ½ΠΎΡΠΈΡΠ΅Π»ΡΠ½ΠΎ Π½ΠΈΠΆΠ½Π΅Π³ΠΎ ΠΊΠ»ΠΈΠ½Π°, Π° Π΄Π»ΠΈΠ½Π° Π²Π΅ΡΡ Π½Π΅Π³ΠΎ ΠΊΠ»ΠΈΠ½Π° ΠΌΠ΅Π½ΡΡΠ΅ Π΄Π»ΠΈΠ½Ρ Π½ΠΈΠΆΠ½Π΅Π³ΠΎ ΠΊΠ»ΠΈΠ½Π°.
Π‘Π²ΡΠ·Ρ Π²Π΅ΡΡ Π½Π΅Π³ΠΎ ΠΈ Π½ΠΈΠΆΠ½Π΅Π³ΠΎ ΠΊΠ»ΠΈΠ½ΡΠ΅Π² Π²ΡΠΏΠΎΠ»Π½Π΅Π½Π° ΠΈΠ· Π±ΠΎΠ»ΡΠ°, ΡΠ°ΡΠΏΠΎΠ»ΠΎΠΆΠ΅Π½Π½ΠΎΠ³ΠΎ Π² ΡΠ΅Π·ΡΠ±ΠΎΠ²ΠΎΠΌ ΠΎΡΠ²Π΅ΡΡΡΠΈΠΈ ΡΠΏΠΎΡΠ° Π½ΠΈΠΆΠ½Π΅Π³ΠΎ ΠΊΠ»ΠΈΠ½Π°, ΠΏΡΠΈ ΡΡΠΎΠΌ ΠΊΠΎΠ½Π΅Ρ Π±ΠΎΠ»ΡΠ° Π·Π°ΡΠΈΠΊΡΠΈΡΠΎΠ²Π°Π½ Π² Π³Π½Π΅Π·Π΄Π΅ Π²Π΅ΡΡ Π½Π΅Π³ΠΎ ΠΊΠ»ΠΈΠ½Π° Ρ Π²ΠΎΠ·ΠΌΠΎΠΆΠ½ΠΎΡΡΡΡ Π΅Π³ΠΎ ΡΠ²ΠΎΠ±ΠΎΠ΄Π½ΠΎΠ³ΠΎ Π²ΡΠ°ΡΠ΅Π½ΠΈΡ Π² ΡΡΠΎΠΌ Π³Π½Π΅Π·Π΄Π΅ ΠΈ Π²Π·Π°ΠΈΠΌΠΎΠ΄Π΅ΠΉΡΡΠ²ΠΈΡ Π±ΠΎΠ»ΡΠ° Ρ ΠΏΠΎΠ²Π΅ΡΡ Π½ΠΎΡΡΡΡ Π³Π½Π΅Π·Π΄Π° ΠΏΡΠΈ ΠΏΠ΅ΡΠ΅ΠΌΠ΅ΡΠ΅Π½ΠΈΠΈ Π²Π΅ΡΡ Π½Π΅Π³ΠΎ ΠΊΠ»ΠΈΠ½Π° Π² ΡΡΠΎΡΠΎΠ½Ρ ΠΎΡ ΡΠΏΠΎΡΠ° Π½ΠΈΠΆΠ½Π΅Π³ΠΎ ΠΊΠ»ΠΈΠ½Π° ΠΈ Π² ΠΎΠ±ΡΠ°ΡΠ½ΡΡ ΡΡΠΎΡΠΎΠ½Ρ.
Π€ΠΈΠΊΡΠ°ΡΠΎΡ ΡΠ²ΡΠ·Π°Π½ Ρ Π½ΠΈΠΆΠ½ΠΈΠΌ ΠΊΠ»ΠΈΠ½ΠΎΠΌ, ΠΊΠΎΠ½ΡΠ°ΠΊΡΠΈΡΡΡΡΠΈΠΌ Ρ Π²ΡΠΏΠΎΠ»Π½Π΅Π½Π½ΡΠΌ Π½Π° Π½Π°ΠΏΡΠ°Π²Π»ΡΡΡΠ΅ΠΉ ΠΎΠ³ΡΠ°Π½ΠΈΡΠΈΡΠ΅Π»Π΅ΠΌ Π² Π½Π΅ΡΠ°Π±ΠΎΡΠ΅ΠΌ ΠΏΠΎΠ»ΠΎΠΆΠ΅Π½ΠΈΠΈ Π·Π°ΠΌΠΊΠ°, ΠΏΡΠΈ ΡΡΠΎΠΌ ΡΠΈΠΊΡΠ°ΡΠΎΡ Π²ΡΠΏΠΎΠ»Π½Π΅Π½ ΠΈΠ· U-ΠΎΠ±ΡΠ°Π·Π½ΠΎΠΉ ΡΠΏΡΡΠ³ΠΎΠΉ ΡΠΊΠΎΠ±Ρ, ΠΏΠΎΠ΄Π²ΠΈΠΆΠ½ΠΎ ΡΡΡΠ°Π½ΠΎΠ²Π»Π΅Π½Π½ΠΎΠΉ Π² Π½ΠΈΠΆΠ½ΠΈΡ ΠΎΡΠ²Π΅ΡΡΡΠΈΡΡ Π±ΠΎΠΊΠΎΠ²ΡΡ ΡΠ°ΡΡΠ΅ΠΉ Π΄Π΅ΡΠΆΠ°ΡΠ΅Π»Ρ Π·Π°ΠΌΠΊΠ° Π² Π½Π΅ΡΠ°Π±ΠΎΡΠ΅ΠΌ ΠΏΠΎΠ»ΠΎΠΆΠ΅Π½ΠΈΠΈ ΠΏΠΎΡΠ»Π΅Π΄Π½Π΅Π³ΠΎ ΠΈ Π² Π²Π΅ΡΡ Π½ΠΈΡ ΠΎΡΠ²Π΅ΡΡΡΠΈΡΡ ΡΡΠΈΡ Π±ΠΎΠΊΠΎΠ²ΡΡ ΡΠ°ΡΡΠ΅ΠΉ, Π° ΡΠ°ΠΊΠΆΠ΅ Π² ΠΎΡΠ²Π΅ΡΡΡΠΈΠΈ Π½ΠΈΠΆΠ½Π΅Π³ΠΎ ΠΊΠ»ΠΈΠ½Π°, ΠΏΡΠΈ ΡΡΠΎΠΌ Π΄Π»ΠΈΠ½Π° L Π½ΠΈΠΆΠ½Π΅Π³ΠΎ ΠΊΠ»ΠΈΠ½Π° ΠΌΠ΅Π½ΡΡΠ΅ ΡΠ°ΡΡΡΠΎΡΠ½ΠΈΡ Lmin ΠΌΠ΅ΠΆΠ΄Ρ ΠΎΠ³ΡΠ°Π½ΠΈΡΠΈΡΠ΅Π»Π΅ΠΌ ΠΈ Π±ΠΎΠΊΠΎΠ²ΠΎΠΉ ΠΏΠΎΠ²Π΅ΡΡ Π½ΠΎΡΡΡΡ Π²Π½ΡΡΡΠ΅Π½Π½Π΅ΠΉ ΠΏΡΠΎΡΡΠΈΠ½Ρ ΡΠΎΠ΅Π΄ΠΈΠ½Π΅Π½ΠΈΡ.
U-ΠΎΠ±ΡΠ°Π·Π½Π°Ρ ΡΠΊΠΎΠ±Π° ΡΡΡΠ°Π½ΠΎΠ²Π»Π΅Π½Π° Π² Π½ΠΈΠΆΠ½ΠΈΡ ΠΎΡΠ²Π΅ΡΡΡΠΈΡΡ Π΄Π΅ΡΠΆΠ°ΡΠ΅Π»Ρ Π·Π°ΠΌΠΊΠ° Π² Π½Π΅ΡΠ°Π±ΠΎΡΠ΅ΠΌ ΠΏΠΎΠ»ΠΎΠΆΠ΅Π½ΠΈΠΈ ΠΏΠΎΡΠ»Π΅Π΄Π½Π΅Π³ΠΎ Ρ Π²ΠΎΠ·ΠΌΠΎΠΆΠ½ΠΎΡΡΡΡ Π΅Π΅ ΠΏΠΎΠ²ΠΎΡΠΎΡΠ° Π² ΠΏΠ»ΠΎΡΠΊΠΎΡΡΠΈ Π΄Π΅ΡΠΆΠ°ΡΠ΅Π»Ρ ΠΈ ΡΠΈΠΊΡΠ°ΡΠΈΠΈ Π·Π°ΠΌΠΊΠ° Π² Π΄Π²ΡΡ ΠΊΡΠ°ΠΉΠ½ΠΈΡ ΡΠ°Π±ΠΎΡΠ΅ΠΌ ΠΈ Π½Π΅ΡΠ°Π±ΠΎΡΠ΅ΠΌ ΠΏΠΎΠ»ΠΎΠΆΠ΅Π½ΠΈΡΡ .
ΠΠ΄Π½Π° Π²Π΅ΡΠ²Ρ U-ΠΎΠ±ΡΠ°Π·Π½ΠΎΠΉ ΡΠΊΠΎΠ±Ρ Π²ΡΠΏΠΎΠ»Π½Π΅Π½Π° ΠΊΠΎΡΠΎΡΠ΅ Π΄ΡΡΠ³ΠΎΠΉ Π΅Π΅ Π²Π΅ΡΠ²ΠΈ, Π½Π° ΠΊΠΎΠ½ΡΠ΅ ΠΊΠΎΡΠΎΡΠΎΠΉ Π²ΡΠΏΠΎΠ»Π½Π΅Π½ ΡΠΏΠΎΡ.
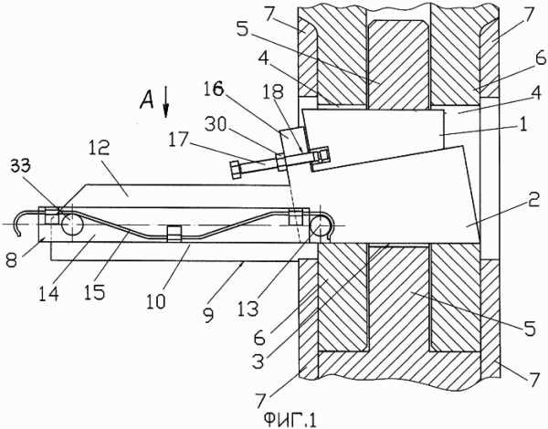
ΠΠ° ΡΠΈΠ³.1 ΠΏΠΎΠΊΠ°Π·Π°Π½ ΠΏΠ΅ΡΠ²ΡΠΉ ΠΏΡΠΈΠΌΠ΅Ρ Π²ΡΠΏΠΎΠ»Π½Π΅Π½ΠΈΡ ΡΠΎΠ΅Π΄ΠΈΠ½Π΅Π½ΠΈΡ; Π½Π° ΡΠΈΠ³.2 – ΡΠ²ΡΠ·Ρ Π΄Π²ΡΡ ΠΊΠ»ΠΈΠ½ΡΠ΅Π², ΠΎΠ±ΡΠ°Π·ΡΡΡΠΈΡ Π·Π°ΠΌΠΎΠΊ ΡΠΎΠ΅Π΄ΠΈΠ½Π΅Π½ΠΈΡ; Π½Π° ΡΠΈΠ³.3 – Π²ΠΈΠ΄ Π Π½Π° ΡΠΈΠ³.1; Π½Π° ΡΠΈΠ³.4 – ΡΠ΅ΡΠ΅Π½ΠΈΠ΅ Π-Π Π½Π° ΡΠΈΠ³.1; Π½Π° ΡΠΈΠ³.5 – ΡΡ Π΅ΠΌΠ° ΡΠ°ΡΠΏΠΎΠ»ΠΎΠΆΠ΅Π½ΠΈΡ ΠΊΠ»ΠΈΠ½ΡΠ΅Π² Π² Π½Π΅ΡΠ°Π±ΠΎΡΠ΅ΠΌ ΠΏΠΎΠ»ΠΎΠΆΠ΅Π½ΠΈΠΈ Π·Π°ΠΌΠΊΠ°; Π½Π° ΡΠΈΠ³.6 – Π²ΡΠΎΡΠΎΠΉ ΠΏΡΠΈΠΌΠ΅Ρ Π²ΡΠΏΠΎΠ»Π½Π΅Π½ΠΈΡ ΡΠΎΠ΅Π΄ΠΈΠ½Π΅Π½ΠΈΡ; Π½Π° ΡΠΈΠ³.7 – ΡΠ΅ΡΠ΅Π½ΠΈΠ΅ Π-Π Π½Π° ΡΠΈΠ³.6; Π½Π° ΡΠΈΠ³.8 – U-ΠΎΠ±ΡΠ°Π·Π½Π°Ρ ΡΠΊΠΎΠ±Π° ΡΠΈΠΊΡΠ°ΡΠΎΡΠ° Π² ΠΏΠΎΠ»ΠΎΠΆΠ΅Π½ΠΈΠΈ Π΅Π΅ ΠΏΠΎΠ²ΠΎΡΠΎΡΠ°.
ΠΠ·ΠΎΠ±ΡΠ΅ΡΠ΅Π½ΠΈΠ΅ ΠΏΠΎΡΡΠ½ΡΠ΅ΡΡΡ Π΄Π²ΡΠΌΡ ΠΏΡΠΈΠΌΠ΅ΡΠ°ΠΌΠΈ Π²ΡΠΏΠΎΠ»Π½Π΅Π½ΠΈΡ ΡΠΎΠ΅Π΄ΠΈΠ½Π΅Π½ΠΈΡ. Π ΠΏΠ΅ΡΠ²ΠΎΠΌ ΠΏΡΠΈΠΌΠ΅ΡΠ΅ (ΡΠΈΠ³.1) ΡΠΎΠ΅Π΄ΠΈΠ½Π΅Π½ΠΈΠ΅ ΠΏΠΎΡΡΠΎΠ² Π²ΠΊΠ»ΡΡΠ°Π΅Ρ Π²ΡΠΏΠΎΠ»Π½Π΅Π½Π½ΡΠΉ ΠΈΠ· Π²Π΅ΡΡ Π½Π΅Π³ΠΎ ΠΈ Π½ΠΈΠΆΠ½Π΅Π³ΠΎ ΠΊΠ»ΠΈΠ½ΡΠ΅Π² 1 ΠΈ 2 Π·Π°ΠΌΠΎΠΊ, ΠΊΠΎΡΠΎΡΡΠΉ ΡΠ°ΡΠΏΠΎΠ»ΠΎΠΆΠ΅Π½ Π² ΠΎΡΠ²Π΅ΡΡΡΠΈΡΡ 3 ΠΈ 4 Π²Π½ΡΡΡΠ΅Π½Π½Π΅ΠΉ ΠΈ Π½Π°ΡΡΠΆΠ½ΠΎΠΉ ΠΏΡΠΎΡΡΠΈΠ½ 5 ΠΈ 6 ΠΏΠΎΡΡΠΎΠ² 7 ΡΠ΅ΠΊΡΠΈΠΉ Π±Π°ΡΠ½ΠΈ. Π‘ΠΎΠ΅Π΄ΠΈΠ½Π΅Π½ΠΈΠ΅ Π²ΠΊΠ»ΡΡΠ°Π΅Ρ ΡΠ°ΠΊΠΆΠ΅ ΡΠΈΠΊΡΠ°ΡΠΎΡ 8 Π·Π°ΠΌΠΊΠ°, ΠΏΡΠΈ ΡΡΠΎΠΌ Π½Π° ΠΎΠ΄Π½ΠΎΠΌ ΠΈΠ· ΠΏΠΎΡΡΠΎΠ² 7 Π·Π°ΠΊΡΠ΅ΠΏΠ»Π΅Π½ Π΄Π΅ΡΠΆΠ°ΡΠ΅Π»Ρ 9 Π·Π°ΠΌΠΊΠ°, Π° ΡΠΈΠΊΡΠ°ΡΠΎΡ 8 ΡΠ²ΡΠ·Π°Π½ Ρ Π΄Π΅ΡΠΆΠ°ΡΠ΅Π»Π΅ΠΌ ΠΈ Π·Π°ΠΌΠΊΠΎΠΌ. ΠΠ΅ΡΠΆΠ°ΡΠ΅Π»Ρ 9 Π² ΡΡΠΎΠΌ ΠΏΡΠΈΠΌΠ΅ΡΠ΅ ΡΠΎΠ΅Π΄ΠΈΠ½Π΅Π½ΠΈΡ Π·Π°ΠΊΡΠ΅ΠΏΠ»Π΅Π½ Π½Π° Π½ΠΈΠΆΠ½Π΅ΠΌ ΠΏΠΎΡΡΠ΅ 7 Π½ΠΈΠΆΠ½Π΅ΠΉ ΡΠ΅ΠΊΡΠΈΠΈ Π±Π°ΡΠ½ΠΈ, Π½Π° ΠΊΠΎΡΠΎΡΠΎΠΉ ΡΡΡΠ°Π½ΠΎΠ²Π»Π΅Π½Π° Π²Π΅ΡΡ Π½ΡΡ ΡΠ΅ΠΊΡΠΈΡ, ΠΈΠΌΠ΅ΡΡΠ°Ρ Π°Π½Π°Π»ΠΎΠ³ΠΈΡΠ½ΡΠ΅ Π²Π΅ΡΡ Π½ΠΈΠ΅ ΠΏΠΎΡΡΠ° 7, ΡΡΡΠΊΡΠ΅ΠΌΡΠ΅ Ρ Π½ΠΈΠΆΠ½ΠΈΠΌΠΈ ΠΏΠΎΡΡΠ°ΠΌΠΈ ΠΏΠΎΡΡΠ΅Π΄ΡΡΠ²ΠΎΠΌ Π΄Π°Π½Π½ΠΎΠ³ΠΎ ΡΠΎΠ΅Π΄ΠΈΠ½Π΅Π½ΠΈΡ.
ΠΠ΅ΡΠΆΠ°ΡΠ΅Π»Ρ 9 Π·Π°ΠΌΠΊΠ° Π²ΠΊΠ»ΡΡΠ°Π΅Ρ Π½Π°ΠΏΡΠ°Π²Π»ΡΡΡΡΡ 10, Π² ΠΊΠΎΡΠΎΡΠΎΠΉ ΠΏΠΎΠ΄Π²ΠΈΠΆΠ½ΠΎ ΡΡΡΠ°Π½ΠΎΠ²Π»Π΅Π½ Π·Π°ΠΌΠΎΠΊ. ΠΠ°ΠΏΡΠ°Π²Π»ΡΡΡΠ°Ρ ΡΠ°ΡΠΏΠΎΠ»ΠΎΠΆΠ΅Π½Π° ΠΏΠΎΠΏΠ΅ΡΠ΅ΠΊ ΠΏΠΎΡΡΠ° 7 ΠΈ Π²ΡΠΏΠΎΠ»Π½Π΅Π½Π° Ρ ΠΏΡΠΎΠ΄ΠΎΠ»ΡΠ½ΡΠΌΠΈ ΠΏΠ°Π·Π°ΠΌΠΈ 11 (ΡΠΈΠ³.4) Π² Π΅Π΅ Π±ΠΎΠΊΠΎΠ²ΡΡ ΡΠ°ΡΡΡΡ 12. ΠΠΈΠΆΠ½ΠΈΠΉ ΠΊΠ»ΠΈΠ½ 2 Π²ΡΠΏΠΎΠ»Π½Π΅Π½ Ρ ΠΎΡΡΡ 13 (ΡΠΈΠ³.3, 4), ΠΊΠΎΡΠΎΡΠ°Ρ ΡΡΡΠ°Π½ΠΎΠ²Π»Π΅Π½Π° Π² ΠΏΡΠΎΠ΄ΠΎΠ»ΡΠ½ΡΡ ΠΏΠ°Π·Π°Ρ 11 Π±ΠΎΠΊΠΎΠ²ΡΡ ΡΠ°ΡΡΠ΅ΠΉ 12 Π½Π°ΠΏΡΠ°Π²Π»ΡΡΡΠ΅ΠΉ. Π€ΠΈΠΊΡΠ°ΡΠΎΡ Π²ΡΠΏΠΎΠ»Π½Π΅Π½ ΠΈΠ· ΠΏΠΎΠ²ΠΎΡΠΎΡΠ½ΠΎΠΉ ΡΠ°ΠΌΠΊΠΈ 14 Ρ Π·Π°ΠΊΡΠ΅ΠΏΠ»Π΅Π½Π½ΠΎΠΉ Π½Π° Π½Π΅ΠΉ ΠΏΡΡΠΆΠΈΠ½Π½ΠΎΠΉ Π·Π°ΡΠ΅Π»ΠΊΠΎΠΉ 15, Π²Π·Π°ΠΈΠΌΠΎΠ΄Π΅ΠΉΡΡΠ²ΡΡΡΠ΅ΠΉ Ρ ΠΎΡΡΡ 13 Π½ΠΈΠΆΠ½Π΅Π³ΠΎ ΠΊΠ»ΠΈΠ½Π° 2 Π² Π΅Π³ΠΎ ΡΠ°Π±ΠΎΡΠ΅ΠΌ ΠΈ Π½Π΅ΡΠ°Π±ΠΎΡΠ΅ΠΌ ΠΏΠΎΠ»ΠΎΠΆΠ΅Π½ΠΈΡΡ . ΠΠΎΠ²ΠΎΡΠΎΡΠ½Π°Ρ ΡΠ°ΠΌΠΊΠ° 14 ΡΠ°ΡΠ½ΠΈΡΠ½ΠΎ Π·Π°ΠΊΡΠ΅ΠΏΠ»Π΅Π½Π° Π½Π° Π½Π°ΠΏΡΠ°Π²Π»ΡΡΡΠ΅ΠΉ 10.
ΠΠ΅ΡΡ Π½ΠΈΠΉ ΠΈ Π½ΠΈΠΆΠ½ΠΈΠΉ ΠΊΠ»ΠΈΠ½ΡΡ ΠΏΠΎΠ΄Π²ΠΈΠΆΠ½ΠΎ ΡΠ²ΡΠ·Π°Π½Ρ ΠΌΠ΅ΠΆΠ΄Ρ ΡΠΎΠ±ΠΎΠΉ, Π½ΠΈΠΆΠ½ΠΈΠΉ ΠΊΠ»ΠΈΠ½ 2 Π²ΡΠΏΠΎΠ»Π½Π΅Π½ Ρ ΡΠΏΠΎΡΠΎΠΌ 16 (ΡΠΈΠ³.1), Π²Π·Π°ΠΈΠΌΠΎΠ΄Π΅ΠΉΡΡΠ²ΡΡΡΠΈΠΌ Ρ Π²Π΅ΡΡ Π½ΠΈΠΌ ΠΊΠ»ΠΈΠ½ΠΎΠΌ 1 ΠΏΡΠΈ ΠΏΠ΅ΡΠ΅ΠΌΠ΅ΡΠ΅Π½ΠΈΠΈ ΠΏΠΎΡΠ»Π΅Π΄Π½Π΅Π³ΠΎ ΠΎΡΠ½ΠΎΡΠΈΡΠ΅Π»ΡΠ½ΠΎ Π½ΠΈΠΆΠ½Π΅Π³ΠΎ ΠΊΠ»ΠΈΠ½Π° 2. ΠΠ»ΠΈΠ½Π° Π²Π΅ΡΡ Π½Π΅Π³ΠΎ ΠΊΠ»ΠΈΠ½Π° 1 ΠΌΠ΅Π½ΡΡΠ΅ Π΄Π»ΠΈΠ½Ρ Π½ΠΈΠΆΠ½Π΅Π³ΠΎ ΠΊΠ»ΠΈΠ½Π° 2.
Π‘Π²ΡΠ·Ρ Π²Π΅ΡΡ Π½Π΅Π³ΠΎ ΠΈ Π½ΠΈΠΆΠ½Π΅Π³ΠΎ ΠΊΠ»ΠΈΠ½ΡΠ΅Π² Π²ΡΠΏΠΎΠ»Π½Π΅Π½Π° ΠΈΠ· Π±ΠΎΠ»ΡΠ° 17, ΡΠ°ΡΠΏΠΎΠ»ΠΎΠΆΠ΅Π½Π½ΠΎΠ³ΠΎ Π² ΡΠ΅Π·ΡΠ±ΠΎΠ²ΠΎΠΌ ΠΎΡΠ²Π΅ΡΡΡΠΈΠΈ 18 ΡΠΏΠΎΡΠ° 16 Π½ΠΈΠΆΠ½Π΅Π³ΠΎ ΠΊΠ»ΠΈΠ½Π° 2. ΠΠΎΠ½Π΅Ρ Π±ΠΎΠ»ΡΠ° Π·Π°ΡΠΈΠΊΡΠΈΡΠΎΠ²Π°Π½ Π² Π³Π½Π΅Π·Π΄Π΅ 19 (ΡΠΈΠ³.2) Π²Π΅ΡΡ Π½Π΅Π³ΠΎ ΠΊΠ»ΠΈΠ½Π° 1 Ρ Π²ΠΎΠ·ΠΌΠΎΠΆΠ½ΠΎΡΡΡΡ Π΅Π³ΠΎ ΡΠ²ΠΎΠ±ΠΎΠ΄Π½ΠΎΠ³ΠΎ Π²ΡΠ°ΡΠ΅Π½ΠΈΡ Π² ΡΡΠΎΠΌ Π³Π½Π΅Π·Π΄Π΅ ΠΈ Π²Π·Π°ΠΈΠΌΠΎΠ΄Π΅ΠΉΡΡΠ²ΠΈΡ Ρ ΠΏΠΎΠ²Π΅ΡΡ Π½ΠΎΡΡΡΡ Π³Π½Π΅Π·Π΄Π° ΠΏΡΠΈ ΠΏΠ΅ΡΠ΅ΠΌΠ΅ΡΠ΅Π½ΠΈΠΈ Π²Π΅ΡΡ Π½Π΅Π³ΠΎ ΠΊΠ»ΠΈΠ½Π° 1 Π² ΡΡΠΎΡΠΎΠ½Ρ ΠΎΡ ΡΠΏΠΎΡΠ° 16 Π½ΠΈΠΆΠ½Π΅Π³ΠΎ ΠΊΠ»ΠΈΠ½Π° 2 ΠΈ Π² ΠΎΠ±ΡΠ°ΡΠ½ΡΡ ΡΡΠΎΡΠΎΠ½Ρ.
ΠΠΎ Π²ΡΠΎΡΠΎΠΌ ΠΏΡΠΈΠΌΠ΅ΡΠ΅ ΡΠΎΠ΅Π΄ΠΈΠ½Π΅Π½ΠΈΡ (ΡΠΈΠ³.6) ΡΠΈΠΊΡΠ°ΡΠΎΡ 8 ΡΠ²ΡΠ·Π°Π½ Ρ Π½ΠΈΠΆΠ½ΠΈΠΌ ΠΊΠ»ΠΈΠ½ΠΎΠΌ 2 Π·Π°ΠΌΠΊΠ°, ΠΊΠΎΠ½ΡΠ°ΠΊΡΠΈΡΡΡΡΠΈΠΌ Ρ Π²ΡΠΏΠΎΠ»Π½Π΅Π½Π½ΡΠΌ Π½Π° Π½Π°ΠΏΡΠ°Π²Π»ΡΡΡΠ΅ΠΉ ΠΎΠ³ΡΠ°Π½ΠΈΡΠΈΡΠ΅Π»Π΅ΠΌ 20 Π² Π½Π΅ΡΠ°Π±ΠΎΡΠ΅ΠΌ ΠΏΠΎΠ»ΠΎΠΆΠ΅Π½ΠΈΠΈ Π·Π°ΠΌΠΊΠ° 9. Π ΡΡΠΎΠΌ ΠΏΡΠΈΠΌΠ΅ΡΠ΅ ΡΠΎΠ΅Π΄ΠΈΠ½Π΅Π½ΠΈΡ ΡΠΈΠΊΡΠ°ΡΠΎΡ 8 Π²ΡΠΏΠΎΠ»Π½Π΅Π½ ΠΈΠ· U-ΠΎΠ±ΡΠ°Π·Π½ΠΎΠΉ ΡΠΏΡΡΠ³ΠΎΠΉ ΡΠΊΠΎΠ±Ρ 21 (ΡΠΈΠ³.7, 8), ΠΊΠΎΡΠΎΡΠ°Ρ ΠΏΠΎΠ΄Π²ΠΈΠΆΠ½ΠΎ ΡΡΡΠ°Π½ΠΎΠ²Π»Π΅Π½Π° Π² Π½ΠΈΠΆΠ½ΠΈΡ ΠΎΡΠ²Π΅ΡΡΡΠΈΡΡ 22 Π±ΠΎΠΊΠΎΠ²ΡΡ ΡΠ°ΡΡΠ΅ΠΉ 23 Π΄Π΅ΡΠΆΠ°ΡΠ΅Π»Ρ 9, Π² Π²Π΅ΡΡ Π½ΠΈΡ ΠΎΡΠ²Π΅ΡΡΡΠΈΡΡ 24 ΡΡΠΈΡ Π±ΠΎΠΊΠΎΠ²ΡΡ ΡΠ°ΡΡΠ΅ΠΉ ΠΈ Π² ΠΎΡΠ²Π΅ΡΡΡΠΈΠΈ 25 Π½ΠΈΠΆΠ½Π΅Π³ΠΎ ΠΊΠ»ΠΈΠ½Π° 2. ΠΠ»ΠΈΠ½Π° L Π½ΠΈΠΆΠ½Π΅Π³ΠΎ ΠΊΠ»ΠΈΠ½Π° 2 (ΡΠΈΠ³.6) ΠΌΠ΅Π½ΡΡΠ΅ ΡΠ°ΡΡΡΠΎΡΠ½ΠΈΡ Lmin ΠΌΠ΅ΠΆΠ΄Ρ ΠΎΠ³ΡΠ°Π½ΠΈΡΠΈΡΠ΅Π»Π΅ΠΌ 20 ΠΈ Π±ΠΎΠΊΠΎΠ²ΠΎΠΉ ΠΏΠΎΠ²Π΅ΡΡ Π½ΠΎΡΡΡΡ 26 Π²Π½ΡΡΡΠ΅Π½Π½Π΅ΠΉ ΠΏΡΠΎΡΡΠΈΠ½Ρ 5 ΡΠΎΠ΅Π΄ΠΈΠ½Π΅Π½ΠΈΡ. Π‘ΠΊΠΎΠ±Π° 21 (ΡΠΈΠ³.6, 8) ΡΡΡΠ°Π½ΠΎΠ²Π»Π΅Π½Π° Π² Π½ΠΈΠΆΠ½ΠΈΡ ΠΎΡΠ²Π΅ΡΡΡΠΈΡΡ 22 Π΄Π΅ΡΠΆΠ°ΡΠ΅Π»Ρ Ρ Π²ΠΎΠ·ΠΌΠΎΠΆΠ½ΠΎΡΡΡΡ Π΅Π΅ ΠΏΠΎΠ²ΠΎΡΠΎΡΠ° (ΠΏΠΎ ΡΡΡΠ΅Π»ΠΊΠ°ΠΌ) Π² ΡΡΠΈΡ ΠΎΡΠ²Π΅ΡΡΡΠΈΡΡ Π² ΠΏΠ»ΠΎΡΠΊΠΎΡΡΠΈ Π΄Π΅ΡΠΆΠ°ΡΠ΅Π»Ρ 9 ΠΈ Π²ΠΎΠ·ΠΌΠΎΠΆΠ½ΠΎΡΡΡΡ ΡΠΈΠΊΡΠ°ΡΠΈΠΈ Π·Π°ΠΌΠΊΠ° ΠΈΠ»ΠΈ ΠΊΠ»ΠΈΠ½ΡΠ΅Π² Π² Π΄Π²ΡΡ ΠΊΡΠ°ΠΉΠ½ΠΈΡ ΡΠ°Π±ΠΎΡΠ΅ΠΌ ΠΈ Π½Π΅ΡΠ°Π±ΠΎΡΠ΅ΠΌ ΠΏΠΎΠ»ΠΎΠΆΠ΅Π½ΠΈΡΡ . ΠΠ»Ρ ΡΡΠΎΠ³ΠΎ ΠΎΠ΄Π½Π° Π²Π΅ΡΠ²Ρ 27 (ΡΠΈΠ³.7) U-ΠΎΠ±ΡΠ°Π·Π½ΠΎΠΉ ΡΠΊΠΎΠ±Ρ 21 Π²ΡΠΏΠΎΠ»Π½Π΅Π½Π° ΠΊΠΎΡΠΎΡΠ΅ Π΄ΡΡΠ³ΠΎΠΉ Π΅Π΅ Π²Π΅ΡΠ²ΠΈ 28, Π½Π° ΠΊΠΎΠ½ΡΠ΅ ΠΊΠΎΡΠΎΡΠΎΠΉ Π²ΡΠΏΠΎΠ»Π½Π΅Π½ ΡΠΏΠΎΡ 29.
ΠΠ±Π° ΠΏΡΠΈΠΌΠ΅ΡΠ° ΠΈΡΠΏΠΎΠ»Π½Π΅Π½ΠΈΡ ΡΠΎΠ΅Π΄ΠΈΠ½Π΅Π½ΠΈΡ ΠΈΠΌΠ΅ΡΡ Π½Π°Π²ΠΈΠ½ΡΠ΅Π½Π½ΡΡ Π½Π° Π±ΠΎΠ»Ρ 17 (ΡΠΈΠ³.1) ΠΊΠΎΠ½ΡΡΠ³Π°ΠΉΠΊΡ 30 ΠΈ ΡΡΡΠ°Π½ΠΎΠ²Π»Π΅Π½Π½ΠΎΠ΅ Π² ΠΊΠ°Π½Π°Π²ΠΊΠ΅ Π³Π½Π΅Π·Π΄Π° 19 (ΡΠΈΠ³.2) Π²Π΅ΡΡ Π½Π΅Π³ΠΎ ΠΊΠ»ΠΈΠ½Π° 1 Π·Π°ΠΏΠΎΡΠ½ΠΎΠ΅ ΠΊΠΎΠ»ΡΡΠΎ 31, ΠΏΠΎΡΡΠ΅Π΄ΡΡΠ²ΠΎΠΌ ΠΊΠΎΡΠΎΡΠΎΠ³ΠΎ ΠΎΡΡΡΠ΅ΡΡΠ²Π»Π΅Π½Π° ΡΠ²ΡΠ·Ρ ΠΊΠΎΠ½ΡΠ° Π±ΠΎΠ»ΡΠ° 17 Ρ Π²Π΅ΡΡ Π½ΠΈΠΌ ΠΊΠ»ΠΈΠ½ΠΎΠΌ.
ΠΠΎ Π²ΡΠΎΡΠΎΠΌ ΠΏΡΠΈΠΌΠ΅ΡΠ΅ Π²ΡΠΏΠΎΠ»Π½Π΅Π½ΠΈΡ ΡΠΎΠ΅Π΄ΠΈΠ½Π΅Π½ΠΈΡ Π΄Π»ΠΈΠ½Π½Π°Ρ Π²Π΅ΡΠ²Ρ 28 U-ΠΎΠ±ΡΠ°Π·Π½ΠΎΠΉ ΡΠΊΠΎΠ±Ρ 21 (ΡΠΈΠ³.7, 8) Π²ΡΠΏΠΎΠ»Π½Π΅Π½Π° Ρ ΡΠΏΠΎΡΠΎΠΌ 32, Π²ΡΡΠΎΡΠ° ΠΊΠΎΡΠΎΡΠΎΠ³ΠΎ Π²ΡΠ±ΡΠ°Π½Π° ΠΌΠ΅Π½ΡΡΠ΅ ΠΏΡΠΎΡ ΠΎΠ΄Π½ΠΎΠ³ΠΎ ΡΠ΅ΡΠ΅Π½ΠΈΡ ΠΊΠ°ΠΆΠ΄ΠΎΠ³ΠΎ ΠΎΡΠ²Π΅ΡΡΡΠΈΡ 22 Π² Π±ΠΎΠΊΠΎΠ²ΡΡ ΡΠ°ΡΡΡΡ 23 Π΄Π΅ΡΠΆΠ°ΡΠ΅Π»Ρ 9. Π¨Π°ΡΠ½ΠΈΡΠ½Π°Ρ ΡΠ²ΡΠ·Ρ ΠΏΠΎΠ²ΠΎΡΠΎΡΠ½ΠΎΠΉ ΡΠ°ΠΌΠΊΠΈ 14 (ΡΠΈΠ³.1) Ρ Π½Π°ΠΏΡΠ°Π²Π»ΡΡΡΠ΅ΠΉ 10 Π²ΡΠΏΠΎΠ»Π½Π΅Π½Π° ΠΏΠΎΡΡΠ΅Π΄ΡΡΠ²ΠΎΠΌ ΠΎΡΠΈ 33.
Π ΠΏΠ΅ΡΠ²ΠΎΠΌ ΠΏΡΠΈΠΌΠ΅ΡΠ΅ Π²ΡΠΏΠΎΠ»Π½Π΅Π½ΠΈΡ (ΡΠΈΠ³.1) ΡΠΎΠ΅Π΄ΠΈΠ½Π΅Π½ΠΈΠ΅ ΡΠ°Π±ΠΎΡΠ°Π΅Ρ ΡΠ»Π΅Π΄ΡΡΡΠΈΠΌ ΠΎΠ±ΡΠ°Π·ΠΎΠΌ. ΠΠ°ΠΌΠΎΠΊ, Π²ΡΠΏΠΎΠ»Π½Π΅Π½Π½ΡΠΉ ΠΈΠ· Π΄Π²ΡΡ Π²Π΅ΡΡ Π½Π΅Π³ΠΎ ΠΈ Π½ΠΈΠΆΠ½Π΅Π³ΠΎ ΠΊΠ»ΠΈΠ½ΡΠ΅Π² 1 ΠΈ 2, ΠΊΠΎΡΠΎΡΡΠ΅ ΠΏΠΎΠΊΠ°Π·Π°Π½Ρ Π² Π½Π΅ΡΠ°Π±ΠΎΡΠ΅ΠΌ ΠΏΠΎΠ»ΠΎΠΆΠ΅Π½ΠΈΠΈ Π½Π° ΡΠΈΠ³.5, ΡΡΡΠ°Π½Π°Π²Π»ΠΈΠ²Π°ΡΡ Π² ΡΠ°Π±ΠΎΡΠ΅Π΅ ΠΏΠΎΠ»ΠΎΠΆΠ΅Π½ΠΈΠ΅ (ΡΠΈΠ³.1), Π΄Π»Ρ ΡΠ΅Π³ΠΎ ΠΏΠ΅ΡΠ΅ΠΌΠ΅ΡΠ°ΡΡ ΠΊΠ»ΠΈΠ½ΡΡ Π² ΠΎΡΠ²Π΅ΡΡΡΠΈΡ 3 ΠΈ 4 ΡΠΎΠΎΡΠ²Π΅ΡΡΡΠ²ΡΡΡΠΈΡ ΠΈΠΌ Π²Π½ΡΡΡΠ΅Π½Π½Π΅ΠΉ ΠΈ Π½Π°ΡΡΠΆΠ½ΡΡ ΠΏΡΠΎΡΡΠΈΠ½ 5 ΠΈ 6. ΠΡΠΈ ΠΏΠ΅ΡΠ΅ΠΌΠ΅ΡΠ΅Π½ΠΈΠΈ Π·Π°ΠΌΠΊΠ° Π² ΡΠ°Π±ΠΎΡΠ΅Π΅ ΠΏΠΎΠ»ΠΎΠΆΠ΅Π½ΠΈΠ΅ ΠΎΡΡ 13 Π½ΠΈΠΆΠ½Π΅Π³ΠΎ ΠΊΠ»ΠΈΠ½Π° 2 ΠΏΠ΅ΡΠ΅ΠΌΠ΅ΡΠ°Π΅ΡΡΡ Π² ΠΏΠ°Π·Π°Ρ 11 (ΡΠΈΠ³.4) Π½Π°ΠΏΡΠ°Π²Π»ΡΡΡΠ΅ΠΉ 10 ΠΈΠ· ΠΊΡΠ°ΠΉΠ½Π΅Π³ΠΎ Π»Π΅Π²ΠΎΠ³ΠΎ ΠΏΠΎΠ»ΠΎΠΆΠ΅Π½ΠΈΡ, ΠΏΠΎΠΊΠ°Π·Π°Π½Π½ΠΎΠ³ΠΎ Π½Π° ΡΠΈΠ³.5, Π² ΠΊΡΠ°ΠΉΠ½Π΅Π΅ ΠΏΡΠ°Π²ΠΎΠ΅ ΠΏΠΎΠ»ΠΎΠΆΠ΅Π½ΠΈΠ΅, ΠΏΠΎΠΊΠ°Π·Π°Π½Π½ΠΎΠ΅ Π½Π° ΡΠΈΠ³.1 ΠΈ 3. ΠΠΎΡΠ»Π΅ ΡΡΠΎΠ³ΠΎ Π΄Π΅ΠΉΡΡΠ²ΠΈΡ ΡΠ°ΠΌΠΊΡ 14 ΠΏΠΎΠ²ΠΎΡΠ°ΡΠΈΠ²Π°ΡΡ ΠΏΠΎ ΡΠ°ΡΠΎΠ²ΠΎΠΉ ΡΡΡΠ΅Π»ΠΊΠ΅ (ΡΠΈΠ³.5) ΠΈΠ· ΠΊΡΠ°ΠΉΠ½Π΅Π³ΠΎ Π»Π΅Π²ΠΎΠ³ΠΎ ΠΏΠΎΠ»ΠΎΠΆΠ΅Π½ΠΈΡ Π² ΠΊΡΠ°ΠΉΠ½Π΅Π΅ ΠΏΡΠ°Π²ΠΎΠ΅ ΠΏΠΎΠ»ΠΎΠΆΠ΅Π½ΠΈΠ΅, Π° Π·Π°ΡΠ΅Π»ΠΊΡ 15 Π²Π²ΠΎΠ΄ΡΡ Π² Π·Π°ΡΠ΅ΠΏΠ»Π΅Π½ΠΈΠ΅ Ρ ΠΎΡΡΡ 13 (ΡΠΈΠ³.1). ΠΡΠΈ ΡΡΠΎΠΌ Π·Π°ΠΌΠΎΠΊ Π² ΠΎΡΠ²Π΅ΡΡΡΠΈΡΡ ΠΏΡΠΎΡΡΠΈΠ½ Π·Π°ΠΏΠΈΡΠ°Π΅ΡΡΡ, ΡΡΠΎ ΠΈΡΠΊΠ»ΡΡΠ°Π΅Ρ Π΅Π³ΠΎ ΠΏΠ΅ΡΠ΅ΠΌΠ΅ΡΠ΅Π½ΠΈΠ΅ Π² ΠΎΠ±ΡΠ°ΡΠ½ΡΡ ΡΡΠΎΡΠΎΠ½Ρ. ΠΠ°Π»Π΅Π΅ Π²ΡΠ°ΡΠ°ΡΡ Π±ΠΎΠ»Ρ 17 ΠΏΠΎ ΡΠ°ΡΠΎΠ²ΠΎΠΉ ΡΡΡΠ΅Π»ΠΊΠ΅ Π² ΡΠ΅Π·ΡΠ±ΠΎΠ²ΠΎΠΌ ΠΎΡΠ²Π΅ΡΡΡΠΈΠΈ 18 ΡΠΏΠΎΡΠ° 16, ΠΏΡΠΈ ΡΡΠΎΠΌ ΡΠΎΡΠ΅Ρ Π±ΠΎΠ»ΡΠ° 17 (ΡΠΈΠ³.2) ΡΠΏΠΈΡΠ°Π΅ΡΡΡ Π² ΡΠΎΡΡΠ΅Π²ΡΡ ΠΏΠΎΠ²Π΅ΡΡ Π½ΠΎΡΡΡ Π³Π½Π΅Π·Π΄Π° 19 ΠΈ ΠΏΠ΅ΡΠ΅ΠΌΠ΅ΡΠ°Π΅Ρ Π²Π΅ΡΡ Π½ΠΈΠΉ ΠΊΠ»ΠΈΠ½ 1 Π² ΡΡΠΎΡΠΎΠ½Ρ ΠΎΡ ΡΠΏΠΎΡΠ° 16 Π½ΠΈΠΆΠ½Π΅Π³ΠΎ ΠΊΠ»ΠΈΠ½Π° 2 Π΄ΠΎ ΡΠ΅Ρ ΠΏΠΎΡ, ΠΏΠΎΠΊΠ° Π½Π΅ Π±ΡΠ΄ΡΡ Π²ΡΠ±ΡΠ°Π½Ρ Π²ΡΠ΅ Π·Π°Π·ΠΎΡΡ Π² ΡΠΎΠ΅Π΄ΠΈΠ½Π΅Π½ΠΈΠΈ. ΠΠΎΠ½ΡΡΠ³Π°ΠΉΠΊΠΎΠΉ 30 ΡΡΠΎΠΏΠΎΡΡΡ Π±ΠΎΠ»Ρ 17 ΠΈ ΡΠΎΠ΅Π΄ΠΈΠ½Π΅Π½ΠΈΠ΅ ΠΏΡΠΈΠ²ΠΎΠ΄ΠΈΡΡΡ Π² ΡΠ°Π±ΠΎΡΠ΅Π΅ ΠΏΠΎΠ»ΠΎΠΆΠ΅Π½ΠΈΠ΅.
ΠΡΠ²ΠΎΠ΄ΡΡ Π·Π°ΠΌΠΎΠΊ ΠΈΠ· ΡΠ°Π±ΠΎΡΠ΅Π³ΠΎ ΠΏΠΎΠ»ΠΎΠΆΠ΅Π½ΠΈΡ Π² Π½Π΅ΡΠ°Π±ΠΎΡΠ΅Π΅ ΠΏΠΎΠ»ΠΎΠΆΠ΅Π½ΠΈΠ΅ Π² ΠΎΠ±ΡΠ°ΡΠ½ΠΎΠΌ ΠΏΠΎΡΡΠ΄ΠΊΠ΅, ΠΏΡΠΈ ΡΡΠΎΠΌ ΡΡΠΎΠΏΠΎΡΠ½ΠΎΠ΅ ΠΊΠΎΠ»ΡΡΠΎ 31 (ΡΠΈΠ³.2) ΠΏΡΠΈ Π²ΡΠ°ΡΠ΅Π½ΠΈΠΈ Π±ΠΎΠ»ΡΠ° 17 ΠΏΡΠΎΡΠΈΠ² ΡΠ°ΡΠΎΠ²ΠΎΠΉ ΡΡΡΠ΅Π»ΠΊΠΈ ΡΠΈΠΊΡΠΈΡΡΠ΅Ρ ΠΊΠΎΠ½Π΅Ρ Π±ΠΎΠ»ΡΠ° Π² Π³Π½Π΅Π·Π΄Π΅ 19 Π²Π΅ΡΡ Π½Π΅Π³ΠΎ ΠΊΠ»ΠΈΠ½Π° 1, ΡΡΠΎ ΠΏΠΎΠ·Π²ΠΎΠ»ΡΠ΅Ρ ΠΏΡΠΈ Π²ΡΠ²ΠΈΠ½ΡΠΈΠ²Π°Π½ΠΈΠΈ Π±ΠΎΠ»ΡΠ° 17 ΠΈΠ· ΡΠ΅Π·ΡΠ±ΠΎΠ²ΠΎΠ³ΠΎ ΠΎΡΠ²Π΅ΡΡΡΠΈΡ 18 ΡΠΏΠΎΡΠ° 16 ΠΏΠ΅ΡΠ΅ΠΌΠ΅ΡΠ°ΡΡ Π²Π΅ΡΡ Π½ΠΈΠΉ ΠΊΠ»ΠΈΠ½ 1 Π² Π½Π°ΠΏΡΠ°Π²Π»Π΅Π½ΠΈΠΈ ΡΠΏΠΎΡΠ° 16. ΠΠΎΡΠ»Π΅ ΡΡΠΎΠ³ΠΎ Π·Π°ΡΠ΅Π»ΠΊΡ 15 (ΡΠΈΠ³.1) Π²ΡΠ²ΠΎΠ΄ΡΡ ΠΈΠ· Π·Π°ΡΠ΅ΠΏΠ»Π΅Π½ΠΈΡ Ρ ΠΎΡΡΡ 13, ΡΠ°ΠΌΠΊΡ 14 Π²ΠΎΠΊΡΡΠ³ ΠΎΡΠΈ 33 ΠΏΠΎΠ²ΠΎΡΠ°ΡΠΈΠ²Π°ΡΡ Π² ΠΊΡΠ°ΠΉΠ½Π΅Π΅ Π»Π΅Π²ΠΎΠ΅ ΠΏΠΎΠ»ΠΎΠΆΠ΅Π½ΠΈΠ΅ (ΡΠΈΠ³.5), Π·Π°ΡΠ΅ΠΌ ΠΏΠ΅ΡΠ΅ΠΌΠ΅ΡΠ°ΡΡ ΠΎΠ±Π° ΠΊΠ»ΠΈΠ½Π° Π² ΠΊΡΠ°ΠΉΠ½Π΅Π΅ Π»Π΅Π²ΠΎΠ΅ ΠΏΠΎΠ»ΠΎΠΆΠ΅Π½ΠΈΠ΅ ΠΈ Π΄Π°Π»Π΅Π΅ Π²Π²ΠΎΠ΄ΡΡ Π² Π·Π°ΡΠ΅ΠΏΠ»Π΅Π½ΠΈΠ΅ Ρ ΠΎΡΡΡ 13 Π½ΠΈΠΆΠ½Π΅Π³ΠΎ ΠΊΠ»ΠΈΠ½Π° 2 Π²ΡΠΎΡΠΎΠΉ ΠΊΠΎΠ½Π΅Ρ Π·Π°ΡΠ΅Π»ΠΊΠΈ 15 ΡΠ°ΠΊ, ΠΊΠ°ΠΊ ΡΡΠΎ ΠΏΠΎΠΊΠ°Π·Π°Π½ΠΎ Π½Π° ΡΠΈΠ³.5. Π ΡΡΠΎΠΌ ΠΏΠΎΠ»ΠΎΠΆΠ΅Π½ΠΈΠΈ Π·Π°ΠΌΠΎΠΊ ΡΠΎΠ΅Π΄ΠΈΠ½Π΅Π½ΠΈΡ – Π΅Π³ΠΎ Π²Π΅ΡΡ Π½ΠΈΠΉ ΠΈ Π½ΠΈΠΆΠ½ΠΈΠΉ ΠΊΠ»ΠΈΠ½ΡΡ 1 ΠΈ 2 ΠΎΡΡΠ°ΡΡΡΡ Π² Π½Π΅ΡΠ°Π±ΠΎΡΠ΅ΠΌ ΠΏΠΎΠ»ΠΎΠΆΠ΅Π½ΠΈΠΈ Π·Π°ΠΊΡΠ΅ΠΏΠ»Π΅Π½Π½ΡΠΌΠΈ Π½Π° ΠΏΠΎΡΡΠ΅ ΡΠ΅ΠΊΡΠΈΠΈ Π±Π°ΡΠ½ΠΈ ΠΏΠΎΡΡΠ΅Π΄ΡΡΠ²ΠΎΠΌ Π΄Π΅ΡΠΆΠ°ΡΠ΅Π»Ρ 9.
ΠΠΎ Π²ΡΠΎΡΠΎΠΌ ΠΏΡΠΈΠΌΠ΅ΡΠ΅ Π²ΡΠΏΠΎΠ»Π½Π΅Π½ΠΈΡ (ΡΠΈΠ³.6) ΡΠΎΠ΅Π΄ΠΈΠ½Π΅Π½ΠΈΠ΅ ΡΠ°Π±ΠΎΡΠ°Π΅Ρ Π°Π½Π°Π»ΠΎΠ³ΠΈΡΠ½ΡΠΌ ΠΎΠ±ΡΠ°Π·ΠΎΠΌ, Π·Π° ΠΈΡΠΊΠ»ΡΡΠ΅Π½ΠΈΠ΅ΠΌ ΡΠΎΠ³ΠΎ, ΡΡΠΎ ΡΠ½Π°ΡΠ°Π»Π° ΠΏΡΠΈΠΊΠ»Π°Π΄ΡΠ²Π°ΡΡ ΡΠΈΠ»Ρ Π (ΡΠΈΠ³.8) ΠΊ ΠΊΠΎΠ½ΡΡ Π΄Π»ΠΈΠ½Π½ΠΎΠΉ Π²Π΅ΡΠ²ΠΈ 28 U-ΠΎΠ±ΡΠ°Π·Π½ΠΎΠΉ ΡΠΊΠΎΠ±Ρ 21, ΡΠΎΠ²ΠΌΠ΅ΡΠ°ΡΡ ΡΠΏΠΎΡ 32 Π΄Π»ΠΈΠ½Π½ΠΎΠΉ Π²Π΅ΡΠ²ΠΈ 28 ΡΠΊΠΎΠ±Ρ Ρ ΠΎΡΠ²Π΅ΡΡΡΠΈΡΠΌΠΈ 22 Π±ΠΎΠΊΠΎΠ²ΡΡ ΡΠ°ΡΡΠ΅ΠΉ 23, Π·Π°ΡΠ΅ΠΌ Π²ΡΠ½ΠΈΠΌΠ°ΡΡ U-ΠΎΠ±ΡΠ°Π·Π½ΡΡ ΡΠΊΠΎΠ±Ρ 21 ΠΈΠ· ΠΎΡΠ²Π΅ΡΡΡΠΈΠΉ 24 Π±ΠΎΠΊΠΎΠ²ΡΡ ΡΠ°ΡΡΠ΅ΠΉ 23 ΠΈ ΠΈΠ· ΠΎΡΠ²Π΅ΡΡΡΠΈΡ 25 Π½ΠΈΠΆΠ½Π΅Π³ΠΎ ΠΊΠ»ΠΈΠ½Π° 2. ΠΠΎΡΠ»Π΅ ΠΏΡΠΎΠ²Π΅Π΄Π΅Π½Π½ΡΡ ΠΎΠΏΠ΅ΡΠ°ΡΠΈΠΉ ΠΈΠ· ΠΊΡΠ°ΠΉΠ½Π΅Π³ΠΎ Π»Π΅Π²ΠΎΠ³ΠΎ ΠΏΠΎΠ»ΠΎΠΆΠ΅Π½ΠΈΡ (ΡΠΈΠ³.6) Π²Π΅ΡΡ Π½ΠΈΠΉ ΠΈ Π½ΠΈΠΆΠ½ΠΈΠΉ ΠΊΠ»ΠΈΠ½ΡΡ 1 ΠΈ 2 Π·Π°ΠΌΠΊΠ°, ΠΏΠΎΠΊΠ°Π·Π°Π½Π½ΡΠ΅ ΡΠΎΠ½ΠΊΠΈΠΌΠΈ Π»ΠΈΠ½ΠΈΡΠΌΠΈ, ΠΏΠ΅ΡΠ΅ΠΌΠ΅ΡΠ°ΡΡ ΠΏΠΎ Π½Π°ΠΏΡΠ°Π²Π»ΡΡΡΠ΅ΠΉ 10 Π² ΡΡΠΎΡΠΎΠ½Ρ ΠΎΡ ΠΎΠ³ΡΠ°Π½ΠΈΡΠΈΡΠ΅Π»Ρ 20 Π² ΠΊΡΠ°ΠΉΠ½Π΅Π΅ ΠΏΡΠ°Π²ΠΎΠ΅ ΠΏΠΎΠ»ΠΎΠΆΠ΅Π½ΠΈΠ΅, ΠΏΠΎΠΊΠ°Π·Π°Π½Π½ΠΎΠ΅ Π½Π° ΡΠΈΠ³.6 ΠΊΠΎΠ½ΡΡΡΠ½ΡΠΌΠΈ Π»ΠΈΠ½ΠΈΡΠΌΠΈ. ΠΠ°Π»Π΅Π΅ ΠΏΠΎΠ²ΠΎΡΠ°ΡΠΈΠ²Π°ΡΡ U-ΠΎΠ±ΡΠ°Π·Π½ΡΡ ΡΠΊΠΎΠ±Ρ 21 ΠΏΠΎ ΡΠ°ΡΠΎΠ²ΠΎΠΉ ΡΡΡΠ΅Π»ΠΊΠ΅ ΠΈΠ· ΠΊΡΠ°ΠΉΠ½Π΅Π³ΠΎ Π»Π΅Π²ΠΎΠ³ΠΎ ΠΏΠΎΠ»ΠΎΠΆΠ΅Π½ΠΈΡ Π² ΠΊΡΠ°ΠΉΠ½Π΅Π΅ ΠΏΡΠ°Π²ΠΎΠ΅ ΠΏΠΎΠ»ΠΎΠΆΠ΅Π½ΠΈΠ΅, Π° Π·Π°ΡΠ΅ΠΌ ΠΊΠΎΡΠΎΡΠΊΡΡ Π²Π΅ΡΠ²Ρ 27 (ΡΠΈΠ³.7) ΡΠΊΠΎΠ±Ρ 21 Π²ΡΡΠ°Π²Π»ΡΡΡ Π² ΠΎΡΠ²Π΅ΡΡΡΠΈΡ 24 Π±ΠΎΠΊΠΎΠ²ΡΡ ΡΠ°ΡΡΠ΅ΠΉ 23 Π΄Π΅ΡΠΆΠ°ΡΠ΅Π»Ρ 9 ΠΈ Π² ΠΎΡΠ²Π΅ΡΡΡΠΈΠ΅ 25 Π²Π΅ΡΡ Π½Π΅Π³ΠΎ ΠΊΠ»ΠΈΠ½Π° 2 Π² ΡΠ°Π±ΠΎΡΠ΅Π΅ ΠΏΠΎΠ»ΠΎΠΆΠ΅Π½ΠΈΠ΅, ΡΠΎΠΎΡΠ²Π΅ΡΡΡΠ²ΡΡΡΠ΅Π΅ ΡΠ°Π±ΠΎΡΠ΅ΠΌΡ ΠΏΠΎΠ»ΠΎΠΆΠ΅Π½ΠΈΡ ΠΊΠ»ΠΈΠ½ΡΠ΅Π². ΠΠ° ΡΡΠ΅Ρ ΡΠΈΠ» ΡΠΏΡΡΠ³ΠΎΡΡΠΈ ΡΠΊΠΎΠ±Π° 21 ΡΠ°ΡΠΏΡΡΠΌΠ»ΡΠ΅ΡΡΡ, Π΅Π΅ ΡΠΏΠΎΡ 32 Π²Ρ ΠΎΠ΄ΠΈΡ Π² Π·Π°ΡΠ΅ΠΏΠ»Π΅Π½ΠΈΠ΅ Ρ Π±ΠΎΠΊΠΎΠ²ΠΎΠΉ ΡΠ°ΡΡΡΡ 23 Π΄Π΅ΡΠΆΠ°ΡΠ΅Π»Ρ ΠΈ Π²Π΅ΡΡ Π½ΠΈΠΉ ΠΈ Π½ΠΈΠΆΠ½ΠΈΠΉ ΠΊΠ»ΠΈΠ½ΡΡ 1 ΠΈ 2 Π·Π°ΠΌΠΊΠ° ΠΎΠΊΠ°Π·ΡΠ²Π°Π΅ΡΡΡ Π·Π°ΠΏΠ΅ΡΡΡΠΌ Π² ΡΠ°Π±ΠΎΡΠ΅ΠΌ ΠΏΠΎΠ»ΠΎΠΆΠ΅Π½ΠΈΠΈ. ΠΡΠ²ΠΎΠ΄ΡΡ ΠΊΠ»ΠΈΠ½ΡΡ Π² Π½Π΅ΡΠ°Π±ΠΎΡΠ΅Π΅ ΠΏΠΎΠ»ΠΎΠΆΠ΅Π½ΠΈΠ΅ Π²ΠΎ Π²ΡΠΎΡΠΎΠΌ ΠΏΡΠΈΠΌΠ΅ΡΠ΅ Π²ΡΠΏΠΎΠ»Π½Π΅Π½ΠΈΡ ΡΠΎΠ΅Π΄ΠΈΠ½Π΅Π½ΠΈΡ Π² ΠΎΠ±ΡΠ°ΡΠ½ΠΎΠΌ ΠΏΠΎΡΡΠ΄ΠΊΠ΅.
ΠΡΠΈ ΡΠΊΡΠΏΠ»ΡΠ°ΡΠ°ΡΠΈΠΈ ΡΠ΅ΠΊΡΠΈΠΉ Π±Π°ΡΠ½ΠΈ ΠΎΠ±Π° ΠΏΡΠΈΠΌΠ΅ΡΠ° Π²ΡΠΏΠΎΠ»Π½Π΅Π½ΠΈΡ ΡΠΎΠ΅Π΄ΠΈΠ½Π΅Π½ΠΈΡ ΠΎΠ±Π΅ΡΠΏΠ΅ΡΠΈΠ²Π°ΡΡ ΡΠ΄Π΅ΡΠΆΠ°Π½ΠΈΠ΅ Π·Π°ΠΌΠΊΠ° ΡΠΎΠ΅Π΄ΠΈΠ½Π΅Π½ΠΈΡ Π½Π° ΡΠΎΠΌ ΠΏΠΎΡΡΠ΅ ΡΠ΅ΠΊΡΠΈΠΈ Π±Π°ΡΠ½ΠΈ, Π½Π° ΠΊΠΎΡΠΎΡΠΎΠΌ ΡΡΠΎΡ Π·Π°ΠΌΠΎΠΊ ΡΡΡΠ°Π½ΠΎΠ²Π»Π΅Π½ Π² Π΄Π΅ΡΠΆΠ°ΡΠ΅Π»Π΅, ΡΡΠΎ ΠΏΠΎΠ·Π²ΠΎΠ»ΡΠ΅Ρ ΠΈΡΠΏΠΎΠ»ΡΠ·ΠΎΠ²Π°ΡΡ Π² ΡΠΎΠ΅Π΄ΠΈΠ½Π΅Π½ΠΈΡΡ ΡΠ΅ΠΊΡΠΈΠΉ Π±Π°ΡΠ½ΠΈ Π±Π°ΡΠ΅Π½Π½ΠΎΠ³ΠΎ ΠΊΡΠ°Π½Π° Ρ ΠΎΡΠΎΡΠΎ ΠΏΡΠΈΡΠ°Π±ΠΎΡΠ°Π½Π½ΡΠ΅ ΠΊ ΠΊΠΎΠ½ΡΠ°ΠΊΡΠ½ΡΠΌ ΠΏΠΎΠ²Π΅ΡΡ Π½ΠΎΡΡΡΠΌ ΠΎΡΠ²Π΅ΡΡΡΠΈΠΉ ΠΏΡΠΎΡΡΠΈΠ½ ΠΈ Π΄ΡΡΠ³ ΠΊ Π΄ΡΡΠ³Ρ ΠΏΠ°ΡΡ ΡΠ²ΡΠ·Π°Π½Π½ΡΡ ΠΌΠ΅ΠΆΠ΄Ρ ΡΠΎΠ±ΠΎΠΉ ΠΊΠ»ΠΈΠ½ΡΠ΅Π², ΠΊΠ°ΠΆΠ΄Π°Ρ ΠΈΠ· ΠΊΠΎΡΠΎΡΡΡ Π·Π°ΠΊΡΠ΅ΠΏΠ»Π΅Π½Π° Π½Π° ΡΠΎΠΎΡΠ²Π΅ΡΡΡΠ²ΡΡΡΠ΅ΠΌ Π΅ΠΉ ΠΏΠΎΡΡΠ΅ ΡΠ΅ΠΊΡΠΈΠΈ. ΠΡΠΎ ΠΈΡΠΊΠ»ΡΡΠ°Π΅Ρ ΠΏΠΎΡΠ²Π»Π΅Π½ΠΈΠ΅ ΠΊΠΎΠ½ΡΠ΅Π½ΡΡΠ°ΡΠΈΠΈ Π½Π°ΠΏΡΡΠΆΠ΅Π½ΠΈΠΉ Π½Π° ΠΊΠΎΠ½ΡΠ°ΠΊΡΠ½ΡΡ ΠΏΠΎΠ²Π΅ΡΡ Π½ΠΎΡΡΡΡ ΡΠΎΠ΅Π΄ΠΈΠ½Π΅Π½ΠΈΡ, Π·Π°Π·ΠΎΡΠΎΠ² ΠΈ Π»ΡΡΡΠΎΠ², ΠΏΠΎΠ²ΡΡΠ°Π΅Ρ Π½Π°Π΄Π΅ΠΆΠ½ΠΎΡΡΡ ΡΠΎΠ΅Π΄ΠΈΠ½Π΅Π½ΠΈΡ ΠΏΠΎΡΡΠΎΠ² ΡΠ΅ΠΊΡΠΈΠΉ Π±Π°ΡΠ½ΠΈ Π±Π°ΡΠ΅Π½Π½ΠΎΠ³ΠΎ ΠΊΡΠ°Π½Π° ΠΈ Π±Π΅Π·ΠΎΠΏΠ°ΡΠ½ΠΎΡΡΡ.
ΠΡΡΠΎΡΠ½ΠΈΠΊΠΈ ΠΈΠ½ΡΠΎΡΠΌΠ°ΡΠΈΠΈ
1. SU 609712 Π, 05.06. 1978.
2. SU 346216 A, 28.07.1972.
3. ΠΠ 0974546 Π1, 26.01.2000.
4. SU 670527 Π, 30.06. 1979.
5. RU 2212374 Π‘2, 20.09.2003.
6. SU 1216135 A, 07.03.1986.
7. RU 2007368 Π‘1, 15.02.1994.
8. FR 2247417 A1, 09.05.1975.
Π€ΠΠ ΠΠ£ΠΠ ΠΠΠΠΠ ΠΠ’ΠΠΠΠ―
1. Π‘ΠΎΠ΅Π΄ΠΈΠ½Π΅Π½ΠΈΠ΅ ΠΏΠΎΡΡΠΎΠ² ΡΠ΅ΠΊΡΠΈΠΉ Π±Π°ΡΠ½ΠΈ Π±Π°ΡΠ΅Π½Π½ΠΎΠ³ΠΎ ΠΊΡΠ°Π½Π°, Π²ΠΊΠ»ΡΡΠ°ΡΡΠ΅Π΅ Π²ΡΠΏΠΎΠ»Π½Π΅Π½Π½ΡΠΉ ΠΈΠ· Π²Π΅ΡΡ Π½Π΅Π³ΠΎ ΠΈ Π½ΠΈΠΆΠ½Π΅Π³ΠΎ ΠΊΠ»ΠΈΠ½ΡΠ΅Π² Π·Π°ΠΌΠΎΠΊ, ΠΊΠΎΡΠΎΡΡΠΉ ΡΠ°ΡΠΏΠΎΠ»ΠΎΠΆΠ΅Π½ Π² ΠΎΡΠ²Π΅ΡΡΡΠΈΡΡ Π²Π½ΡΡΡΠ΅Π½Π½Π΅ΠΉ ΠΈ Π½Π°ΡΡΠΆΠ½ΡΡ ΠΏΡΠΎΡΡΠΈΠ½ ΠΏΠΎΡΡΠΎΠ² ΡΠ΅ΠΊΡΠΈΠΉ Π±Π°ΡΠ½ΠΈ, ΠΈ ΡΠΈΠΊΡΠ°ΡΠΎΡ Π·Π°ΠΌΠΊΠ°, ΠΎΡΠ»ΠΈΡΠ°ΡΡΠ΅Π΅ΡΡ ΡΠ΅ΠΌ, ΡΡΠΎ Π½Π° ΠΎΠ΄Π½ΠΎΠΌ ΠΈΠ· ΠΏΠΎΡΡΠΎΠ² Π·Π°ΠΊΡΠ΅ΠΏΠ»Π΅Π½ Π΄Π΅ΡΠΆΠ°ΡΠ΅Π»Ρ Π·Π°ΠΌΠΊΠ° Π² Π½Π΅ΡΠ°Π±ΠΎΡΠ΅ΠΌ ΠΏΠΎΠ»ΠΎΠΆΠ΅Π½ΠΈΠΈ ΠΏΠΎΡΠ»Π΅Π΄Π½Π΅Π³ΠΎ, Π° ΡΠΈΠΊΡΠ°ΡΠΎΡ ΡΠ²ΡΠ·Π°Π½ Ρ ΡΠΏΠΎΠΌΡΠ½ΡΡΡΠΌ Π΄Π΅ΡΠΆΠ°ΡΠ΅Π»Π΅ΠΌ ΠΈ Π·Π°ΠΌΠΊΠΎΠΌ.
2. Π‘ΠΎΠ΅Π΄ΠΈΠ½Π΅Π½ΠΈΠ΅ ΠΏΠΎ ΠΏ.1, ΠΎΡΠ»ΠΈΡΠ°ΡΡΠ΅Π΅ΡΡ ΡΠ΅ΠΌ, ΡΡΠΎ Π΄Π΅ΡΠΆΠ°ΡΠ΅Π»Ρ Π·Π°ΠΌΠΊΠ° Π² Π½Π΅ΡΠ°Π±ΠΎΡΠ΅ΠΌ ΠΏΠΎΠ»ΠΎΠΆΠ΅Π½ΠΈΠΈ ΠΏΠΎΡΠ»Π΅Π΄Π½Π΅Π³ΠΎ Π²ΠΊΠ»ΡΡΠ°Π΅Ρ Π½Π°ΠΏΡΠ°Π²Π»ΡΡΡΡΡ, Π² ΠΊΠΎΡΠΎΡΠΎΠΉ ΠΏΠΎΠ΄Π²ΠΈΠΆΠ½ΠΎ ΡΡΡΠ°Π½ΠΎΠ²Π»Π΅Π½ Π·Π°ΠΌΠΎΠΊ, Π½Π°ΠΏΡΠ°Π²Π»ΡΡΡΠ°Ρ ΡΠ°ΡΠΏΠΎΠ»ΠΎΠΆΠ΅Π½Π° ΠΏΠΎΠΏΠ΅ΡΠ΅ΠΊ ΠΏΠΎΡΡΠ° ΠΈ Π²ΡΠΏΠΎΠ»Π½Π΅Π½Π° Ρ ΠΏΡΠΎΠ΄ΠΎΠ»ΡΠ½ΡΠΌΠΈ ΠΏΠ°Π·Π°ΠΌΠΈ Π² Π΅Π΅ Π±ΠΎΠΊΠΎΠ²ΡΡ ΡΠ°ΡΡΡΡ , Π½ΠΈΠΆΠ½ΠΈΠΉ ΠΊΠ»ΠΈΠ½ Π²ΡΠΏΠΎΠ»Π½Π΅Π½ Ρ ΠΎΡΡΡ, ΠΊΠΎΡΠΎΡΠ°Ρ ΡΡΡΠ°Π½ΠΎΠ²Π»Π΅Π½Π° Π² ΠΏΡΠΎΠ΄ΠΎΠ»ΡΠ½ΡΡ ΠΏΠ°Π·Π°Ρ Π±ΠΎΠΊΠΎΠ²ΡΡ ΡΠ°ΡΡΠ΅ΠΉ Π½Π°ΠΏΡΠ°Π²Π»ΡΡΡΠ΅ΠΉ, ΡΠΈΠΊΡΠ°ΡΠΎΡ Π²ΡΠΏΠΎΠ»Π½Π΅Π½ ΠΈΠ· ΠΏΠΎΠ²ΠΎΡΠΎΡΠ½ΠΎΠΉ ΡΠ°ΠΌΠΊΠΈ Ρ Π·Π°ΠΊΡΠ΅ΠΏΠ»Π΅Π½Π½ΠΎΠΉ Π½Π° Π½Π΅ΠΉ ΠΏΡΡΠΆΠΈΠ½Π½ΠΎΠΉ Π·Π°ΡΠ΅Π»ΠΊΠΎΠΉ, Π²Π·Π°ΠΈΠΌΠΎΠ΄Π΅ΠΉΡΡΠ²ΡΡΡΠ΅ΠΉ Ρ ΠΎΡΡΡ Π½ΠΈΠΆΠ½Π΅Π³ΠΎ ΠΊΠ»ΠΈΠ½Π° Π² Π΅Π³ΠΎ ΡΠ°Π±ΠΎΡΠ΅ΠΌ ΠΈ Π½Π΅ΡΠ°Π±ΠΎΡΠ΅ΠΌ ΠΏΠΎΠ»ΠΎΠΆΠ΅Π½ΠΈΡΡ , ΠΏΡΠΈ ΡΡΠΎΠΌ ΠΏΠΎΠ²ΠΎΡΠΎΡΠ½Π°Ρ ΡΠ°ΠΌΠΊΠ° ΡΠ°ΡΠ½ΠΈΡΠ½ΠΎ Π·Π°ΠΊΡΠ΅ΠΏΠ»Π΅Π½Π° Π½Π° Π½Π°ΠΏΡΠ°Π²Π»ΡΡΡΠ΅ΠΉ.
3. Π‘ΠΎΠ΅Π΄ΠΈΠ½Π΅Π½ΠΈΠ΅ ΠΏΠΎ ΠΏ.2, ΠΎΡΠ»ΠΈΡΠ°ΡΡΠ΅Π΅ΡΡ ΡΠ΅ΠΌ, ΡΡΠΎ Π²Π΅ΡΡ Π½ΠΈΠΉ ΠΈ Π½ΠΈΠΆΠ½ΠΈΠΉ ΠΊΠ»ΠΈΠ½ΡΡ ΠΏΠΎΠ΄Π²ΠΈΠΆΠ½ΠΎ ΡΠ²ΡΠ·Π°Π½Ρ ΠΌΠ΅ΠΆΠ΄Ρ ΡΠΎΠ±ΠΎΠΉ, Π½ΠΈΠΆΠ½ΠΈΠΉ ΠΊΠ»ΠΈΠ½ Π²ΡΠΏΠΎΠ»Π½Π΅Π½ Ρ ΡΠΏΠΎΡΠΎΠΌ, Π²Π·Π°ΠΈΠΌΠΎΠ΄Π΅ΠΉΡΡΠ²ΡΡΡΠΈΠΌ Ρ Π²Π΅ΡΡ Π½ΠΈΠΌ ΠΊΠ»ΠΈΠ½ΠΎΠΌ ΠΏΡΠΈ ΠΏΠ΅ΡΠ΅ΠΌΠ΅ΡΠ΅Π½ΠΈΠΈ ΠΏΠΎΡΠ»Π΅Π΄Π½Π΅Π³ΠΎ ΠΎΡΠ½ΠΎΡΠΈΡΠ΅Π»ΡΠ½ΠΎ Π½ΠΈΠΆΠ½Π΅Π³ΠΎ ΠΊΠ»ΠΈΠ½Π°, Π° Π΄Π»ΠΈΠ½Π° Π²Π΅ΡΡ Π½Π΅Π³ΠΎ ΠΊΠ»ΠΈΠ½Π° ΠΌΠ΅Π½ΡΡΠ΅ Π΄Π»ΠΈΠ½Ρ Π½ΠΈΠΆΠ½Π΅Π³ΠΎ ΠΊΠ»ΠΈΠ½Π°.
4. Π‘ΠΎΠ΅Π΄ΠΈΠ½Π΅Π½ΠΈΠ΅ ΠΏΠΎ ΠΏ.3, ΠΎΡΠ»ΠΈΡΠ°ΡΡΠ΅Π΅ΡΡ ΡΠ΅ΠΌ, ΡΡΠΎ ΡΠ²ΡΠ·Ρ Π²Π΅ΡΡ Π½Π΅Π³ΠΎ ΠΈ Π½ΠΈΠΆΠ½Π΅Π³ΠΎ ΠΊΠ»ΠΈΠ½ΡΠ΅Π² Π²ΡΠΏΠΎΠ»Π½Π΅Π½Π° ΠΈΠ· Π±ΠΎΠ»ΡΠ°, ΡΠ°ΡΠΏΠΎΠ»ΠΎΠΆΠ΅Π½Π½ΠΎΠ³ΠΎ Π² ΡΠ΅Π·ΡΠ±ΠΎΠ²ΠΎΠΌ ΠΎΡΠ²Π΅ΡΡΡΠΈΠΈ ΡΠΏΠΎΡΠ° Π½ΠΈΠΆΠ½Π΅Π³ΠΎ ΠΊΠ»ΠΈΠ½Π°, ΠΏΡΠΈ ΡΡΠΎΠΌ ΠΊΠΎΠ½Π΅Ρ Π±ΠΎΠ»ΡΠ° Π·Π°ΡΠΈΠΊΡΠΈΡΠΎΠ²Π°Π½ Π² Π³Π½Π΅Π·Π΄Π΅ Π²Π΅ΡΡ Π½Π΅Π³ΠΎ ΠΊΠ»ΠΈΠ½Π° Ρ Π²ΠΎΠ·ΠΌΠΎΠΆΠ½ΠΎΡΡΡΡ Π΅Π³ΠΎ ΡΠ²ΠΎΠ±ΠΎΠ΄Π½ΠΎΠ³ΠΎ Π²ΡΠ°ΡΠ΅Π½ΠΈΡ Π² ΡΡΠΎΠΌ Π³Π½Π΅Π·Π΄Π΅ ΠΈ Π²Π·Π°ΠΈΠΌΠΎΠ΄Π΅ΠΉΡΡΠ²ΠΈΡ Π±ΠΎΠ»ΡΠ° Ρ ΠΏΠΎΠ²Π΅ΡΡ Π½ΠΎΡΡΡΡ Π³Π½Π΅Π·Π΄Π° ΠΏΡΠΈ ΠΏΠ΅ΡΠ΅ΠΌΠ΅ΡΠ΅Π½ΠΈΠΈ Π²Π΅ΡΡ Π½Π΅Π³ΠΎ ΠΊΠ»ΠΈΠ½Π° Π² ΡΡΠΎΡΠΎΠ½Ρ ΠΎΡ ΡΠΏΠΎΡΠ° Π½ΠΈΠΆΠ½Π΅Π³ΠΎ ΠΊΠ»ΠΈΠ½Π° ΠΈ Π² ΠΎΠ±ΡΠ°ΡΠ½ΡΡ ΡΡΠΎΡΠΎΠ½Ρ.
5. Π‘ΠΎΠ΅Π΄ΠΈΠ½Π΅Π½ΠΈΠ΅ ΠΏΠΎ ΠΏ.1, ΠΎΡΠ»ΠΈΡΠ°ΡΡΠ΅Π΅ΡΡ ΡΠ΅ΠΌ, ΡΡΠΎ ΡΠΈΠΊΡΠ°ΡΠΎΡ ΡΠ²ΡΠ·Π°Π½ Ρ Π½ΠΈΠΆΠ½ΠΈΠΌ ΠΊΠ»ΠΈΠ½ΠΎΠΌ, ΠΊΠΎΠ½ΡΠ°ΠΊΡΠΈΡΡΡΡΠΈΠΌ Ρ Π²ΡΠΏΠΎΠ»Π½Π΅Π½Π½ΡΠΌ Π½Π° Π½Π°ΠΏΡΠ°Π²Π»ΡΡΡΠ΅ΠΉ ΠΎΠ³ΡΠ°Π½ΠΈΡΠΈΡΠ΅Π»Π΅ΠΌ Π² Π½Π΅ΡΠ°Π±ΠΎΡΠ΅ΠΌ ΠΏΠΎΠ»ΠΎΠΆΠ΅Π½ΠΈΠΈ Π·Π°ΠΌΠΊΠ°, ΠΏΡΠΈ ΡΡΠΎΠΌ ΡΠΈΠΊΡΠ°ΡΠΎΡ Π²ΡΠΏΠΎΠ»Π½Π΅Π½ ΠΈΠ· U-ΠΎΠ±ΡΠ°Π·Π½ΠΎΠΉ ΡΠΏΡΡΠ³ΠΎΠΉ ΡΠΊΠΎΠ±Ρ, ΠΏΠΎΠ΄Π²ΠΈΠΆΠ½ΠΎ ΡΡΡΠ°Π½ΠΎΠ²Π»Π΅Π½Π½ΠΎΠΉ Π² Π½ΠΈΠΆΠ½ΠΈΡ ΠΎΡΠ²Π΅ΡΡΡΠΈΡΡ Π±ΠΎΠΊΠΎΠ²ΡΡ ΡΠ°ΡΡΠ΅ΠΉ Π΄Π΅ΡΠΆΠ°ΡΠ΅Π»Ρ Π·Π°ΠΌΠΊΠ° Π² Π½Π΅ΡΠ°Π±ΠΎΡΠ΅ΠΌ ΠΏΠΎΠ»ΠΎΠΆΠ΅Π½ΠΈΠΈ ΠΏΠΎΡΠ»Π΅Π΄Π½Π΅Π³ΠΎ ΠΈ Π² Π²Π΅ΡΡ Π½ΠΈΡ ΠΎΡΠ²Π΅ΡΡΡΠΈΡΡ ΡΡΠΈΡ Π±ΠΎΠΊΠΎΠ²ΡΡ ΡΠ°ΡΡΠ΅ΠΉ, Π° ΡΠ°ΠΊΠΆΠ΅ Π² ΠΎΡΠ²Π΅ΡΡΡΠΈΠΈ Π½ΠΈΠΆΠ½Π΅Π³ΠΎ ΠΊΠ»ΠΈΠ½Π°, ΠΏΡΠΈ ΡΡΠΎΠΌ Π΄Π»ΠΈΠ½Π° L Π½ΠΈΠΆΠ½Π΅Π³ΠΎ ΠΊΠ»ΠΈΠ½Π° ΠΌΠ΅Π½ΡΡΠ΅ ΡΠ°ΡΡΡΠΎΡΠ½ΠΈΡ Lmin ΠΌΠ΅ΠΆΠ΄Ρ ΠΎΠ³ΡΠ°Π½ΠΈΡΠΈΡΠ΅Π»Π΅ΠΌ ΠΈ Π±ΠΎΠΊΠΎΠ²ΠΎΠΉ ΠΏΠΎΠ²Π΅ΡΡ Π½ΠΎΡΡΡΡ Π²Π½ΡΡΡΠ΅Π½Π½Π΅ΠΉ ΠΏΡΠΎΡΡΠΈΠ½Ρ ΡΠΎΠ΅Π΄ΠΈΠ½Π΅Π½ΠΈΡ.
6. Π‘ΠΎΠ΅Π΄ΠΈΠ½Π΅Π½ΠΈΠ΅ ΠΏΠΎ ΠΏ.5, ΠΎΡΠ»ΠΈΡΠ°ΡΡΠ΅Π΅ΡΡ ΡΠ΅ΠΌ, ΡΡΠΎ U-ΠΎΠ±ΡΠ°Π·Π½Π°Ρ ΡΠΊΠΎΠ±Π° ΡΡΡΠ°Π½ΠΎΠ²Π»Π΅Π½Π° Π² Π½ΠΈΠΆΠ½ΠΈΡ ΠΎΡΠ²Π΅ΡΡΡΠΈΡΡ Π΄Π΅ΡΠΆΠ°ΡΠ΅Π»Ρ Π·Π°ΠΌΠΊΠ° Π² Π½Π΅ΡΠ°Π±ΠΎΡΠ΅ΠΌ ΠΏΠΎΠ»ΠΎΠΆΠ΅Π½ΠΈΠΈ ΠΏΠΎΡΠ»Π΅Π΄Π½Π΅Π³ΠΎ Ρ Π²ΠΎΠ·ΠΌΠΎΠΆΠ½ΠΎΡΡΡΡ Π΅Π΅ ΠΏΠΎΠ²ΠΎΡΠΎΡΠ° Π² ΠΏΠ»ΠΎΡΠΊΠΎΡΡΠΈ Π΄Π΅ΡΠΆΠ°ΡΠ΅Π»Ρ ΠΈ ΡΠΈΠΊΡΠ°ΡΠΈΠΈ Π·Π°ΠΌΠΊΠ° Π² Π΄Π²ΡΡ ΠΊΡΠ°ΠΉΠ½ΠΈΡ ΡΠ°Π±ΠΎΡΠ΅ΠΌ ΠΈ Π½Π΅ΡΠ°Π±ΠΎΡΠ΅ΠΌ ΠΏΠΎΠ»ΠΎΠΆΠ΅Π½ΠΈΡΡ .
7. Π‘ΠΎΠ΅Π΄ΠΈΠ½Π΅Π½ΠΈΠ΅ ΠΏΠΎ ΠΏ.6, ΠΎΡΠ»ΠΈΡΠ°ΡΡΠ΅Π΅ΡΡ ΡΠ΅ΠΌ, ΡΡΠΎ ΠΎΠ΄Π½Π° Π²Π΅ΡΠ²Ρ U-ΠΎΠ±ΡΠ°Π·Π½ΠΎΠΉ ΡΠΊΠΎΠ±Ρ Π²ΡΠΏΠΎΠ»Π½Π΅Π½Π° ΠΊΠΎΡΠΎΡΠ΅ Π΄ΡΡΠ³ΠΎΠΉ Π΅Π΅ Π²Π΅ΡΠ²ΠΈ, Π½Π° ΠΊΠΎΠ½ΡΠ΅ ΠΊΠΎΡΠΎΡΠΎΠΉ Π²ΡΠΏΠΎΠ»Π½Π΅Π½ ΡΠΏΠΎΡ.
www.freepatent.ru
Π£ΡΡΡΠΎΠΉΡΡΠ²ΠΎ Π΄Π»Ρ ΠΌΠΎΠ½ΡΠ°ΠΆΠ° ΡΠ΅ΠΊΡΠΈΠΉ ΡΠ°ΠΌΠΎΠΌΠΎΠ½ΡΠΈΡΡΠ΅ΠΌΠΎΠ³ΠΎ Π±Π°ΡΠ΅Π½Π½ΠΎΠ³ΠΎ ΠΊΡΠ°Π½Π°
Β
ΡΠ·ΠΎΠ·Π°
ΠΠΠΠ‘ΠΠΠΠ
ΠΠΠΠΠ ΠΠ’ΠΠΠΠ―
Π ΠΠΠ’ΠΠ Π‘ΠΠΠΠ£ Π‘ΠΠΠΠΠ’ΠΠΠ¬Π‘Π’ΠΠ£
Π‘Π°Π²Ρ Π‘ΠΎΠ²Π΅ΡΡΠΊΠ½ΠΊ
Π‘ΠΎΡΠΈΠ°Π»ΠΈΡΡΠΈΡΠ΅ΡΠΊΠΈΡ
Π Π΅ΡΠΏΡΠ±Π»ΠΈΠΊ (61) ΠΠΎΠΏΠΎΠ»Π½ΠΈΡΠ΅Π»ΡΠ½ΠΎΠ΅ ΠΊ Π°Π²Ρ. ΡΠ²ΠΈΠ΄-Π²Ρ (22) ΠΠ°ΡΠ²Π»Π΅Π½ΠΎ 31.03,75 (21) 2119569, 11 Ρ ΠΏΡΠΈΡΠΎΠ΅Π΄ΠΈΠ½Π΅Π½ΠΈΠ΅ΠΌ Π·Π°ΡΠ²ΠΊΠΈ Π (23) ΠΡΠΈΠΎΡΠΈΡΠ΅Ρ
ΠΠΏΡΠ±Π»ΠΈΠΊΠΎΠ²Π°Π½ΠΎ 30.07.76. ΠΡΠ»Π»Π΅ΡΠ΅Π½Ρ ΠΠ΅ 28
ΠΠ°ΡΠ° ΠΎΠΏΡΠ±Π»ΠΈΠΊΠΎΠ²Π°Π½ΠΈΡ ΠΎΠΏΠΈΡΠ°Π½ΠΈΡ 03.08.76 (51) Π. ΠΠ». – Π 66Π‘ 23 34
ΠΠΎΡΡΠ΄Π°ΡΡΡΠ²Π΅Π½Π½ΡΠΉ ΠΊΠΎΠΌΠΈΡΠ΅Ρ
Π‘ΠΎΠ²Π΅ΡΠ° ΠΠΈΠ½ΠΈΡΡΡΠΎΠ² Π‘Π‘Π‘Π Π»ΠΎ Π΄Π΅Π»Π°ΠΌ ΠΈΠ·ΠΎΠ±ΡΠ΅ΡΠ΅Π½ΠΈΠΉ ΠΈ ΠΎΡΠΊΡΡΡΠΈΠΉ (53) Π£ΠΠ 621.875(088.8) (72) ΠΠ²ΡΠΎΡ ΠΈΠ·ΠΎΠ±ΡΠ΅ΡΠ΅Π½ΠΈΡ
Π. Π‘. ΠΠ°ΡΡΠΈΠ½
Π‘ΠΏΠ΅ΡΠΈΠ°Π»ΡΠ½ΠΎΠ΅ ΠΊΠΎΠ½ΡΡΡΡΠΊΡΠΎΡΡΠΊΠΎΠ΅ Π±ΡΡΠΎ
Π‘ΠΠΠΠΠΠΠ’ΠΠ Π£ΠΠΠΠΠ Π¬Π1ΠΠΠΠΠΠΠ ΠΠ ΠΠΠ
ΠΠ·ΠΎΠ±ΡΠ΅ΡΠ΅Π½ΠΈΠ΅ ΠΎΡΠ½ΠΎΡΠΈΡΡΡ ΠΊ ΠΎΠ±Π»Π°ΡΡΠΈ Π³ΡΡΠ·ΠΎΠΏΠΎΠ΄ΡΠ΅ΠΌΠ½ΡΡ ΠΌΠ°ΡΠΈΠ½, ΠΏΡΠ΅ΠΈΠΌΡΡΠ΅ΡΡΠ²Π΅Π½Π½ΠΎ ΠΊ ΡΡΡΠΎΠΈΡΠ΅Π»ΡΠ½ΡΠΌ ΠΊΡΠ°Π½Π°ΠΌ Ρ ΡΡΡΡΠΎΠΉΡΠ³Π²Π°ΠΌΠΈ, ΠΈΡΠΏΠΎΠ»ΡΠ·ΡΠ΅ΠΌΡΠΌΠΈ Π΄Π»Ρ ΠΌΠΎΠ½ΡΠ°ΠΆΠ° ΡΠ΅ΠΊΡΠΈΠΉ Π±Π°ΡΠ½ΠΈ ΠΊΡΠ°Π½Π°.
ΠΠ·Π²Π΅ΡΡΠ½ΠΎ ΡΡΡΡΠΎΠΉΡΡΠ²ΠΎ Π΄Π»Ρ ΠΌΠΎΠ½ΡΠ°ΠΆΠ° ΡΠ΅ΠΊΡΠΈΠΉ ΡΠ°ΠΌΠΎΠΌΠΎΠ½ΡΠΈΡΡΠ΅ΠΌΠΎΠ³ΠΎ Π±Π°ΡΠ΅Π½Π½ΠΎΠ³ΠΎ ΠΊΡΠ°Π½Π°, ΡΠΎΠ΄Π΅ΡΠΆΠ°ΡΠ΅Π΅ ΠΌΠΎΠ½ΡΠ°ΠΆΠ½ΡΡ ΡΡΠ°Π²Π΅ΡΡΡ Ρ ΠΏΠΎΠ΄Π²Π΅ΡΠ΅Π½Π½ΠΎΠΉ ΡΠ΅ΠΊΡΠΈΠ΅ΠΉ, ΡΠΎΠ΅Π΄ΠΈΠ½Π΅Π½Π½ΡΡ Ρ Π³ΡΡΠ·ΠΎΠ·Π°Ρ Π²Π°ΡΠΏΡΠΌ ΠΎΡΠ³Π°Π½ΠΎΠΌ ΠΊΡΠ°Π½Π° ΠΈ ΠΏΠ΅ΡΠ΅ΠΌΠ΅ΡΠ°Π΅ΠΌΡΡ ΠΏΠΎ ΡΡΡΠ΅Π»ΠΎΠ²ΠΎΠΉ Π±Π°Π»ΠΊΠ΅.
Π ΠΈΠ·Π²Π΅ΡΡΠ½ΠΎΠΌ ΡΡΡΡΠΎΠΉΡΡΠ²Π΅ Π΄Π»Ρ ΡΡΡΠ°Π½ΠΎΠ²ΠΊΠΈ ΡΠ΅ΠΊΡΠΈΠΉ Π±Π°ΡΠ½ΠΈ ΠΊΡΠ°Π½Π° Π² ΠΏΡΠΎΠ΅ΠΊΡΠ½ΠΎΠ΅ ΠΏΠΎΠ»ΠΎΠΆΠ΅Π½ΠΈΠ΅ Π΄ΠΎΠΏΠΎΠ»Π½ΠΈΡΠ΅Π»ΡΠ½ΠΎ ΡΡΠ΅Π±ΡΡΡΡΡ ΠΊΠ°ΡΠ΅ΡΠΊΠ° ΠΈ ΡΡΡΡΠΎΠΉΡΡΠ²ΠΎ Π΄Π»Ρ Π΅Π΅ ΠΏΠ΅ΡΠ΅ΠΌΠ΅ΡΠ΅Π½ΠΈΡ, ΡΡΠΎ ΠΏΡΠΈΠ²ΠΎΠ΄ΠΈΡ ΠΊ ΡΠ½ΠΈΠΆΠ΅Π½ΠΈΡ ΠΏΡΠΎΠΈΠ·Π²ΠΎΠ΄ΠΈΡΠ΅Π»ΡΠ½ΠΎΡΡΠΈ.
Π¦Π΅Π»Ρ ΠΈΠ·ΠΎΠ±ΡΠ΅ΡΠ΅Π½ΠΈΡ Π²Πβ ΠΏΠΎΠ²ΡΡΠ΅Π½ΠΈΠ΅ ΠΏΡΠΎΠΈΠ·Π²ΠΎΠ΄ΠΈΡΠ΅Π»ΡΠ½ΠΎΡΡΠΈ Π·Π° ΡΡΠ΅Ρ ΡΠΎΠ·Π΄Π°Π½ΠΈΡ Π°Π²ΡΠΎΠΌΠ°ΡΠΈΡΠ΅ΡΠΊΠΎΠΉ ΡΡΠ°Π±ΠΈΠ»ΠΈΠ·Π°ΡΠΈΠΈ ΠΌΠΎΠ½ΡΠ°ΠΆΠ½ΠΎΠΉ ΡΡΠ°Π²Π΅ΡΡΡ.
ΠΠΎΡΡΠ°Π²Π»Π΅Π½Π½Π°Ρ ΡΠ΅Π»Ρ Π΄ΠΎΡΡΠΈΠ³Π°Π΅ΡΡΡ Π·Π° ΡΡΠ΅Ρ ΡΠΎΠ³ΠΎ, ΡΡΠΎ ΠΌΠΎΠ½ΡΠ°ΠΆΠ½Π°Ρ ΡΡΠ°Π²Π΅ΡΡΠ° Π²ΡΠΏΠΎΠ»Π½Π΅Π½Π° Ρ U-ΠΎΠ±ΡΠ°Π·Π½ΠΎΠΉ ΡΡΠΎΠΉΠΊΠΎΠΉ, Π²Π΅ΡΡΠΈΠΊΠ°Π»ΡΠ½ΡΠ΅ ΡΡΠ΅ΡΠΆΠ½ΠΈ ΠΊΠΎΡΠΎΡΠΎΠΉ ΠΏΠΎΠ΄Π²ΠΈΠΆΠ½ΠΎ ΡΠΌΠΎΠ½ΡΠΈΡΠΎΠ²Π°Π½Ρ Π² ΠΏΠ°Π·Π°Ρ ΡΡΠ°Π²Π΅ΡΡΡ, Π° Π½Π° ΠΊΠΎΠ½ΡΠ°Ρ ΡΡΠ΅ΡΠΆΠ½Π΅ΠΉ ΡΠ°ΡΠ½ΠΈΡΠ½ΠΎ ΡΡΡΠ°Π½ΠΎΠ²Π»Π΅Π½Ρ ΠΏΠΎΠ΄ ΡΠ³Π»ΠΎΠΌ Π΄ΡΡΠ³ ΠΊ Π΄ΡΡΠ³Ρ ΠΏΠ°ΡΡ ΡΡΡΠ°Π³ΠΎΠ², ΠΎΠ΄Π½ΠΈ ΠΊΠΎΠ½ΡΡ ΠΊΠΎΡΠΎΡΡΡ Π²Π·Π°ΠΈΠΌΠΎΠ΄Π΅ΠΉΡΡΠ²ΡΡΡ Ρ ΠΏΡΠΎΠ΄ΠΎΠ»ΡΠ½ΡΠΌΠΈ ΠΏΠ°Π·Π°ΠΌΠΈ ΡΡΠ°Π²Π΅ΡΡΡ, Π° Π΄ΡΡΠ³ΠΈΠ΅ ΡΠ½Π°Π±ΠΆΠ΅Π½Ρ ΠΎΠΏΠΎΡΠ½ΡΠΌΠΈ ΡΠΎΠ»ΠΈΠΊΠ°ΠΌΠΈ, Π²Π·Π°ΠΈΠΌΠΎΠ΄Π΅ΠΉΡΡΠ²ΡΡΡΠΈΠΌΠΈ ΠΏΡΠΈ ΠΌΠΎΠ½ΡΠ°ΠΆΠ΅ ΡΠΎ ΡΡΡΠ΅Π»ΠΎΠ²ΠΎΠΉ Π±Π°Π»ΠΊΠΎΠΉ, ΠΠΎΠ½Π΅Ρ ΡΡΠ°Π²Π΅ΡΡΡ Ρ ΠΏΠΎΠ΄Π²Π΅ΡΠ΅Π½Π½ΠΎΠΉ ΠΌΠΎΠ½ΡΠΈΡΡΠ΅ΠΌΠΎΠΉ ΡΠ΅ΠΊΡΠΈΠ΅ΠΉ Π²ΡΠΏΠΎΠ»Π½Π΅Π½ Ρ ΠΏΠ°Π·ΠΎΠΌ, ΡΠΎΡΠ°Π·ΠΌΠ΅ΡΠ½ΡΠΌ ΠΎΠ±Ρ Π²Π°ΡΡΠ²Π°Π΅ΠΌΠΎΠΉ ΠΈΠΌ ΠΏΡΠΈ ΠΌΠΎΠ½ΡΠ°ΠΆΠ΅ Π±Π°ΡΠ½Π΅ ΠΈ ΡΠ½Π°Π±ΠΆΠ΅Π½ ΠΏΠΎΠ²ΠΎΡΠΎΡΠ½ΠΎΠΉ ΠΊΠΎΠ½ΡΠΎΠ»ΡΡ.
ΠΠ° ΡΠΈΠ³. 1 ΠΈΠ·ΠΎΠ±ΡΠ°ΠΆΠ΅Π½ΠΎ ΠΏΡΠ΅Π΄Π»Π°Π³Π°Π΅ΠΌΠΎΠ΅ ΡΡΡΡΠΎΠΉΡΡΠ²ΠΎ Ρ ΠΏΠΎΠ΄Π²Π΅ΡΠ΅Π½Π½ΡΠΌΠΈ ΠΏΠ°Π½Π΅Π»ΡΠΌΠΈ, ΠΎΠ±ΡΠΈΠΉ Π²ΠΈΠ΄; Π½Π° ΡΠΈΠ³. 2 Π²Πβ ΡΡΡΡΠΎΠΉΡΡΠ²ΠΎ, ΠΏΠΎΠ΄Π½ΡΡΠΎΠ΅ Π²ΠΌΠ΅ΡΡΠ΅ Ρ ΠΏΠ°Π½Π΅Π»ΡΠΌΠΈ Π΄ΠΎ ΠΌΠΎΠ½ΡΠ°ΠΆΠ½ΠΎΠΉ Π²ΡΡΠΎΡΡ Π±Π°ΡΠ½ΠΈ ΠΊΡΠ°Π½Π°; Π½Π° ΡΠΈΠ³. 3 Π²Πβ ΡΡΡΡΠΎΠΉΡΡΠ²ΠΎ Ρ ΠΏΠ°Π½Π΅Π»ΡΠΌΠΈ, ΠΏΠΎΠ΄Π²Π΅ΡΠ΅Π½Π½ΡΠΌΠΈ Π·Π° ΠΊΡΡΠΊΠΎΠ²ΡΡ ΠΎΠ±ΠΎΠΉΠΌΡ Π³ΡΡΠ·ΠΎΠ²ΠΎΠΉ ΡΠ΅Π»Π΅ΠΆΠΊΠΈ ΡΡΡΠ΅Π»Ρ ΠΊΡΠ°Π½Π°; Π½Π° ΡΠΈΠ³. 4 Π²Πβ ΡΠ°Π·ΡΠ΅Π· ΠΏΠΎ Π Π²Πβ Π Π½Π° ΠΈ ΡΠΈΠ³. 3.
Π£ΡΡΡΠΎΠΉΡΡΠ²ΠΎ ΡΠΎΠ΄Π΅ΡΠΆΠΈΡ ΠΌΠΎΠ½ΡΠ°ΠΆΠ½ΡΡ ΡΡΠ°Π²Π΅ΡΡΡ, Π²ΡΠΏΠΎΠ»Π½Π΅Π½Π½ΡΡ Π² Π²ΠΈΠ΄Π΅ ΠΏΠΎΠ΄Π²ΠΈΠΆΠ½ΠΎ ΡΠ²ΡΠ·Π°Π½Π½ΡΡ ΠΌΠ΅ΠΆΠ΄Ρ ΡΠΎΠ±ΠΎΠΉ Π²Π΅ΡΡΠΈΠΊΠ°Π»ΡΠ½ΠΎΠΉ U-ΠΎΠ±ΡΠ°Π·Π½ΠΎΠΉ ΡΡΠΎΠΉΠΊΠΈ
1 ΠΈ Π³ΠΎΡΠΈΠ·ΠΎΠ½ΡΠ°Π»ΡΠ½ΠΎΠΉ Π-ΠΎΠ±ΡΠ°Π·Π½ΠΎΠΉ ΡΠ΅ΠΊΡΠΈΠΈ 2, Π½Π΅ΡΡ15 ΡΠ΅ΠΉ Π·Π°Ρ Π²Π°ΡΠ½ΡΠ΅ ΡΡΡΠΎΠΏΡ 3.
ΠΠ½ΡΡΡΠ΅Π½Π½ΡΡ Π²Π΅ΡΡΠΈΠΊΠ°Π»ΡΠ½Π°Ρ ΡΠ°ΡΡΡ 4 Π¬-ΠΎΠ±ΡΠ°Π·Π½ΠΎΠΉ ΡΡΠΎΠΉΠΊΠΈ 1 ΡΠ½Π°Π±ΠΆΠ΅Π½Π° Π²ΡΡΠ΅Π·ΠΎΠΌ Π΄Π»Ρ ΡΠ°Π·ΠΌΠ΅ΡΠ΅Π½ΠΈΡ ΠΊΡΡΠΊΠΎΠ²ΠΎΠΉ ΠΎΠ±ΠΎΠΉΠΌΡ 5 ΠΈ ΠΏΠ΅ΡΠ»Π΅ΠΉ Π± Π΄Π»Ρ ΠΏΠΎΠ΄Π²Π΅ΡΠΊΠΈ ΡΡΠ°Π²Π΅ΡΡΡ Π·Π° ΠΊΡΡΠΊ 7 ΠΎΠ±ΠΎΠΉΠΌΡ 5.
ΠΠΎΡΠΈΠ·ΠΎΠ½ΡΠ°Π»ΡΠ½Π°Ρ Π-ΠΎΠ±ΡΠ°Π·Π½Π°Ρ ΡΠ΅ΠΊΡΠΈΡ 2 ΡΠ½Π°Π±ΠΆΠ΅Π½Π° ΠΎΡΠΊΡΡΡΡΠΌΠΈ ΠΊΠΎΠ½ΡΠ°ΠΌΠΈ 8 Π΄Π»Ρ ΠΎΠ±Ρ Π²Π°ΡΠ° Π²ΡΠ΄Π²ΠΈΠΆΠ½ΠΎΠΉ ΡΠ°ΡΡΠΈ 9 Π±Π°ΡΠ½ΠΈ ΠΊΡΠ°Π½Π°. ΠΠ° Π½Π°ΡΡΠΆΠ½ΡΡ Π²Π΅ΡΡΠΈΠΊΠ°Π»ΡΠ½ΡΡ ΡΡΠ΅ΡΠΆΠ½ΡΡ 10 U-ΠΎΠ±ΡΠ°Π·Π½ΠΎΠΉ ΡΡΠΎΠΉΠΊΠΈ ΡΠ°ΡΠ½ΠΈΡΠ½ΠΎ Π·Π°ΠΊΡΠ΅ΠΏΠ»Π΅Π½Ρ ΠΊΡΠ΅ΡΡΠΎΠΎΠ±ΡΠ°Π·Π½ΡΠ΅ Π½Π°ΠΏΡΠ°Π²25 Π»ΡΡΡΠΈΠ΅ ΡΡΡΠ°Π³ΠΈ 11 Ρ ΠΎΠΏΠΎΡΠ½ΡΠΌΠΈ ΡΠΎΠ»ΠΈΠΊΠ°ΠΌΠΈ 12.
Π ΡΡΠ°Π³ΠΈ 11 ΡΠ»ΡΠΆΠ°Ρ Π΄Π»Ρ ΡΡΠ°Π±ΠΈΠ»ΠΈΠ·Π°ΡΠΈΠΈ ΡΡΠ°Π²Π΅ΡΡΡ Π² ΠΌΠΎΠ½ΡΠ°ΠΆΠ½ΠΎΠ΅ Π½Π°ΠΏΡΠ°Π²Π»Π΅Π½ΠΈΠ΅.
ΠΠΏΠΎΡΠ½ΡΠ΅ ΡΠΎΠ»ΠΈΠΊΠΈ 12 Π²Π·Π°ΠΈΠΌΠΎΠ΄Π΅ΠΉΡΡΠ²ΡΡΡ Ρ ΠΏΡΠΎΠ΄ΠΎΠ»ΡΠ½ΡΠΌΠΈ ΠΏΠ°Π·Π°ΠΌΠΈ Π² Π³ΠΎΡΠΈΠ·ΠΎΠ½ΡΠ°Π»ΡΠ½ΠΎΠΉ Π-ΠΎΠ±ΡΠ°Π·523034 Π½ΠΎΠΉ ΡΠ΅ΠΊΡΠΈΠΈ 2 !! Π½ΠΈΠΆΠ½ΠΈΠ·!ΠΈ ΠΏΠΎΡΡΠ°ΠΌΠΈ crpeΓ«ΓΓΓΓ Π±Π°Π»ΠΊΠΈ 13 ΠΊΡΠ°Π½Π°. ΠΠ° ΠΎΠ΄ !ΠΎΡ ΠΈΠ· ΠΎΡΠΊΡΡΡΡΡ ΠΊΠΎΠ½ΡΠΎΠ²
8 Π³ΠΎΡΠΈΠ·ΠΎΠ½ΡΠ°Π»ΡΠ½ΠΎΠΉ ΡΠ΅ΠΊΡΠΈΠΈ 2 ΡΡΠ°Π²Π΅ΡΡΡ ΡΠ°ΡΠ½ΠΈΡΠ½ΠΎ Π·Π°ΠΊΡΠ΅ΠΏΠ»Π΅Π½Π° Π·Π°ΠΌΡΠΊΠ°ΡΡΠ°Ρ ΡΡΠ΅Π½ΠΊΠ° 14, ΠΊΠΎΡΠΎΡΠ°Ρ ΡΠ½Π°Π±ΠΆΠ΅Π½Π° ΡΠΏΠΎΡΠΎΠΌ 15, Π²Π·Π°ΠΈΠΌΠΎΠ΄Π΅ΠΉΡΡΠ²ΡΡΡΠΈΠΌ Ρ 5 ΡΠΏΠΎΡΠΎΠΌ 16 Π½Π° Π²ΡΠ΄Π²ΠΈΠΆΠ½ΠΎΠΉ ΡΠ°ΡΡΠΈ Π±Π°ΡΠ½ΠΈ ΠΊΡΠ°Π½Π°
9. ΠΠ»ΠΈΠ½Π° ΠΎΠΏΠΎΡΠ½ΠΎ-Π½Π°ΠΏΡΠ°Π²Π»ΡΡΡΠΈΡ ΡΡΡΠ°Π³ΠΎΠ² 11 ΠΈ ΠΏΠ°Π·ΠΎΠ² Π² ΡΡΠ΅Π½ΠΊΠ°Ρ Π³ΠΎΡΠΈΠ·ΠΎΠ½ΡΠ°Π»ΡΠ½ΠΎΠΉ Π-ΠΎΠ±ΡΠ°Π·Π½ΠΎΠΉ ΡΠ΅ΠΊΡΠΈΠΈ 2 Π΄Π»Ρ Π½Π°ΠΏΡΠ°Π²Π»Π΅Π½ΠΈΡ ΡΡΠ΅ΡΠΆΠ½Π΅ΠΉ Π²ΡΠ±ΡΠ°Π½Π° ΡΠ°Π²Π½ΠΎΠΉ ΠΌΠΎΠ½ΡΠ°ΠΆΠ½ΠΎΠΉ Π²ΡΡΠΎΡΠ΅ Π±Π°ΡΠ½ΠΈ ΠΊΡΠ°Π½Π° 9. 10
Π¨ΠΈΡΠΈΠ½Π° ΡΡΠ΅Π½ΠΎΠΊ Π³ΠΎΡΠΈΠ·ΠΎΠ½ΡΠ°Π»ΡΠ½ΠΎΠΉ ΡΠ΅ΠΊΡΠΈΠΈ 2 ΡΡΠ°Π²Π΅ΡΡΡ ΡΠΎΡΠ°Π·ΠΌΠ΅ΡΠ½Π° ΡΠΈΡΠΈΠ½Π΅ ΡΡΠΎΡΠΎ.! “Γ ΓΈΓΓ¨ ΠΊΡΠ°Π½Π° 9. Π¦Π΅Π½ΡΡ ΡΡΠΆΠ΅ΡΡΠΈ Π³ΠΎΡΠΈΠ·ΠΎΠ½ΡΠ°Π»ΡΠ½ΠΎΠΉ Π-ΠΎΠ±ΡΠ°Π·Π½ΠΎΠΉ ΡΠ΅ΠΊΡΠΈΠΈ 2 ΡΡΠ°Π²Π΅ΡΡΡ Π²ΡΠ±ΡΠ°Π½ ΡΠ°ΠΊ, ΡΡΠΎ Π³ΠΎΡΠΈΠ·ΠΎΠ½ΡΠ°Π»Ρ!!; ΡΠ΅ΠΊΡΠΈΡ ΡΡΠ°Π²Π΅ΡΡΡ Ρ ΠΏΠ°Π½Π΅Π»ΡΠΌΠΈ 15 ΡΠ±Π°Π»Π°Π½ΡΠΈΡΠΎΠ²Π°Π½Π°.
ΠΡΠΈ ΡΠ°Π±ΠΎΡΠ΅ ΡΡΡΡΠΎΠΉΡΡΠ²Π° ΡΡΠ°Π²Π΅ΡΡΡ ΠΏΠΎΠ΄Π²Π΅ΡΠΈΠ²Π°ΡΡ Π½Π° ΠΊΡΡΠΊΠΎΠ²ΠΎΠΉ ΠΎ ΠΎΠΉΠΌΠ΅ 5, ΠΏΠΎΠ΄Π½ΠΈΠΌΠ°ΡΡ Π½Π° ΠΎΠΏΡΠ΅Π΄Π΅Π»Π΅Π½Π½ΡΡ Π²ΡΡΠΎΡΡ, Π° ΠΊ Π³ΠΎΡΠΈΠ·ΠΎΠ½ΡΠ°Π»Ρ!ΡΠΉ ΡΠ΅ΠΊΡΠΈΠΈ
2 ΠΈ Π·Π°ΠΌΡΠΊΠ°ΡΡΠ΅ΠΉ ΡΡΠ΅Π½ΠΊΠ΅ 14 Π·Π° Π·Π°Ρ Π²Π°ΡΠ½ΡΠ΅ ΡΡΡΠΎ- 20 ΠΏΡ 3 ΠΏΠΎΠ΄Π²Π΅ΡΠΈΠ²Π°ΡΡ ΠΏΠ°Π½Π΅Π»ΠΈ 17. ΠΠ°ΡΠ΅ΠΌ ΡΡΠ°Π²Π΅ΡΡΡ ΠΏΠΎΠ΄Π½ΠΈΠΌΠ°ΡΡ Π΄ΠΎ ΡΠΏΠΎΡΠ° ΡΠΎ ΡΡΡΠ΅Π»ΠΎΠ²ΠΎΠΉ Π±Π°Π»ΠΊΠΎΠΉ 13 ΠΊΡΠ°Π½Π°. ΠΡΠΈ ΡΡΠΎΠΌ ΡΡΡΠ°Π³ΠΈ !1, ΠΊΠΎΠ½ΡΠ°ΠΊΡΠΈΡΡΡ Ρ Π½ΠΈΠΆΠ½ΠΈΠΌΠΈ ΠΏΠΎΡΡΠ°ΠΌΠΈ ΡΡΡΠ΅Π»ΠΎΠ²ΠΎΠΉ;aΓ«ΓͺΓ¨ 13, ΡΠ°ΡΡΠΈΡΡΡΡΡΡ ΠΈ ΡΡΠ°Π±ΠΈΠ»ΠΈΠ·ΠΈΡΡΡΡ ΡΡΠ°Π²Π΅ΡΡΡ Π² ΠΌΠΎΠ½ΡΠ°ΠΆ- 25 Π½ΠΎΠ΅ Π½Π°ΠΏΡΠ°Π²Π»Π΅Π½ΠΈΠ΅. ΠΠΎΡΠ»Π΅ ΡΡΠΎΠ³ΠΎ ΡΡΠ°Π²Π΅ΡΡΡ Ρ ΠΏΠ°Π½Π΅Π»ΡΠΌΠΈ 17 ΠΏΠ΅ΡΠ΅ΠΌΠ΅ΡΠ°ΡΡ Ρ ΠΏΠΎΠΌΠΎΡΡΡ Π³ΡΡΠ·ΠΎΠ²ΠΎΠΉ ΡΠ΅Π»Π΅ΠΆΠΊΠΈ 18 Π² Π³ΠΎΡΠΈΠ·ΠΎΠ½ΡΠ°Π»ΡΠ½ΠΎΠΌ Π½Π°ΠΏΡΠ°Π²Π»Π΅Π½ΠΈΠΈ Π΄ΠΎ ΠΎΠ±Ρ Π²Π°ΡΠ° Π΅Π΅ ΠΎΡΠΊΡΡΡΡΠΌΠΈ ΠΊΠΎΠ½ΡΠ°ΠΌΠΈ 8 Π²ΡΠ΄Π²ΠΈΠΆΠ½ΠΎΠΉ ΡΠ°ΡΡΠΈ 9 Π±Π°ΡΠ½ΠΈ ΠΊΡΠ°ΠΏΠ°. ΠΡΠΈ ΡΡΠΎΠΌ ΡΡΠ΅Π½ΠΊΠ° 14, 30 ΠΊΠΎΠ½ΡΠ°ΠΊΡΠΈΡΡΡ ΡΠ²ΠΎΠΈΠΌ ΡΠΏΠΎΡΠΎΠΌ 15 Ρ ΡΠΏΠΎΡΠΎΠΌ 16 Π½Π° Π²ΡΠ΄Π²ΠΈΠΆΠ½ΠΎΠΉ ΡΠ°ΡΡΠΈ 9 Π±Π°ΡΠ½ΠΈ ΠΊΡΠ°Π½Π°, Π·Π°ΠΌΡΠΊΠ°Π΅ΡΡΡ, ΠΈ Π²ΡΠ΅ ΠΏΠ°Π½Π΅Π»ΠΈ 17 ΠΎΠ±ΡΠ°Π·ΡΡΡ Π·Π°ΠΌΠΊΠ½ΡΡΡΠΉ ΠΊΠΎΠ½ΡΡΡ.
ΠΠΎΡΠ»Π΅ ΡΡΠΎΠ³ΠΎ ΠΎΡΡΡΠ΅ΡΡΠ²Π»ΡΡΡ ΠΌΠΎΠ½ΡΠ°ΠΆ ΠΏΠ°Π½Π΅Π»Π΅ΠΉ
17 ΡΠ΅ΠΊΡΠΈΠΈ. ΠΠ°Π»ΡΠ½Π΅ΠΉΡΠΈΠΉ ΠΏΡΠΎΡΠ΅ΡΡ ΠΏΡΠΎΠΈΡΡ ΠΎΠ΄ΠΈΡ Π² ΠΎΠ±ΡΠ°ΡΠ½ΠΎΠΉ ΠΏΠΎΡΠ»Π΅Π΄ΠΎΠ²Π°ΡΠ΅Π»ΡΠ½ΠΎΡΡΠΈ, ΠΈ ΠΏΡΠΎΡΠ΅ΡΡ ΠΌΠΎΠ½ΡΠ°ΠΆΠ° ΠΏΠΎΠ²ΡΠΎΡΡΡΡ.
Π€ΠΎΡΠΌΡΠ»Π° ΠΈΠ·ΠΎΠ±ΡΠ΅ΡΠ΅Π½ΠΈΡ
Π£ΡΡΡΠΎΠΉΡΡΠ²ΠΎ Π΄Π»Ρ ΠΌΠΎΠ½ΡΠ°ΠΆΠ° ΡΠ΅ΠΊ!,ΠΈΠΉ ΡΠ°ΠΌΠΎΠΌΠΎΠ½ΡΠΈΡΡΠ΅ΠΌΠΎΠ³ΠΎ Π±Π°ΡΠ΅Π½Π½ΠΎΠ³ΠΎ ΠΊΡΠ°Π½Π°, ΡΠΎΠ΄Π΅ΡΠΆΠ°ΡΠ΅Π΅ ΠΌΠΎΡΡΠ°ΠΆΠ½ΡΡ ΡΡΠ°Π²Π΅ΡΡΡ Ρ ΠΏΠΎΠ΄Π²Π΅ΡΠ΅Π½Π½ΠΎΠΉ ΡΠ΅ΠΊΡΠΈΠ΅ΠΉ, ΡΠΎΠ΅Π΄ΠΈΠ½Π΅Π½Π½ΡΡ Ρ Π³ΡΡΠ·ΠΎΠ·Π°Ρ Π²Π°ΡΠ½ΡΠΌ ΠΎΡΠ³Π°Π½ΠΎΠΌ ΠΊΡΠ°Π½Π° ΠΈ ΠΏΠ΅ΡΠ΅ΠΌΠ΅ΡΠ°Π΅ΠΌΡΡ ΠΏΠΎ ΡΡΡΠ΅Π»ΠΎΠ²ΠΎΠΉ “Γ Γ«ΓͺΓ₯,,ΠΎΡΠ» ΠΈ Ρ Π°Ρ ΡΠ΅ Π΅ Ρ Ρ ΡΠ΅ΠΌ, ΡΡΠΎ, Ρ ΡΠ΅Π»ΡΡ ΠΏΠΎΠ²ΡΡΠ΅Π½ΠΈΡ ΠΏΡΠΎΠΈΠ·Π²ΠΎΠ΄ΠΈΡΠ΅Π»ΡΠ½ΠΎΡΡΠΈ Π·Π° ΡΡΠ΅Ρ ΡΠΎΠ·Π΄Π°Π½ΠΈΡ Π°Π²ΡΠΎΠΌΠ°ΡΠΈΡΠ΅ΡΠΊΠΎΠΉ ΡΡΠ°Π±ΠΈΠ»ΠΈΠ·Π°ΡΠΈΠΈ ΠΌΠΎΠ½ΡΠ°ΠΆΠ½ΠΎΠΉ ΡΡΠ°Π²Π΅ΡΡΡ, ΠΎΠ½Π° Π²ΡΠΏΠΎΠ»Π½Π΅Π½Π° Ρ U-ΠΎΠ±ΡΠ°Π·Π½ΠΎΠΉ ΡΡΠΎΠΉΠΊΠΎΠΉ, Π²Π΅ΡΡΠΈΠΊΠ°Π»ΡΠ½ΡΠ΅ ΡΡΠ΅ΡΠΆΠ½ΠΈ ΠΊΠΎΡΠΎΡΠΎΠΉ ΠΏΠΎΠ΄Π²ΠΈΠΆ! ΠΎ ΡΠΌΠΎΠ½ΡΠΈΡΠΎΠ²Π°Π½Ρ Π² ΠΏΠ°Π·Π°Ρ ΡΡΠ°Π²Π΅ΡΡΡ, Π° Π½Π° ΠΊΠΎΠ½ΡΠ°Ρ ΡΡΠ΅ΡΠΆΠ½Π΅ΠΉ ΡΠ°ΡΠ½ΠΈΡΠ½ΠΎ ΡΡΡΠ°Π½ΠΎΠ²Π»Π΅Π½Ρ ΠΏΠΎΠ΄ ΡΠ³Π»ΠΎΠΌ Π΄ΡΡΠ³ ΠΊ Π΄ΡΡΠ³Ρ ΠΏΠ°ΡΡ ΡΡΡΠ°Π³ΠΎΠ², ΠΎΠ΄Π½ΠΈ ΠΊΠΎΠ½ΡΡ ΠΊΠΎΡΠΎΡΡΡ Π²Π·Π°ΠΈΠΌΠΎΠ΄Π΅ΠΉΡΡΠ²ΡΡΡ Ρ ΠΏΡΠΎΠ΄ΠΎΠ»ΡΠ½ΡΠΌΠΈ ΠΏΠ°Π·Π°ΠΌΠΈ ΡΡΠ°Π²Π΅ΡΡΡ, Π° Π΄ΡΡΠ³ΠΈΠ΅ ΡΠ½Π°Π±ΠΆΠ΅Π½Ρ ΠΎΠΏΠΎΡΠ½ΡΠΌΠΈ ΡΠΎΠ»ΠΈΠΊΠ°ΠΌΠΈ, Π²Π·Π°ΠΈΠΌΠΎΠ΄Π΅ΠΉΡΡΠ²ΡΡΡΠΈΠΌΠΈ ΠΏΡΠΈ ΠΌΠΎΠ½ΡΠ°ΠΆΠ΅ ΡΠΎ ΡΡΡΠ΅Π»ΠΎΠ²ΠΎΠΉ Π±Π°Π»ΠΊΠΎΠΉ, ΠΏΡΠΈΡΠ΅ΠΌ ΠΊΠΎΠ½Π΅Ρ ΡΡΠ°Π²Π΅ΡΡΡ Ρ ΠΏΠΎΠ΄Π²Π΅ΡΠ΅Π½Π½ΠΎΠΉ ΠΌΠΎΠ½ΡΠΈΡΡΠ΅ΠΌΠΎΠΉ ΡΠ΅ΠΊΡΠΈΠ΅ΠΉ Π²ΡΠΏΠΎΠ»Π½Π΅Π½ Ρ ΠΏΠ°Π·ΠΎΠΌ, ΡΠΎΡΠ°Π·. ΠΌΠ΅ΡΠ½ΡΠΌ ΠΎΠ±Ρ Π²Π°ΡΡΠ²Π°Π΅ΠΌΠΎΠΉ ΠΈΠΌ ΠΏΡΠΈ ΠΌΠΎΠ½ΡΠ°ΠΆΠ΅ Π±Π°ΡΠ½Π΅, ΠΈ ΡΠ½Π°Π±ΠΆΠ΅Π½ ΠΏΠΎΠ²ΠΎΡΠΎΡΠ½ΠΎΠΉ ΠΊΠΎΠ½ΡΠΎΠ»ΡΡ.
523034
12
Π‘ΠΎΡΡΠ°Π²ΠΈΡΠ΅Π»Ρ Π. ΠΠ°ΠΊΡΠΈΠΌΠΎΠ²Π°
Π Π΅Π΄Π°ΠΊΡΠΎΡ Π’. ΠΠΎΡΡΡΠ΅Π²Π°
Π’Π΅Ρ ΡΠ΅Π΄ Π’. ΠΡΡΠΈΠ»ΠΊΠΎ ΠΠΎΡΡΠ΅ΠΊΡΠΎΡ Π. Π‘ΡΠ΅Π»ΡΠΌΠ°Ρ
ΠΠ°ΠΊΠ°Π· 1632 15 ΠΠ·Π΄. β 1493 Π’ΠΈΡΠ°ΠΆ 1029 ΠΠΎΠ΄ΠΏΠΈΡΠ½ΠΎΠ΅
Π¦ΠΠΠΠΠ ΠΠΎΡΡΠ΄Π°ΡΡΡΠ²Π΅Π½Π½ΠΎΠ³ΠΎ ΠΊΠΎΠΌΠΈΡΠ΅ΡΠ° Π‘ΠΎΠ²Π΅ΡΠ° ΠΠ½ΡΠ½ΡrpΠΎΠ² Π‘Π‘Π‘Π ΠΏΠΎ Π΄Π΅Π»Π°ΠΌ ΠΈΠ·ΠΎΠ±ΡΠ΅ΡΠ΅Π½ΠΈΠΉ ΠΈ ΠΎΡΠΊΡΡΡΠΈΠΉ
113035, ΠΠΎΡΠΊΠ²Π°, )Π-35, Π Π°ΡΡΡΠΊΠ°Ρ Π½Π°Π±., Π΄. 4, 5
Π’ΠΈΠΏΠΎΠ³ΡΠ°ΡΠΈΡ, ΠΏΡ. Π‘Π°ΠΏΡΠ½ΠΎΠ²Π°, 2
Β Β Β Βwww.findpatent.ru
2.2. ΠΡΠ±ΠΎΡ Π±Π°ΡΠ΅Π½Π½ΠΎΠ³ΠΎ ΠΊΡΠ°Π½Π°.
ΠΡΠ±ΠΎΡ Π±Π°ΡΠ΅Π½Π½ΠΎΠ³ΠΎ ΠΊΡΠ°Π½Π° ΠΏΡΠΎΠΈΠ·Π²ΠΎΠ΄ΠΈΡΡΡ ΠΈΠ· ΡΡΠ»ΠΎΠ²ΠΈΡ ΠΎΠ±Π΅ΡΠΏΠ΅ΡΠ΅Π½ΠΈΡ ΠΌΠΎΠ½ΡΠ°ΠΆΠ° ΡΠ±ΠΎΡΠ½ΡΡ ΡΠ»Π΅ΠΌΠ΅Π½ΡΠΎΠ² ΠΈ ΠΏΠΎΠ΄ΡΠ΅ΠΌΠ° ΠΌΠ°ΡΠ΅ΡΠΈΠ°Π»ΠΎΠ² Π΄Π»Ρ ΠΊΠ»Π°Π΄ΠΊΠΈ. Π’ΡΠ΅Π±ΡΠ΅ΠΌΡΠ΅ ΠΏΠ°ΡΠ°ΠΌΠ΅ΡΡΡ ΠΊΡΠ°Π½Π°, ΡΠ°ΠΊΠΈΠ΅ ΠΊΠ°ΠΊ Π³ΡΡΠ·ΠΎΠΏΠΎΠ΄ΡΠ΅ΠΌΠ½ΠΎΡΡΡ, Π²ΡΠ»Π΅Ρ ΡΡΡΠ΅Π»Ρ ΠΈ Π²ΡΡΠΎΡΠ° ΠΏΠΎΠ΄ΡΠ΅ΠΌΠ° ΠΊΡΡΠΊΠ°, ΠΎΠΏΡΠ΅Π΄Π΅Π»ΡΡΡΡΡ ΠΈΠ· ΠΌΠ°ΡΡΡ ΡΠ°ΠΌΠΎΠ³ΠΎ ΡΡΠΆΠ΅Π»ΠΎΠ³ΠΎ ΡΠ»Π΅ΠΌΠ΅Π½ΡΠ° ΠΈΠ»ΠΈ Π³ΡΡΠ·Π° Π²ΠΌΠ΅ΡΡΠ΅ ΡΠΎ ΡΡΠ΅Π΄ΡΡΠ²Π°ΠΌΠΈ ΡΡΡΠΎΠΏΠΎΠ²ΠΊΠΈ, ΠΌΠ°ΠΊΡΠΈΠΌΠ°Π»ΡΠ½ΠΎ Π½Π΅ΠΎΠ±Ρ ΠΎΠ΄ΠΈΠΌΠΎΠΉ Π²ΡΡΠΎΡΡ ΠΏΠΎΠ΄ΡΠ΅ΠΌΠ° ΠΈ Ρ ΡΡΠ΅ΡΠΎΠΌ Π²ΠΎΠ·ΠΌΠΎΠΆΠ½ΠΎΡΡΠΈ ΠΏΠΎΠ΄Π°ΡΠΈ ΠΌΠ°ΡΠ΅ΡΠΈΠ°Π»ΠΎΠ² ΠΈ ΠΊΠΎΠ½ΡΡΡΡΠΊΡΠΈΠΉ Π½Π° Π½Π°ΠΈΠ±ΠΎΠ»Π΅Π΅ ΡΠ΄Π°Π»Π΅Π½Π½ΡΠ΅ ΡΠ°Π±ΠΎΡΠΈΠ΅ ΠΌΠ΅ΡΡΠ°.
1. ΠΡΡΠ·ΠΎΠΏΠΎΠ΄ΡΠ΅ΠΌΠ½ΠΎΡΡΡ ΠΊΡΠ°Π½Π°: ΠΠ΄Π΅ Q – ΠΌΠ°ΡΡΠ° ΠΏΠΎΠ΄Π½ΠΈΠΌΠ°Π΅ΠΌΠΎΠ³ΠΎ Π³ΡΡΠ·Π°, 3,36 Ρ;
qΡΠΏ– ΠΌΠ°ΡΡΠ° ΡΠ°ΠΊΠ΅Π»Π°ΠΆΠ½ΠΎΠ³ΠΎ ΠΏΡΠΈΡΠΏΠΎΡΠΎΠ±Π»Π΅Π½ΠΈΡ, 0,2 Ρ;
qy – ΠΌΠ°ΡΡΠ° ΠΊΠΎΠ½ΡΡΡΡΠΊΡΠΈΠΉ ΡΡΠΈΠ»Π΅Π½ΠΈΡ ΠΆΠ΅ΡΡΠΊΠΎΡΡΠΈ ΠΏΠΎΠ΄Π½ΠΈΠΌΠ°Π΅ΠΌΠΎΠ³ΠΎ ΡΠ»Π΅ΠΌΠ΅Π½ΡΠ°, 0 Ρ;
qΠΌΠΏ – ΠΌΠ°ΡΡΠ° Π½Π°Π²Π΅ΡΠ½ΡΡ ΠΌΠΎΠ½ΡΠ°ΠΆΠ½ΡΡ ΠΏΡΠΈΡΠΏΠΎΡΠΎΠ±Π»Π΅Π½ΠΈΠΉ, 0 Ρ;
Π0 – ΠΊΠΎΡΡΡΠΈΡΠΈΠ΅Π½Ρ, ΡΡΠΈΡΡΠ²Π°ΡΡΠΈΠΉ ΠΎΡΠΊΠ»ΠΎΠ½Π΅Π½ΠΈΠ΅ ΡΠ°ΠΊΡΠΈΡΠ΅ΡΠΊΠΎΠΉ ΠΌΠ°ΡΡΡ ΡΠ»Π΅ΠΌΠ΅Π½ΡΠΎΠ² ΠΎΡ ΠΏΡΠΎΠ΅ΠΊΡΠ½ΠΎΠΉ, 1,12.
QΠΊΡ = (3,36 + 0,6)*1,12 = 4 Ρ.
2. ΠΡΡΠΎΡΠ° ΠΏΠΎΠ΄ΡΠ΅ΠΌΠ° ΠΊΡΡΠΊΠ°: ΠΠΊΡ = h + h3 + hΡΠ» + hc + hΠΏ
ΠΠ΄Π΅ h – Π²ΡΡΠΎΡΠ° ΠΎΠΏΠΎΡΡ, Π½Π° ΠΊΠΎΡΠΎΡΡΡ ΡΡΡΠ°Π½Π°Π²Π»ΠΈΠ²Π°Π΅ΡΡΡ ΠΌΠΎΠ½ΡΠΈΡΡΠ΅ΠΌΠ°Ρ ΠΊΠΎΠ½ΡΡΡΡΠΊΡΠΈΡ ΠΎΡ ΡΡΠΎΠ²Π½Ρ ΡΡΠΎΡΠ½ΠΊΠΈ ΠΊΡΠ°Π½Π°, 10,8ΠΌ;
h3 – Π·Π°ΠΏΠ°Ρ ΠΏΠΎ Π²ΡΡΠΎΡΠ΅ (Π·Π°Π·ΠΎΡ) ΠΏΡΠΈ ΡΡΡΠ°Π½ΠΎΠ²ΠΊΠ΅ ΠΈΠ»ΠΈ ΠΏΠ΅ΡΠ΅ΠΌΠ΅ΡΠ΅Π½ΠΈΠΈ Π³ΡΡΠ·Π° Π½Π°Π΄ Π²ΡΡΡΠ΅ΡΠ°ΡΡΠΈΠΌΠΈΡΡ Π½Π° ΠΏΡΡΠΈ ΠΏΡΠ΅Π΄ΠΌΠ΅ΡΠ°ΠΌΠΈ, 0,5ΠΌ; hΡΠ» – Π²ΡΡΠΎΡΠ° ΠΌΠΎΠ½ΡΠΈΡΡΠ΅ΠΌΠΎΠ³ΠΎ ΡΠ»Π΅ΠΌΠ΅Π½ΡΠ°, 0,3ΠΌ; hc– Π²ΡΡΠΎΡΠ° ΡΠ°ΡΡΠ΅ΡΠ½ΠΎΠΉ ΡΡΡΠΎΠΏΠΎΠ²ΠΊΠΈ, 1,5ΠΌ; hΠΏ – Π²ΡΡΠΎΡΠ° ΡΠ°ΡΡΠ΅ΡΠ½ΠΎΠ³ΠΎ ΠΏΠΎΠ»ΠΈΡΠΏΠ°ΡΡΠ°, 1,5ΠΌ.
ΠΠΊΡ = 10,8+0,5+0,3+1,5+1,5=14,6 ΠΌ.
3. ΠΡΠ»Π΅Ρ ΡΡΡΠ΅Π»Ρ: Lc = Π + b1 ΠΠ΄Π΅ b1 – ΡΠΈΡΠΈΠ½Π° Π·Π΄Π°Π½ΠΈΡ, 14,4ΠΌ;
Π – ΡΠ°ΡΡΡΠΎΡΠ½ΠΈΠ΅ ΠΎΡ ΠΎΡΠΈ ΠΏΠΎΠ΄ΠΊΡΠ°Π½ΠΎΠ²ΡΡ ΠΏΡΡΠ΅ΠΉ Π΄ΠΎ Π±Π»ΠΈΠΆΠ°ΠΉΡΠ΅ΠΉ Π³ΡΠ°Π½ΠΈ Π·Π΄Π°Π½ΠΈΡ:
ΠΠ΄Π΅ bΠΊ– ΡΠΈΡΠΈΠ½Π° ΠΊΠΎΠ»Π΅ΠΈ, 4,5ΠΌ;
lΡΠΏ – Π΄Π»ΠΈΠ½Π° ΡΠΏΠ°Π»Ρ, 1,375ΠΌ;
0,2 – ΠΌΠΈΠ½ΠΈΠΌΠ°Π»ΡΠ½ΠΎΠ΅ Π΄ΠΎΠΏΡΡΡΠΈΠΌΠΎΠ΅ ΡΠ°ΡΡΡΠΎΡΠ½ΠΈΠ΅ ΠΎΡ ΠΊΠΎΠ½ΡΠ° ΡΠΏΠ°Π»Ρ Π΄ΠΎ ΠΎΡΠΊΠΎΡΠ° Π±Π°Π»Π»Π°ΡΡΠ½ΠΎΠΉ ΠΏΡΠΈΠ·ΠΌΡ;
1Π±Π°Π»– Π΄Π»ΠΈΠ½Π° Π±Π°Π»Π»Π°ΡΡΠ½ΠΎΠΉ ΠΏΡΠΈΠ·ΠΌΡ:
ΠΠ΄Π΅ hΠ±Π°Π» – Π²ΡΡΠΎΡΠ° ΡΠ»ΠΎΡ Π±Π°Π»Π»Π°ΡΡΠ°, 0,2ΠΌ;
m – ΡΠΊΠ»ΠΎΠ½ Π±ΠΎΠΊΠΎΠ²ΡΡ ΡΡΠΎΡΠΎΠ½ Π±Π°Π»Π»Π°ΡΡΠ½ΠΎΠΉ ΠΏΡΠΈΠ·ΠΌΡ, 0,5;
1Π±Π΅Π· – Π±Π΅Π·ΠΎΠΏΠ°ΡΠ½ΠΎΠ΅ ΡΠ°ΡΡΡΠΎΡΠ½ΠΈΠ΅, ΠΏΡΠΈΠ½ΠΈΠΌΠ°Π΅ΠΌΠΎΠ΅ Π½Π΅ ΠΌΠ΅Π½Π΅Π΅ Π΄ΠΎΠΏΡΡΡΠΈΠΌΠΎΠ³ΠΎ ΡΠ°ΡΡΡΠΎΡΠ½ΠΈΡ ΠΎΡ Π²ΡΡΡΡΠΏΠ°ΡΡΠ΅ΠΉ ΡΠ°ΡΡΠΈ ΠΊΡΠ°Π½Π° Π΄ΠΎ Π³Π°Π±Π°ΡΠΈΡΠ° Π·Π΄Π°Π½ΠΈΡ, 1ΠΌ.
ΠΡΡ ΠΎΠ΄Ρ ΠΈΠ· ΠΏΠΎΠ»ΡΡΠ΅Π½Π½ΡΡ ΠΏΠ°ΡΠ°ΠΌΠ΅ΡΡΠΎΠ², ΠΏΠΎ ΡΠΏΡΠ°Π²ΠΎΡΠ½ΡΠΌ Π΄Π°Π½Π½ΡΠΌ ΠΏΠΎΠ΄Π±ΠΈΡΠ°Π΅ΠΌ Π±Π°ΡΠ΅Π½Π½ΡΠΉ ΠΊΡΠ°Π½ ΠΠ-100.OA. Π ΡΠ°Π±Π»ΠΈΡΠ΅ ΠΏΡΠΈΠ²ΠΎΠ΄ΡΡΡΡ ΠΎΡΠ½ΠΎΠ²Π½ΡΠ΅ ΡΠ΅Ρ Π½ΠΈΡΠ΅ΡΠΊΠΈΠ΅ Ρ Π°ΡΠ°ΠΊΡΠ΅ΡΠΈΡΡΠΈΠΊΠΈ ΠΊΡΠ°Π½Π°.
Π’Π΅Ρ Π½ΠΈΡΠ΅ΡΠΊΠΈΠ΅ Ρ Π°ΡΠ°ΠΊΡΠ΅ΡΠΈΡΡΠΈΠΊΠΈ ΠΊΡΠ°Π½Π° ΠΠ-100.OA.
ΠΡΡΠ·ΠΎΠΏΠΎΠ΄ΡΠ΅ΠΌΠ½ΠΎΡΡΡ: ΠΡΠΈ Π²ΡΠ΅Ρ Π²ΡΠ»Π΅ΡΠ°Ρ ΡΡΡΠ΅Π»Ρ | 5Ρ |
ΠΡΠ»Π΅Ρ ΡΡΡΠ΅Π»Ρ: | |
ΠΠ°ΠΈΠ±ΠΎΠ»ΡΡΠΈΠΉ | 20ΠΌ |
Π½Π°ΠΈΠΌΠ΅Π½ΡΡΠΈΠΉ | 10ΠΌ |
ΠΡΡΠΎΡΠ° ΠΏΠΎΠ΄ΡΠ΅ΠΌΠ° ΠΊΡΡΠΊΠ°: | |
ΠΡΠΈ Π½Π°ΠΈΠ±ΠΎΠ»ΡΡΠ΅ΠΌ Π²ΡΠ»Π΅ΡΠ΅ ΠΊΡΡΠΊΠ° | 21ΠΌ |
ΠΡΠΈ Π½Π°ΠΈΠΌΠ΅Π½ΡΡΠ΅ΠΌ Π²ΡΠ»Π΅ΡΠ΅ ΠΊΡΡΠΊΠ° | 33ΠΌ |
Π¨ΠΈΡΠΈΠ½Π° ΠΊΠΎΠ»Π΅ΠΈ | 4,5ΠΌ |
ΠΠ°Π·Π° | 4,5ΠΌ |
2.3. ΠΡΠ±ΠΎΡ ΡΠ°ΠΌΠΎΡ ΠΎΠ΄Π½ΠΎΠ³ΠΎ ΠΊΡΠ°Π½Π°.
ΠΡΠ±ΠΎΡ ΠΊΡΠ°Π½Π° Π½Π° Π°Π²ΡΠΎΠΌΠΎΠ±ΠΈΠ»ΡΠ½ΠΎΠΌ Ρ ΠΎΠ΄Ρ Π΄Π»Ρ Π²ΡΠΏΠΎΠ»Π½Π΅Π½ΠΈΡ ΡΠ°Π±ΠΎΡ Π½ΡΠ»Π΅Π²ΠΎΠ³ΠΎ ΡΠΈΠΊΠ»Π° ΠΏΡΠΎΠΈΠ·Π²ΠΎΠ΄ΠΈΡΡΡ ΠΏΠΎ ΡΠ»Π΅Π΄ΡΡΡΠΈΠΌ ΠΏΠ°ΡΠ°ΠΌΠ΅ΡΡΠ°ΠΌ:
1. ΠΡΡΠ·ΠΎΠΏΠΎΠ΄ΡΠ΅ΠΌΠ½ΠΎΡΡΡ ΠΊΡΠ°Π½Π°: QKp = Q + qΠ³ΠΏ + qΡ ΠΠ΄Π΅ Q – ΠΌΠ°ΡΡΠ° ΠΏΠΎΠ΄Π½ΠΈΠΌΠ°Π΅ΠΌΠΎΠ³ΠΎ Π³ΡΡΠ·Π°, 2,15 Ρ;
qΠ³ΠΏ– ΠΌΠ°ΡΡΠ° Π³ΡΡΠ·ΠΎΠ·Π°Ρ Π²Π°ΡΠ½ΠΎΠ³ΠΎ ΠΏΡΠΈΡΠΏΠΎΡΠΎΠ±Π»Π΅Π½ΠΈΡ, 0,088 Ρ; qΡ – ΠΌΠ°ΡΡΠ° ΡΠ°ΡΡ, 0 Ρ.
QΠΊΡ = 2,15 + 0,088 = 2,238 Ρ.
2. ΠΡΡΠΎΡΠ° ΠΏΠΎΠ΄ΡΠ΅ΠΌΠ° ΠΊΡΡΠΊΠ°: ΠΠΊΡ = h + h3 + hΡΠ» + hc + hn
ΠΠ΄Π΅ h – Π²ΡΡΠΎΡΠ° ΠΎΠΏΠΎΡΡ, Π½Π° ΠΊΠΎΡΠΎΡΡΡ ΡΡΡΠ°Π½Π°Π²Π»ΠΈΠ²Π°Π΅ΡΡΡ ΠΌΠΎΠ½ΡΠΈΡΡΠ΅ΠΌΠ°Ρ ΠΊΠΎΠ½ΡΡΡΡΠΊΡΠΈΡ ΠΎΡ ΡΡΠΎΠ²Π½Ρ ΡΡΠΎΡΠ½ΠΊΠΈ ΠΊΡΠ°Π½Π°, 3,3ΠΌ;
h3 – Π·Π°ΠΏΠ°Ρ ΠΏΠΎ Π²ΡΡΠΎΡΠ΅ ΠΏΡΠΈΠ½ΠΈΠΌΠ°Π΅ΠΌΡΠΉ ΠΏΠΎ ΡΠ΅Ρ Π½ΠΈΠΊΠ΅ Π±Π΅Π·ΠΎΠΏΠ°ΡΠ½ΠΎΡΡΠΈ, 1ΠΌ;
hΡΠ» – Π΄Π»ΠΈΠ½Π° ΠΌΠΎΠ½ΡΠΈΡΡΠ΅ΠΌΠΎΠ³ΠΎ ΡΠ»Π΅ΠΌΠ΅Π½ΡΠ°, 2,4ΠΌ;
hc -Π²ΡΡΠΎΡΠ° ΡΠ°ΡΡΠ΅ΡΠ½ΠΎΠΉ ΡΡΡΠΎΠΏΠΎΠ²ΠΊΠΈ, 1,2ΠΌ.
ΠΠΊΡ = 3,3 + 1 + 2,4 + 1,2 = 7,9ΠΌ.
3. ΠΡΠ»Π΅Ρ ΡΡΡΠ΅Π»Ρ: Lc = 4
ΠΡΡ ΠΎΠ΄Ρ ΠΈΠ· ΠΏΠΎΠ»ΡΡΠ΅Π½Π½ΡΡ ΠΏΠ°ΡΠ°ΠΌΠ΅ΡΡΠΎΠ², ΠΏΠΎ ΡΠΏΡΠ°Π²ΠΎΡΠ½ΡΠΌ Π΄Π°Π½Π½ΡΠΌ ΠΏΠΎΠ΄Π±ΠΈΡΠ°Π΅ΠΌ Π°Π²ΡΠΎΠΌΠΎΠ±ΠΈΠ»ΡΠ½ΡΠΉ ΠΊΡΠ°Π½ ΠΠ‘-4561Π. Π ΡΠ°Π±Π»ΠΈΡΠ΅ ΠΏΡΠΈΠ²ΠΎΠ΄ΡΡΡΡ ΠΎΡΠ½ΠΎΠ²Π½ΡΠ΅ ΡΠ΅Ρ Π½ΠΈΡΠ΅ΡΠΊΠΈΠ΅ Ρ Π°ΡΠ°ΠΊΡΠ΅ΡΠΈΡΡΠΈΠΊΠΈ ΠΊΡΠ°Π½Π°.
3. ΠΠ΅ΡΠΎΠ΄ΠΈΠΊΠ° ΡΠ°Π·ΡΠ°Π±ΠΎΡΠΊΠΈ ΠΊΠ°Π»Π΅Π½Π΄Π°ΡΠ½ΠΎΠ³ΠΎ ΠΏΠ»Π°Π½Π° ΡΡΡΠΎΠΈΡΠ΅Π»ΡΡΡΠ²Π° ΠΎΠ±ΡΠ΅ΠΊΡΠ°.
ΠΠ°Π»Π΅Π½Π΄Π°ΡΠ½ΡΠΉ ΠΏΠ»Π°Π½ – ΡΡΠΎ Π΄ΠΎΠΊΡΠΌΠ΅Π½Ρ, ΡΡΡΠ°Π½Π°Π²Π»ΠΈΠ²Π°ΡΡΠΈΠΉ ΡΠ΅Π»Π΅ΡΠΎΠΎΠ±ΡΠ°Π·Π½ΡΡ ΠΎΡΠ΅ΡΠ΅Π΄Π½ΠΎΡΡΡ ΠΈ Π²Π·Π°ΠΈΠΌΠ½ΡΡ ΡΠ²ΡΠ·ΠΊΡ Π²ΠΎ Π²ΡΠ΅ΠΌΠ΅Π½ΠΈ ΡΡΡΠΎΠΈΡΠ΅Π»ΡΠ½ΠΎ-ΠΌΠΎΠ½ΡΠ°ΠΆΠ½ΡΡ ΠΏΡΠΎΡΠ΅ΡΡΠΎΠ².
ΠΠ»Ρ ΠΏΠΎΡΡΡΠΎΠ΅Π½ΠΈΡ ΠΊΠ°Π»Π΅Π½Π΄Π°ΡΠ½ΠΎΠ³ΠΎ ΠΏΠ»Π°Π½Π° Π½Π° ΡΠΎΠΎΡΠ²Π΅ΡΡΡΠ²ΡΡΡΠΈΠΉ ΠΎΠ±ΡΠ΅ΠΊΡ Π³ΠΎΡΠΎΠ²ΡΡ Π²Π΅Π΄ΠΎΠΌΠΎΡΡΠΈ ΠΎΠ±ΡΠ΅ΠΌΠΎΠ² ΡΠ°Π±ΠΎΡ.
β | ΠΠ°ΠΈΠΌΠ΅Π½ΠΎΠ²Π°Π½ΠΈΠ΅ ΡΠ°Π±ΠΎΡ | ΠΠ±ΡΠ΅ΠΌ ΡΠ°Π±ΠΎΡ | |
ΠΠ΄. ΠΈΠ·ΠΌ. | ΠΡΠ΅Π³ΠΎ | ||
1 | 2 | 3 | 4 |
ΠΠ΅Π·Π°Π²ΠΈΡΠΈΠΌΠΎ ΠΎΡ ΡΡΠ΅ΠΏΠ΅Π½ΠΈ Π΄Π΅ΡΠ°Π»ΠΈΠ·Π°ΡΠΈΠΈ ΡΠ°Π±ΠΎΡ ΠΏΠΎ ΠΎΠ±ΡΠ΅ΠΊΡΡ, ΠΎΡΡΠ°Π²Π»ΡΠ΅ΡΡΡ ΠΊΠ°Π»ΡΠΊΡΠ»ΡΡΠΈΡ ΡΡΡΠ΄ΠΎΠ²ΡΡ Π·Π°ΡΡΠ°Ρ Π½Π° ΠΏΠΎΠ»Π½ΡΠΉ ΠΏΠ΅ΡΠ΅ΡΠ΅Π½Ρ.
ΠΠ°Π»ΡΠΊΡΠ»ΡΡΠΈΡ ΡΡΡΠ΄ΠΎΠ²ΡΡ Π·Π°ΡΡΠ°Ρ
β | ΠΠ±ΠΎΡΠ½ΠΎΠ²Π°Π½ΠΈΠ΅ (β Π½ΠΎΡΠΌΠ°ΡΠΈΠ²Π½ΠΎΠ³ΠΎ Π΄ΠΎΠΊΡΠΌΠ΅Π½ΡΠ°) | ΠΠ°ΠΈΠΌΠ΅Π½ΠΎΠ²Π°Π½ΠΈΠ΅ ΡΠ°Π±ΠΎΡ | Π‘ΠΎΡΡΠ°Π² Π±ΡΠΈΠ³Π°Π΄ | ΠΠ΄. ΠΠ·ΠΌ. | ΠΠ±ΡΠ΅ΠΌ ΡΠ°Π±ΠΎΡ | Π’ΡΡΠ΄ΠΎΠ΅ΠΌΠΊΠΎΡΡΡ | |
ΠΠ° Π΅Π΄. ΠΈΠ·ΠΌ. (Π½ΠΎΡΠΌΠ° Π²ΡΠ΅ΠΌΠ΅Π½ΠΈ) | ΠΠ° Π²Π΅ΡΡ ΠΎΠ±ΡΠ΅ΠΌ | ||||||
1 | 2 | 3 | 4 | 5 | 6 | 7 | 8 |
ΠΠ°Π»Π΅Π½Π΄Π°ΡΠ½ΡΠΉ ΠΏΠ»Π°Π½ Π½Π° ΠΎΡΠ΄Π΅Π»ΡΠ½ΠΎ ΡΡΡΠΎΡΡΠΈΠΉΡΡ ΠΎΠ±ΡΠ΅ΠΊΡ.
ΠΠ°Π»Π΅Π½Π΄Π°ΡΠ½ΡΠΉ ΠΏΠ»Π°Π½ ΠΏΡΠΎΠΈΠ·Π²ΠΎΠ΄ΡΡΠ²Π° ΡΠ°Π±ΠΎΡ Π½Π° ΠΎΠ±ΡΠ΅ΠΊΡ ΡΠΎΡΡΠΎΠΈΡ ΠΈΠ· Π΄Π²ΡΡ ΡΠ°ΡΡΠ΅ΠΉ: Π»Π΅Π²ΠΎΠΉ – ΡΠ°ΡΡΠ΅ΡΠ½ΠΎΠΉ ΠΈ ΠΏΡΠ°Π²ΠΎΠΉ – Π³ΡΠ°ΡΠΈΡΠ΅ΡΠΊΠΎΠΉ.
ΠΡΠ°ΡΠΈΡΠ΅ΡΠΊΠ°Ρ ΡΠ°ΡΡΡ ΠΌΠΎΠΆΠ΅Ρ Π±ΡΡΡ Π»ΠΈΠ½Π΅ΠΉΠ½ΠΎΠΉ (Π³ΡΠ°ΡΠΈΠΊ ΠΠ°Π½ΡΠ°, ΡΠΈΠΊΠ»ΠΎΠ³ΡΠ°ΠΌΠΌΠ°) ΠΈΠ»ΠΈ ΡΠ΅ΡΠ΅Π²ΠΎΠΉ Π³ΡΠ°ΡΠΈΠΊ.
ΠΠ΅ΡΠ΅ΡΠ΅Π½Ρ ΡΠ°Π±ΠΎΡ Π½Π° ΠΎΠ±ΡΠ΅ΠΊΡ ΡΡΠΈΡΡΠ²Π°Π΅Ρ ΡΠΏΠ΅ΡΠΈΠ°Π»ΠΈΠ·ΠΈΡΠΎΠ²Π°Π½Π½ΡΠ΅ ΠΏΠΎΡΠΎΠΊΠΈ ΠΈ ΠΎΠ±ΡΠ΅ΠΊΡΠ½ΡΠ΅ Π² Π·Π°Π²ΠΈΡΠΈΠΌΠΎΡΡΠΈ ΠΎΡ ΠΏΡΠΈΠ½ΡΡΠΎΠΉ ΡΡΠ΅ΠΏΠ΅Π½ΠΈ Π΄Π΅ΡΠ°Π»ΠΈΠ·Π°ΡΠΈΠΈ.
ΠΡΠ°ΡΠ° 1. (ΠΠ΅ΡΠ΅ΡΠ΅Π½Ρ ΡΠ°Π±ΠΎΡ) Π·Π°ΠΏΠΎΠ»Π½ΡΠ΅ΡΡΡ Π² ΡΠ΅Ρ Π½ΠΎΠ»ΠΎΠ³ΠΈΡΠ΅ΡΠΊΠΎΠΉ ΠΏΠΎΡΠ»Π΅Π΄ΠΎΠ²Π°ΡΠ΅Π»ΡΠ½ΠΎΡΡΠΈ Π²ΡΠΏΠΎΠ»Π½Π΅Π½ΠΈΡ ΡΠ°Π±ΠΎΡ Ρ Π³ΡΡΠΏΠΏΠΈΡΠΎΠ²ΠΊΠΎΠΉ ΠΈΡ ΠΏΠΎ Π²ΠΈΠ΄Π°ΠΌ ΠΈ ΠΏΠ΅ΡΠΈΠΎΠ΄Π°ΠΌ. Π§ΡΠΎΠ±Ρ Π³ΡΠ°ΡΠΈΠΊ Π±ΡΠ» Π»Π°ΠΊΠΎΠ½ΠΈΡΠ½ΡΠΌ, ΡΠ°Π±ΠΎΡΡ, Π·Π° ΠΈΡΠΊΠ»ΡΡΠ΅Π½ΠΈΠ΅ΠΌ Π²ΡΠΏΠΎΠ»Π½ΡΠ΅ΠΌΡΡ ΡΠ°Π·Π½ΡΠΌΠΈ ΠΈΡΠΏΠΎΠ»Π½ΠΈΡΠ΅Π»ΡΠΌΠΈ (Π‘Π£, ΡΡΠ°ΡΡΠΊΠ°ΠΌΠΈ, Π±ΡΠΈΠ³Π°Π΄Π°ΠΌΠΈ ΠΈΠ»ΠΈ Π·Π²Π΅Π½ΡΡΠΌΠΈ), Π½Π΅ΠΎΠ±Ρ ΠΎΠ΄ΠΈΠΌΠΎ ΠΎΠ±ΡΠ΅Π΄ΠΈΠ½ΡΡΡ. Π Π³ΡΠ°ΡΡ 1 ΠΊΠ°Π»Π΅Π½Π΄Π°ΡΠ½ΠΎΠ³ΠΎ ΠΏΠ»Π°Π½Π° ΡΠ»Π΅Π΄ΡΠ΅Ρ ΡΠ°ΠΊΠΆΠ΅ Π²ΠΊΠ»ΡΡΠ°ΡΡ ΠΏΠΎΠ·ΠΈΡΠΈΠΈ: ΠΏΠΎΠ΄Π³ΠΎΡΠΎΠ²ΠΈΡΠ΅Π»ΡΠ½ΡΠ΅ ΡΠ°Π±ΠΎΡΡ, ΠΌΠΎΠ½ΡΠ°ΠΆ ΠΈ Π΄Π΅ΠΌΠΎΠ½ΡΠ°ΠΆ ΠΏΠΎΠ΄ΠΊΡΠ°Π½ΠΎΠ²ΡΡ ΠΏΡΡΠ΅ΠΉ ΠΈ Π±Π°ΡΠ΅Π½Π½ΠΎΠ³ΠΎ ΠΊΡΠ°Π½Π°, ΠΏΡΠΎΡΠΈΠ΅ ΠΈ Π½Π΅ΡΡΡΠ΅Π½Π½ΡΠ΅ ΡΠ°Π±ΠΎΡΡ, ΠΏΠΎΠ΄Π³ΠΎΡΠΎΠ²ΠΊΠ° ΡΠ΄Π°ΡΠΈ ΠΎΠ±ΡΠ΅ΠΊΡΠ° ΠΈ ΡΠ΄Π°ΡΠ° ΠΎΠ±ΡΠ΅ΠΊΡΠ°.
ΠΡΠ°ΡΠ° 2,3. (ΠΠ±ΡΠ΅ΠΌ ΡΠ°Π±ΠΎΡ) ΠΎΠΏΡΠ΅Π΄Π΅Π»ΡΠ΅ΡΡΡ ΠΏΠΎ ΡΠΌΠ΅ΡΠ°ΠΌ ΠΈ ΡΠ°Π±ΠΎΡΠΈΠΌ ΡΠ΅ΡΡΠ΅ΠΆΠ°ΠΌ ΠΈ Π²ΡΡΠ°ΠΆΠ°ΡΡΡΡ Π² Π΅Π΄ΠΈΠ½ΠΈΡΠ°Ρ , ΠΏΡΠΈΠ½ΡΡΡΡ Π² ΠΠΠΈΠ Π°Ρ (Π΅Π΄ΠΈΠ½ΡΡ Π½ΠΎΡΠΌΠ°Ρ ΠΈ ΡΠ°ΡΡΠ΅Π½ΠΊΠ°Ρ ), Π’Π΅ΡΡΠΈΡΠΎΡΠΈΠ°Π»ΡΠ½ΡΡ ΠΈΠ»ΠΈ Π€Π΅Π΄Π΅ΡΠ°Π»ΡΠ½ΡΡ Π΅Π΄ΠΈΠ½ΡΡ ΡΠ°ΡΡΠ΅Π½ΠΊΠ°Ρ ΠΈ ΠΠΎΡΡΠ΄Π°ΡΡΡΠ²Π΅Π½Π½ΡΡ ΡΡΡΠΎΠΈΡΠ΅Π»ΡΠ½ΡΡ Π½ΠΎΡΠΌ (Π’ΠΠ , Π€ΠΠ , ΠΠ‘Π). ΠΠ±ΡΠ΅ΠΌΡ ΡΠΏΠ΅ΡΠΈΠ°Π»ΡΠ½ΡΡ ΡΠ°Π±ΠΎΡ ΠΎΠΏΡΠ΅Π΄Π΅Π»ΡΡΡΡΡ Π² ΡΡΠΎΠΈΠΌΠΎΡΡΠ½ΠΎΠΌ Π²ΡΡΠ°ΠΆΠ΅Π½ΠΈΠΈ (ΠΏΠΎ ΡΠΌΠ΅ΡΠ΅), Π΅ΡΠ»ΠΈ ΡΡΡΠ΄ΠΎΠ΅ΠΌΠΊΠΎΡΡΡ ΡΠ°ΡΡΡΠΈΡΡΠ²Π°Π΅ΡΡΡ ΠΏΠΎ Π²ΡΡΠ°Π±ΠΎΡΠΊΠ΅; ΠΏΡΠΈ ΠΈΡΠΏΠΎΠ»ΡΠ·ΠΎΠ²Π°Π½ΠΈΠΈ ΡΠΊΡΡΠΏΠ½Π΅Π½Π½ΡΡ ΠΏΠΎΠΊΠ°Π·Π°ΡΠ΅Π»Π΅ΠΉ – Π² ΡΠΎΠΎΡΠ²Π΅ΡΡΡΠ²ΡΡΡΠΈΡ ΠΈΠΌ ΠΈΠ·ΠΌΠ΅ΡΠΈΡΠ΅Π»ΡΡ .
ΠΡΠ°ΡΡ 4, 5, 6. (Π’ΡΡΠ΄ΠΎΠ·Π°ΡΡΠ°ΡΡ ΠΈ Π·Π°ΡΡΠ°ΡΡ ΠΌΠ°ΡΠΈΠ½Π½ΠΎΠ³ΠΎ Π²ΡΠ΅ΠΌΠ΅Π½ΠΈ) ΡΠ°ΡΡΡΠΈΡΡΠ²Π°ΡΡΡΡ ΠΏΠΎ Π΄Π΅ΠΉΡΡΠ²ΡΡΡΠΈΠΌ ΠΠΠΈΠ , Π’ΠΠ , ΠΠ‘Π, Π€ΠΠ Ρ ΡΡΠ΅ΡΠΎΠΌ ΠΏΠ»Π°Π½ΠΈΡΡΠ΅ΠΌΠΎΠ³ΠΎ ΡΠΎΡΡΠ° ΠΏΡΠΎΠΈΠ·Π²ΠΎΠ΄ΠΈΡΠ΅Π»ΡΠ½ΠΎΡΡΠΈ ΡΡΡΠ΄Π°. ΠΠ°ΡΡΠ°ΡΡ ΡΡΡΠ΄Π° Π½Π° ΠΏΠΎΠ΄Π³ΠΎΡΠΎΠ²ΠΈΡΠ΅Π»ΡΠ½ΡΠ΅ ΡΠ°Π±ΠΎΡΡ ΠΌΠΎΠΆΠ½ΠΎ ΠΏΡΠΈΠ½ΠΈΠΌΠ°ΡΡ Π² ΡΠ°Π·ΠΌΠ΅ΡΠ΅ 5%, Π° Π½Π° ΠΏΡΠΎΡΠΈΠ΅ ΠΈ Π½Π΅ΡΡΡΠ΅Π½Π½ΡΠ΅ ΡΠ°Π±ΠΎΡΡ ΠΈ Π½Π° ΠΏΠΎΠ΄Π³ΠΎΡΠΎΠ²ΠΊΡ ΠΎΠ±ΡΠ΅ΠΊΡΠ° ΠΊ ΡΠ΄Π°ΡΠ΅ – 15-20% ΠΎΡ ΡΡΡΠ΄ΠΎΠ·Π°ΡΡΠ°Ρ ΠΎΡΠ½ΠΎΠ²Π½ΡΡ ΡΠ°Π±ΠΎΡ. Π’ΡΡΠ΄ΠΎΠ·Π°ΡΡΠ°ΡΡ Π½Π° Π±Π»Π°Π³ΠΎΡΡΡΡΠΎΠΉΡΡΠ²ΠΎ ΡΠΊΠ°Π·ΡΠ²Π°ΡΡ Π² ΠΈΡΡ ΠΎΠ΄Π½ΡΡ Π΄Π°Π½Π½ΡΡ Π΄Π»Ρ ΡΠ°Π·ΡΠ°Π±ΠΎΡΠΊΠΈ ΠΏΡΠΎΠ΅ΠΊΡΠ°. Π ΠΌΠΎΠΌΠ΅Π½ΡΡ ΡΠΎΡΡΠ°Π²Π»Π΅Π½ΠΈΡ ΠΊΠ°Π»Π΅Π½Π΄Π°ΡΠ½ΠΎΠ³ΠΎ ΠΏΠ»Π°Π½Π° Π΄ΠΎΠ»ΠΆΠ½Ρ Π±ΡΡΡ ΠΎΠΏΡΠ΅Π΄Π΅Π»Π΅Π½Ρ ΠΌΠ΅ΡΠΎΠ΄Ρ ΠΏΡΠΎΠΈΠ·Π²ΠΎΠ΄ΡΡΠ²Π° ΡΠ°Π±ΠΎΡ ΠΈ Π²ΡΠ±ΡΠ°Π½Ρ ΠΌΠ°ΡΠΈΠ½Ρ ΠΈ ΠΌΠ΅Ρ Π°Π½ΠΈΠ·ΠΌΡ.
ΠΡΠΎΠ΄ΠΎΠ»ΠΆΠΈΡΠ΅Π»ΡΠ½ΠΎΡΡΡ ΠΌΠ΅Ρ Π°Π½ΠΈΠ·ΠΈΡΠΎΠ²Π°Π½Π½ΡΡ ΡΠ°Π±ΠΎΡ Π΄ΠΎΠ»ΠΆΠ½Π° ΠΎΠΏΡΠ΅Π΄Π΅Π»ΡΡΡΡΡ n ΠΏΡΠΎΠΈΠ·Π²ΠΎΠ΄ΠΈΡΠ΅Π»ΡΠ½ΠΎΡΡΠΈ ΠΌΠ°ΡΠΈΠ½. ΠΠΎΡΡΠΎΠΌΡ Π²Π½Π°ΡΠ°Π»Π΅ ΡΡΡΠ°Π½Π°Π²Π»ΠΈΠ²Π°Π΅ΡΡΡ ΠΏΡΠΎΠ΄ΠΎΠ»ΠΆΠΈΡΠ΅Π»ΡΠ½ΠΎΡΡΡ ΠΌΠ΅Ρ Π°Π½ΠΈΠ·ΠΈΡΠΎΠ²Π°Π½Π½ΡΡ ΡΠ°Π±ΠΎΡ, ΡΠΈΡΠΌ ΡΠ°Π±ΠΎΡΡ ΠΊΠΎΡΠΎΡΡΡ ΠΎΠΏΡΠ΅Π΄Π΅Π»ΡΠ΅Ρ Π²ΡΠ΅ ΠΏΠΎΡΡΡΠΎΠ΅Π½ΠΈΡ Π³ΡΠ°ΡΠΈΠΊΠ°, Π° Π·Π°ΡΠ΅ΠΌ ΡΠ°ΡΡΡΠΈΡΡΠ²Π°Π΅ΡΡΡ ΠΏΡΠΎΠ΄ΠΎΠ»ΠΆΠΈΡΠ΅Π»ΡΠ½ΠΎΡΡΡ ΡΠ°Π±ΠΎΡ, Π²ΡΠΏΠΎΠ»Π½ΡΠ΅ΠΌΡΡ Π²ΡΡΡΠ½ΡΡ.
ΠΡΠ°ΡΠ° 7. ΠΡΠΎΠ΄ΠΎΠ»ΠΆΠΈΡΠ΅Π»ΡΠ½ΠΎΡΡΡ Π²ΡΠΏΠΎΠ»Π½Π΅Π½ΠΈΡ ΠΌΠ΅Ρ Π°Π½ΠΈΠ·ΠΈΡΠΎΠ²Π°Π½Π½ΡΡ ΡΠ°Π±ΠΎΡ
Π³Π΄Π΅ – Π½Π΅ΠΎΠ±Ρ ΠΎΠ΄ΠΈΠΌΠΎΠ΅ ΠΊΠΎΠ»ΠΈΡΠ΅ΡΡΠ²ΠΎ ΠΌΠ°Ρ-ΡΠΌ (Π³ΡΠ°ΡΠ° 6)
– ΠΊΠΎΠ»ΠΈΡΠ΅ΡΡΠ²ΠΎ ΠΌΠ°ΡΠΈΠ½
S β ΡΠΈΡΠ»ΠΎ ΡΠΌΠ΅Π½ ΡΠ°Π±ΠΎΡΡ Π² ΡΡΡΠΊΠΈ (Π³Ρ.8)
ΠΠ΅ΠΎΠ±Ρ ΠΎΠ΄ΠΈΠΌΠΎΠ΅ ΠΊΠΎΠ»ΠΈΡΠ΅ΡΡΠ²ΠΎ ΠΌΠ°ΡΠΈΠ½ Π·Π°Π²ΠΈΡΠΈΡ ΠΎΡ ΠΎΠ±ΡΠ΅ΠΌΠ° ΠΈ Ρ Π°ΡΠ°ΠΊΡΠ΅ΡΠ° ΡΡΡΠΎΠΈΡΠ΅Π»ΡΠ½ΠΎ-ΠΌΠΎΠ½ΡΠ°ΠΆΠ½ΡΡ ΡΠ°Π±ΠΎΡ ΠΈ ΡΡΠΎΠΊΠΎΠ² ΠΈΡ Π²ΡΠΏΠΎΠ»Π½Π΅Π½ΠΈΡ.
ΠΡΠΎΠ΄ΠΎΠ»ΠΆΠΈΡΠ΅Π»ΡΠ½ΠΎΡΡΡ ΡΠ°Π±ΠΎΡ, Π²ΡΠΏΠΎΠ»Π½ΡΠ΅ΠΌΡΡ Π²ΡΡΡΠ½ΡΡ:
Π³Π΄Π΅ Q β ΡΡΡΠ΄ΠΎΠ΅ΠΌΠΊΠΎΡΡΡ ΠΏΡΠΎΡΠ΅ΡΡΠ° (ΡΠ΅Π»-Π΄Π½)
ΠΠ²Ρ β Π½ΠΎΡΠΌΠ° Π²ΡΠ΅ΠΌΠ΅Π½ΠΈ Π²ΡΠΏΠΎΠ»Π½Π΅Π½ΠΈΡ ΠΏΡΠΎΡΠ΅ΡΡΠ° (ΡΠ΅Π»-Π΄Π½)
V β ΠΎΠ±ΡΠ΅ΠΌ ΡΠ°Π±ΠΎΡ
S β ΡΠΌΠ΅Π½Π½ΠΎΡΡΡ
N β ΡΠΈΡΠ»ΠΎ ΡΠ°Π±ΠΎΡΠΈΡ
Ξ± β ΠΊΠΎΡΡΡΠΈΡΠΈΠ΅Π½Ρ ΠΏΠ΅ΡΠ΅Π²ΡΠΏΠΎΠ»Π½Π΅Π½ΠΈΡ Π½ΠΎΡΠΌ Π²ΡΡΠ°Π±ΠΎΡΠΊΠΈ (1,05-1,1).
ΠΡΠ°ΡΠ° 8. (ΡΠΌΠ΅Π½Π½ΠΎΡΡΡ) ΡΡΡΠ°Π½Π°Π²Π»ΠΈΠ²Π°Π΅ΡΡΡ ΠΈΡΡ ΠΎΠ΄Ρ ΠΈΠ· ΡΠ»Π΅Π΄ΡΡΡΠΈΡ ΡΡΠ»ΠΎΠ²ΠΈΠΉ: ΠΏΡΠΈ ΠΈΡΠΏΠΎΠ»ΡΠ·ΠΎΠ²Π°Π½ΠΈΠΈ ΠΊΡΡΠΏΠ½ΡΡ ΡΡΡΠΎΠΈΡΠ΅Π»ΡΠ½ΡΡ ΠΌΠ°ΡΠΈΠ½ (ΡΠΊΡΠΊΠ°Π²Π°ΡΠΎΡΠΎΠ², Π±ΡΠ»ΡΠ΄ΠΎΠ·Π΅ΡΠΎΠ², ΠΌΠΎΠ½ΡΠ°ΠΆΠ½ΡΡ ΠΊΡΠ°Π½ΠΎΠ², ΡΠΊΡΠ΅ΠΏΠ΅ΡΠΎΠ² ΠΈ Π΄Ρ.) ΡΠ°Π±ΠΎΡΡ Π²Π΅Π΄ΡΡ Π² 2 ΡΠΌΠ΅Π½Ρ. Π‘ΠΌΠ΅Π½Π½ΠΎΡΡΡ ΡΠ°Π±ΠΎΡ, Π²ΡΠΏΠΎΠ»Π½ΡΠ΅ΠΌΡΡ Π²ΡΡΡΠ½ΡΡ, Π·Π°Π²ΠΈΡΠΈΡ ΠΎΡ ΡΡΠΎΠ½ΡΠ° ΡΠ°Π±ΠΎΡ ΠΈ ΠΈΡ Π²ΠΈΠ΄Π°. Π¦Π΅Π»Π΅ΡΠΎΠΎΠ±ΡΠ°Π·Π½ΠΎ ΠΏΡΠΎΠ²ΠΎΠ΄ΠΈΡΡ Π² 1-Ρ ΡΠΌΠ΅Π½Ρ.
ΠΡΠ°ΡΠ° 9,10. (Π§ΠΈΡΠ»ΠΎ ΡΠ°Π±ΠΎΡΠΈΡ Π² ΡΠΌΠ΅Π½Ρ ΠΈ ΡΠΎΡΡΠ°Π² Π±ΡΠΈΠ³Π°Π΄Ρ) ΠΎΠΏΡΠ΅Π΄Π΅Π»ΡΠ΅ΡΡΡ Π² ΡΠΎΠΎΡΠ²Π΅ΡΡΡΠ²ΠΈΠΈ Ρ ΡΡΡΠ΄ΠΎΠ΅ΠΌΠΊΠΎΡΡΡΡ ΠΈ ΠΏΡΠΎΠ΄ΠΎΠ»ΠΆΠΈΡΠ΅Π»ΡΠ½ΠΎΡΡΡΡ ΡΠ°Π±ΠΎΡ. ΠΡΠΈ ΡΠ°ΡΡΠ΅ΡΠ΅ Π±ΡΠΈΠ³Π°Π΄Ρ, ΠΈΡΡ ΠΎΠ΄Ρ ΠΈΠ· ΡΠΎΠ³ΠΎ, ΡΡΠΎ ΠΏΠ΅ΡΠ΅Ρ ΠΎΠ΄ Ρ ΠΎΠ΄Π½ΠΎΠΉ Π·Π°Ρ Π²Π°ΡΠΊΠΈ Π½Π° Π΄ΡΡΠ³ΡΡ Π½Π΅ Π΄ΠΎΠ»ΠΆΠ΅Π½ Π²ΡΠ·ΡΠ²Π°ΡΡ ΠΈΠ·ΠΌΠ΅Π½Π΅Π½ΠΈΠΉ Π² ΡΠΈΡΠ»Π΅Π½Π½ΠΎΠΌ ΡΠΎΡΡΠ°Π²Π΅.
Π§ΠΈΡΠ»Π΅Π½Π½ΡΠΉ ΡΠΎΡΡΠ°Π² Π·Π²Π΅Π½ΡΠ΅Π² ΠΈ Π±ΡΠΈΠ³Π°Π΄Ρ:
ΠΡΠΎΠ΄ΠΎΠ»ΠΆΠΈΡΠ΅Π»ΡΠ½ΠΎΡΡΡ Π²ΡΠΏΠΎΠ»Π½Π΅Π½ΠΈΡ ΠΏΠΎΠ΄Π³ΠΎΡΠΎΠ²ΠΈΡΠ΅Π»ΡΠ½ΡΡ ΡΠ°Π±ΠΎΡ ΠΏΡΠΈΠ½ΠΈΠΌΠ°Π΅ΡΡΡ ΠΏΠΎ Π‘ΠΠΈΠ 1.04.03-85 (ΠΠΎΡΠΌΡ ΠΏΡΠΎΠ΄ΠΎΠ»ΠΆΠΈΡΠ΅Π»ΡΠ½ΠΎΡΡΠΈ ΡΡΡΠΎΠΈΡΠ΅Π»ΡΡΡΠ²Π°).
3.1. Π Π°ΡΡΠ΅Ρ ΠΈ ΠΏΡΠΎΠ΅ΠΊΡΠΈΡΠΎΠ²Π°Π½ΠΈΠ΅ ΠΊΠ°Π»Π΅Π½Π΄Π°ΡΠ½ΠΎΠ³ΠΎ Π³ΡΠ°ΡΠΈΠΊΠ° Π²ΠΎΠ·Π²Π΅Π΄Π΅Π½ΠΈΡ Π½ΡΠ»Π΅Π²ΠΎΠ³ΠΎ ΡΠΈΠΊΠ»Π° ΠΆΠΈΠ»ΠΎΠ³ΠΎ Π΄ΠΎΠΌΠ° ΠΏΠΎΡΠΎΡΠ½ΡΠΌ ΠΌΠ΅ΡΠΎΠ΄ΠΎΠΌ.
ΠΠ°Π΄Π°ΡΠ°: 4-Ρ ΡΠ΅ΠΊΡΠΈΠΎΠ½Π½ΡΠΉ ΠΆΠΈΠ»ΠΎΠΉ Π΄ΠΎΠΌ; ΠΊΠΎΠ»ΠΈΡΠ΅ΡΡΠ²ΠΎ ΡΠ°ΡΡΠ½ΡΡ ΡΡΠΎΠ½ΡΠΎΠ² ΡΠ°Π±ΠΎΡ m=4;ΠΊΠΎΠ»ΠΈΡΠ΅ΡΡΠ²ΠΎ ΠΏΡΠΎΡΠ΅ΡΡΠΎΠ² n=3; Π²Π΅Π΄ΡΡΠΈΠΉ ΠΏΡΠΎΡΠ΅ΡΡ – Π·Π΅ΠΌΠ»ΡΠ½ΡΠ΅ ΡΠ°Π±ΠΎΡΡ. Π Π°ΡΡΡΠΈΡΠ°ΡΡ ΠΏΠ°ΡΠ°ΠΌΠ΅ΡΡΡ ΠΏΠΎΡΠΎΠΊΠ° ΠΈ ΠΏΠΎΡΡΡΠΎΠΈΡΡ Π³ΡΠ°ΡΠΈΠΊ ΠΏΡΠΎΠΈΠ·Π²ΠΎΠ΄ΡΡΠ²Π° ΡΠ°Π±ΠΎΡ Π½ΡΠ»Π΅Π²ΠΎΠ³ΠΎ ΡΠΈΠΊΠ»Π° 4-Ρ ΡΠ΅ΠΊΡΠΈΠΎΠ½Π½ΠΎΠ³ΠΎ ΠΆΠΈΠ»ΠΎΠ³ΠΎ Π΄ΠΎΠΌΠ°.
3.2. Π Π°ΡΡΠ΅Ρ ΠΈ ΠΏΡΠΎΠ΅ΠΊΡΠΈΡΠΎΠ²Π°Π½ΠΈΠ΅ ΠΊΠ°Π»Π΅Π½Π΄Π°ΡΠ½ΠΎΠ³ΠΎ Π³ΡΠ°ΡΠΈΠΊΠ° Π²ΠΎΠ·Π²Π΅Π΄Π΅Π½ΠΈΡ Π½ΡΠ»Π΅Π²ΠΎΠ³ΠΎ ΡΠΈΠΊΠ»Π° ΠΆΠΈΠ»ΠΎΠ³ΠΎ Π΄ΠΎΠΌΠ° ΠΏΠΎΡΠΎΡΠ½ΡΠΌ ΠΌΠ΅ΡΠΎΠ΄ΠΎΠΌ.
ΠΠ°Π΄Π°ΡΠ°: ΡΠ°ΡΡΡΠΈΡΠ°ΡΡ ΠΏΠ°ΡΠ°ΠΌΠ΅ΡΡΡ ΠΏΠΎΡΠΎΠΊΠ° ΠΈ ΠΏΠΎΡΡΡΠΎΠΈΡΡ Π³ΡΠ°ΡΠΈΠΊ Π²ΡΠΏΠΎΠ»Π½Π΅Π½ΠΈΡ ΡΠ°Π±ΠΎΡ Π½ΡΠ»Π΅Π²ΠΎΠ³ΠΎ ΡΠΈΠΊΠ»Π° 4-Ρ ΡΠ΅ΠΊΡΠΈΠΎΠ½Π½ΠΎΠ³ΠΎ ΠΆΠΈΠ»ΠΎΠ³ΠΎ Π΄ΠΎΠΌΠ°.
ΠΡΡ ΠΎΠ΄Π½ΡΠ΅ Π΄Π°Π½Π½ΡΠ΅:
ΠΠΈΠ΄Ρ ΡΠ°Π±ΠΎΡ | ΠΠ±ΡΠ΅ΠΌ ΡΠ°Π±ΠΎΡ | Π’ΡΡΠ΄ΠΎΠ΅ΠΌΠΊΠΎΡΡΡ | ||
ΠΠ΄. ΠΈΠ·ΠΌ. | ΠΎΠ±ΡΠ΅ΠΌ | ΠΠ° Π΅Π΄. ΠΈΠ·ΠΌ. | < ΡΠ΅Π» – ΠΠ | |
1. ΠΠ΅ΠΌΠ»ΡΠ½ΡΠ΅ ΡΠ°Π±ΠΎΡΡ | ΠΌ3 | 500 | 0,02 | 10 |
2. ΠΠΎΠ½ΡΠ°ΠΆ ΡΡΠ½Π΄Π°ΠΌΠ΅Π½ΡΠΎΠ² ΠΈ ΡΡΠ΅Π½ ΠΏΠΎΠ΄Π²Π°Π»Π° | ΠΌ3 | 250 | 0,2 | 50 |
3. Π£ΡΡΡΠΎΠΉΡΡΠ²ΠΎ Π²Π²ΠΎΠ΄ΠΎΠ² ΠΈΠ½ΠΆΠ΅Π½Π΅ΡΠ½ΡΡ ΡΠ΅ΡΠ΅ΠΉ ΠΈ ΠΎΡΠΌΠΎΡΡΠΊΠΈ | ΠΌ3 | 400 | 0,03 | 12 |
Π Π΅ΡΠ΅Π½ΠΈΠ΅:
Π Π°ΡΡΠ΅Ρ ΡΠΈΡΠΌΠΈΡΠ½ΠΎΠ³ΠΎ ΠΏΠΎΡΠΎΠΊΠ°
1) Π ΠΈΡΠΌ ΠΏΠΎΡΠΎΠΊΠ° ΠΎΠΏΡΠ΅Π΄Π΅Π»ΡΠ΅ΡΡΡ ΠΏΠΎ Π²Π΅Π΄ΡΡΠ΅ΠΌΡ ΠΏΡΠΎΡΠ΅ΡΡΡ – ΠΌΠΎΠ½ΡΠ°ΠΆ ΡΡΠ½Π΄Π°ΠΌΠ΅Π½ΡΠΎΠ² ΠΈ ΡΡΠ΅Π½ ΠΏΠΎΠ΄Π²Π°Π»Π°
Π³Π΄Π΅ Q β ΡΡΡΠ΄ΠΎΠ΅ΠΌΠΊΠΎΡΡΡ ΡΠ°Π±ΠΎΡ ΠΏΠΎ Π²Π΅Π΄ΡΡΠ΅ΠΌΡ ΠΏΡΠΎΡΠ΅ΡΡΡ (ΡΠ΅Π»-Π΄Π½)
m β ΠΊΠΎΠ»ΠΈΡΠ΅ΡΡΠ²ΠΎ Π·Π°Ρ Π²Π°ΡΠΎΠΊ (4 ΡΠ΅ΠΊΡΠΈΠΈ ΠΆΠΈΠ»ΠΎΠ³ΠΎ Π΄ΠΎΠΌΠ°)
– ΠΊΠΎΠ»ΠΈΡΠ΅ΡΡΠ²ΠΎ ΡΠ°Π±ΠΎΡΠΈΡ , Π·Π°Π½ΡΡΡΡ Π½Π° ΠΌΠΎΠ½ΡΠ°ΠΆΠ΅ ΡΡΠ½Π΄Π°ΠΌΠ΅Π½ΡΠΎΠ², ΠΏΡΠΈΠ½ΠΈΠΌΠ°Π΅ΠΌ 5 ΡΠ΅Π»ΠΎΠ²Π΅ΠΊ
S β ΠΏΡΠΎΠ΅ΠΊΡΠΈΡΡΠ΅ΠΌΠ°Ρ ΡΠΌΠ΅Π½Π½ΠΎΡΡΡ ΡΠ°Π±ΠΎΡ, ΡΠ°Π²Π½Π° 2
n β ΠΊΠΎΠ»ΠΈΡΠ΅ΡΡΠ²ΠΎ Π²ΠΈΠ΄ΠΎΠ² ΡΠ°Π±ΠΎΡ ΠΈΠ»ΠΈ Π±ΡΠΈΠ³Π°Π΄
Ξ± β ΠΏΠ»Π°Π½ΠΈΡΡΠ΅ΠΌΡΠΉ ΠΊΠΎΡΡΡΠΈΡΠΈΠ΅Π½Ρ ΡΠΎΡΡΠ° ΠΏΡΠΎΠΈΠ·Π²ΠΎΠ΄ΠΈΡΠ΅Π»ΡΠ½ΠΎΡΡΠΈ ΡΡΡΠ΄Π° (Ξ±=1,05Γ·1,15).
2) ΠΠΏΡΠ΅Π΄Π΅Π»ΠΈΡΡ ΠΏΡΠΎΠ΄ΠΎΠ»ΠΆΠΈΡΠ΅Π»ΡΠ½ΠΎΡΡΡ Π²ΡΠΏΠΎΠ»Π½Π΅Π½ΠΈΡ ΡΠ°Π±ΠΎΡ ΠΏΠΎ Π²ΠΎΠ·Π²Π΅Π΄Π΅Π½ΠΈΡ Π½ΡΠ»Π΅Π²ΠΎΠ³ΠΎ ΡΠΈΠΊΠ»Π° (Π’ΠΎΠ±Ρ)
3) Π Π°ΡΡΡΠΈΡΠ°ΡΡ ΡΠΈΡΠ»Π΅Π½Π½ΠΎΡΡΡ ΡΠ°Π±ΠΎΡΠΈΡ N2
4) Π Π°ΡΡΡΠΈΡΠ°ΡΡ ΡΠΈΡΠ»Π΅Π½Π½ΠΎΡΡΡ ΡΠ°Π±ΠΎΡΠΈΡ N3 Π½Π° 3-ΠΌ ΠΏΡΠΎΡΠ΅ΡΡΠ΅ β ΡΡΡΡΠΎΠΉΡΡΠ²ΠΎ Π²Π²ΠΎΠ΄ΠΎΠ² ΠΈΠ½ΠΆΠ΅Π½Π΅ΡΠ½ΡΡ ΡΠ΅ΡΠ΅ΠΉ ΠΈ ΠΎΡΠΌΠΎΡΡΠΊΠΈ
5) Π‘ΠΎΡΡΠ°Π²Π»ΡΠ΅ΠΌ ΠΊΠ°Π»Π΅Π½Π΄Π°ΡΠ½ΡΠΉ ΠΏΠ»Π°Π½ ΠΏΡΠΎΠΈΠ·Π²ΠΎΠ΄ΡΡΠ²Π° ΡΠ°Π±ΠΎΡ ΠΏΠΎ ΡΡΡΡΠΎΠΉΡΡΠ²Ρ Π½ΡΠ»Π΅Π²ΠΎΠ³ΠΎ ΡΠΈΠΊΠ»Π°
6) ΠΠΏΡΠ΅Π΄Π΅Π»ΠΈΠΌ Π½Π΅ΡΠ°Π²Π½ΠΎΠΌΠ΅ΡΠ½ΠΎΡΡΡ Π΄Π²ΠΈΠΆΠ΅Π½ΠΈΡ ΡΠ°Π±ΠΎΡΠΈΡ ΠΏΠΎ Π²ΡΠ΅ΠΌΠ΅Π½ΠΈ
7) ΠΠΏΡΠ΅Π΄Π΅Π»ΠΈΠΌ Π½Π΅ΡΠ°Π²Π½ΠΎΠΌΠ΅ΡΠ½ΠΎΡΡΡ Π΄Π²ΠΈΠΆΠ΅Π½ΠΈΡ ΡΠ°Π±ΠΎΡΠΈΡ ΠΏΠΎ ΠΊΠΎΠ»ΠΈΡΠ΅ΡΡΠ²Ρ
ΠΡΠ²ΠΎΠ΄: Π·Π½Π°ΡΠ΅Π½ΠΈΡ ΠΊΠΎΡΡΡΠΈΡΠΈΠ΅Π½ΡΠΎΠ² ΡΠΎΠΎΡΠ²Π΅ΡΡΡΠ²ΡΠ΅Ρ Π½ΠΎΡΠΌΠ°ΡΠΈΠ²Ρ.
β | ΠΠΈΠ΄Ρ ΡΠ°Π±ΠΎΡ | Π Π°Π±ΠΎΡΠΈΠ΅ Π΄Π½ΠΈ | |||||
1 | 2 2 | 3 | 4 | 5 | 6 | ||
1 | ΠΠ΅ΠΌΠ»ΡΠ½ΡΠ΅ ΡΠ°Π±ΠΎΡΡ | 10 | |||||
2 | ΠΠΎΠ½ΡΠ°ΠΆ ΡΡΠ½Π΄Π°ΠΌΠ΅Π½ΡΠΎΠ² ΠΈ ΡΡΠ΅Π½ ΠΏΠΎΠ΄Π²Π°Π»Π° | ||||||
3 | ΠΠ²ΠΎΠ΄Ρ ΠΈ ΠΎΡΠΌΠΎΡΡΠΊΠΈ | 3 | |||||

studfiles.net
Π‘ΡΡΠΊΠΎΠ²ΠΎΠ΅ ΡΠΎΠ΅Π΄ΠΈΠ½Π΅Π½ΠΈΠ΅ ΠΌΠ΅ΡΠ°Π»Π»ΠΎΠΊΠΎΠ½ΡΡΡΡΠΊΡΠΈΠΈ, Π² ΡΠ°ΡΡΠ½ΠΎΡΡΠΈ ΡΠ΅ΠΊΡΠΈΠΉ Π±Π°ΡΠ½ΠΈ Π±Π°ΡΠ΅Π½Π½ΠΎΠ³ΠΎ ΠΊΡΠ°Π½Π°
Β
ΠΠ·ΠΎΠ±ΡΠ΅ΡΠ΅Π½ΠΈΠ΅ ΠΎΡΠ½ΠΎΡΠΈΡΡΡ ΠΊ Π±Π°ΡΠ΅Π½Π½ΡΠΌ ΠΊΡΠ°Π½Π°ΠΌ ΠΈ ΠΏΡΠ΅Π΄Π½Π°Π·Π½Π°ΡΠ΅Π½ΠΎ Π² ΠΎΡΠ½ΠΎΠ²Π½ΠΎΠΌ Π΄Π»Ρ ΠΈΡΠΏΠΎΠ»ΡΠ·ΠΎΠ²Π°Π½ΠΈΡ Π² ΡΡΡΠΊΠΎΠ²ΡΡ ΡΠΎΠ΅Π΄ΠΈΠ½Π΅Π½ΠΈΡΡ ΠΏΠΎΡΡΠΎΠ² ΡΠ΅ΠΊΡΠΈΠΉ Π±Π°ΡΠ½ΠΈ Π±Π°ΡΠ΅Π½Π½ΠΎΠ³ΠΎ ΠΊΡΠ°Π½Π°. Π‘ΡΡΠΊΠΎΠ²ΠΎΠ΅ ΡΠΎΠ΅Π΄ΠΈΠ½Π΅Π½ΠΈΠ΅ Π²ΠΊΠ»ΡΡΠ°Π΅Ρ ΠΏΠΎΡΡΠ° ΡΡΡΠΊΡΠ΅ΠΌΡΡ ΡΠ΅ΠΊΡΠΈΠΉ, ΠΊΠ°ΠΆΠ΄ΡΠΉ ΠΈΠ· ΠΊΠΎΡΠΎΡΡΡ Π²ΡΠΏΠΎΠ»Π½Π΅Π½ Ρ Π²Π½Π΅ΡΠ½Π΅ΠΉ ΠΈ Π²Π½ΡΡΡΠ΅Π½Π½Π΅ΠΉ ΠΏΡΠΎΡΡΠΈΠ½Π°ΠΌΠΈ, Π·Π°ΠΊΡΠ΅ΠΏΠ»Π΅Π½Π½ΡΠΌΠΈ Π½Π° ΠΊΠΎΠ½ΡΠ°Ρ ΠΏΠΎΡΡΠΎΠ², ΠΈ ΡΠΎΠ΅Π΄ΠΈΠ½ΠΈΡΠ΅Π»ΡΠ½ΡΠ΅ ΡΠ»Π΅ΠΌΠ΅Π½ΡΡ, ΡΠ°ΡΠΏΠΎΠ»ΠΎΠΆΠ΅Π½Π½ΡΠ΅ Π² ΠΎΡΠ²Π΅ΡΡΡΠΈΡΡ ΠΏΡΠΎΡΡΠΈΠ½. Π‘ΠΎΠ΅Π΄ΠΈΠ½ΠΈΡΠ΅Π»ΡΠ½ΡΠ΅ ΡΠ»Π΅ΠΌΠ΅Π½ΡΡ Π²ΡΠΏΠΎΠ»Π½Π΅Π½Ρ ΡΠΎ ΡΠΊΠΎΡΠ΅Π½Π½ΡΠΌΠΈ ΠΏΠΎΠ²Π΅ΡΡ Π½ΠΎΡΡΡΠΌΠΈ, ΡΠ°ΡΠΏΠΎΠ»ΠΎΠΆΠ΅Π½Π½ΡΠΌΠΈ Ρ Π²ΠΎΠ·ΠΌΠΎΠΆΠ½ΠΎΡΡΡΡ Π²Π·Π°ΠΈΠΌΠΎΠ΄Π΅ΠΉΡΡΠ²ΠΈΡ ΠΌΠ΅ΠΆΠ΄Ρ ΡΠΎΠ±ΠΎΠΉ. ΠΡΠΈ ΡΡΠΎΠΌ ΡΠΎΠ΅Π΄ΠΈΠ½ΠΈΡΠ΅Π»ΡΠ½ΡΠ΅ ΡΠ»Π΅ΠΌΠ΅Π½ΡΡ ΡΠΎΠ΅Π΄ΠΈΠ½Π΅Π½Ρ ΡΠΈΠΊΡΠΈΡΡΡΡΠΈΠΌ ΠΏΡΠΈΡΠΏΠΎΡΠΎΠ±Π»Π΅Π½ΠΈΠ΅ΠΌ. ΠΠ½Π΅ΡΠ½ΠΈΠ΅ ΠΏΠΎΠ²Π΅ΡΡ Π½ΠΎΡΡΠΈ ΡΠΎΠ΅Π΄ΠΈΠ½ΠΈΡΠ΅Π»ΡΠ½ΡΡ ΡΠ»Π΅ΠΌΠ΅Π½ΡΠΎΠ² ΠΈ ΠΊΠΎΠ½ΡΠ°ΠΊΡΠΈΡΡΡΡΠΈΠ΅ Ρ Π½ΠΈΠΌΠΈ ΠΏΠΎΠ²Π΅ΡΡ Π½ΠΎΡΡΠΈ ΠΎΡΠ²Π΅ΡΡΡΠΈΠΉ ΠΏΡΠΎΡΡΠΈΠ½ ΡΠ°ΡΠΏΠΎΠ»ΠΎΠΆΠ΅Π½Ρ ΠΏΠ°ΡΠ°Π»Π»Π΅Π»ΡΠ½ΠΎ ΠΌΠ΅ΠΆΠ΄Ρ ΡΠΎΠ±ΠΎΠΉ ΠΈ Π²ΡΠΏΠΎΠ»Π½Π΅Π½Ρ ΠΏΡΡΠΌΠΎΠ»ΠΈΠ½Π΅ΠΉΠ½ΡΠΌΠΈ. Π’Π΅Ρ Π½ΠΈΡΠ΅ΡΠΊΠΈΠΉ ΡΠ΅Π·ΡΠ»ΡΡΠ°Ρ ΠΈΠ·ΠΎΠ±ΡΠ΅ΡΠ΅Π½ΠΈΡ – ΠΏΠΎΠ²ΡΡΠ΅Π½ΠΈΠ΅ Π½Π°Π΄Π΅ΠΆΠ½ΠΎΡΡΠΈ ΡΡΡΠΊΠΎΠ²ΠΎΠ³ΠΎ ΡΠΎΠ΅Π΄ΠΈΠ½Π΅Π½ΠΈΡ. 4 Π·.ΠΏ. Ρ-Π»Ρ, 11 ΠΈΠ».
ΠΠ·ΠΎΠ±ΡΠ΅ΡΠ΅Π½ΠΈΠ΅ ΠΎΡΠ½ΠΎΡΠΈΡΡΡ ΠΏΡΠ΅ΠΈΠΌΡΡΠ΅ΡΡΠ²Π΅Π½Π½ΠΎ ΠΊ Π±Π°ΡΠ΅Π½Π½ΡΠΌ ΠΊΡΠ°Π½Π°ΠΌ ΠΈ ΠΏΡΠ΅Π΄Π½Π°Π·Π½Π°ΡΠ΅Π½ΠΎ Π² ΠΎΡΠ½ΠΎΠ²Π½ΠΎΠΌ Π΄Π»Ρ ΠΈΡΠΏΠΎΠ»ΡΠ·ΠΎΠ²Π°Π½ΠΈΡ Π² ΡΡΡΠΊΠΎΠ²ΡΡ ΡΠΎΠ΅Π΄ΠΈΠ½Π΅Π½ΠΈΡΡ ΠΏΠΎΡΡΠΎΠ² ΡΠ΅ΠΊΡΠΈΠΉ Π±Π°ΡΠ½ΠΈ Π±Π°ΡΠ΅Π½Π½ΠΎΠ³ΠΎ ΠΊΡΠ°Π½Π°. ΠΠ·ΠΎΠ±ΡΠ΅ΡΠ΅Π½ΠΈΠ΅ ΠΌΠΎΠΆΠ΅Ρ Π±ΡΡΡ ΡΠ°ΠΊΠΆΠ΅ ΠΈΡΠΏΠΎΠ»ΡΠ·ΠΎΠ²Π°Π½ΠΎ Π² ΠΌΠ΅ΡΠ°Π»Π»ΠΎΠΊΠΎΠ½ΡΡΡΡΠΊΡΠΈΡΡ Π±Π°ΡΠ΅Π½ Π΄ΡΡΠ³ΠΎΠ³ΠΎ Π½Π°Π·Π½Π°ΡΠ΅Π½ΠΈΡ, Π² ΡΠ·Π»Π°Ρ ΡΡΡΠΊΠΎΠ²ΠΊΠΈ ΡΠ°ΡΡΠ΅ΠΉ Π±Π°ΡΠ΅Π½, Π° ΡΠ°ΠΊΠΆΠ΅ Π² ΡΡΡΠΊΠΎΠ²ΡΡ ΡΠΎΠ΅Π΄ΠΈΠ½Π΅Π½ΠΈΡΡ ΡΠ΅ΠΊΡΠΈΠΉ ΡΡΡΠ΅Π» Π³ΡΡΠ·ΠΎΠΏΠΎΠ΄ΡΠ΅ΠΌΠ½ΡΡ ΠΌΠ΅Ρ Π°Π½ΠΈΠ·ΠΌΠΎΠ² ΠΈ, ΠΊΡΠΎΠΌΠ΅ ΡΠΎΠ³ΠΎ, ΠΎΠ½ΠΎ ΠΌΠΎΠΆΠ΅Ρ Π±ΡΡΡ ΠΈΡΠΏΠΎΠ»ΡΠ·ΠΎΠ²Π°Π½ΠΎ Π² Π»ΡΠ±ΡΡ Π΄ΡΡΠ³ΠΈΡ ΠΌΠ΅ΡΠ°Π»Π»ΠΎΠΊΠΎΠ½ΡΡΡΡΠΊΡΠΈΡΡ Π΄Π»Ρ ΡΡΡΠΊΠΎΠ²ΠΊΠΈ ΠΈΡ Π½Π΅ΡΡΡΠΈΡ ΡΠ»Π΅ΠΌΠ΅Π½ΡΠΎΠ².
ΠΠ·Π²Π΅ΡΡΠ½Π° ΡΠ΅ΠΊΡΠΈΡ Π±Π°ΡΠ½ΠΈ Π±Π°ΡΠ΅Π½Π½ΠΎΠ³ΠΎ ΠΊΡΠ°Π½Π°, Π½Π° ΠΊΠΎΠ½ΡΠ°Ρ ΠΏΠΎΡΡΠ° ΠΊΠΎΡΠΎΡΠΎΠΉ Π²ΡΠΏΠΎΠ»Π½Π΅Π½Ρ Π²Π½Π΅ΡΠ½ΡΡ ΠΏΡΠΎΡΡΠΈΠ½Π° Π² Π²ΠΈΠ΄Π΅ ΡΠ³Π»ΡΠ±Π»Π΅Π½ΠΈΡ Π² ΡΠΎΡΡΠ΅ ΠΏΠΎΡΡΠ° ΠΈ Π²Π½ΡΡΡΠ΅Π½Π½ΡΡ ΠΏΡΠΎΡΡΠΈΠ½Π° Π² Π²ΠΈΠ΄Π΅ Π²ΡΡΡΡΠΏΠ°, Π²ΡΠΏΠΎΠ»Π½Π΅Π½Π½ΠΎΠ³ΠΎ Ρ Π²ΠΎΠ·ΠΌΠΎΠΆΠ½ΠΎΡΡΡΡ Π΅Π³ΠΎ ΡΠ°ΡΠΏΠΎΠ»ΠΎΠΆΠ΅Π½ΠΈΡ Π² ΡΠ³Π»ΡΠ±Π»Π΅Π½ΠΈΠΈ Π²Π½Π΅ΡΠ½Π΅ΠΉ ΠΏΡΠΎΡΡΠΈΠ½Ρ ΠΏΠΎΡΡΠ° Π²ΡΠΎΡΠΎΠΉ ΡΠ΅ΠΊΡΠΈΠΈ, ΡΡΡΠΊΡΠ΅ΠΌΠΎΠΉ Ρ ΠΏΠ΅ΡΠ²ΠΎΠΉ ΡΠ΅ΠΊΡΠΈΠ΅ΠΉ [1]. ΠΡΡΠ³ΠΈΠΌ ΠΈΠ·Π²Π΅ΡΡΠ½ΡΠΌ ΡΡΡΠΊΠΎΠ²ΡΠΌ ΡΠΎΠ΅Π΄ΠΈΠ½Π΅Π½ΠΈΠ΅ΠΌ ΡΠ²Π»ΡΠ΅ΡΡΡ ΡΡΡΠΊ ΡΠ΅ΠΊΡΠΈΠΉ Π±Π°ΡΠ΅Π½Π½ΠΎΠ³ΠΎ ΠΊΡΠ°Π½Π°, Π²ΠΊΠ»ΡΡΠ°ΡΡΠΈΠΉ Π²Π½ΡΡΡΠ΅Π½Π½ΡΡ ΠΈ Π½Π°ΡΡΠΆΠ½ΡΡ ΠΏΡΠΎΡΡΠΈΠ½Ρ ΡΠΎΡΡΡΠΊΠΎΠ²Π°Π½Π½ΡΡ ΠΏΠΎΡΡΠΎΠ² ΡΠ΅ΠΊΡΠΈΠΉ, ΠΎΠ΄ΠΈΠ½ ΠΈΠ· ΠΊΠΎΡΠΎΡΡΡ ΠΈΠΌΠ΅Π΅Ρ Π² ΠΏΠΎΠΏΠ΅ΡΠ΅ΡΠ½ΠΎΠΌ ΡΠ΅ΡΠ΅Π½ΠΈΠΈ ΠΊΠΎΡΠΎΠ±ΡΠ°ΡΡΡ ΡΠΎΡΠΌΡ ΠΈ ΡΠ°ΡΠΏΠΎΠ»ΠΎΠΆΠ΅Π½ Π²ΠΎ Π²Π½ΡΡΡΠ΅Π½Π½Π΅ΠΌ ΠΊΠΎΠ½ΡΡΡΠ΅ Π΄ΡΡΠ³ΠΎΠ³ΠΎ ΠΏΠΎΡΡΠ°, ΠΈΠΌΠ΅ΡΡΠ΅Π³ΠΎ Π² ΠΏΠΎΠΏΠ΅ΡΠ΅ΡΠ½ΠΎΠΌ ΡΠ΅ΡΠ΅Π½ΠΈΠΈ Π-ΠΎΠ±ΡΠ°Π·Π½ΡΡ ΡΠΎΡΠΌΡ, ΠΏΡΠΈ ΡΡΠΎΠΌ Π² ΠΏΡΠΎΡΡΠΈΠ½Π°Ρ ΠΏΠΎΡΡΠΎΠ² Π²ΠΎ Π²Π·Π°ΠΈΠΌΠ½ΠΎ ΠΏΠ΅ΡΠΏΠ΅Π½Π΄ΠΈΠΊΡΠ»ΡΡΠ½ΡΡ Π½Π°ΠΏΡΠ°Π²Π»Π΅Π½ΠΈΡΡ ΡΠ°ΡΠΏΠΎΠ»ΠΎΠΆΠ΅Π½Ρ ΡΠΎΠ΅Π΄ΠΈΠ½ΠΈΡΠ΅Π»ΡΠ½ΡΠ΅ ΡΠ»Π΅ΠΌΠ΅Π½ΡΡ Π² Π²ΠΈΠ΄Π΅ ΠΏΠ°Π»ΡΡΠ΅Π², ΠΈΠΌΠ΅ΡΡΠΈΡ ΠΊΠΎΠ½ΠΈΡΠ΅ΡΠΊΠΈΠ΅ ΡΡΠ°ΡΡΠΊΠΈ [2]. ΠΠ°ΠΈΠ±ΠΎΠ»Π΅Π΅ Π±Π»ΠΈΠ·ΠΊΠΈΠΌ ΡΠ΅Ρ Π½ΠΈΡΠ΅ΡΠΊΠΈΠΌ ΡΠ΅ΡΠ΅Π½ΠΈΠ΅ΠΌ ΠΏΠΎ ΡΡΡΠΈ ΠΈ Π΄ΠΎΡΡΠΈΠ³Π°Π΅ΠΌΠΎΠΌΡ ΡΡΡΠ΅ΠΊΡΡ ΡΠ²Π»ΡΠ΅ΡΡΡ ΡΡΡΠΊΠΎΠ²ΠΎΠ΅ ΡΠΎΠ΅Π΄ΠΈΠ½Π΅Π½ΠΈΠ΅ ΠΌΠ΅ΡΠ°Π»Π»ΠΎΠΊΠΎΠ½ΡΡΡΡΠΊΡΠΈΠΈ, Π½Π°ΠΏΡΠΈΠΌΠ΅Ρ ΠΏΠΎΡΡΠΎΠ² ΡΠ΅ΠΊΡΠΈΠΉ Π±Π°ΡΠ½ΠΈ Π±Π°ΡΠ΅Π½Π½ΠΎΠ³ΠΎ ΠΊΡΠ°Π½Π°, Π²ΠΊΠ»ΡΡΠ°ΡΡΠ΅Π΅ ΠΏΠΎΡΡΠ° ΡΡΡΠΊΡΠ΅ΠΌΡΡ ΡΠ΅ΠΊΡΠΈΠΉ, ΠΊΠ°ΠΆΠ΄ΡΠΉ ΠΈΠ· ΠΊΠΎΡΠΎΡΡΡ Π²ΡΠΏΠΎΠ»Π½Π΅Π½ Ρ Π²Π½Π΅ΡΠ½Π΅ΠΉ ΠΈ Π²Π½ΡΡΡΠ΅Π½Π½Π΅ΠΉ ΠΏΡΠΎΡΡΠΈΠ½Π°ΠΌΠΈ, Π·Π°ΠΊΡΠ΅ΠΏΠ»Π΅Π½Π½ΡΠΌΠΈ Π½Π° ΠΊΠΎΠ½ΡΠ°Ρ ΠΏΠΎΡΡΠΎΠ², ΠΈ ΠΎΡΠ²Π΅ΡΡΡΠΈΡ ΠΏΡΠΎΡΡΠΈΠ½, Π² ΠΊΠΎΡΠΎΡΡΡ ΡΠ°ΡΠΏΠΎΠ»ΠΎΠΆΠ΅Π½Ρ ΡΠΎΠ΅Π΄ΠΈΠ½ΠΈΡΠ΅Π»ΡΠ½ΡΠ΅ ΡΠ»Π΅ΠΌΠ΅Π½ΡΡ [3]. Π‘ΠΎΠ΅Π΄ΠΈΠ½ΠΈΡΠ΅Π»ΡΠ½ΡΠ΅ ΡΠ»Π΅ΠΌΠ΅Π½ΡΡ Π΄Π°Π½Π½ΠΎΠ³ΠΎ ΡΡΡΠΊΠΎΠ²ΠΎΠ³ΠΎ ΡΠΎΠ΅Π΄ΠΈΠ½Π΅Π½ΠΈΡ ΡΠ°Π±ΠΎΡΠ°ΡΡ Π½Π° ΡΠΆΠ°ΡΠΈΠ΅ ΠΈ ΡΠ°ΡΡΡΠΆΠ΅Π½ΠΈΠ΅, ΠΏΡΠΈΡΠ΅ΠΌ ΡΡΠΈΠ»ΠΈΠ΅ ΡΠΆΠ°ΡΠΈΡ Π² ΡΡΠΎΠΌ ΡΡΡΠΊΠΎΠ²ΠΎΠΌ ΡΠΎΠ΅Π΄ΠΈΠ½Π΅Π½ΠΈΠΈ Π±ΠΎΠ»ΡΡΠ΅ ΡΡΠΈΠ»ΠΈΡ ΡΠ°ΡΡΡΠΆΠ΅Π½ΠΈΡ, Π²ΡΠ»Π΅Π΄ΡΡΠ²ΠΈΠ΅ ΡΠ΅Π³ΠΎ ΡΠΎΠ΅Π΄ΠΈΠ½Π΅Π½ΠΈΠ΅ ΡΠ°Π±ΠΎΡΠ°Π΅Ρ Π½Π° ΠΌΠ°ΠΊΡΠΈΠΌΠ°Π»ΡΠ½ΠΎΠ΅ ΡΡΠΈΠ»ΠΈΠ΅. Π‘ΡΡΠΊΠΎΠ²ΠΎΠ΅ ΡΠΎΠ΅Π΄ΠΈΠ½Π΅Π½ΠΈΠ΅ ΠΊΡΠΎΠΌΠ΅ ΡΠΎΠ³ΠΎ ΠΈΠΌΠ΅Π΅Ρ ΠΏΠ΅ΡΠ²ΠΎΠ½Π°ΡΠ°Π»ΡΠ½ΡΠ΅ Π·Π°Π·ΠΎΡΡ, ΠΊΠΎΡΠΎΡΡΠ΅ ΠΏΡΠΈΠ²ΠΎΠ΄ΡΡ ΠΊ ΡΠ°Π·Π±Π°Π»ΡΡΠ²Π°Π½ΠΈΡ Π² ΠΏΡΠΎΡΠ΅ΡΡΠ΅ ΡΠΊΡΠΏΠ»ΡΠ°ΡΠ°ΡΠΈΠΈ. Π Π΅ΡΠ°Π΅ΠΌΠΎΠΉ ΠΈ Π΄ΠΎΡΡΠΈΠ³Π°Π΅ΠΌΠΎΠΉ ΡΠ΅Ρ Π½ΠΈΡΠ΅ΡΠΊΠΎΠΉ Π·Π°Π΄Π°ΡΠ΅ΠΉ Π·Π°ΡΠ²Π»Π΅Π½Π½ΠΎΠ³ΠΎ ΠΈΠ·ΠΎΠ±ΡΠ΅ΡΠ΅Π½ΠΈΡ ΡΠ²Π»ΡΠ΅ΡΡΡ ΠΏΠΎΠ²ΡΡΠ΅Π½ΠΈΠ΅ Π½Π°Π΄Π΅ΠΆΠ½ΠΎΡΡΠΈ ΡΡΡΠΊΠΎΠ²ΠΎΠ³ΠΎ ΡΠΎΠ΅Π΄ΠΈΠ½Π΅Π½ΠΈΡ. ΠΡΡΠ³ΠΎΠΉ ΡΠ΅Π»ΡΡ ΠΈΠ·ΠΎΠ±ΡΠ΅ΡΠ΅Π½ΠΈΡ ΡΠ²Π»ΡΠ΅ΡΡΡ ΠΏΠΎΠ²ΡΡΠ΅Π½ΠΈΠ΅ ΡΠ΄ΠΎΠ±ΡΡΠ²Π° ΠΈ ΡΠ½ΠΈΠΆΠ΅Π½ΠΈΠ΅ ΡΡΡΠ΄ΠΎΠ΅ΠΌΠΊΠΎΡΡΠΈ ΠΌΠΎΠ½ΡΠ°ΠΆΠ½ΡΡ ΡΠ°Π±ΠΎΡ. ΠΠ°Π½Π½ΡΠ΅ ΡΠ΅Ρ Π½ΠΈΡΠ΅ΡΠΊΠΈΠ΅ Π·Π°Π΄Π°ΡΠΈ ΠΈ ΡΠ΅Π»ΠΈ Π΄ΠΎΡΡΠΈΠ³Π°ΡΡΡΡ ΡΠ΅ΠΌ, ΡΡΠΎ Π² ΡΡΡΠΊΠΎΠ²ΠΎΠΌ ΡΠΎΠ΅Π΄ΠΈΠ½Π΅Π½ΠΈΠΈ ΠΌΠ΅ΡΠ°Π»Π»ΠΎΠΊΠΎΠ½ΡΡΡΡΠΊΡΠΈΠΈ, Π²ΠΊΠ»ΡΡΠ°ΡΡΠ΅ΠΌ ΠΏΠΎΡΡΠ° ΡΡΡΠΊΡΠ΅ΠΌΡΡ ΡΠ΅ΠΊΡΠΈΠΉ, ΠΊΠ°ΠΆΠ΄ΡΠΉ ΠΈΠ· ΠΊΠΎΡΠΎΡΡΡ Π²ΡΠΏΠΎΠ»Π½Π΅Π½ Ρ Π²Π½Π΅ΡΠ½Π΅ΠΉ ΠΈ Π²Π½ΡΡΡΠ΅Π½Π½Π΅ΠΉ ΠΏΡΠΎΡΡΠΈΠ½Π°ΠΌΠΈ, Π·Π°ΠΊΡΠ΅ΠΏΠ»Π΅Π½Π½ΡΠΌΠΈ Π½Π° ΠΊΠΎΠ½ΡΠ°Ρ ΠΏΠΎΡΡΠΎΠ², ΠΈ ΠΎΡΠ²Π΅ΡΡΡΠΈΡ ΠΏΡΠΎΡΡΠΈΠ½, Π² ΠΊΠΎΡΠΎΡΡΡ ΡΠ°ΡΠΏΠΎΠ»ΠΎΠΆΠ΅Π½Ρ ΡΠΎΠ΅Π΄ΠΈΠ½ΠΈΡΠ΅Π»ΡΠ½ΡΠ΅ ΡΠ»Π΅ΠΌΠ΅Π½ΡΡ, – ΠΏΠΎΡΠ»Π΅Π΄Π½ΠΈΠ΅ Π²ΡΠΏΠΎΠ»Π½Π΅Π½Ρ ΡΠΎ ΡΠΊΠΎΡΠ΅Π½Π½ΡΠΌΠΈ ΠΏΠΎΠ²Π΅ΡΡ Π½ΠΎΡΡΡΠΌΠΈ, ΡΠ°ΡΠΏΠΎΠ»ΠΎΠΆΠ΅Π½Π½ΡΠΌΠΈ Ρ Π²ΠΎΠ·ΠΌΠΎΠΆΠ½ΠΎΡΡΡΡ Π²Π·Π°ΠΈΠΌΠΎΠ΄Π΅ΠΉΡΡΠ²ΠΈΡ ΠΌΠ΅ΠΆΠ΄Ρ ΡΠΎΠ±ΠΎΠΉ, ΠΏΡΠΈ ΡΡΠΎΠΌ ΡΠΎΠ΅Π΄ΠΈΠ½ΠΈΡΠ΅Π»ΡΠ½ΡΠ΅ ΡΠ»Π΅ΠΌΠ΅Π½ΡΡ ΡΠΎΠ΅Π΄ΠΈΠ½Π΅Π½Ρ ΡΠΈΠΊΡΠΈΡΡΡΡΠΈΠΌ ΠΏΡΠΈΡΠΏΠΎΡΠΎΠ±Π»Π΅Π½ΠΈΠ΅ΠΌ, Π²Π½Π΅ΡΠ½ΠΈΠ΅ ΠΏΠΎΠ²Π΅ΡΡ Π½ΠΎΡΡΠΈ ΡΠΎΠ΅Π΄ΠΈΠ½ΠΈΡΠ΅Π»ΡΠ½ΡΡ ΡΠ»Π΅ΠΌΠ΅Π½ΡΠΎΠ² ΠΈ ΠΊΠΎΠ½ΡΠ°ΠΊΡΠΈΡΡΡΡΠΈΠ΅ Ρ Π½ΠΈΠΌΠΈ ΠΏΠΎΠ²Π΅ΡΡ Π½ΠΎΡΡΠΈ ΠΎΡΠ²Π΅ΡΡΡΠΈΠΉ ΠΏΡΠΎΡΡΠΈΠ½ ΡΠ°ΡΠΏΠΎΠ»ΠΎΠΆΠ΅Π½Ρ ΠΏΠ°ΡΠ°Π»Π»Π΅Π»ΡΠ½ΠΎ ΠΌΠ΅ΠΆΠ΄Ρ ΡΠΎΠ±ΠΎΠΉ ΠΈ Π²ΡΠΏΠΎΠ»Π½Π΅Π½Ρ ΠΏΡΡΠΌΠΎΠ»ΠΈΠ½Π΅ΠΉΠ½ΡΠΌΠΈ. ΠΠ΅ΠΆΠ΄Ρ Π²Π½Π΅ΡΠ½Π΅ΠΉ ΠΏΠΎΠ²Π΅ΡΡ Π½ΠΎΡΡΡΡ Π²ΡΠΎΡΠΎΠ³ΠΎ ΡΠΎΠ΅Π΄ΠΈΠ½ΠΈΡΠ΅Π»ΡΠ½ΠΎΠ³ΠΎ ΡΠ»Π΅ΠΌΠ΅Π½ΡΠ° ΠΈ ΠΏΠΎΠ²Π΅ΡΡ Π½ΠΎΡΡΡΡ ΠΊΠ°ΠΆΠ΄ΠΎΠ³ΠΎ ΠΎΡΠ²Π΅ΡΡΡΠΈΡ Π²Π½Π΅ΡΠ½Π΅ΠΉ ΠΏΡΠΎΡΡΠΈΠ½Ρ, Π° ΡΠ°ΠΊΠΆΠ΅ ΠΌΠ΅ΠΆΠ΄Ρ Π²Π½Π΅ΡΠ½Π΅ΠΉ ΠΏΠΎΠ²Π΅ΡΡ Π½ΠΎΡΡΡΡ ΠΏΠ΅ΡΠ²ΠΎΠ³ΠΎ ΡΠΎΠ΅Π΄ΠΈΠ½ΠΈΡΠ΅Π»ΡΠ½ΠΎΠ³ΠΎ ΡΠ»Π΅ΠΌΠ΅Π½ΡΠ° ΠΈ ΠΏΠΎΠ²Π΅ΡΡ Π½ΠΎΡΡΡΡ ΠΎΡΠ²Π΅ΡΡΡΠΈΡ Π²Π½ΡΡΡΠ΅Π½Π½Π΅ΠΉ ΠΏΡΠΎΡΡΠΈΠ½Ρ ΠΎΠ±ΡΠ°Π·ΠΎΠ²Π°Π½Ρ Π·Π°Π·ΠΎΡΡ. ΠΠ°ΠΆΠ΄Π°Ρ Π²Π½Π΅ΡΠ½ΡΡ ΠΏΡΠΎΡΡΠΈΠ½Π° Π²ΡΠΏΠΎΠ»Π½Π΅Π½Π° ΠΈΠ· ΠΏΠΎ ΠΊΡΠ°ΠΉΠ½Π΅ΠΉ ΠΌΠ΅ΡΠ΅ ΠΎΠ΄Π½ΠΎΠΉ ΠΏΠ°ΡΡ ΠΏΠ°ΡΠ°Π»Π»Π΅Π»ΡΠ½ΠΎ ΡΠ°ΡΠΏΠΎΠ»ΠΎΠΆΠ΅Π½Π½ΡΡ ΠΏΠ»Π°ΡΡΠΈΠ½, ΠΊΠ°ΠΆΠ΄Π°Ρ Π²Π½ΡΡΡΠ΅Π½Π½ΡΡ ΠΏΡΠΎΡΡΠΈΠ½Π° Π²ΡΠΏΠΎΠ»Π½Π΅Π½Π° ΠΈΠ· ΠΎΠ΄Π½ΠΎΠΉ ΠΏΠ»Π°ΡΡΠΈΠ½Ρ, ΠΏΡΠΈ ΡΡΠΎΠΌ ΠΏΠ»Π°ΡΡΠΈΠ½Ρ Π²Π½Π΅ΡΠ½Π΅ΠΉ ΠΏΡΠΎΡΡΠΈΠ½Ρ ΡΠ°ΡΠΏΠΎΠ»ΠΎΠΆΠ΅Π½Ρ Π²Π½ΡΡΡΠΈ ΠΏΠΎΡΡΠ°, ΠΊ ΠΊΠΎΡΠΎΡΠΎΠΌΡ ΠΎΠ½ΠΈ ΠΏΡΠΈΠΊΡΠ΅ΠΏΠ»Π΅Π½Ρ, Π° ΠΏΠ»Π°ΡΡΠΈΠ½Π° Π²Π½ΡΡΡΠ΅Π½Π½Π΅ΠΉ ΠΏΡΠΎΡΡΠΈΠ½Ρ ΡΠ°ΡΠΏΠΎΠ»ΠΎΠΆΠ΅Π½Π° Π·Π° ΠΏΡΠ΅Π΄Π΅Π»Π°ΠΌΠΈ ΡΠΎΡΡΠ° ΠΏΠΎΡΡΠ°, ΠΊ ΠΊΠΎΡΠΎΡΠΎΠΌΡ ΠΎΠ½Π° ΠΏΡΠΈΠΊΡΠ΅ΠΏΠ»Π΅Π½Π°. ΠΠ΅ΡΠ²ΡΠΉ ΡΠΎΠ΅Π΄ΠΈΠ½ΠΈΡΠ΅Π»ΡΠ½ΡΠΉ ΡΠ»Π΅ΠΌΠ΅Π½Ρ – Π½ΠΈΠΆΠ½ΠΈΠΉ – Π²ΡΠΏΠΎΠ»Π½Π΅Π½ Ρ Π²ΡΡΡΡΠΏΠ°ΠΌΠΈ Π½Π° Π΅Π³ΠΎ Π½ΠΈΠΆΠ½Π΅ΠΉ ΠΏΠΎΠ²Π΅ΡΡ Π½ΠΎΡΡΠΈ, ΡΠ°ΡΠΏΠΎΠ»ΠΎΠΆΠ΅Π½Π½ΡΠΌΠΈ Ρ Π²ΠΎΠ·ΠΌΠΎΠΆΠ½ΠΎΡΡΡΡ Π²Π·Π°ΠΈΠΌΠΎΠ΄Π΅ΠΉΡΡΠ²ΠΈΡ Ρ Π±ΠΎΠΊΠΎΠ²ΡΠΌΠΈ Π½Π°ΡΡΠΆΠ½ΡΠΌΠΈ ΠΏΠΎΠ²Π΅ΡΡ Π½ΠΎΡΡΡΠΌΠΈ Π²Π½Π΅ΡΠ½Π΅ΠΉ ΠΏΡΠΎΡΡΠΈΠ½Ρ, Π½Π° ΠΎΠ΄Π½ΠΎΠΌ ΠΈΠ· ΡΠΎΡΡΠ΅Π² ΠΏΠ΅ΡΠ²ΠΎΠ³ΠΎ ΡΠΎΠ΅Π΄ΠΈΠ½ΠΈΡΠ΅Π»ΡΠ½ΠΎΠ³ΠΎ ΡΠ»Π΅ΠΌΠ΅Π½ΡΠ° Π·Π°ΠΊΡΠ΅ΠΏΠ»Π΅Π½ Π±ΠΎΠ»Ρ, Π²ΡΠΎΡΠΎΠΉ ΡΠΎΠ΅Π΄ΠΈΠ½ΠΈΡΠ΅Π»ΡΠ½ΡΠΉ ΡΠ»Π΅ΠΌΠ΅Π½Ρ Π²ΡΠΏΠΎΠ»Π½Π΅Π½ Ρ ΡΠ°ΡΠΏΠΎΠ»ΠΎΠΆΠ΅Π½Π½ΡΠΌΠΈ Π½Π° Π΅Π³ΠΎ ΡΠΎΡΡΠ°Ρ ΠΏΠ΅ΡΠ²ΡΠΌ ΠΈ Π²ΡΠΎΡΡΠΌ Π²ΡΡΡΡΠΏΠ°ΠΌΠΈ, Π²ΡΠΎΡΠΎΠΉ ΡΠΎΠ΅Π΄ΠΈΠ½ΠΈΡΠ΅Π»ΡΠ½ΡΠΉ ΡΠ»Π΅ΠΌΠ΅Π½Ρ Π²ΡΠΏΠΎΠ»Π½Π΅Π½ Π΄Π»ΠΈΠ½Π½Π΅Π΅ ΠΏΠ΅ΡΠ²ΠΎΠ³ΠΎ ΡΠΎΠ΅Π΄ΠΈΠ½ΠΈΡΠ΅Π»ΡΠ½ΠΎΠ³ΠΎ ΡΠ»Π΅ΠΌΠ΅Π½ΡΠ°, ΡΠΈΠΊΡΠΈΡΡΡΡΠ΅Π΅ ΠΏΡΠΈΡΠΏΠΎΡΠΎΠ±Π»Π΅Π½ΠΈΠ΅ Π²ΠΊΠ»ΡΡΠ°Π΅Ρ ΡΠΏΠΎΡ Ρ ΠΎΡΠ²Π΅ΡΡΡΠΈΡΠΌΠΈ Π² Π½Π΅ΠΌ, Π² ΠΎΠ΄Π½ΠΎΠΌ ΠΈΠ· ΠΊΠΎΡΠΎΡΡΡ ΡΠ°ΡΠΏΠΎΠ»ΠΎΠΆΠ΅Π½ Π±ΠΎΠ»Ρ ΠΏΠ΅ΡΠ²ΠΎΠ³ΠΎ ΡΠΎΠ΅Π΄ΠΈΠ½ΠΈΡΠ΅Π»ΡΠ½ΠΎΠ³ΠΎ ΡΠ»Π΅ΠΌΠ΅Π½ΡΠ°, Π² Π΄ΡΡΠ³ΠΎΠΌ ΠΎΡΠ²Π΅ΡΡΡΠΈΠΈ ΡΠΏΠΎΡΠ° ΡΠ°ΡΠΏΠΎΠ»ΠΎΠΆΠ΅Π½ ΠΏΠ΅ΡΠ²ΡΠΉ Π²ΡΡΡΡΠΏ Π²ΡΠΎΡΠΎΠ³ΠΎ ΡΠΎΠ΅Π΄ΠΈΠ½ΠΈΡΠ΅Π»ΡΠ½ΠΎΠ³ΠΎ ΡΠ»Π΅ΠΌΠ΅Π½ΡΠ°, Π³Π°ΠΉΠΊΠ° Π±ΠΎΠ»ΡΠ° ΡΠ°ΡΠΏΠΎΠ»ΠΎΠΆΠ΅Π½Π° Ρ Π²ΠΎΠ·ΠΌΠΎΠΆΠ½ΠΎΡΡΡΡ Π²Π·Π°ΠΈΠΌΠΎΠ΄Π΅ΠΉΡΡΠ²ΠΈΡ Ρ Π²Π½Π΅ΡΠ½Π΅ΠΉ ΠΏΠΎΠ²Π΅ΡΡ Π½ΠΎΡΡΡΡ ΡΠΏΠΎΡΠ°, ΠΊΠΎΡΠΎΡΡΠΉ ΡΠ°ΡΠΏΠΎΠ»ΠΎΠΆΠ΅Π½ Ρ Π²ΠΎΠ·ΠΌΠΎΠΆΠ½ΠΎΡΡΡΡ Π΅Π³ΠΎ Π²Π·Π°ΠΈΠΌΠΎΠ΄Π΅ΠΉΡΡΠ²ΠΈΡ Ρ ΡΠΎΡΡΠ΅ΠΌ Π²ΡΠΎΡΠΎΠ³ΠΎ ΡΠΎΠ΅Π΄ΠΈΠ½ΠΈΡΠ΅Π»ΡΠ½ΠΎΠ³ΠΎ ΡΠ»Π΅ΠΌΠ΅Π½ΡΠ°. Π ΡΡΠ΅Π½ΠΊΠ°Ρ ΠΏΠΎΡΡΠΎΠ² Π²ΡΠΏΠΎΠ»Π½Π΅Π½Ρ ΠΎΠΊΠ½Π°, Π² ΠΊΠΎΡΠΎΡΡΡ ΡΠ°ΡΠΏΠΎΠ»ΠΎΠΆΠ΅Π½Ρ ΡΠ³Π»ΠΎΠ²ΡΠ΅ ΡΠ°ΡΡΠΈ ΠΏΠ»Π°ΡΡΠΈΠ½ Π²Π½ΡΡΡΠ΅Π½Π½Π΅ΠΉ ΠΈ Π²Π½Π΅ΡΠ½Π΅ΠΉ ΠΏΡΠΎΡΡΠΈΠ½ Ρ ΠΎΠ±ΡΠ°Π·ΠΎΠ²Π°Π½ΠΈΠ΅ΠΌ ΠΌΠ΅ΠΆΠ΄Ρ ΠΏΠΎΠ²Π΅ΡΡ Π½ΠΎΡΡΡΡ ΠΊΠ°ΠΆΠ΄ΠΎΠΉ ΠΏΠ»Π°ΡΡΠΈΠ½Ρ ΠΈ ΠΏΠΎΠ²Π΅ΡΡ Π½ΠΎΡΡΡΡ ΠΎΠΊΠ½Π° ΠΏΡΠΎΠ΄ΠΎΠ»ΡΠ½ΠΎΠΉ ΠΊΠ°Π½Π°Π²ΠΊΠΈ, ΠΊΠΎΡΠΎΡΠ°Ρ ΡΠ°ΡΠΏΠΎΠ»ΠΎΠΆΠ΅Π½Π° ΠΏΠ°ΡΠ°Π»Π»Π΅Π»ΡΠ½ΠΎ ΠΏΡΠΎΠ΄ΠΎΠ»ΡΠ½ΠΎΠΉ ΠΎΡΠΈ ΠΏΠΎΡΡΠ°, ΠΏΡΠΈΡΠ΅ΠΌ ΠΊΠ°ΠΆΠ΄Π°Ρ ΠΏΠ»Π°ΡΡΠΈΠ½Π° ΠΏΡΠΈΠΊΡΠ΅ΠΏΠ»Π΅Π½Π° ΠΊ ΠΊΠΎΠ½ΡΡ ΠΏΠΎΡΡΠ° ΡΠ²Π°ΡΠ½ΡΠΌΠΈ ΡΠ²Π°ΠΌΠΈ, ΡΠ°ΡΠΏΠΎΠ»ΠΎΠΆΠ΅Π½Π½ΡΠΌΠΈ Π² ΠΊΠ°Π½Π°Π²ΠΊΠ°Ρ . ΠΠ° ΡΠ΅ΡΡΠ΅ΠΆΠ°Ρ ΠΏΠΎΠΊΠ°Π·Π°Π½ΠΎ ΡΡΡΠΊΠΎΠ²ΠΎΠ΅ ΡΠΎΠ΅Π΄ΠΈΠ½Π΅Π½ΠΈΠ΅ ΠΌΠ΅ΡΠ°Π»Π»ΠΎΠΊΠΎΠ½ΡΡΡΡΠΊΡΠΈΠΈ Π½Π° ΠΏΡΠΈΠΌΠ΅ΡΠ΅ ΡΠΎΠ΅Π΄ΠΈΠ½Π΅Π½ΠΈΡ Π΄Π²ΡΡ ΡΠ΅ΠΊΡΠΈΠΉ Π±Π°ΡΠ½ΠΈ Π±Π°ΡΠ΅Π½Π½ΠΎΠ³ΠΎ ΠΊΡΠ°Π½Π°. ΠΠ°Π½Π½ΡΠΉ ΠΏΡΠΈΠΌΠ΅Ρ ΠΈΡΠΏΠΎΠ»ΡΠ·ΠΎΠ²Π°Π½ΠΈΡ Π½Π΅ ΠΈΡΠΊΠ»ΡΡΠ°Π΅Ρ Π°Π½Π°Π»ΠΎΠ³ΠΈΡΠ½ΠΎΠ΅ ΠΈΡΠΏΠΎΠ»ΡΠ·ΠΎΠ²Π°Π½ΠΈΠ΅ ΠΈΠ·ΠΎΠ±ΡΠ΅ΡΠ΅Π½ΠΈΡ Π² Π΄ΡΡΠ³ΠΈΡ ΡΠΎΠ΅Π΄ΠΈΠ½Π΅Π½ΠΈΡΡ ΡΡΡΠΊΡΠ΅ΠΌΡΡ ΡΠ»Π΅ΠΌΠ΅Π½ΡΠΎΠ² Π΄ΡΡΠ³ΠΈΡ ΠΌΠ΅ΡΠ°Π»Π»ΠΎΠΊΠΎΠ½ΡΡΡΡΠΊΡΠΈΠΉ. ΠΠ° ΡΠΈΠ³.1 ΠΏΠΎΠΊΠ°Π·Π°Π½Ρ Π΄Π²Π΅ ΡΡΡΠΊΡΠ΅ΠΌΡΠ΅ ΡΠ΅ΠΊΡΠΈΠΈ Π±Π°ΡΠ½ΠΈ Π±Π°ΡΠ΅Π½Π½ΠΎΠ³ΠΎ ΠΊΡΠ°Π½Π°; Π½Π° ΡΠΈΠ³.2 – Π²ΠΈΠ΄ Π Π½Π° ΡΠΈΠ³.1; Π½Π° ΡΠΈΠ³.3 – Π²ΠΈΠ΄ Π Π½Π° ΡΠΈΠ³.1; Π½Π° ΡΠΈΠ³.4 – ΡΠ΅ΠΊΡΠΈΡ Π±Π°ΡΠ½ΠΈ Ρ ΠΏΠΎΡΡΠ°ΠΌΠΈ, Π½Π° ΠΊΠΎΠ½ΡΠ°Ρ ΠΊΠΎΡΠΎΡΡΡ Π·Π°ΠΊΡΠ΅ΠΏΠ»Π΅Π½Ρ Π²Π½Π΅ΡΠ½ΡΡ ΠΈ Π²Π½ΡΡΡΠ΅Π½Π½ΡΡ ΠΏΡΠΎΡΡΠΈΠ½Ρ; Π½Π° ΡΠΈΠ³.5 – ΡΠΎΡΡΡΠΊΠΎΠ²Π°Π½Π½ΡΠ΅ ΠΏΠΎΡΡΠ° Π΄Π²ΡΡ ΡΠ΅ΠΊΡΠΈΠΉ Π±Π°ΡΠ½ΠΈ; Π½Π° ΡΠΈΠ³.6 – ΡΠ΅ΡΠ΅Π½ΠΈΠ΅ Π-Π Π½Π° ΡΠΈΠ³.5; Π½Π° ΡΠΈΠ³.7 – ΡΠ΅ΡΠ΅Π½ΠΈΠ΅ Π-Π Π½Π° ΡΠΈΠ³.5; Π½Π° ΡΠΈΠ³. 8 – ΡΡΡΠΊΠΎΠ²ΠΎΠ΅ ΡΠΎΠ΅Π΄ΠΈΠ½Π΅Π½ΠΈΠ΅ Π² ΠΏΡΠΎΠ΄ΠΎΠ»ΡΠ½ΠΎΠΌ ΡΠ°Π·ΡΠ΅Π·Π΅ ΡΠΎΡΡΡΠΊΠΎΠ²Π°Π½Π½ΡΡ ΠΏΠΎΡΡΠΎΠ², ΡΠ΅ΡΠ΅Π½ΠΈΠ΅ Π-Π Π½Π° ΡΠΈΠ³.6; Π½Π° ΡΠΈΠ³.9 – ΠΊΠΎΠ½ΡΡΡΡΠΊΡΠΈΡ Π²Π½ΡΡΡΠ΅Π½Π½Π΅ΠΉ ΠΏΡΠΎΡΡΠΈΠ½Ρ Ρ ΠΏΠ»Π°ΡΡΠΈΠ½ΠΎΠΉ, ΡΠ°ΡΠΏΠΎΠ»ΠΎΠΆΠ΅Π½Π½ΠΎΠΉ Π²ΠΎ Π²Π½ΡΡΡΠ΅Π½Π½Π΅ΠΌ ΠΊΠΎΠ½ΡΡΡΠ΅ ΠΏΠΎΡΡΠ°, ΠΊ ΠΊΠΎΡΠΎΡΠΎΠΌΡ ΠΏΡΠΈΠΊΡΠ΅ΠΏΠ»Π΅Π½Π° ΠΏΠ»Π°ΡΡΠΈΠ½Π° Π²Π½ΡΡΡΠ΅Π½Π½Π΅ΠΉ ΠΏΡΠΎΡΡΠΈΠ½Ρ; Π½Π° ΡΠΈΠ³.10 – ΠΊΠΎΠ½ΡΡΡΡΠΊΡΠΈΡ Π²Π½Π΅ΡΠ½Π΅ΠΉ ΠΏΡΠΎΡΡΠΈΠ½Ρ Ρ ΠΏΠ»Π°ΡΡΠΈΠ½Π°ΠΌΠΈ, ΡΠ°ΡΠΏΠΎΠ»ΠΎΠΆΠ΅Π½Π½ΡΠΌΠΈ Π²ΠΎ Π²Π½ΡΡΡΠ΅Π½Π½Π΅ΠΌ ΠΊΠΎΠ½ΡΡΡΠ΅ ΠΏΠΎΡΡΠ°, ΠΊ ΠΊΠΎΡΠΎΡΠΎΠΌΡ ΠΎΠ½ΠΈ ΠΏΡΠΈΠΊΡΠ΅ΠΏΠ»Π΅Π½Ρ;Π½Π° ΡΠΈΠ³.11 – ΡΠ΅ΡΠ΅Π½ΠΈΠ΅ Π-Π Π½Π° ΡΠΈΠ³.8. Π‘ΡΡΠΊΠΎΠ²ΠΎΠ΅ ΡΠΎΠ΅Π΄ΠΈΠ½Π΅Π½ΠΈΠ΅ ΠΌΠ΅ΡΠ°Π»Π»ΠΎΠΊΠΎΠ½ΡΡΡΡΠΊΡΠΈΠΈ, Π½Π°ΠΏΡΠΈΠΌΠ΅Ρ ΡΠ΅ΠΊΡΠΈΠΉ 1 ΠΈ 2 (ΡΠΈΠ³.1) Π±Π°ΡΠ½ΠΈ Π±Π°ΡΠ΅Π½Π½ΠΎΠ³ΠΎ ΠΊΡΠ°Π½Π°, Π²ΠΊΠ»ΡΡΠ°Π΅Ρ ΡΡΡΠΊΡΠ΅ΠΌΡΠ΅ ΠΏΠΎΡΡΠ° 3 ΡΠ΅ΠΊΡΠΈΠΉ, Π½Π° ΠΊΠΎΠ½ΡΠ°Ρ ΠΊΠ°ΠΆΠ΄ΠΎΠ³ΠΎ ΠΏΠΎΡΡΠ° 3 Π·Π°ΠΊΡΠ΅ΠΏΠ»Π΅Π½Ρ Π²Π½Π΅ΡΠ½ΡΡ ΠΈ Π²Π½ΡΡΡΠ΅Π½Π½ΡΡ ΠΏΡΠΎΡΡΠΈΠ½Ρ 4 ΠΈ 5 Ρ ΠΎΡΠ²Π΅ΡΡΡΠΈΡΠΌΠΈ Π² Π½ΠΈΡ ΠΏΠΎΠ΄ ΠΏΠ΅ΡΠ²ΡΠΉ ΠΈ Π²ΡΠΎΡΠΎΠΉ ΡΠΎΠ΅Π΄ΠΈΠ½ΠΈΡΠ΅Π»ΡΠ½ΡΠ΅ ΡΠ»Π΅ΠΌΠ΅Π½ΡΡ 6 ΠΈ 7 (ΡΠΈΠ³.8), ΡΠ°ΡΠΏΠΎΠ»ΠΎΠΆΠ΅Π½Π½ΡΠ΅ Π² ΡΠΏΠΎΠΌΡΠ½ΡΡΡΡ ΠΎΡΠ²Π΅ΡΡΡΠΈΡΡ . ΠΠΎΡΠ»Π΅Π΄Π½ΠΈΠ΅ Π²ΡΠΏΠΎΠ»Π½Π΅Π½Ρ ΠΏΡΡΠΌΠΎΡΠ³ΠΎΠ»ΡΠ½ΡΠΌΠΈ ΠΈ, ΡΠΎΠΎΡΠ²Π΅ΡΡΡΠ²Π΅Π½Π½ΠΎ ΠΈΠΌ, ΠΏΡΡΠΌΠΎΡΠ³ΠΎΠ»ΡΠ½ΡΡ ΡΠΎΡΠΌΡ Π² ΠΏΠΎΠΏΠ΅ΡΠ΅ΡΠ½ΠΎΠΌ ΡΠ΅ΡΠ΅Π½ΠΈΠΈ ΠΈΠΌΠ΅ΡΡ ΡΠΎΠ΅Π΄ΠΈΠ½ΠΈΡΠ΅Π»ΡΠ½ΡΠ΅ ΡΠ»Π΅ΠΌΠ΅Π½ΡΡ 6 ΠΈ 7, ΠΊΠΎΡΠΎΡΡΠ΅ Π²ΡΠΏΠΎΠ»Π½Π΅Π½Ρ ΡΠΎ ΡΠΊΠΎΡΠ΅Π½Π½ΡΠΌΠΈ, ΠΊΠΎΠ½ΡΠ°ΠΊΡΠΈΡΡΡΡΠΈΠΌΠΈ ΠΌΠ΅ΠΆΠ΄Ρ ΡΠΎΠ±ΠΎΠΉ, ΠΏΠΎΠ²Π΅ΡΡ Π½ΠΎΡΡΡΠΌΠΈ. ΠΠ°ΠΆΠ΄Π°Ρ Π²Π½Π΅ΡΠ½ΡΡ ΠΏΡΠΎΡΡΠΈΠ½Π° Π²ΡΠΏΠΎΠ»Π½Π΅Π½Π° ΠΈΠ· ΠΏΠ°ΡΡ Π·Π°ΠΊΡΠ΅ΠΏΠ»Π΅Π½Π½ΡΡ Π½Π° ΠΊΠΎΠ½ΡΠ΅ 8 ΠΏΠΎΡΡΠ° 3 ΠΏΠ»Π°ΡΡΠΈΠ½ 9 ΠΈ 10, ΡΠ°ΡΠΏΠΎΠ»ΠΎΠΆΠ΅Π½Π½ΡΡ ΠΏΠ°ΡΠ°Π»Π»Π΅Π»ΡΠ½ΠΎ Π΄ΡΡΠ³ Π΄ΡΡΠ³Ρ ΠΈ ΡΠΈΠΌΠΌΠ΅ΡΡΠΈΡΠ½ΠΎ ΠΊ ΠΏΡΠΎΠ΄ΠΎΠ»ΡΠ½ΠΎΠΉ ΠΎΡΠΈ 11 ΠΏΠΎΡΡΠ° 3 (ΡΠΈΠ³.6). Π ΠΏΠΎΠΏΠ΅ΡΠ΅ΡΠ½ΠΎΠΌ ΡΠ΅ΡΠ΅Π½ΠΈΠΈ ΠΊΠ°ΠΆΠ΄ΡΠΉ ΠΏΠΎΡΡ 3 Π²ΡΠΏΠΎΠ»Π½Π΅Π½ ΠΏΡΡΠΌΠΎΡΠ³ΠΎΠ»ΡΠ½ΡΠΌ ΠΈ ΠΏΡΠ΅Π΄ΡΡΠ°Π²Π»ΡΠ΅Ρ ΡΠΎΠ±ΠΎΠΉ ΡΠ²Π°ΡΠ½ΡΡ ΠΈΠ· Π΄Π²ΡΡ ΡΠ³ΠΎΠ»ΠΊΠΎΠ² ΠΌΠ΅ΡΠ°Π»Π»ΠΎΠΊΠΎΠ½ΡΡΡΡΠΊΡΠΈΡ (ΡΠΈΠ³.6 ΠΈ 7). ΠΠ°ΠΆΠ΄Π°Ρ Π²Π½ΡΡΡΠ΅Π½Π½ΡΡ ΠΏΡΠΎΡΡΠΈΠ½Π° 5 (ΡΠΈΠ³. 1, 3, 7) Π²ΡΠΏΠΎΠ»Π½Π΅Π½Π° ΠΈΠ· ΠΏΠ»Π°ΡΡΠΈΠ½Ρ 12, Π·Π°ΠΊΡΠ΅ΠΏΠ»Π΅Π½Π½ΠΎΠΉ Π½Π° Π·Π°Π³Π»ΡΡΠΊΠ΅ 13 ΠΈ ΠΏΠΎΡΡΠ΅ 3 (ΡΠΈΠ³.7 ΠΈ 8). Π’Π°ΠΊΠΈΠΌ ΠΎΠ±ΡΠ°Π·ΠΎΠΌ, ΠΊΠ°ΠΆΠ΄ΡΠΉ ΠΏΠΎΡΡ 3 (ΡΠΈΠ³.1) ΠΈΠΌΠ΅Π΅Ρ Π½Π° ΠΎΠ΄Π½ΠΎΠΌ ΠΊΠΎΠ½ΡΠ΅ Π²Π½Π΅ΡΠ½ΡΡ ΠΏΡΠΎΡΡΠΈΠ½Ρ 4, Π° Π½Π° Π΄ΡΡΠ³ΠΎΠΌ Π΅Π³ΠΎ ΠΊΠΎΠ½ΡΠ΅ Π²Π½ΡΡΡΠ΅Π½Π½ΡΡ ΠΏΡΠΎΡΡΠΈΠ½Ρ 5. Π ΡΠΎΡΡΡΠΊΠΎΠ²Π°Π½Π½ΠΎΠΌ ΠΏΠΎΠ»ΠΎΠΆΠ΅Π½ΠΈΠΈ Π΄Π²ΡΡ ΡΠΌΠ΅ΠΆΠ½ΡΡ ΠΏΠΎΡΡΠΎΠ² 3 Π΄Π²ΡΡ ΡΠ΅ΠΊΡΠΈΠΉ (ΡΠΈΠ³.8) Π²Π½ΡΡΡΠ΅Π½Π½ΡΡ ΠΏΡΠΎΡΡΠΈΠ½Π° 5 ΠΎΠ΄Π½ΠΎΠ³ΠΎ ΠΏΠΎΡΡΠ° ΡΠ°ΡΠΏΠΎΠ»ΠΎΠΆΠ΅Π½Π° Π²ΠΎ Π²Π½Π΅ΡΠ½Π΅ΠΉ ΠΏΡΠΎΡΡΠΈΠ½Π΅ 4 Π΄ΡΡΠ³ΠΎΠ³ΠΎ ΠΏΠΎΡΡΠ°, ΠΏΡΠΈΡΡΡΠΊΠΎΠ²Π°Π½Π½ΠΎΠ³ΠΎ ΠΊ ΠΏΠ΅ΡΠ²ΠΎΠΌΡ ΠΏΠΎΡΡΡ. Π Π°ΡΡΡΠΎΡΠ½ΠΈΠ΅ ΠΌΠ΅ΠΆΠ΄Ρ ΠΏΠ»Π°ΡΡΠΈΠ½Π°ΠΌΠΈ 9 ΠΈ 10 Π²Π½Π΅ΡΠ½Π΅ΠΉ ΠΏΡΠΎΡΡΠΈΠ½Ρ Π²ΡΠ±ΡΠ°Π½ΠΎ ΠΈΠ· ΡΡΠ»ΠΎΠ²ΠΈΡ ΡΠ²ΠΎΠ±ΠΎΠ΄Π½ΠΎΠ³ΠΎ ΡΠ°ΡΠΏΠΎΠ»ΠΎΠΆΠ΅Π½ΠΈΡ ΠΌΠ΅ΠΆΠ΄Ρ ΠΏΠ»Π°ΡΡΠΈΠ½Π°ΠΌΠΈ 9 ΠΈ 10 ΠΏΠ»Π°ΡΡΠΈΠ½Ρ 12 Π²Π½ΡΡΡΠ΅Π½Π½Π΅ΠΉ ΠΏΡΠΎΡΡΠΈΠ½Ρ 5. ΠΠ°ΠΆΠ΄Π°Ρ ΡΠ΅ΠΊΡΠΈΡ 1 ΠΈΠ»ΠΈ 2 Π±Π°ΡΠ½ΠΈ Π²ΠΊΠ»ΡΡΠ°Π΅Ρ ΡΠ΅ΡΡΡΠ΅ ΠΏΠΎΡΡΠ° 3 (ΡΠΈΠ³.2 ΠΈ 3), ΠΊΠΎΡΠΎΡΡΠ΅ ΡΠΎΠ΅Π΄ΠΈΠ½Π΅Π½Ρ ΠΌΠ΅ΠΆΠ΄Ρ ΡΠΎΠ±ΠΎΠΉ ΡΠ²ΡΠ·ΡΠΌΠΈ 14, ΡΠ°ΡΠΊΠΎΡΠ°ΠΌΠΈ 15 ΠΈ Π΄ΠΈΠ°Π³ΠΎΠ½Π°Π»ΡΡ 16, ΠΎΠ±ΡΠ°Π·ΡΡΡΠΈΠΌΠΈ ΠΏΡΠΈΠ·ΠΌΠ°ΡΠΈΡΠ΅ΡΠΊΡΡ ΠΏΡΡΠΌΠΎΡΠ³ΠΎΠ»ΡΠ½ΡΡ ΠΏΡΠΎΡΡΡΠ°Π½ΡΡΠ²Π΅Π½Π½ΡΡ ΠΌΠ΅ΡΠ°Π»Π»ΠΎΠΊΠΎΠ½ΡΡΡΡΠΊΡΠΈΡ ΠΎΡΠ΄Π΅Π»ΡΠ½ΠΎΠΉ ΡΠ΅ΠΊΡΠΈΠΈ Π±Π°ΡΠ½ΠΈ, ΠΏΡΠΈ ΡΡΠΎΠΌ ΠΊΠ°ΠΆΠ΄ΡΠΉ ΠΏΠΎΡΡ 3 ΡΠ°ΡΠΏΠΎΠ»ΠΎΠΆΠ΅Π½ Π² ΡΠ³Π»Ρ ΠΏΡΡΠΌΠΎΡΠ³ΠΎΠ»ΡΠ½ΠΈΠΊΠ° Π½Π° ΠΏΠ΅ΡΠ΅ΡΠ΅ΡΠ΅Π½ΠΈΠΈ ΠΏΡΠΎΠ΄ΠΎΠ»ΡΠ½ΡΡ ΠΎΡΠ΅ΠΉ 17 ΡΠ²ΡΠ·Π΅ΠΉ 14 ΠΈ ΡΠΎΡΠΊΠ° ΠΏΠ΅ΡΠ΅ΡΠ΅ΡΠ΅Π½ΠΈΡ ΠΎΡΠ΅ΠΉ 17 ΡΠ²Π»ΡΠ΅ΡΡΡ ΡΠ΅Π½ΡΡΠΎΠΌ 18 ΠΏΡΡΠΌΠΎΡΠ³ΠΎΠ»ΡΠ½ΠΈΠΊΠ° ΠΏΠΎΡΡΠ° 3. ΠΠΎΠ΄ ΡΠ³Π»ΠΎΠΌ 45o ΠΊ ΠΎΡΡΠΌ 17 Π²ΠΎ Π²Π·Π°ΠΈΠΌΠ½ΠΎ ΠΏΠ΅ΡΠΏΠ΅Π½Π΄ΠΈΠΊΡΠ»ΡΡΠ½ΡΡ Π½Π°ΠΏΡΠ°Π²Π»Π΅Π½ΠΈΡΡ (ΡΠΈΠ³.6, 7) ΡΠ°ΡΠΏΠΎΠ»ΠΎΠΆΠ΅Π½Ρ Π΄ΠΈΠ°Π³ΠΎΠ½Π°Π»ΡΠ½ΡΠ΅ ΠΎΡΠΈ 19 ΠΈ 20, ΠΊΠΎΡΠΎΡΡΠ΅ ΠΏΡΠΎΡ ΠΎΠ΄ΡΡ ΡΠ΅ΡΠ΅Π· ΡΠ΅Π½ΡΡ 18 ΠΏΠΎΡΡΠ° 3. ΠΠ΄ΠΎΠ»Ρ ΠΎΡΠΈ 19 ΡΠ°ΡΠΏΠΎΠ»ΠΎΠΆΠ΅Π½Ρ ΠΏΠ»Π°ΡΡΠΈΠ½Ρ 9 ΠΈ 10 (ΡΠΈΠ³.6), ΠΊΠΎΡΠΎΡΡΠ΅ Π·Π°ΠΊΡΠ΅ΠΏΠ»Π΅Π½Ρ Π² ΠΎΠΊΠ½Π°Ρ 21, Π²ΡΠΏΠΎΠ»Π½Π΅Π½Π½ΡΡ Π² ΡΡΠ΅Π½ΠΊΠ°Ρ ΠΏΠΎΡΡΠ° 3. ΠΡΠ΅ΠΏΠ»Π΅Π½ΠΈΠ΅ ΠΏΠ»Π°ΡΡΠΈΠ½ 9 ΠΈ 10 Π² ΠΎΠΊΠ½Π°Ρ 21 ΠΎΡΡΡΠ΅ΡΡΠ²Π»Π΅Π½ΠΎ ΡΠ²Π°ΡΠ½ΡΠΌΠΈ ΡΠ²Π°ΠΌΠΈ 22, ΡΠ°ΡΠΏΠΎΠ»ΠΎΠΆΠ΅Π½Π½ΡΠΌΠΈ Π² ΠΊΠ°Π½Π°Π²ΠΊΠ°Ρ 23, ΠΎΠ±ΡΠ°Π·ΠΎΠ²Π°Π½Π½ΡΡ ΠΏΠΎΠ²Π΅ΡΡ Π½ΠΎΡΡΡΡ 24 ΠΎΠΊΠ½Π° 21 ΠΈ ΠΏΠΎΠ²Π΅ΡΡ Π½ΠΎΡΡΡΡ 25 ΡΠ³Π»ΠΎΠ²ΠΎΠΉ ΡΠ°ΡΡΠΈ ΠΏΠ»Π°ΡΡΠΈΠ½Ρ 9 ΠΈΠ»ΠΈ 10. ΠΠ½Π°Π»ΠΎΠ³ΠΈΡΠ½ΡΠΌ ΠΎΠ±ΡΠ°Π·ΠΎΠΌ ΡΠ°ΡΠΏΠΎΠ»ΠΎΠΆΠ΅Π½Π° ΠΏΠ»Π°ΡΡΠΈΠ½Π° 12 (ΡΠΈΠ³. 7) Π²Π½ΡΡΡΠ΅Π½Π½Π΅ΠΉ ΠΏΡΠΎΡΡΠΈΠ½Ρ 5, ΠΏΡΠΈΡΠ΅ΠΌ ΡΠ³Π»ΠΎΠ²ΡΠ΅ ΡΠ°ΡΡΠΈ ΠΏΠ»Π°ΡΡΠΈΠ½Ρ 12 ΡΠ°ΡΠΏΠΎΠ»Π°Π³Π°ΡΡΡΡ Π² Π΄ΡΡΠ³ΠΈΡ ΠΎΠΊΠ½Π°Ρ 26, Π²ΡΠΏΠΎΠ»Π½Π΅Π½Π½ΡΡ Π² ΡΡΠ΅Π½ΠΊΠ°Ρ ΠΏΠΎΡΡΠ° 3 Π½Π° Π΄ΡΡΠ³ΠΎΠΌ Π΅Π³ΠΎ ΠΊΠΎΠ½ΡΠ΅. ΠΠΎΠ²Π΅ΡΡ Π½ΠΎΡΡΡ 27 ΡΠ³Π»ΠΎΠ²ΠΎΠΉ ΡΠ°ΡΡΠΈ ΠΏΠ»Π°ΡΡΠΈΠ½Ρ 12 ΠΈ ΠΏΠΎΠ²Π΅ΡΡ Π½ΠΎΡΡΡ 28 ΠΎΠΊΠ½Π° 26 ΠΎΠ±ΡΠ°Π·ΡΡΡ Π΄ΡΡΠ³ΡΡ ΠΊΠ°Π½Π°Π²ΠΊΡ 23 (ΡΠΈΠ³.7), Π² ΠΊΠΎΡΠΎΡΠΎΠΉ ΡΠ°ΡΠΏΠΎΠ»ΠΎΠΆΠ΅Π½ ΡΠ²Π°ΡΠ½ΠΎΠΉ ΡΠΎΠ² 22. Π‘Π²Π°ΡΠ½ΡΠ΅ ΡΠ²Ρ ΡΠ°ΡΠΏΠΎΠ»ΠΎΠΆΠ΅Π½Ρ Π²ΠΎ Π²ΡΠ΅Ρ ΡΠΏΠΎΠΌΡΠ½ΡΡΡΡ ΠΊΠ°Π½Π°Π²ΠΊΠ°Ρ (Π΄Π»Ρ ΡΠ΄ΠΎΠ±ΡΡΠ²Π° ΡΡΠ΅Π½ΠΈΡ ΡΠ΅ΡΡΠ΅ΠΆΠ΅ΠΉ Π½Π΅ Π²ΡΠ΅ ΡΠ²Π°ΡΠ½ΡΠ΅ ΡΠ²Ρ ΠΏΠΎΠΊΠ°Π·Π°Π½Ρ Π² ΡΠΏΠΎΠΌΡΠ½ΡΡΡΡ ΠΊΠ°Π½Π°Π²ΠΊΠ°Ρ ). ΠΠ»Π°ΡΡΠΈΠ½Π° 12 Π²Π½ΡΡΡΠ΅Π½Π½Π΅ΠΉ ΠΏΡΠΎΡΡΠΈΠ½Ρ 5 ΡΠ°ΡΠΏΠΎΠ»ΠΎΠΆΠ΅Π½Π° Π½Π° Π΄ΠΈΠ°Π³ΠΎΠ½Π°Π»ΡΠ½ΠΎΠΉ ΠΎΡΠΈ 19, ΡΠΈΠΌΠΌΠ΅ΡΡΠΈΡΠ½ΠΎ ΠΏΠΎ ΠΎΡΠ½ΠΎΡΠ΅Π½ΠΈΡ ΠΊ ΡΡΠΎΠΉ ΠΎΡΠΈ. ΠΠΈΠ°Π³ΠΎΠ½Π°Π»ΡΠ½Π°Ρ ΠΎΡΡ 19 ΡΠΎΠ΅Π΄ΠΈΠ½ΡΠ΅Ρ Π΄Π²Π° ΡΠ³Π»Π° ΠΏΡΡΠΌΠΎΡΠ³ΠΎΠ»ΡΠ½ΠΎΠ³ΠΎ ΠΏΠΎΠΏΠ΅ΡΠ΅ΡΠ½ΠΎΠ³ΠΎ ΡΠ΅ΡΠ΅Π½ΠΈΡ ΠΏΠΎΡΡΠ°. ΠΠ΅ΡΠ²ΡΠ΅ ΡΠΎΠ΅Π΄ΠΈΠ½ΠΈΡΠ΅Π»ΡΠ½ΡΠ΅ ΡΠ»Π΅ΠΌΠ΅Π½ΡΡ 6 (ΡΠΈΠ³.8) Π²ΡΠΏΠΎΠ»Π½Π΅Π½Ρ Ρ Π²ΡΡΡΡΠΏΠ°ΠΌΠΈ 29, ΡΠ°ΡΠΏΠΎΠ»ΠΎΠΆΠ΅Π½Π½ΡΠΌΠΈ Ρ Π²ΠΎΠ·ΠΌΠΎΠΆΠ½ΠΎΡΡΡΡ Π²Π·Π°ΠΈΠΌΠΎΠ΄Π΅ΠΉΡΡΠ²ΠΈΡ Ρ Π²Π½Π΅ΡΠ½ΠΈΠΌΠΈ ΠΏΠΎΠ²Π΅ΡΡ Π½ΠΎΡΡΡΠΌΠΈ 9 ΠΈ 10 Π²Π½Π΅ΡΠ½Π΅ΠΉ ΠΏΡΠΎΡΡΠΈΠ½Ρ. Π ΡΠΎΡΡΠ΅ ΡΠΎΠ΅Π΄ΠΈΠ½ΠΈΡΠ΅Π»ΡΠ½ΠΎΠ³ΠΎ ΡΠ»Π΅ΠΌΠ΅Π½ΡΠ° 6 Π·Π°ΠΊΡΠ΅ΠΏΠ»Π΅Π½ Π±ΠΎΠ»Ρ 30, ΡΠ°ΡΠΏΠΎΠ»ΠΎΠΆΠ΅Π½Π½ΡΠΉ Π² ΠΎΡΠ²Π΅ΡΡΡΠΈΠΈ 31 ΡΠΏΠΎΡΠ° 32, ΠΏΡΠΈΡΠ΅ΠΌ Π² Π΄ΡΡΠ³ΠΎΠΌ ΠΎΡΠ²Π΅ΡΡΡΠΈΠΈ ΡΠΏΠΎΡΠ° 32 ΡΠ°ΡΠΏΠΎΠ»ΠΎΠΆΠ΅Π½ ΠΏΠ΅ΡΠ²ΡΠΉ Π²ΡΡΡΡΠΏ 33 Π²ΡΠΎΡΠΎΠ³ΠΎ ΡΠΎΠ΅Π΄ΠΈΠ½ΠΈΡΠ΅Π»ΡΠ½ΠΎΠ³ΠΎ ΡΠ»Π΅ΠΌΠ΅Π½ΡΠ° 7, ΠΏΡΠΈ ΡΡΠΎΠΌ ΡΡΠΎΡ ΠΏΠ΅ΡΠ²ΡΠΉ Π²ΡΡΡΡΠΏ 33 ΡΠ°ΡΠΏΠΎΠ»ΠΎΠΆΠ΅Π½ Π·Π° ΠΏΡΠ΅Π΄Π΅Π»Π°ΠΌΠΈ Π½Π°ΡΡΠΆΠ½ΠΎΠΉ ΠΏΠΎΠ²Π΅ΡΡ Π½ΠΎΡΡΠΈ ΠΏΠΎΡΡΠ° 3 (ΡΠΈΠ³.8). Π ΡΠΎΠ±ΡΠ°Π½Π½ΠΎΠΌ ΠΏΠΎΠ»ΠΎΠΆΠ΅Π½ΠΈΠΈ ΡΡΡΠΊΠΎΠ²ΠΎΠ³ΠΎ ΡΠΎΠ΅Π΄ΠΈΠ½Π΅Π½ΠΈΡ (ΡΠΈΠ³.8) ΠΌΠ΅ΠΆΠ΄Ρ Π²Π΅ΡΡ Π½Π΅ΠΉ ΠΏΠΎΠ²Π΅ΡΡ Π½ΠΎΡΡΡΡ 34 Π²ΡΠΎΡΠΎΠ³ΠΎ ΡΠΎΠ΅Π΄ΠΈΠ½ΠΈΡΠ΅Π»ΡΠ½ΠΎΠ³ΠΎ ΡΠ»Π΅ΠΌΠ΅Π½ΡΠ° 7, ΠΏΠΎΠ²Π΅ΡΡ Π½ΠΎΡΡΡΠΌΠΈ 35 ΠΈ 36 ΠΏΠ»Π°ΡΡΠΈΠ½ 9 ΠΈ 10 ΠΎΠ±ΡΠ°Π·ΠΎΠ²Π°Π½Ρ Π·Π°Π·ΠΎΡΡ 37 ΠΈ 38, Π° ΠΌΠ΅ΠΆΠ΄Ρ Π½ΠΈΠΆΠ½Π΅ΠΉ ΠΏΠΎΠ²Π΅ΡΡ Π½ΠΎΡΡΡΡ 39 ΠΎΡΠ²Π΅ΡΡΡΠΈΡ ΠΏΠ»Π°ΡΡΠΈΠ½Ρ 12 Π²Π½ΡΡΡΠ΅Π½Π½Π΅ΠΉ ΠΏΡΠΎΡΡΠΈΠ½Ρ 5 ΠΈ Π½ΠΈΠΆΠ½Π΅ΠΉ ΠΏΠΎΠ²Π΅ΡΡ Π½ΠΎΡΡΡΡ 40 ΠΏΠ΅ΡΠ²ΠΎΠ³ΠΎ ΡΠΎΠ΅Π΄ΠΈΠ½ΠΈΡΠ΅Π»ΡΠ½ΠΎΠ³ΠΎ ΡΠ»Π΅ΠΌΠ΅Π½ΡΠ° 6 ΠΎΠ±ΡΠ°Π·ΠΎΠ²Π°Π½ Π·Π°Π·ΠΎΡ 41. ΠΠΎΠ»Ρ 30, ΡΠΏΠΎΡ 32, Π²ΡΡΡΡΠΏ 33, Π³Π°ΠΉΠΊΠ° 42 Π±ΠΎΠ»ΡΠ° 30 ΠΏΡΠ΅Π΄ΡΡΠ°Π²Π»ΡΡΡ ΡΠΎΠ±ΠΎΠΉ ΡΠΈΠΊΡΠΈΡΡΡΡΠ΅Π΅ ΠΏΡΠΈΡΠΏΠΎΡΠΎΠ±Π»Π΅Π½ΠΈΠ΅ ΡΠΎΠ΅Π΄ΠΈΠ½ΠΈΡΠ΅Π»ΡΠ½ΡΡ ΡΠ»Π΅ΠΌΠ΅Π½ΡΠΎΠ². ΠΠ΅ΠΆΠ΄Ρ Π½ΠΈΠΆΠ½Π΅ΠΉ ΡΠΎΡΡΠ΅Π²ΠΎΠΉ ΠΏΠΎΠ²Π΅ΡΡ Π½ΠΎΡΡΡΡ 43 ΠΏΠΎΡΡΠ° 3 Π²Π΅ΡΡ Π½Π΅ΠΉ ΡΠ΅ΠΊΡΠΈΠΈ Π±Π°ΡΠ½ΠΈ ΠΈ Π²Π΅ΡΡ Π½Π΅ΠΉ ΠΏΠΎΠ²Π΅ΡΡ Π½ΠΎΡΡΡΡ 44 Π·Π°Π³Π»ΡΡΠΊΠΈ 13 ΠΎΠ±ΡΠ°Π·ΠΎΠ²Π°Π½ Π·Π°Π·ΠΎΡ 45, Π²ΡΠ»Π΅Π΄ΡΡΠ²ΠΈΠ΅ ΠΊΠΎΡΠΎΡΠΎΠ³ΠΎ ΠΏΠ»Π°ΡΡΠΈΠ½Ρ 9 ΠΈ 10 Π²Π½Π΅ΡΠ½Π΅ΠΉ ΠΏΡΠΎΡΡΠΈΠ½Ρ Π²ΡΡΡΡΠΏΠ°ΡΡ Π·Π° ΠΏΡΠ΅Π΄Π΅Π»Ρ ΡΠΎΡΡΠ΅Π²ΠΎΠΉ ΠΏΠΎΠ²Π΅ΡΡ Π½ΠΎΡΡΠΈ 43 ΠΏΠΎΡΡΠ° 3 ΠΈ ΠΎΠΏΠΈΡΠ°ΡΡΡΡ Π½Π° Π·Π°Π³Π»ΡΡΠΊΡ 13. Π ΡΡΠ΅Π½ΠΊΠ°Ρ ΠΏΠΎΡΡΠ° 3 Π²ΡΠΏΠΎΠ»Π½Π΅Π½Ρ ΠΎΠΊΠ½Π° 46 ΠΈ 47 Π΄Π»Ρ Π²Π²Π΅Π΄Π΅Π½ΠΈΡ ΡΠΎΠ΅Π΄ΠΈΠ½ΠΈΡΠ΅Π»ΡΠ½ΡΡ ΡΠ»Π΅ΠΌΠ΅Π½ΡΠΎΠ² 6 ΠΈ 7 Π² ΠΎΡΠ²Π΅ΡΡΡΠΈΡ ΠΏΡΠΎΡΡΠΈΠ½Ρ ΡΠ΅ΡΠ΅Π· ΡΡΠ΅Π½ΠΊΠΈ ΠΏΠΎΡΡΠ°. ΠΡΠΎΡΠΎΠΉ ΡΠΎΠ΅Π΄ΠΈΠ½ΠΈΡΠ΅Π»ΡΠ½ΡΠΉ ΡΠ»Π΅ΠΌΠ΅Π½Ρ 7 ΠΈΠΌΠ΅Π΅Ρ Π²ΡΠΎΡΠΎΠΉ Π²ΡΡΡΡΠΏ 48, ΡΠ°ΡΠΏΠΎΠ»ΠΎΠΆΠ΅Π½Π½ΡΠΉ Π·Π° ΠΏΡΠ΅Π΄Π΅Π»Π°ΠΌΠΈ Π½Π°ΡΡΠΆΠ½ΠΎΠΉ ΠΏΠΎΠ²Π΅ΡΡ Π½ΠΎΡΡΠΈ ΠΏΠΎΡΡΠ° 3 ΠΏΡΠΎΡΠΈΠ²ΠΎΠΏΠΎΠ»ΠΎΠΆΠ½ΠΎ ΠΊ ΠΏΠ΅ΡΠ²ΠΎΠΌΡ Π²ΡΡΡΡΠΏΡ 33 ΡΡΠΎΠ³ΠΎ ΡΠ»Π΅ΠΌΠ΅Π½ΡΠ°. Π‘ΠΊΠΎΡΠ΅Π½Π½ΡΠ΅ ΠΏΠΎΠ²Π΅ΡΡ Π½ΠΎΡΡΠΈ ΡΠΎΠ΅Π΄ΠΈΠ½ΠΈΡΠ΅Π»ΡΠ½ΡΡ ΡΠ»Π΅ΠΌΠ΅Π½ΡΠΎΠ² 6 ΠΈ 7 ΠΏΠΎΠΊΠ°Π·Π°Π½Ρ ΡΠΎΠΎΡΠ²Π΅ΡΡΡΠ²Π΅Π½Π½ΠΎ ΠΏΠΎΠ·ΠΈΡΠΈΡΠΌΠΈ 49 ΠΈ 50 (ΡΠΈΠ³.8). Π Π°Π±ΠΎΡΠ°Π΅Ρ ΡΡΡΠΊΠΎΠ²ΠΎΠ΅ ΡΠΎΠ΅Π΄ΠΈΠ½Π΅Π½ΠΈΠ΅ ΡΠ»Π΅Π΄ΡΡΡΠΈΠΌ ΠΎΠ±ΡΠ°Π·ΠΎΠΌ. Π£ΡΡΠ°Π½Π°Π²Π»ΠΈΠ²Π°ΡΡ ΡΠ΅ΠΊΡΠΈΡ 2 (ΡΠΈΠ³.1) Π±Π°ΡΠ½ΠΈ Π±Π°ΡΠ΅Π½Π½ΠΎΠ³ΠΎ ΠΊΡΠ°Π½Π° Π½Π° ΡΠ΅ΠΊΡΠΈΡ 1 Π±Π°ΡΠ½ΠΈ ΠΈ ΡΠΎΠ²ΠΌΠ΅ΡΠ°ΡΡ Π²Π½Π΅ΡΠ½ΠΈΠ΅ ΠΏΡΠΎΡΡΠΈΠ½Ρ 4 ΡΠ΅ΠΊΡΠΈΠΈ 2 Ρ Π²Π½ΡΡΡΠ΅Π½Π½ΠΈΠΌΠΈ ΠΏΡΠΎΡΡΠΈΠ½Π°ΠΌΠΈ 5 ΡΠ΅ΠΊΡΠΈΠΈ 1. ΠΠ°ΡΠ΅ΠΌ Π²Π²ΠΎΠ΄ΡΡ ΡΠ΅ΡΠ΅Π· ΠΎΠΊΠ½ΠΎ 46 ΠΈΠ»ΠΈ ΠΎΠΊΠ½ΠΎ 47 ΠΊΠ°ΠΆΠ΄ΠΎΠ³ΠΎ ΡΡΡΠΊΠΎΠ²ΠΎΠ³ΠΎ ΡΠΎΠ΅Π΄ΠΈΠ½Π΅Π½ΠΈΡ (ΡΠΈΠ³.8) ΠΏΠ΅ΡΠ²ΡΠΉ ΡΠΎΠ΅Π΄ΠΈΠ½ΠΈΡΠ΅Π»ΡΠ½ΡΠΉ ΡΠ»Π΅ΠΌΠ΅Π½Ρ 6 ΡΠ°ΠΊΠΈΠΌ ΠΎΠ±ΡΠ°Π·ΠΎΠΌ, ΡΡΠΎΠ±Ρ Π²ΡΡΡΡΠΏΡ 29 ΡΡΠΎΠ³ΠΎ ΡΠΎΠ΅Π΄ΠΈΠ½ΠΈΡΠ΅Π»ΡΠ½ΠΎΠ³ΠΎ ΡΠ»Π΅ΠΌΠ΅Π½ΡΠ° 6 Π½Π°Ρ ΠΎΠ΄ΠΈΠ»ΠΈΡΡ Π½ΠΈΠΆΠ΅ Π½ΠΈΠΆΠ½ΠΈΡ ΠΏΠΎΠ²Π΅ΡΡ Π½ΠΎΡΡΠ΅ΠΉ ΠΎΡΠ²Π΅ΡΡΡΠΈΠΉ 37 ΠΈ 38 ΠΏΠ»Π°ΡΡΠΈΠ½ 9 ΠΈ 10 Ρ ΡΠ΅Π»ΡΡ ΠΎΠ³ΡΠ°Π½ΠΈΡΠ΅Π½ΠΈΡ ΠΏΠ΅ΡΠ΅ΠΌΠ΅ΡΠ΅Π½ΠΈΡ ΠΏΠ΅ΡΠ²ΠΎΠ³ΠΎ ΡΠΎΠ΅Π΄ΠΈΠ½ΠΈΡΠ΅Π»ΡΠ½ΠΎΠ³ΠΎ ΡΠ»Π΅ΠΌΠ΅Π½ΡΠ° 6 Π² ΠΏΡΠΎΡΡΠΈΠ½Π°Ρ ΡΠΎΠ΅Π΄ΠΈΠ½Π΅Π½ΠΈΡ. ΠΠΎΡΠ»Π΅ ΡΡΠΎΠ³ΠΎ Π²Π²ΠΎΠ΄ΡΡ Π²ΡΠΎΡΠΎΠΉ ΡΠΎΠ΅Π΄ΠΈΠ½ΠΈΡΠ΅Π»ΡΠ½ΡΠΉ ΡΠ»Π΅ΠΌΠ΅Π½Ρ 7 Π² ΠΎΠΊΠ½ΠΎ 47 ΠΈ Π² ΠΎΡΠ²Π΅ΡΡΡΠΈΡ ΠΏΡΠΎΡΡΠΈΠ½ ΠΈ, Π΄Π°Π»Π΅Π΅, Π·Π°Π±ΠΈΠ²Π°ΡΡ ΡΠ»Π΅ΠΌΠ΅Π½Ρ 7 Π»Π΅Π³ΠΊΠΈΠΌΠΈ ΠΏΠΎΡΡΡΠΊΠΈΠ²Π°Π½ΠΈΡΠΌΠΈ ΠΏΠΎ Π³ΠΎΠ»ΠΎΠ²ΠΊΠ΅ Π²ΡΡΡΡΠΏΠ° 33, Π²ΡΠ±ΠΈΡΠ°Ρ Π·Π° ΡΡΠ΅Ρ ΠΏΠ΅ΡΠ΅ΠΌΠ΅ΡΠ΅Π½ΠΈΡ ΡΠΊΠΎΡΠ΅Π½Π½ΡΡ ΠΏΠΎΠ²Π΅ΡΡ Π½ΠΎΡΡΠ΅ΠΉ 49 ΠΈ 50 ΡΠΎΠ΅Π΄ΠΈΠ½ΠΈΡΠ΅Π»ΡΠ½ΡΡ ΡΠ»Π΅ΠΌΠ΅Π½ΡΠΎΠ² 6 ΠΈ 7 Π·Π°Π·ΠΎΡΡ ΠΌΠ΅ΠΆΠ΄Ρ Π²Π΅ΡΡ Π½Π΅ΠΉ ΠΏΠΎΠ²Π΅ΡΡ Π½ΠΎΡΡΡΡ ΡΠ»Π΅ΠΌΠ΅Π½ΡΠ° 7 ΠΈ Π²Π΅ΡΡ Π½Π΅ΠΉ ΠΏΠΎΠ²Π΅ΡΡ Π½ΠΎΡΡΡΡ ΠΎΡΠ²Π΅ΡΡΡΠΈΡ ΠΏΠ»Π°ΡΡΠΈΠ½Ρ 12. ΠΠ°Π»Π΅Π΅ ΡΡΡΠ°Π½Π°Π²Π»ΠΈΠ²Π°ΡΡ Π½Π° Π²ΡΡΡΡΠΏΠ΅ 33 ΡΠΏΠΎΡ 32, Π΄Π»Ρ ΡΠ΅Π³ΠΎ ΠΏΡΠ΅Π΄Π²Π°ΡΠΈΡΠ΅Π»ΡΠ½ΠΎ Π²Π²ΠΎΠ΄ΡΡ Π² ΠΎΡΠ²Π΅ΡΡΡΠΈΠ΅ 31 ΡΠΏΠΎΡΠ° 32 Π±ΠΎΠ»Ρ 30, Π½Π° ΠΊΠΎΡΠΎΡΡΠΉ Π·Π°ΡΠ΅ΠΌ Π½Π°Π²ΠΈΠ½ΡΠΈΠ²Π°ΡΡ Π³Π°ΠΉΠΊΡ 42 ΠΈ ΠΏΠΎΡΠ»Π΅ Π·Π°ΡΡΠΆΠΊΠΈ Π³Π°ΠΉΠΊΠΈ ΡΠΎΠ΅Π΄ΠΈΠ½ΠΈΡΠ΅Π»ΡΠ½ΡΠ΅ ΡΠ»Π΅ΠΌΠ΅Π½ΡΡ 6 ΠΈ 7 Π½Π΅ ΠΌΠΎΠ³ΡΡ ΠΏΠ΅ΡΠ΅ΠΌΠ΅ΡΠ°ΡΡΡΡ Π² ΠΎΡΠ²Π΅ΡΡΡΠΈΡΡ ΠΏΡΠΎΡΡΠΈΠ½ ΠΏΠΎΠΏΠ΅ΡΠ΅ΠΊ ΠΏΠΎΡΡΠΎΠ² 3 ΡΠΎΡΡΡΠΊΠΎΠ²Π°Π½Π½ΡΡ ΡΠ΅ΠΊΡΠΈΠΉ. Π‘ΠΈΠ»Π° ΡΠΆΠ°ΡΠΈΡ ΠΎΡ Π²Π΅ΡΡ Π½Π΅ΠΉ ΡΠ΅ΠΊΡΠΈΠΈ 2 ΠΏΠ΅ΡΠ΅Π΄Π°Π΅ΡΡΡ Π½Π° Π½ΠΈΠΆΠ½ΡΡ ΡΠ΅ΠΊΡΠΈΡ 1 (ΡΠΈΠ³.1). ΠΡΠΈ ΡΡΠΎΠΌ Π½Π°Π³ΡΡΠ·ΠΊΠ° Π²ΠΎΡΠΏΡΠΈΠ½ΠΈΠΌΠ°Π΅ΡΡΡ ΠΏΠΎΡΡΠ°ΠΌΠΈ 3 ΠΈ ΠΏΠ΅ΡΠ΅Π΄Π°Π΅ΡΡΡ Ρ ΠΊΠ°ΠΆΠ΄ΠΎΠ³ΠΎ Π²Π΅ΡΡ Π½Π΅Π³ΠΎ ΠΏΠΎΡΡΠ° 3 ΡΠ΅ΠΊΡΠΈΠΈ 2 Π½Π° ΠΊΠ°ΠΆΠ΄ΡΠΉ ΡΠΌΠ΅ΠΆΠ½ΡΠΉ Ρ Π½ΠΈΠΌ Π½ΠΈΠΆΠ½ΠΈΠΉ ΠΏΠΎΡΡ 3 Π½ΠΈΠΆΠ½Π΅ΠΉ ΡΠ΅ΠΊΡΠΈΠΈ 1. ΠΡΠΈ ΡΠΆΠ°ΡΠΈΠΈ Π½Π°Π³ΡΡΠ·ΠΊΠ° ΠΎΡ ΠΏΠΎΡΡΠ° 3 (ΡΠΈΠ³.8) ΡΠ΅ΡΠ΅Π· ΠΏΠ»Π°ΡΡΠΈΠ½Ρ 9 ΠΈ 10 Π²Π½Π΅ΡΠ½Π΅ΠΉ ΠΏΡΠΎΡΡΠΈΠ½Ρ 4 ΠΏΠ΅ΡΠ΅Π΄Π°Π΅ΡΡΡ Π½Π° Π·Π°Π³Π»ΡΡΠΊΡ 13, ΠΏΡΠΈ ΡΡΠΎΠΌ ΠΌΠ΅ΠΆΠ΄Ρ Π²Π΅ΡΡ Π½Π΅ΠΉ ΠΏΠΎΠ²Π΅ΡΡ Π½ΠΎΡΡΡΡ 34 Π²ΡΠΎΡΠΎΠ³ΠΎ ΡΠΎΠ΅Π΄ΠΈΠ½ΠΈΡΠ΅Π»ΡΠ½ΠΎΠ³ΠΎ ΡΠ»Π΅ΠΌΠ΅Π½ΡΠ° 7 ΠΈ Π²Π½ΡΡΡΠ΅Π½Π½Π΅ΠΉ ΠΏΠΎΠ²Π΅ΡΡ Π½ΠΎΡΡΡΡ ΠΎΡΠ²Π΅ΡΡΡΠΈΡ ΠΏΠ»Π°ΡΡΠΈΠ½Ρ 12 ΠΈΠΌΠ΅Π΅ΡΡΡ ΠΊΠΎΠ½ΡΠ°ΠΊΡ, ΠΏΠ»ΠΎΡΠ½ΠΎΡΡΡ ΠΊΠΎΡΠΎΡΠΎΠ³ΠΎ Π·Π°Π²ΠΈΡΠΈΡ ΠΎΡ ΡΡΠΈΠ»ΠΈΡ Π·Π°ΡΡΠΆΠΊΠΈ Π±ΠΎΠ»ΡΠ° 30. Π ΡΡΠΎΠΌ ΠΏΠΎΠ»ΠΎΠΆΠ΅Π½ΠΈΠΈ ΠΌΠ΅ΠΆΠ΄Ρ Π½ΠΈΠΆΠ½Π΅ΠΉ ΠΏΠΎΠ²Π΅ΡΡ Π½ΠΎΡΡΡΡ 40 ΠΏΠ΅ΡΠ²ΠΎΠ³ΠΎ ΡΠΎΠ΅Π΄ΠΈΠ½ΠΈΡΠ΅Π»ΡΠ½ΠΎΠ³ΠΎ ΡΠ»Π΅ΠΌΠ΅Π½ΡΠ° 6 ΠΈ ΠΏΠΎΠ²Π΅ΡΡ Π½ΠΎΡΡΡΡ 39 ΠΎΡΠ²Π΅ΡΡΡΠΈΡ ΠΏΠ»Π°ΡΡΠΈΠ½Ρ 12 ΠΈΠΌΠ΅Π΅ΡΡΡ Π·Π°Π·ΠΎΡ 41, Π²ΡΠ»Π΅Π΄ΡΡΠ²ΠΈΠ΅ ΡΠ΅Π³ΠΎ ΠΏΡΠΈ ΠΏΠ΅ΡΠ΅Π΄Π°ΡΠ΅ Π½Π°Π³ΡΡΠ·ΠΎΠΊ Ρ ΠΏΠΎΡΡΠ° 3 Π²Π΅ΡΡ Π½Π΅ΠΉ ΡΠ΅ΠΊΡΠΈΠΈ 2 Π½Π° ΠΏΠΎΡΡ 3 Π½ΠΈΠΆΠ½Π΅ΠΉ ΡΠ΅ΠΊΡΠΈΠΈ 1 ΡΠΎΠ΅Π΄ΠΈΠ½ΠΈΡΠ΅Π»ΡΠ½ΡΠ΅ ΡΠ»Π΅ΠΌΠ΅Π½ΡΡ 6 ΠΈ 7 Π½Π°Ρ ΠΎΠ΄ΡΡΡΡ ΠΏΡΠ°ΠΊΡΠΈΡΠ΅ΡΠΊΠΈ Π² ΡΠ°Π·Π³ΡΡΠΆΠ΅Π½Π½ΠΎΠΌ ΡΠΎΡΡΠΎΡΠ½ΠΈΠΈ, ΠΏΠΎΡΠΊΠΎΠ»ΡΠΊΡ Π½Π°Π³ΡΡΠ·ΠΊΠ° ΠΏΠ΅ΡΠ΅Π΄Π°Π΅ΡΡΡ ΡΠ΅ΡΠ΅Π· ΠΏΠ»Π°ΡΡΠΈΠ½Ρ 9 ΠΈ 10 Π½Π° Π·Π°Π³Π»ΡΡΠΊΡ 13 ΠΈ ΡΠ΅ΡΠ΅Π· Π½Π΅Π΅ Π½Π° ΠΏΠΎΡΡ 3 Π½ΠΈΠΆΠ½Π΅ΠΉ ΡΠ΅ΠΊΡΠΈΠΈ 1. Π‘ΠΎΠ΅Π΄ΠΈΠ½ΠΈΡΠ΅Π»ΡΠ½ΡΠ΅ ΡΠ»Π΅ΠΌΠ΅Π½ΡΡ ΠΏΡΠΈ ΡΡΠΎΠΌ ΠΈΡΠΏΡΡΡΠ²Π°ΡΡ Π½Π΅Π·Π½Π°ΡΠΈΡΠ΅Π»ΡΠ½ΡΠ΅ Π½Π°Π³ΡΡΠ·ΠΊΠΈ ΠΎΡ ΡΠ°ΡΠΊΠ»ΠΈΠ½ΠΈΠ²Π°ΡΡΠ΅Π³ΠΎ ΡΡΠΈΠ»ΠΈΡ, Π²ΠΎΠ·Π½ΠΈΠΊΠ°ΡΡΠ΅Π³ΠΎ ΠΏΡΠΈ Π²Π²Π΅Π΄Π΅Π½ΠΈΠΈ Π²ΡΠΎΡΠΎΠ³ΠΎ ΡΠΎΠ΅Π΄ΠΈΠ½ΠΈΡΠ΅Π»ΡΠ½ΠΎΠ³ΠΎ ΡΠ»Π΅ΠΌΠ΅Π½ΡΠ° 7 Π² ΠΎΡΠ²Π΅ΡΡΡΠΈΡ ΠΏΡΠΎΡΡΠΈΠ½ ΡΡΡΠΊΠΎΠ²ΠΎΠ³ΠΎ ΡΠΎΠ΅Π΄ΠΈΠ½Π΅Π½ΠΈΡ, ΠΈ ΠΎΡ Π·Π°ΡΡΠΆΠΊΠΈ Π±ΠΎΠ»ΡΠ° 30. Π ΡΠ»ΡΡΠ°Π΅ ΡΠ°Π±ΠΎΡΡ ΡΡΡΠΊΠΎΠ²ΠΎΠ³ΠΎ ΡΠΎΠ΅Π΄ΠΈΠ½Π΅Π½ΠΈΡ Π½Π° ΠΎΡΡΡΠ² ΠΈ ΡΠ°ΡΡΡΠΆΠ΅Π½ΠΈΠ΅ ΠΏΠΎΡΡΠΎΠ², ΠΏΠΎΡΡ 3 Π²Π΅ΡΡ Π½Π΅ΠΉ ΡΠ΅ΠΊΡΠΈΠΈ 2 Π±Π°ΡΠ½ΠΈ (ΡΠΈΠ³.8) ΡΡΡΠ΅ΠΌΠΈΡΡΡ ΠΎΡΠΎΡΠ²Π°ΡΡΡΡ ΠΎΡ ΠΏΠΎΡΡΠ° 3 Π½ΠΈΠΆΠ½Π΅ΠΉ ΡΠ΅ΠΊΡΠΈΠΈ 1 Π±Π°ΡΠ½ΠΈ. Π ΡΡΠΎΠΌ ΡΠ»ΡΡΠ°Π΅ Π½Π°Π³ΡΡΠ·ΠΊΠΈ ΠΏΠ΅ΡΠ΅Π΄Π°ΡΡΡΡ ΡΠ΅ΡΠ΅Π· Π½ΠΈΠΆΠ½ΠΈΠ΅ ΠΏΠΎΠ²Π΅ΡΡ Π½ΠΎΡΡΠΈ ΠΎΡΠ²Π΅ΡΡΡΠΈΠΉ Π² ΠΏΠ»Π°ΡΡΠΈΠ½Π°Ρ 9 ΠΈ 10 Π½Π° Π½ΠΈΠΆΠ½ΡΡ ΠΏΠΎΠ²Π΅ΡΡ Π½ΠΎΡΡΡ 40 ΠΏΠ΅ΡΠ²ΠΎΠ³ΠΎ ΡΠΎΠ΅Π΄ΠΈΠ½ΠΈΡΠ΅Π»ΡΠ½ΠΎΠ³ΠΎ ΡΠ»Π΅ΠΌΠ΅Π½ΡΠ° 6, Π΄Π°Π»Π΅Π΅ ΠΎΡ ΠΏΠΎΡΠ»Π΅Π΄Π½Π΅Π³ΠΎ – Π½Π° Π²ΡΠΎΡΠΎΠΉ ΡΠΎΠ΅Π΄ΠΈΠ½ΠΈΡΠ΅Π»ΡΠ½ΡΠΉ ΡΠ»Π΅ΠΌΠ΅Π½Ρ 7 ΠΈ Π½Π° Π²Π΅ΡΡ Π½ΡΡ ΠΏΠΎΠ²Π΅ΡΡ Π½ΠΎΡΡΡ ΠΎΡΠ²Π΅ΡΡΡΠΈΡ Π² ΠΏΠ»Π°ΡΡΠΈΠ½Π΅ 12 Π²Π½ΡΡΡΠ΅Π½Π½Π΅ΠΉ ΠΏΡΠΎΡΡΠΈΠ½Ρ 5, Π° ΠΎΡ Π½Π΅Π΅ – Π½Π° ΠΏΠΎΡΡ 3 Π½ΠΈΠΆΠ½Π΅ΠΉ ΡΠ΅ΠΊΡΠΈΠΈ 1. ΠΡΠΈ ΡΡΠΎΠΌ Π² ΡΡΡΠΊΠΎΠ²ΠΎΠΌ ΡΠΎΠ΅Π΄ΠΈΠ½Π΅Π½ΠΈΠΈ Π·Π°Π·ΠΎΡΡ 37, 38 ΠΈ 41 ΠΎΡΡΠ°ΡΡΡΡ Π² ΠΏΠΎΠ»ΠΎΠΆΠ΅Π½ΠΈΠΈ, ΠΏΠΎΠΊΠ°Π·Π°Π½Π½ΠΎΠΌ Π½Π° ΡΠΈΠ³.8. ΠΡΠ»Π΅Π΄ΡΡΠ²ΠΈΠ΅ ΡΠ°ΡΡΡΠ³ΠΈΠ²Π°ΡΡΠΈΡ ΡΡΠΈΠ»ΠΈΠΉ Π½Π° ΠΏΠΎΡΡΠ°Ρ 3 ΠΏΠ»Π°ΡΡΠΈΠ½Ρ 9, 10 ΠΈ 12 ΠΏΡΠΎΡΡΠΈΠ½ ΡΠ°ΠΊΠΆΠ΅ ΠΈΡΠΏΡΡΡΠ²Π°ΡΡ ΡΡΠΈΠ»ΠΈΡ ΡΠ°ΡΡΡΠΆΠ΅Π½ΠΈΡ, Π° ΡΠΎΠ΅Π΄ΠΈΠ½ΠΈΡΠ΅Π»ΡΠ½ΡΠ΅ ΡΠ»Π΅ΠΌΠ΅Π½ΡΡ 6 ΠΈ 7 ΠΏΡΠΈ ΡΡΠΎΠΌ Π½Π°Ρ ΠΎΠ΄ΡΡΡΡ Π² ΡΠΎΡΡΠΎΡΠ½ΠΈΠΈ ΡΠΆΠ°ΡΠΈΡ. ΠΡΠ»Π΅Π΄ΡΡΠ²ΠΈΠ΅ ΡΡΠΎΠ³ΠΎ Π½Π° ΡΠΊΠΎΡΠ΅Π½Π½ΡΡ ΠΏΠΎΠ²Π΅ΡΡ Π½ΠΎΡΡΡΡ 49 ΠΈ 50 ΡΠΎΠ΅Π΄ΠΈΠ½ΠΈΡΠ΅Π»ΡΠ½ΡΡ ΡΠ»Π΅ΠΌΠ΅Π½ΡΠΎΠ² 6 ΠΈ 7 ΠΏΠΎΡΠ²Π»ΡΠ΅ΡΡΡ Π³ΠΎΡΠΈΠ·ΠΎΠ½ΡΠ°Π»ΡΠ½Π°Ρ ΡΠΎΡΡΠ°Π²Π»ΡΡΡΠ°Ρ ΠΎΡ ΡΡΠΈΠ»ΠΈΡ ΡΠΆΠ°ΡΠΈΡ, ΡΡΡΠ΅ΠΌΡΡΠ°ΡΡΡ Π²ΡΡΠΎΠ»ΠΊΠ½ΡΡΡ ΠΈΠ· ΠΎΡΠ²Π΅ΡΡΡΠΈΠΉ ΠΏΡΠΎΡΡΠΈΠ½ Π²ΡΠΎΡΠΎΠΉ ΡΠΎΠ΅Π΄ΠΈΠ½ΠΈΡΠ΅Π»ΡΠ½ΡΠΉ ΡΠ»Π΅ΠΌΠ΅Π½Ρ 7, ΠΎΠ΄Π½Π°ΠΊΠΎ ΠΎΠ½ Π±ΡΠ΄Π΅Ρ ΡΠ΄Π΅ΡΠΆΠΈΠ²Π°ΡΡΡΡ Π·Π° ΡΡΠ΅Ρ ΡΠΈΠ» ΡΡΠ΅Π½ΠΈΡ ΠΌΠ΅ΠΆΠ΄Ρ Π½ΠΈΠΌ ΠΈ ΠΊΠΎΠ½ΡΠ°ΠΊΡΠΈΡΡΡΡΠΈΠΌΠΈ Ρ Π½ΠΈΠΌ ΠΏΠΎΠ²Π΅ΡΡ Π½ΠΎΡΡΡΠΌΠΈ ΠΎΡΠ²Π΅ΡΡΡΠΈΠΉ ΠΏΡΠΎΡΡΠΈΠ½ ΠΈ ΡΠΊΠΎΡΠ΅Π½Π½ΠΎΠΉ ΠΏΠΎΠ²Π΅ΡΡ Π½ΠΎΡΡΡΡ 49 ΡΠΎΠ΅Π΄ΠΈΠ½ΠΈΡΠ΅Π»ΡΠ½ΠΎΠ³ΠΎ ΡΠ»Π΅ΠΌΠ΅Π½ΡΠ° 6. ΠΡΠΎΠΌΠ΅ ΡΠΎΠ³ΠΎ, ΠΏΠΎΡΠΊΠΎΠ»ΡΠΊΡ ΡΠΎΠ΅Π΄ΠΈΠ½ΠΈΡΠ΅Π»ΡΠ½ΡΠ΅ ΡΠ»Π΅ΠΌΠ΅Π½ΡΡ 6 ΠΈ 7 ΡΠ²ΡΠ·Π°Π½Ρ ΠΌΠ΅ΠΆΠ΄Ρ ΡΠΎΠ±ΠΎΠΉ ΡΠΈΠΊΡΠΈΡΡΡΡΠΈΠΌ ΠΏΡΠΈΡΠΏΠΎΡΠΎΠ±Π»Π΅Π½ΠΈΠ΅ΠΌ, ΡΠΎ ΡΡΠ° ΡΠ²ΡΠ·Ρ ΠΎΠ±Π΅ΡΠΏΠ΅ΡΠΈΠ²Π°Π΅Ρ Π΄ΠΎΠΏΠΎΠ»Π½ΠΈΡΠ΅Π»ΡΠ½ΡΡ Π³Π°ΡΠ°Π½ΡΠΈΡ ΡΠ΄Π΅ΡΠΆΠ°Π½ΠΈΡ ΡΠΎΠ΅Π΄ΠΈΠ½ΠΈΡΠ΅Π»ΡΠ½ΡΡ ΡΠ»Π΅ΠΌΠ΅Π½ΡΠΎΠ² Π² ΡΠ°Π±ΠΎΡΠ΅ΠΌ ΠΏΠΎΠ»ΠΎΠΆΠ΅Π½ΠΈΠΈ ΠΈ ΠΈΡΠΊΠ»ΡΡΠ°Π΅Ρ ΠΈΡ ΠΏΠ΅ΡΠ΅ΠΌΠ΅ΡΠ΅Π½ΠΈΠ΅ Π² ΡΡΡΠΊΠΎΠ²ΠΎΠΌ ΡΠΎΠ΅Π΄ΠΈΠ½Π΅Π½ΠΈΠΈ. ΠΡΠΈ Π΄Π»ΠΈΡΠ΅Π»ΡΠ½ΠΎΠΉ ΡΠΊΡΠΏΠ»ΡΠ°ΡΠ°ΡΠΈΠΈ ΡΡΡΠΊΠΎΠ²ΠΎΠ³ΠΎ ΡΠΎΠ΅Π΄ΠΈΠ½Π΅Π½ΠΈΡ, Π±ΠΎΠ»ΡΡΠΈΡ Π½Π°Π³ΡΡΠ·ΠΊΠ°Ρ ΠΈ ΡΠΈΠΊΠ»Π°Ρ Π²ΠΎΠ·ΠΌΠΎΠΆΠ΅Π½ ΠΈΠ·Π½ΠΎΡ ΠΊΠΎΠ½ΡΠ°ΠΊΡΠΈΡΡΡΡΠΈΡ ΡΠ°Π±ΠΎΡΠΈΡ ΠΏΠΎΠ²Π΅ΡΡ Π½ΠΎΡΡΠ΅ΠΉ ΡΡΡΠΊΠΎΠ²ΠΎΠ³ΠΎ ΡΠΎΠ΅Π΄ΠΈΠ½Π΅Π½ΠΈΡ ΠΈ ΠΏΠΎΡΠ²Π»Π΅Π½ΠΈΠ΅ Π·Π°Π·ΠΎΡΠ° ΠΌΠ΅ΠΆΠ΄Ρ Π²Π΅ΡΡ Π½ΠΈΠΌΠΈ ΠΏΠΎΠ²Π΅ΡΡ Π½ΠΎΡΡΡΠΌΠΈ ΡΠ»Π΅ΠΌΠ΅Π½ΡΠ° 7 ΠΈ ΠΎΡΠ²Π΅ΡΡΡΠΈΡ Π² ΠΏΡΠΎΡΡΠΈΠ½Π΅ 12. Π‘ΠΎΠ΅Π΄ΠΈΠ½ΠΈΡΠ΅Π»ΡΠ½ΡΠ΅ ΡΠ»Π΅ΠΌΠ΅Π½ΡΡ 6 ΠΈ 7 ΠΌΠΎΠ³ΡΡ ΠΈΠΌΠ΅ΡΡ Π»ΠΈΡΡ Π½Π΅Π·Π½Π°ΡΠΈΡΠ΅Π»ΡΠ½ΠΎΠ΅ ΠΏΠ΅ΡΠ΅ΠΌΠ΅ΡΠ΅Π½ΠΈΠ΅ Π² ΠΏΡΠΎΡΡΠΈΠ½Π°Ρ ΡΡΡΠΊΠΎΠ²ΠΎΠ³ΠΎ ΡΠΎΠ΅Π΄ΠΈΠ½Π΅Π½ΠΈΡ ΠΏΡΠΈ Π΅Π³ΠΎ ΡΠΆΠ°ΡΠΈΠΈ, ΡΠ°ΠΊ ΠΊΠ°ΠΊ ΠΏΡΠΈ ΠΏΠ΅ΡΠ΅ΠΌΠ΅ΡΠ΅Π½ΠΈΠΈ ΡΠ»Π΅ΠΌΠ΅Π½ΡΠΎΠ² Π²ΡΡΡΡΠΏΡ 29 (ΡΠΈΠ³.8) Π½Π° Π½ΠΈΠΆΠ½Π΅ΠΉ ΠΏΠΎΠ²Π΅ΡΡ Π½ΠΎΡΡΠΈ ΠΏΠ΅ΡΠ²ΠΎΠ³ΠΎ ΡΠΎΠ΅Π΄ΠΈΠ½ΠΈΡΠ΅Π»ΡΠ½ΠΎΠ³ΠΎ ΡΠ»Π΅ΠΌΠ΅Π½ΡΠ° 6 Π±ΡΠ΄ΡΡ Π²Π·Π°ΠΈΠΌΠΎΠ΄Π΅ΠΉΡΡΠ²ΠΎΠ²Π°ΡΡ Ρ ΠΏΠΎΠ²Π΅ΡΡ Π½ΠΎΡΡΡΠΌΠΈ ΠΏΠ»Π°ΡΡΠΈΠ½ 9 ΠΈ 10 ΠΈ ΠΏΡΠ΅ΠΏΡΡΡΡΠ²ΠΎΠ²Π°ΡΡ ΠΏΠ΅ΡΠ΅ΠΌΠ΅ΡΠ΅Π½ΠΈΡ ΡΠΎΠ΅Π΄ΠΈΠ½ΠΈΡΠ΅Π»ΡΠ½ΡΡ ΡΠ»Π΅ΠΌΠ΅Π½ΡΠΎΠ² Π² ΠΏΠΎΠΏΠ΅ΡΠ΅ΡΠ½ΡΡ Π½Π°ΠΏΡΠ°Π²Π»Π΅Π½ΠΈΡΡ ΠΏΠΎ ΠΎΡΠ½ΠΎΡΠ΅Π½ΠΈΡ ΠΊ ΠΏΡΠΎΠ΄ΠΎΠ»ΡΠ½ΠΎΠΉ ΠΎΡΠΈ 11 ΠΏΠΎΡΡΠΎΠ² 3. Π£ΠΏΠΎΠΌΡΠ½ΡΡΡΠ΅ ΠΏΠ΅ΡΠ΅ΠΌΠ΅ΡΠ΅Π½ΠΈΡ Π²ΠΎΠ·ΠΌΠΎΠΆΠ½Ρ Π»ΠΈΡΡ Π² ΠΏΡΠ΅Π΄Π΅Π»Π°Ρ Π·Π°Π·ΠΎΡΠΎΠ² ΠΌΠ΅ΠΆΠ΄Ρ Π²ΡΡΡΡΠΏΠ°ΠΌΠΈ 29 ΡΠΎΠ΅Π΄ΠΈΠ½ΠΈΡΠ΅Π»ΡΠ½ΠΎΠ³ΠΎ ΡΠ»Π΅ΠΌΠ΅Π½ΡΠ° 6 ΠΈ ΠΏΠΎΠ²Π΅ΡΡ Π½ΠΎΡΡΡΠΌΠΈ ΠΏΠ»Π°ΡΡΠΈΠ½ 9 ΠΈ 10. ΠΡΠΈΡΠ΅ΠΌ ΡΠ»Π΅Π΄ΡΠ΅Ρ ΠΎΡΠΌΠ΅ΡΠΈΡΡ, ΡΡΠΎ Π΄Π°Π½Π½ΡΠ΅ Π·Π°Π·ΠΎΡΡ Π²ΡΠ±ΡΠ°Π½Ρ ΠΈΠ· ΡΡΠ»ΠΎΠ²ΠΈΡ ΡΠ²ΠΎΠ±ΠΎΠ΄Π½ΠΎΠΉ ΡΡΡΠ°Π½ΠΎΠ²ΠΊΠΈ ΠΏΠ΅ΡΠ²ΠΎΠ³ΠΎ ΡΠΎΠ΅Π΄ΠΈΠ½ΠΈΡΠ΅Π»ΡΠ½ΠΎΠ³ΠΎ ΡΠ»Π΅ΠΌΠ΅Π½ΡΠ° 6 Π² ΠΎΡΠ²Π΅ΡΡΡΠΈΡΡ ΠΏΠ»Π°ΡΡΠΈΠ½ 9, 10 ΠΈ 12 ΠΏΡΠΎΡΡΠΈΠ½ ΡΡΡΠΊΠΎΠ²ΠΎΠ³ΠΎ ΡΠΎΠ΅Π΄ΠΈΠ½Π΅Π½ΠΈΡ ΠΏΡΠΈ ΠΌΠΎΠ½ΡΠ°ΠΆΠ΅ ΡΠ΅ΠΊΡΠΈΠΉ Π±Π°ΡΠ½ΠΈ ΠΈ Π²Π΅Π»ΠΈΡΠΈΠ½Π° ΡΡΠΈΡ Π·Π°Π·ΠΎΡΠΎΠ² ΡΠ²ΡΠ·Π°Π½Π° Ρ ΠΏΠΎΠ³ΡΠ΅ΡΠ½ΠΎΡΡΡΠΌΠΈ ΠΈΠ·Π³ΠΎΡΠΎΠ²Π»Π΅Π½ΠΈΡ ΠΏΡΠΎΡΡΠΈΠ½ ΡΠΎΠ΅Π΄ΠΈΠ½Π΅Π½ΠΈΡ. ΠΡΠΈ ΠΏΠΎΡΠ²Π»Π΅Π½ΠΈΠΈ Π·Π°Π·ΠΎΡΠΎΠ² Π² ΡΡΡΠΊΠΎΠ²ΠΎΠΌ ΡΠΎΠ΅Π΄ΠΈΠ½Π΅Π½ΠΈΠΈ Π²ΠΎ Π²ΡΠ΅ΠΌΡ Π΄Π»ΠΈΡΠ΅Π»ΡΠ½ΠΎΠΉ ΡΠΊΡΠΏΠ»ΡΠ°ΡΠ°ΡΠΈΠΈ ΠΊΡΠ°Π½Π°, Π·Π°Π·ΠΎΡΡ ΠΌΠΎΠ³ΡΡ Π±ΡΡΡ Π²ΡΠ±ΡΠ°Π½Ρ ΠΏΡΡΠ΅ΠΌ Π΄ΠΎΠΏΠΎΠ»Π½ΠΈΡΠ΅Π»ΡΠ½ΠΎΠΉ Π·Π°Π±ΠΈΠ²ΠΊΠΈ Π²ΡΠΎΡΠΎΠ³ΠΎ ΡΠΎΠ΅Π΄ΠΈΠ½ΠΈΡΠ΅Π»ΡΠ½ΠΎΠ³ΠΎ ΡΠ»Π΅ΠΌΠ΅Π½ΡΠ° 7 Π² ΠΎΡΠ²Π΅ΡΡΡΠΈΡ ΠΏΡΠΎΡΡΠΈΠ½. ΠΠ°Π±ΠΈΠ²ΠΊΠ°, ΠΊΠ°ΠΊ ΠΈ Π² ΠΏΠ΅ΡΠ²ΠΎΠΌ ΡΠ»ΡΡΠ°Π΅, ΠΏΡΠΎΠΈΠ·Π²ΠΎΠ΄ΠΈΡΡΡ Π»Π΅Π³ΠΊΠΈΠΌΠΈ ΡΠ΄Π°ΡΠ°ΠΌΠΈ ΠΏΠΎ ΠΏΠ΅ΡΠ²ΠΎΠΌΡ Π²ΡΡΡΡΠΏΡ 33 Π²ΡΠΎΡΠΎΠ³ΠΎ ΡΠΎΠ΅Π΄ΠΈΠ½ΠΈΡΠ΅Π»ΡΠ½ΠΎΠ³ΠΎ ΡΠ»Π΅ΠΌΠ΅Π½ΡΠ°, ΠΏΠΎΡΠ»Π΅ ΡΠ΅Π³ΠΎ ΠΎΡΡΡΠ΅ΡΡΠ²Π»ΡΡΡ ΠΏΠΎΠ΄ΡΡΠΆΠΊΡ Π³Π°ΠΉΠΊΠΈ 42 Ρ ΠΏΠΎΡΠ»Π΅Π΄ΡΡΡΠ΅ΠΉ Π΅Π΅ ΡΠΈΠΊΡΠ°ΡΠΈΠ΅ΠΉ ΠΊΠΎΠ½ΡΡΠ³Π°ΠΉΠΊΠΎΠΉ. ΠΠ°ΠΉΠΊΠ° 42 ΠΏΡΠΈΠΆΠΈΠΌΠ°Π΅Ρ ΡΠΏΠΎΡ 32 ΠΊ ΡΠΎΡΡΠ΅Π²ΠΎΠΉ ΠΏΠΎΠ²Π΅ΡΡ Π½ΠΎΡΡΠΈ Π²ΡΠΎΡΠΎΠ³ΠΎ ΡΠΎΠ΅Π΄ΠΈΠ½ΠΈΡΠ΅Π»ΡΠ½ΠΎΠ³ΠΎ ΡΠ»Π΅ΠΌΠ΅Π½ΡΠ° 7, ΡΠ΄Π΅ΡΠΆΠΈΠ²Π°Π΅Ρ Π² Π½Π°ΡΡΠ½ΡΡΠΎΠΌ ΠΏΠΎΠ»ΠΎΠΆΠ΅Π½ΠΈΠΈ Π±ΠΎΠ»Ρ 30, ΠΊΠΎΡΠΎΡΡΠΉ ΠΎΠ±ΡΠ°Π·ΡΠ΅Ρ ΡΡΡΠΆΠΊΡ ΡΠΏΠΎΡΠ° 32 Ρ ΠΏΠ΅ΡΠ²ΡΠΌ ΡΠΎΠ΅Π΄ΠΈΠ½ΠΈΡΠ΅Π»ΡΠ½ΡΠΌ ΡΠ»Π΅ΠΌΠ΅Π½ΡΠΎΠΌ 6. Π‘ΡΡΠΆΠΊΠ° ΡΠΎΠ·Π΄Π°Π΅Ρ ΠΏΠΎΡΡΠΎΡΠ½Π½ΠΎΠ΅ ΡΡΠΈΠ»ΠΈΠ΅ ΠΏΠΎΠ΄ΠΆΠ°ΡΠΈΡ ΡΠΏΠΎΡΠ° 32 ΠΊ ΡΠΎΡΡΡ Π²ΡΠΎΡΠΎΠ³ΠΎ ΡΠΎΠ΅Π΄ΠΈΠ½ΠΈΡΠ΅Π»ΡΠ½ΠΎΠ³ΠΎ ΡΠ»Π΅ΠΌΠ΅Π½ΡΠ° 7, ΡΡΠΎ ΠΈΡΠΊΠ»ΡΡΠ°Π΅Ρ ΠΏΠ΅ΡΠ΅ΠΌΠ΅ΡΠ΅Π½ΠΈΠ΅ ΠΏΠΎΡΠ»Π΅Π΄Π½Π΅Π³ΠΎ ΠΎΡΠ½ΠΎΡΠΈΡΠ΅Π»ΡΠ½ΠΎ ΠΏΠ΅ΡΠ²ΠΎΠ³ΠΎ ΡΠΎΠ΅Π΄ΠΈΠ½ΠΈΡΠ΅Π»ΡΠ½ΠΎΠ³ΠΎ ΡΠ»Π΅ΠΌΠ΅Π½ΡΠ° 6. ΠΠ΅ΠΌΠΎΠ½ΡΠ°ΠΆ ΡΡΡΠΊΠΎΠ²ΠΎΠ³ΠΎ ΡΠΎΠ΅Π΄ΠΈΠ½Π΅Π½ΠΈΡ ΠΏΡΠΎΠ²ΠΎΠ΄ΠΈΡΡΡ Π² ΠΎΠ±ΡΠ°ΡΠ½ΠΎΠΉ ΠΏΠΎΡΠ»Π΅Π΄ΠΎΠ²Π°ΡΠ΅Π»ΡΠ½ΠΎΡΡΠΈ, ΠΏΡΠΈ ΡΡΠΎΠΌ Π²ΡΠΎΡΠΎΠΉ ΡΠΎΠ΅Π΄ΠΈΠ½ΠΈΡΠ΅Π»ΡΠ½ΡΠΉ ΡΠ»Π΅ΠΌΠ΅Π½Ρ Π²ΡΠ±ΠΈΠ²Π°ΡΡ ΠΈΠ· ΠΎΡΠ²Π΅ΡΡΡΠΈΠΉ ΠΏΠ»Π°ΡΡΠΈΠ½ 9, 10 ΠΈ 12 ΡΠ΄Π°ΡΠ°ΠΌΠΈ ΠΏΠΎ Π΅Π³ΠΎ Π²ΡΡΡΡΠΏΡ 48. Π‘ΠΎΠ²ΠΎΠΊΡΠΏΠ½ΠΎΡΡΡ ΡΡΡΠ΅ΡΡΠ²Π΅Π½Π½ΡΡ ΠΏΡΠΈΠ·Π½Π°ΠΊΠΎΠ² ΡΡΡΠΊΠΎΠ²ΠΎΠ³ΠΎ ΡΠΎΠ΅Π΄ΠΈΠ½Π΅Π½ΠΈΡ ΠΌΠ΅ΡΠ°Π»Π»ΠΎΠΊΠΎΠ½ΡΡΡΡΠΊΡΠΈΠΈ ΠΎΠ±Π΅ΡΠΏΠ΅ΡΠΈΠ²Π°Π΅Ρ ΠΏΠΎΠ²ΡΡΠ΅Π½ΠΈΠ΅ Π½Π°Π΄Π΅ΠΆΠ½ΠΎΡΡΠΈ ΠΈ ΡΡΡΠ΅ΠΊΡΠΈΠ²Π½ΠΎΡΡΠΈ ΡΡΡΠΊΠΎΠ²ΠΊΠΈ Π΅Π΅ ΠΏΠΎΡΡΠΎΠ² Π½Π° ΠΎΠΏΠΈΡΠ°Π½Π½ΠΎΠΌ Π²ΡΡΠ΅ ΠΏΡΠΈΠΌΠ΅ΡΠ΅ ΡΡΡΠΊΠΎΠ²ΠΊΠΈ ΡΠ΅ΠΊΡΠΈΠΉ Π±Π°ΡΠ½ΠΈ Π±Π°ΡΠ΅Π½Π½ΠΎΠ³ΠΎ ΠΊΡΠ°Π½Π°, ΠΊΠΎΠ³Π΄Π° ΡΡΡΠΊΡΡΡΡΡ ΠΎΠ΄Π½ΠΎΠ²ΡΠ΅ΠΌΠ΅Π½Π½ΠΎ ΡΠ΅ΡΡΡΠ΅ ΠΏΠ°ΡΡ ΠΏΠΎΡΡΠΎΠ², ΠΏΡΠΈΡΠ΅ΠΌ ΠΏΡΠΎΡΡΠΈΠ½Ρ ΡΡΠΈΡ ΠΏΠ°Ρ ΠΏΠΎΡΡΠΎΠ² ΡΠΎΠ²ΠΌΠ΅ΡΠ°ΡΡΡΡ ΠΏΠΎ ΡΠ΅ΡΡΡΠ΅ΠΌ ΠΏΠ°ΡΠ°Π»Π»Π΅Π»ΡΠ½ΡΠΌ ΠΎΡΡΠΌ. ΠΠΎΠ½ΡΡΡΡΠΊΡΠΈΡ ΡΡΡΠΊΠΎΠ²ΠΎΠ³ΠΎ ΡΠΎΠ΅Π΄ΠΈΠ½Π΅Π½ΠΈΡ ΠΎΠ±Π΅ΡΠΏΠ΅ΡΠΈΠ²Π°Π΅Ρ ΡΠ°ΠΊΠΆΠ΅ ΡΠΏΡΠΎΡΠ΅Π½ΠΈΠ΅ ΡΠ΅Ρ Π½ΠΎΠ»ΠΎΠ³ΠΈΠΈ Π΅Π³ΠΎ ΠΈΠ·Π³ΠΎΡΠΎΠ²Π»Π΅Π½ΠΈΡ. ΠΡΡΠΎΡΠ½ΠΈΠΊΠΈ ΠΈΠ½ΡΠΎΡΠΌΠ°ΡΠΈΠΈ
1. ΠΡΠΎΡΠΏΠ΅ΠΊΡ ΠΠΠ “ΠΠ°ΠΊΡΠ°”, Π., “ΠΠ°ΠΊΡΠ°”, 1989. 2. ΠΠ²ΡΠΎΡΡΠΊΠΎΠ΅ ΡΠ²ΠΈΠ΄Π΅ΡΠ΅Π»ΡΡΡΠ²ΠΎ Π‘Π‘Π‘Π N670527, ΠΊΠ». Π 66 Π‘ 23/62, 1978. 3. ΠΠ²ΡΠΎΡΡΠΊΠΎΠ΅ ΡΠ²ΠΈΠ΄Π΅ΡΠ΅Π»ΡΡΡΠ²ΠΎ Π‘Π‘Π‘Π N 542713, ΠΊΠ». Π 66 Π‘ 23/64, 1972 (ΠΏΡΠΎΡΠΎΡΠΈΠΏ).
Π€ΠΎΡΠΌΡΠ»Π° ΠΈΠ·ΠΎΠ±ΡΠ΅ΡΠ΅Π½ΠΈΡ
Π ΠΠ‘Π£ΠΠΠ
Π ΠΈΡΡΠ½ΠΎΠΊΒ 1, Π ΠΈΡΡΠ½ΠΎΠΊΒ 2, Π ΠΈΡΡΠ½ΠΎΠΊΒ 3, Π ΠΈΡΡΠ½ΠΎΠΊΒ 4, Π ΠΈΡΡΠ½ΠΎΠΊΒ 5, Π ΠΈΡΡΠ½ΠΎΠΊΒ 6, Π ΠΈΡΡΠ½ΠΎΠΊΒ 7, Π ΠΈΡΡΠ½ΠΎΠΊΒ 8, Π ΠΈΡΡΠ½ΠΎΠΊΒ 9, Π ΠΈΡΡΠ½ΠΎΠΊΒ 10, Π ΠΈΡΡΠ½ΠΎΠΊΒ 11www.findpatent.ru
| 1. |
ΠΡΠΎΠ΄Π°Π΅ΡΡΡ Π±Π°ΡΠ΅Π½Π½ΡΠΉ ΠΊΡΠ°Π½ POTAIN MD 208 ΠΡΠ°Π½ Π±Π°ΡΠ΅Π½Π½ΡΠΉ 1950 Π³. 09.10.2017 |
ΠΠΎΠ²Π°ΡΠΎΠ²Π° Π‘Π²Π΅ΡΠ»Π°Π½Π° ΠΠΈΠΊΡΠΎΡΠΎΠ²Π½Π°
Π³. Π‘Π°Π½ΠΊΡ-ΠΠ΅ΡΠ΅ΡΠ±ΡΡΠ³ |
12Β 500Β 000 | |
| 2. |
Potain IGO 32 ΠΡΠ°Π½ Π±Π°ΡΠ΅Π½Π½ΡΠΉ 1950 Π³. 27.03.2018 |
ΠΠ»ΡΡ
Π³. ΠΡΠ°ΡΠ½ΠΎΠ΄Π°Ρ |
ΡΠ΅Π½Π° ΠΏΠΎ Π·Π°ΠΏΡΠΎΡΡ | |
| 3. |
Potain F2 / 23A ΠΡΠ°Π½ Π±Π°ΡΠ΅Π½Π½ΡΠΉ 1979 Π³. 20.11.2017 |
ΠΠΠ Π‘ΡΡΠΎΠΉ
Π³. ΠΠΎΡΠΊΠ²Π° |
ΡΠ΅Π½Π° ΠΏΠΎ Π·Π°ΠΏΡΠΎΡΡ | |
| 4. |
ΠΠ°ΡΠ΅Π½Π½ΡΠΉ ΠΊΡΠ°Π½ Potain 646 G/DM Π±/Ρ ΠΡΠ°Π½ Π±Π°ΡΠ΅Π½Π½ΡΠΉ 1981 Π³. 10.04.2018 |
ΠΠΠ “ΠΠ²ΡΠΎΠ₯ΠΎΠ»Π΄ΠΈΠ½Π³”
Π³. ΠΠΎΡΠΊΠ²Π° |
ΡΠ΅Π½Π° ΠΏΠΎ Π·Π°ΠΏΡΠΎΡΡ | |
| 5. |
ΠΠ°ΡΠ΅Π½Π½ΡΠ΅ ΠΊΡΠ°Π½Ρ ΠΠ 415.02 Π² ΠΊΠΎΠ»-Π²Π΅ 5 Π΅Π΄ ΠΡΠ°Π½ Π±Π°ΡΠ΅Π½Π½ΡΠΉ 1950 Π³. 16.10.2017 |
ΠΠΠ “Π’ΠΎΡΠ³ΠΎΠ²ΡΠΉ ΠΠΎΠΌ “ΠΠΠ Π”
Π³. Π‘Π°Π½ΠΊΡ-ΠΠ΅ΡΠ΅ΡΠ±ΡΡΠ³ |
5Β 500Β 000 | |
| 6. |
ΠΠ°ΡΠ΅Π½Π½ΡΠΉ ΠΊΡΠ°Π½ ΠΠΠ Π‘ 300Π ΠΡΠ°Π½ Π±Π°ΡΠ΅Π½Π½ΡΠΉ 1950 Π³. 09.10.2017 |
ΠΠΠ “Π’ΠΎΡΠ³ΠΎΠ²ΡΠΉ ΠΠΎΠΌ “ΠΠΠ Π”
Π³. Π‘Π°Π½ΠΊΡ-ΠΠ΅ΡΠ΅ΡΠ±ΡΡΠ³ |
2Β 300Β 000 | |
| 7. |
Potain S.A.S. IGO 36 ΠΡΠ°Π½ Π±Π°ΡΠ΅Π½Π½ΡΠΉ 2007 Π³. 01.06.2017 |
ΠΠ°Π½Π·Π°Π‘ΡΡΠΎΠΉ
Π³. Π‘Π°Π½ΠΊΡ-ΠΠ΅ΡΠ΅ΡΠ±ΡΡΠ³ |
ΡΠ΅Π½Π° ΠΏΠΎ Π·Π°ΠΏΡΠΎΡΡ | |
| 8. |
ΠΡΠΎΠ΄Π°Π΅ΡΡΡ Π±Π°ΡΠ΅Π½Π½ΡΠΉ ΠΊΡΠ°Π½ POTAIN FO 23-B ΠΡΠ°Π½ Π±Π°ΡΠ΅Π½Π½ΡΠΉ 2008 Π³. 07.05.2018 |
Π’ΠΎΡΠ³ΠΎΠ²ΡΠΉ Π΄ΠΎΠΌ ΠΠΈΡΠ°
Π³. Π‘Π°Π½ΠΊΡ-ΠΠ΅ΡΠ΅ΡΠ±ΡΡΠ³ |
6Β 500Β 000 | |
| 9. |
Potain S.A.S. MC – 45 ΠΡΠ°Π½ Π±Π°ΡΠ΅Π½Π½ΡΠΉ 1998 Π³. 18.05.2017 |
ΠΠΈΠΊΠΎΠ»Π°ΠΉ
Π³. Π ΠΎΡΡΠΎΠ²-Π½Π°-ΠΠΎΠ½Ρ |
1Β 070Β 000 | |
| 10. |
Potain S.A.S. ΠΡΠ°Π½ Π±Π°ΡΠ΅Π½Π½ΡΠΉ 2008 Π³. 16.05.2017 |
ΠΠ°Π½Π·Π°Π‘ΡΡΠΎΠΉ
Π³. Π‘Π°Π½ΠΊΡ-ΠΠ΅ΡΠ΅ΡΠ±ΡΡΠ³ |
ΡΠ΅Π½Π° ΠΏΠΎ Π·Π°ΠΏΡΠΎΡΡ |
www.stroyteh.ru
Π‘ΠΏΠΎΡΠΎΠ± ΠΏΠΎΠ΄ΡΠ°ΡΠΈΠ²Π°Π½ΠΈΡ Π±Π°ΡΠ½ΠΈ Π±Π°ΡΠ΅Π½Π½ΠΎΠ³ΠΎ ΠΊΡΠ°Π½Π°
ΠΠ·ΠΎΠ±ΡΠ΅ΡΠ΅Π½ΠΈΠ΅ ΠΎΡΠ½ΠΎΡΠΈΡΡΡ ΠΊ ΡΡΠ΅Π΄ΡΡΠ²Π°ΠΌ ΠΌΠΎΠ½ΡΠ°ΠΆΠ° ΠΈ Π΄Π΅ΠΌΠΎΠ½ΡΠ°ΠΆΠ° Π±Π°ΡΠ΅Π½Π½ΡΡ ΠΊΡΠ°Π½ΠΎΠ². ΠΡΠΈ ΠΏΠΎΠ΄ΡΠ°ΡΠΈΠ²Π°Π½ΠΈΠΈ Π±Π°ΡΠ½ΠΈ ΠΊΡΠ°Π½Π° Π·Π°Π²ΠΎΠ΄ΡΡ Π² ΠΏΡΠΎΠ΅ΠΌ ΠΏΠΎΡΡΠ°Π»Π° ΠΊΡΠ°Π½Π° ΠΏΠΎΠ΄ΡΠ°ΡΠΈΠ²Π°Π΅ΠΌΡΡ ΡΠ΅ΠΊΡΠΈΡ Π±Π°ΡΠ½ΠΈ Π² Π΅Π΅ Π½Π°ΠΊΠ»ΠΎΠ½Π½ΠΎΠΌ ΠΏΠΎΠ»ΠΎΠΆΠ΅Π½ΠΈΠΈ, Π·Π°ΡΠ΅ΠΌ ΡΡΡΠ°Π½Π°Π²Π»ΠΈΠ²Π°ΡΡ ΠΏΠΎΠ΄ΡΠ°ΡΠΈΠ²Π°Π΅ΠΌΡΡ ΡΠ΅ΠΊΡΠΈΡ Π² ΠΏΡΠΎΠ΅ΠΌΠ΅ ΠΏΠΎΡΡΠ°Π»Π° Π² Π²Π΅ΡΡΠΈΠΊΠ°Π»ΡΠ½ΠΎΠ΅ ΠΏΠΎΠ»ΠΎΠΆΠ΅Π½ΠΈΠ΅, Π΄Π°Π»Π΅Π΅ ΠΏΠΎΠ΄Π½ΠΈΠΌΠ°ΡΡ ΠΏΠΎΠ΄ΡΠ°ΡΠΈΠ²Π°Π΅ΠΌΡΡ ΡΠ΅ΠΊΡΠΈΡ ΠΈ ΡΡΡΠΊΡΡΡ Π΅Π΅ Ρ Π½ΠΈΠΆΠ½Π΅ΠΉ ΡΠ΅ΠΊΡΠΈΠ΅ΠΉ Π±Π°ΡΠ½ΠΈ, ΡΠ°ΡΠΏΠΎΠ»ΠΎΠΆΠ΅Π½Π½ΠΎΠΉ Π½Π°Π΄ ΠΏΠΎΠ΄ΡΠ°ΡΠΈΠ²Π°Π΅ΠΌΠΎΠΉ ΡΠ΅ΠΊΡΠΈΠ΅ΠΉ. ΠΠΎΡΠ»Π΅ ΠΏΡΠΎΠ²Π΅Π΄Π΅Π½Π½ΡΡ ΠΎΠΏΠ΅ΡΠ°ΡΠΈΠΉ Π±Π°ΡΠ½Ρ Π²ΠΌΠ΅ΡΡΠ΅ Ρ ΡΠ΅ΠΊΡΠΈΠ΅ΠΉ Π²ΡΠ΄Π²ΠΈΠ³Π°ΡΡ ΠΈΠ· ΠΏΠΎΡΡΠ°Π»Π° Π΄ΠΎ ΠΌΠΎΠΌΠ΅Π½ΡΠ° ΠΎΡΠ²ΠΎΠ±ΠΎΠΆΠ΄Π΅Π½ΠΈΡ ΠΏΡΠΎΠ΅ΠΌΠ° ΠΏΠΎΡΡΠ°Π»Π°. Π Π½Π°ΡΠ°Π»Π΅ ΠΌΠΎΠ½ΡΠ°ΠΆΠ° Π·Π°Π²ΠΎΠ΄ΡΡ Π² ΠΏΡΠΎΠ΅ΠΌ ΠΏΠΎΡΡΠ°Π»Π° Π²Π΅ΡΡ Π½ΡΡ ΡΠ°ΡΡΡ ΠΏΠΎΠ΄ΡΠ°ΡΠΈΠ²Π°Π΅ΠΌΠΎΠΉ ΡΠ΅ΠΊΡΠΈΠΈ ΠΈ ΠΏΠΎΠ΄Π²Π΅ΡΠΈΠ²Π°ΡΡ Π½Π° ΠΏΠΎΡΡΠ°Π»Π΅ ΠΊΡΠ°Π½Π° ΠΏΠΎΠ΄ΡΠ°ΡΠΈΠ²Π°Π΅ΠΌΡΡ ΡΠ΅ΠΊΡΠΈΡ Π½Π° ΠΏΠΎΠ΄Π²Π΅ΡΠΊΠ΅ Π² ΡΠΊΠ°Π·Π°Π½Π½ΠΎΠΌ Π½Π°ΠΊΠ»ΠΎΠ½Π½ΠΎΠΌ ΠΏΠΎΠ»ΠΎΠΆΠ΅Π½ΠΈΠΈ Π² ΡΠΎΡΠΊΠ΅ ΠΏΠΎΠ΄Π²Π΅ΡΠ°, ΡΠ°ΡΠΏΠΎΠ»ΠΎΠΆΠ΅Π½Π½ΠΎΠΉ Π½Π°Π΄ ΠΏΡΠΎΠ΅ΠΌΠΎΠΌ ΠΏΠΎΡΡΠ°Π»Π° Π² Π΅Π³ΠΎ Π²Π΅ΡΡ Π½Π΅ΠΉ ΡΠ°ΡΡΠΈ. ΠΠ°ΡΠ΅ΠΌ ΡΡΡΠ°Π½Π°Π²Π»ΠΈΠ²Π°ΡΡ ΠΏΠΎΠ΄ΡΠ°ΡΠΈΠ²Π°Π΅ΠΌΡΡ ΡΠ΅ΠΊΡΠΈΡ Π² Π²Π΅ΡΡΠΈΠΊΠ°Π»ΡΠ½ΠΎΠ΅ ΠΏΠΎΠ»ΠΎΠΆΠ΅Π½ΠΈΠ΅ ΠΏΡΡΠ΅ΠΌ Π΅Π΅ ΠΏΠΎΠ²ΠΎΡΠΎΡΠ° Π²ΠΎΠΊΡΡΠ³ ΡΠΊΠ°Π·Π°Π½Π½ΠΎΠΉ ΡΠΎΡΠΊΠΈ ΠΏΠΎΠ΄Π²Π΅ΡΠ°, ΠΏΠΎΡΠ»Π΅ ΡΠ΅Π³ΠΎ ΠΏΠΎΠ΄ΡΠ°ΡΠΈΠ²Π°Π΅ΠΌΡΡ ΡΠ΅ΠΊΡΠΈΡ ΠΎΡΡΠΎΠ΅Π΄ΠΈΠ½ΡΡΡ ΠΎΡ ΠΏΠΎΠ΄Π²Π΅ΡΠΊΠΈ, ΠΏΠΎΠ΄Π½ΠΈΠΌΠ°ΡΡ ΠΈ ΡΠΎΠ΅Π΄ΠΈΠ½ΡΡΡ Π΅Π΅ Ρ Π½ΠΈΠΆΠ½Π΅ΠΉ ΡΠ΅ΠΊΡΠΈΠ΅ΠΉ Π±Π°ΡΠ½ΠΈ. ΠΡΠΈ Π²ΡΠΏΠΎΠ»Π½Π΅Π½ΠΈΠΈ ΠΎΠΏΠ΅ΡΠ°ΡΠΈΠΈ ΡΡΡΠ°Π½ΠΎΠ²ΠΊΠΈ ΠΏΠΎΠ΄ΡΠ°ΡΠΈΠ²Π°Π΅ΠΌΠΎΠΉ ΡΠ΅ΠΊΡΠΈΠΈ Π² Π²Π΅ΡΡΠΈΠΊΠ°Π»ΡΠ½ΠΎΠ΅ ΠΏΠΎΠ»ΠΎΠΆΠ΅Π½ΠΈΠ΅ Π΅Π΅ ΠΏΠΎΠ²ΠΎΡΠΎΡ ΠΈΠ· Π½Π°ΠΊΠ»ΠΎΠ½Π½ΠΎΠ³ΠΎ ΠΏΠΎΠ»ΠΎΠΆΠ΅Π½ΠΈΡ ΠΎΡΡΡΠ΅ΡΡΠ²Π»ΡΡΡ ΠΏΡΡΠ΅ΠΌ ΠΏΠΎΠ΄ΡΡΠ³ΠΈΠ²Π°Π½ΠΈΡ Π½ΠΈΠΆΠ½Π΅Π³ΠΎ ΠΊΠΎΠ½ΡΠ° ΡΠ΅ΠΊΡΠΈΠΈ ΠΊ ΠΏΠΎΡΡΠ°Π»Ρ, Π½Π°ΠΏΡΠΈΠΌΠ΅Ρ, Π³ΠΈΠ±ΠΊΠΎΠΉ ΡΡΠ³ΠΎΠΉ. ΠΠΎΠ΄ΡΠ°ΡΠΈΠ²Π°Π΅ΠΌΡΡ ΡΠ΅ΠΊΡΠΈΡ ΠΏΠΎΠ΄Π²Π΅ΡΠΈΠ²Π°ΡΡ ΠΊ Π²Π½Π΅ΡΠ½Π΅ΠΉ ΡΡΠΎΡΠΎΠ½Π΅ Π²Π΅ΡΡ Π½Π΅ΠΉ ΡΠ°ΡΡΠΈ ΠΏΠΎΡΡΠ°Π»Π°. ΠΠΎΡΡΠΈΠ³Π°Π΅ΡΡΡ ΡΠΏΡΠΎΡΠ΅Π½ΠΈΠ΅ ΠΌΠΎΠ½ΡΠ°ΠΆΠ° ΠΈ ΡΠΎΠΊΡΠ°ΡΠ΅Π½ΠΈΠ΅ ΡΡΡΠ΄ΠΎΠ΅ΠΌΠΊΠΎΡΡΠΈ ΠΏΠΎΠ΄ΡΠ°ΡΠΈΠ²Π°Π½ΠΈΡ Π±Π°ΡΠ½ΠΈ. 2 Π·.ΠΏ. Ρ-Π»Ρ, 5 ΠΈΠ».
Β
ΠΠ°Π½Π½ΠΎΠ΅ ΡΠ΅Ρ Π½ΠΈΡΠ΅ΡΠΊΠΎΠ΅ ΡΠ΅ΡΠ΅Π½ΠΈΠ΅ ΠΎΡΠ½ΠΎΡΠΈΡΡΡ ΠΊ ΡΡΠ΅Π΄ΡΡΠ²Π°ΠΌ ΠΌΠΎΠ½ΡΠ°ΠΆΠ° ΠΈ Π΄Π΅ΠΌΠΎΠ½ΡΠ°ΠΆΠ° Π±Π°ΡΠ΅Π½Π½ΡΡ ΠΊΡΠ°Π½ΠΎΠ², ΡΠ»ΡΠΆΠ°ΡΠΈΠΌ Π² ΡΠΎΠΌ ΡΠΈΡΠ»Π΅ Π΄Π»Ρ ΠΏΠΎΠ΄ΡΠ°ΡΠΈΠ²Π°Π½ΠΈΡ Π±Π°ΡΠ½ΠΈ ΠΊΡΠ°Π½Π° Π²ΠΎ Π²ΡΠ΅ΠΌΡ Π΅Π³ΠΎ ΡΠΊΡΠΏΠ»ΡΠ°ΡΠ°ΡΠΈΠΈ.
ΠΠ·Π²Π΅ΡΡΠ½Ρ ΡΠΏΠΎΡΠΎΠ±Ρ ΠΏΠΎΠ΄ΡΠ°ΡΠΈΠ²Π°Π½ΠΈΡ Π±Π°ΡΠ½ΠΈ ΠΊΡΠ°Π½Π°, ΠΊΠ°ΠΆΠ΄ΡΠΉ ΠΈΠ· ΠΊΠΎΡΠΎΡΡΡ Π²ΠΊΠ»ΡΡΠ°Π΅Ρ ΠΎΠΏΠ΅ΡΠ°ΡΠΈΡ Π·Π°Π²Π΅Π΄Π΅Π½ΠΈΡ Π² ΠΏΡΠΎΠ΅ΠΌ ΠΏΠΎΡΡΠ°Π»Π° ΠΊΡΠ°Π½Π° ΠΏΠΎΠ΄ΡΠ°ΡΠΈΠ²Π°Π΅ΠΌΡΡ ΡΠ΅ΠΊΡΠΈΡ Π±Π°ΡΠ½ΠΈ, ΡΡΡΠ°Π½ΠΎΠ²ΠΊΡ ΠΏΠΎΠ΄ΡΠ°ΡΠΈΠ²Π°Π΅ΠΌΠΎΠΉ ΡΠ΅ΠΊΡΠΈΠΈ Π² ΠΏΡΠΎΠ΅ΠΌΠ΅ ΠΏΠΎΡΡΠ°Π»Π° Π² ΠΌΠΎΠ½ΡΠ°ΠΆΠ½ΠΎΠ΅ ΠΏΠΎΠ»ΠΎΠΆΠ΅Π½ΠΈΠ΅, ΠΏΠΎΠ΄ΡΠ΅ΠΌ ΠΏΠΎΠ΄ΡΠ°ΡΠΈΠ²Π°Π΅ΠΌΠΎΠΉ ΡΠ΅ΠΊΡΠΈΠΈ, ΡΡΡΠΊΠΎΠ²ΠΊΡ Π΅Π΅ Ρ Π½ΠΈΠΆΠ½Π΅ΠΉ ΡΠ΅ΠΊΡΠΈΠ΅ΠΉ Π±Π°ΡΠ½ΠΈ, ΡΠ°ΡΠΏΠΎΠ»ΠΎΠΆΠ΅Π½Π½ΠΎΠΉ Π½Π°Π΄ ΠΏΠΎΠ΄ΡΠ°ΡΠΈΠ²Π°Π΅ΠΌΠΎΠΉ ΡΠ΅ΠΊΡΠΈΠ΅ΠΉ ΠΈ Π²ΡΠ΄Π²ΠΈΠΆΠ΅Π½ΠΈΠ΅ Π±Π°ΡΠ½ΠΈ ΠΈΠ· ΠΏΠΎΡΡΠ°Π»Π° Π΄ΠΎ ΠΌΠΎΠΌΠ΅Π½ΡΠ° ΠΎΡΠ²ΠΎΠ±ΠΎΠΆΠ΄Π΅Π½ΠΈΡ ΠΏΡΠΎΠ΅ΠΌΠ° ΠΏΠΎΡΡΠ°Π»Π° (DE 3337911, 19.10.1983), (DE 2253201, 07.10.1976).
ΠΠ· ΠΈΠ·Π²Π΅ΡΡΠ½ΡΡ ΡΠΏΠΎΡΠΎΠ±ΠΎΠ² Π½Π°ΠΈΠ±ΠΎΠ»Π΅Π΅ Π±Π»ΠΈΠ·ΠΊΠΈΠΌ ΠΊ ΠΏΡΠ΅Π΄ΡΡΠ°Π²Π»Π΅Π½Π½ΠΎΠΌΡ Π² Π΄Π°Π½Π½ΠΎΠΌ ΠΎΠΏΠΈΡΠ°Π½ΠΈΠΈ ΡΠ΅Ρ Π½ΠΈΡΠ΅ΡΠΊΠΎΠΌΡ ΡΠ΅ΡΠ΅Π½ΠΈΡ ΡΠ²Π»ΡΠ΅ΡΡΡ ΡΠΏΠΎΡΠΎΠ± ΠΏΠΎΠ΄ΡΠ°ΡΠΈΠ²Π°Π½ΠΈΡ Π±Π°ΡΠ½ΠΈ Π±Π°ΡΠ΅Π½Π½ΠΎΠ³ΠΎ ΠΊΡΠ°Π½Π°, Ρ Π°ΡΠ°ΠΊΡΠ΅ΡΠΈΠ·ΡΡΡΠΈΠΉΡΡ ΡΠ΅ΠΌ, ΡΡΠΎ Π·Π°Π²ΠΎΠ΄ΡΡ Π² ΠΏΡΠΎΠ΅ΠΌ ΠΏΠΎΡΡΠ°Π»Π° ΠΊΡΠ°Π½Π° ΠΏΠΎΠ΄ΡΠ°ΡΠΈΠ²Π°Π΅ΠΌΡΡ ΡΠ΅ΠΊΡΠΈΡ Π±Π°ΡΠ½ΠΈ Π² Π΅Π΅ Π½Π°ΠΊΠ»ΠΎΠ½Π½ΠΎΠΌ ΠΏΠΎΠ»ΠΎΠΆΠ΅Π½ΠΈΠΈ, Π·Π°ΡΠ΅ΠΌ ΡΡΡΠ°Π½Π°Π²Π»ΠΈΠ²Π°ΡΡ ΠΏΠΎΠ΄ΡΠ°ΡΠΈΠ²Π°Π΅ΠΌΡΡ ΡΠ΅ΠΊΡΠΈΡ Π² ΠΏΡΠΎΠ΅ΠΌΠ΅ ΠΏΠΎΡΡΠ°Π»Π° Π² Π²Π΅ΡΡΠΈΠΊΠ°Π»ΡΠ½ΠΎΠ΅ ΠΏΠΎΠ»ΠΎΠΆΠ΅Π½ΠΈΠ΅, Π΄Π°Π»Π΅Π΅ ΠΏΠΎΠ΄Π½ΠΈΠΌΠ°ΡΡ ΠΏΠΎΠ΄ΡΠ°ΡΠΈΠ²Π°Π΅ΠΌΡΡ ΡΠ΅ΠΊΡΠΈΡ ΠΈ ΡΡΡΠΊΡΡΡ Π΅Π΅ Ρ Π½ΠΈΠΆΠ½Π΅ΠΉ ΡΠ΅ΠΊΡΠΈΠ΅ΠΉ Π±Π°ΡΠ½ΠΈ, ΡΠ°ΡΠΏΠΎΠ»ΠΎΠΆΠ΅Π½Π½ΠΎΠΉ Π½Π°Π΄ ΠΏΠΎΠ΄ΡΠ°ΡΠΈΠ²Π°Π΅ΠΌΠΎΠΉ ΡΠ΅ΠΊΡΠΈΠ΅ΠΉ, ΠΏΠΎΡΠ»Π΅ ΡΠ΅Π³ΠΎ Π±Π°ΡΠ½Ρ Π²ΠΌΠ΅ΡΡΠ΅ Ρ ΡΠ΅ΠΊΡΠΈΠ΅ΠΉ Π²ΡΠ΄Π²ΠΈΠ³Π°ΡΡ ΠΈΠ· ΠΏΠΎΡΡΠ°Π»Π° Π΄ΠΎ ΠΌΠΎΠΌΠ΅Π½ΡΠ° ΠΎΡΠ²ΠΎΠ±ΠΎΠΆΠ΄Π΅Π½ΠΈΡ ΠΏΡΠΎΠ΅ΠΌΠ° ΠΏΠΎΡΡΠ°Π»Π° (RU 2291101, 10.01.2007).
Π ΡΡΠΎΠΌ ΡΠΏΠΎΡΠΎΠ±Π΅ ΠΈΠΌΠ΅Π΅ΡΡΡ ΡΡΠ°Π²Π½ΠΈΡΠ΅Π»ΡΠ½ΠΎ Π±ΠΎΠ»ΡΡΠΎΠ΅ ΡΠΈΡΠ»ΠΎ ΠΏΡΠΎΠΌΠ΅ΠΆΡΡΠΎΡΠ½ΡΡ ΠΎΠΏΠ΅ΡΠ°ΡΠΈΠΉ, ΡΡΠ»ΠΎΠΆΠ½ΡΡΡΠΈΡ ΠΏΡΠΎΡΠ΅ΡΡ ΠΏΠΎΠ΄ΡΠ°ΡΠΈΠ²Π°Π½ΠΈΡ Π±Π°ΡΠ½ΠΈ ΠΊΡΠ°Π½Π°.
Π Π΅Π·ΡΠ»ΡΡΠ°ΡΠΎΠΌ ΠΏΡΠ΅Π΄ΡΡΠ°Π²Π»Π΅Π½Π½ΠΎΠ³ΠΎ Π² Π΄Π°Π½Π½ΠΎΠΌ ΠΎΠΏΠΈΡΠ°Π½ΠΈΠΈ ΡΠΏΠΎΡΠΎΠ±Π° ΡΠ²Π»ΡΠ΅ΡΡΡ Π΅Π³ΠΎ ΡΠΏΡΠΎΡΠ΅Π½ΠΈΠ΅, Π° ΡΠ°ΠΊΠΆΠ΅ ΡΠΎΠΊΡΠ°ΡΠ΅Π½ΠΈΠ΅ ΡΡΡΠ΄ΠΎΠ΅ΠΌΠΊΠΎΡΡΠΈ ΠΏΠΎΠ΄ΡΠ°ΡΠΈΠ²Π°Π½ΠΈΡ Π±Π°ΡΠ½ΠΈ.
Π Π΅Π·ΡΠ»ΡΡΠ°Ρ ΠΏΠΎΠ»ΡΡΠ΅Π½ ΡΠΏΠΎΡΠΎΠ±ΠΎΠΌ ΠΏΠΎΠ΄ΡΠ°ΡΠΈΠ²Π°Π½ΠΈΡ Π±Π°ΡΠ½ΠΈ Π±Π°ΡΠ΅Π½Π½ΠΎΠ³ΠΎ ΠΊΡΠ°Π½Π°, Ρ Π°ΡΠ°ΠΊΡΠ΅ΡΠΈΠ·ΡΡΡΠΈΠΌΡΡ ΡΠ΅ΠΌ, ΡΡΠΎ Π·Π°Π²ΠΎΠ΄ΡΡ Π² ΠΏΡΠΎΠ΅ΠΌ ΠΏΠΎΡΡΠ°Π»Π° ΠΊΡΠ°Π½Π° ΠΏΠΎΠ΄ΡΠ°ΡΠΈΠ²Π°Π΅ΠΌΡΡ ΡΠ΅ΠΊΡΠΈΡ Π±Π°ΡΠ½ΠΈ Π² Π΅Π΅ Π½Π°ΠΊΠ»ΠΎΠ½Π½ΠΎΠΌ ΠΏΠΎΠ»ΠΎΠΆΠ΅Π½ΠΈΠΈ, Π·Π°ΡΠ΅ΠΌ ΡΡΡΠ°Π½Π°Π²Π»ΠΈΠ²Π°ΡΡ ΠΏΠΎΠ΄ΡΠ°ΡΠΈΠ²Π°Π΅ΠΌΡΡ ΡΠ΅ΠΊΡΠΈΡ Π² ΠΏΡΠΎΠ΅ΠΌΠ΅ ΠΏΠΎΡΡΠ°Π»Π° Π² Π²Π΅ΡΡΠΈΠΊΠ°Π»ΡΠ½ΠΎΠ΅ ΠΏΠΎΠ»ΠΎΠΆΠ΅Π½ΠΈΠ΅, Π΄Π°Π»Π΅Π΅ ΠΏΠΎΠ΄Π½ΠΈΠΌΠ°ΡΡ ΠΏΠΎΠ΄ΡΠ°ΡΠΈΠ²Π°Π΅ΠΌΡΡ ΡΠ΅ΠΊΡΠΈΡ ΠΈ ΡΡΡΠΊΡΡΡ Π΅Π΅ Ρ Π½ΠΈΠΆΠ½Π΅ΠΉ ΡΠ΅ΠΊΡΠΈΠ΅ΠΉ Π±Π°ΡΠ½ΠΈ, ΡΠ°ΡΠΏΠΎΠ»ΠΎΠΆΠ΅Π½Π½ΠΎΠΉ Π½Π°Π΄ ΠΏΠΎΠ΄ΡΠ°ΡΠΈΠ²Π°Π΅ΠΌΠΎΠΉ ΡΠ΅ΠΊΡΠΈΠ΅ΠΉ, ΠΏΠΎΡΠ»Π΅ ΡΠ΅Π³ΠΎ Π±Π°ΡΠ½Ρ Π²ΠΌΠ΅ΡΡΠ΅ Ρ ΡΠ΅ΠΊΡΠΈΠ΅ΠΉ Π²ΡΠ΄Π²ΠΈΠ³Π°ΡΡ ΠΈΠ· ΠΏΠΎΡΡΠ°Π»Π° Π΄ΠΎ ΠΌΠΎΠΌΠ΅Π½ΡΠ° ΠΎΡΠ²ΠΎΠ±ΠΎΠΆΠ΄Π΅Π½ΠΈΡ ΠΏΡΠΎΠ΅ΠΌΠ° ΠΏΠΎΡΡΠ°Π»Π°, ΠΎΡΠ»ΠΈΡΠ°ΡΡΠΈΠΌΡΡ ΡΠ΅ΠΌ, ΡΡΠΎ ΡΠ½Π°ΡΠ°Π»Π° Π·Π°Π²ΠΎΠ΄ΡΡ Π² ΠΏΡΠΎΠ΅ΠΌ ΠΏΠΎΡΡΠ°Π»Π° Π²Π΅ΡΡ Π½ΡΡ ΡΠ°ΡΡΡ ΠΏΠΎΠ΄ΡΠ°ΡΠΈΠ²Π°Π΅ΠΌΠΎΠΉ ΡΠ΅ΠΊΡΠΈΠΈ ΠΈ ΠΏΠΎΠ΄Π²Π΅ΡΠΈΠ²Π°ΡΡ ΠΏΠΎΠ΄ΡΠ°ΡΠΈΠ²Π°Π΅ΠΌΡΡ ΡΠ΅ΠΊΡΠΈΡ Π½Π° ΠΏΠΎΠ΄Π²Π΅ΡΠΊΠ΅ Π² ΡΠΊΠ°Π·Π°Π½Π½ΠΎΠΌ Π½Π°ΠΊΠ»ΠΎΠ½Π½ΠΎΠΌ ΠΏΠΎΠ»ΠΎΠΆΠ΅Π½ΠΈΠΈ Π² ΡΠΎΡΠΊΠ΅ ΠΏΠΎΠ΄Π²Π΅ΡΠ°, ΡΠ°ΡΠΏΠΎΠ»ΠΎΠΆΠ΅Π½Π½ΠΎΠΉ Π½Π°Π΄ ΠΏΡΠΎΠ΅ΠΌΠΎΠΌ ΠΏΠΎΡΡΠ°Π»Π° Π² Π΅Π³ΠΎ Π²Π΅ΡΡ Π½Π΅ΠΉ ΡΠ°ΡΡΠΈ, Π·Π°ΡΠ΅ΠΌ ΡΡΡΠ°Π½Π°Π²Π»ΠΈΠ²Π°ΡΡ ΠΏΠΎΠ΄ΡΠ°ΡΠΈΠ²Π°Π΅ΠΌΡΡ ΡΠ΅ΠΊΡΠΈΡ Π² Π²Π΅ΡΡΠΈΠΊΠ°Π»ΡΠ½ΠΎΠ΅ ΠΏΠΎΠ»ΠΎΠΆΠ΅Π½ΠΈΠ΅ ΠΏΡΡΠ΅ΠΌ Π΅Π΅ ΠΏΠΎΠ²ΠΎΡΠΎΡΠ° Π²ΠΎΠΊΡΡΠ³ ΡΠΊΠ°Π·Π°Π½Π½ΠΎΠΉ ΡΠΎΡΠΊΠΈ ΠΏΠΎΠ΄Π²Π΅ΡΠ°, ΠΏΠΎΡΠ»Π΅ ΡΠ΅Π³ΠΎ ΠΎΡΡΠΎΠ΅Π΄ΠΈΠ½ΡΡΡ ΠΎΡ ΠΏΠΎΠ΄Π²Π΅ΡΠΊΠΈ ΠΏΠΎΠ΄ΡΠ°ΡΠΈΠ²Π°Π΅ΠΌΡΡ ΡΠ΅ΠΊΡΠΈΡ ΠΈ ΡΠΎΠ΅Π΄ΠΈΠ½ΡΡΡ Π΅Π΅ Ρ Π½ΠΈΠΆΠ½Π΅ΠΉ ΡΠ΅ΠΊΡΠΈΠ΅ΠΉ Π±Π°ΡΠ½ΠΈ.
ΠΡΠΈ Π²ΡΠΏΠΎΠ»Π½Π΅Π½ΠΈΠΈ ΠΎΠΏΠ΅ΡΠ°ΡΠΈΠΈ ΡΡΡΠ°Π½ΠΎΠ²ΠΊΠΈ ΠΏΠΎΠ΄ΡΠ°ΡΠΈΠ²Π°Π΅ΠΌΠΎΠΉ ΡΠ΅ΠΊΡΠΈΠΈ Π² Π²Π΅ΡΡΠΈΠΊΠ°Π»ΡΠ½ΠΎΠ΅ ΠΏΠΎΠ»ΠΎΠΆΠ΅Π½ΠΈΠ΅ Π΅Π΅ ΠΏΠΎΠ²ΠΎΡΠΎΡ ΠΈΠ· Π½Π°ΠΊΠ»ΠΎΠ½Π½ΠΎΠ³ΠΎ ΠΏΠΎΠ»ΠΎΠΆΠ΅Π½ΠΈΡ ΠΎΡΡΡΠ΅ΡΡΠ²Π»ΡΡΡ ΠΏΡΡΠ΅ΠΌ ΠΏΠΎΠ΄ΡΡΠ³ΠΈΠ²Π°Π½ΠΈΡ Π½ΠΈΠΆΠ½Π΅Π³ΠΎ ΠΊΠΎΠ½ΡΠ° ΡΠ΅ΠΊΡΠΈΠΈ ΠΊ ΠΏΠΎΡΡΠ°Π»Ρ, Π½Π°ΠΏΡΠΈΠΌΠ΅Ρ, Π³ΠΈΠ±ΠΊΠΎΠΉ ΡΡΠ³ΠΎΠΉ.
ΠΠΎΠ΄ΡΠ°ΡΠΈΠ²Π°Π΅ΠΌΡΡ ΡΠ΅ΠΊΡΠΈΡ ΠΏΠΎΠ΄Π²Π΅ΡΠΈΠ²Π°ΡΡ ΠΊ Π²Π½Π΅ΡΠ½Π΅ΠΉ ΡΡΠΎΡΠΎΠ½Π΅ Π²Π΅ΡΡ Π½Π΅ΠΉ ΡΠ°ΡΡΠΈ ΠΏΠΎΡΡΠ°Π»Π°.
ΠΠ° ΡΠΈΠ³.1 ΠΏΠΎΠΊΠ°Π·Π°Π½ ΠΏΠΎΡΡΠ°Π» Π±Π°ΡΠ΅Π½Π½ΠΎΠ³ΠΎ ΠΊΡΠ°Π½Π° ΠΈ ΠΏΠΎΠ΄ΡΠ°ΡΠΈΠ²Π°Π΅ΠΌΠ°Ρ ΡΠ΅ΠΊΡΠΈΡ Π±Π°ΡΠ½ΠΈ.
ΠΠ° ΡΠΈΠ³.2 – ΠΎΠΏΠ΅ΡΠ°ΡΠΈΡ Π·Π°Π²Π΅Π΄Π΅Π½ΠΈΡ Π² ΠΏΡΠΎΠ΅ΠΌ ΠΏΠΎΡΡΠ°Π»Π° ΠΏΠΎΠ΄ΡΠ°ΡΠΈΠ²Π°Π΅ΠΌΠΎΠΉ ΡΠ΅ΠΊΡΠΈΠΈ.
ΠΠ° ΡΠΈΠ³.3 – ΠΏΠΎΠ΄ΡΡΠ³ΠΈΠ²Π°Π½ΠΈΠ΅ Π½ΠΈΠΆΠ½Π΅Π³ΠΎ ΠΊΠΎΠ½ΡΠ° ΠΏΠΎΠ΄ΡΠ°ΡΠΈΠ²Π°Π΅ΠΌΠΎΠΉ ΡΠ΅ΠΊΡΠΈΠΈ ΠΊ ΠΏΠΎΡΡΠ°Π»Ρ Π³ΠΈΠ±ΠΊΠΎΠΉ ΡΡΠ³ΠΎΠΉ.
ΠΠ° ΡΠΈΠ³.4 – ΠΎΠΏΠ΅ΡΠ°ΡΠΈΡ ΡΠΎΠ΅Π΄ΠΈΠ½Π΅Π½ΠΈΡ ΠΏΠΎΠ΄ΡΠ°ΡΠΈΠ²Π°Π΅ΠΌΠΎΠΉ ΡΠ΅ΠΊΡΠΈΠΈ Ρ Π½ΠΈΠΆΠ½Π΅ΠΉ ΡΠ΅ΠΊΡΠΈΠ΅ΠΉ Π±Π°ΡΠ½ΠΈ ΠΊΡΠ°Π½Π°.
ΠΠ° ΡΠΈΠ³.5 – Π²ΡΠ΄Π²ΠΈΠΆΠ΅Π½ΠΈΠ΅ Π±Π°ΡΠ½ΠΈ ΠΈΠ· ΠΏΠΎΡΡΠ°Π»Π° ΠΈ ΠΎΡΠ²ΠΎΠ±ΠΎΠΆΠ΄Π΅Π½ΠΈΠ΅ Π΅Π³ΠΎ ΠΏΡΠΎΠ΅ΠΌΠ° Π΄Π»Ρ ΡΠ»Π΅Π΄ΡΡΡΠ΅ΠΉ ΠΏΠΎΠ΄ΡΠ°ΡΠΈΠ²Π°Π΅ΠΌΠΎΠΉ ΡΠ΅ΠΊΡΠΈΠΈ.
Π‘ΠΏΠΎΡΠΎΠ± ΠΏΠΎΠ΄ΡΠ°ΡΠΈΠ²Π°Π½ΠΈΡ Π±Π°ΡΠ½ΠΈ ΠΊΡΠ°Π½Π° Π·Π°ΠΊΠ»ΡΡΠ°Π΅ΡΡΡ Π² ΠΏΠΎΡΠ»Π΅Π΄ΠΎΠ²Π°ΡΠ΅Π»ΡΠ½ΠΎΡΡΠΈ Π²ΡΠΏΠΎΠ»Π½Π΅Π½ΠΈΡ ΡΠ»Π΅Π΄ΡΡΡΠΈΡ ΠΎΠΏΠ΅ΡΠ°ΡΠΈΠΉ.
Π‘Π½Π°ΡΠ°Π»Π° Π·Π°Π²ΠΎΠ΄ΡΡ Π² ΠΏΠΎΡΡΠ°Π» 1 Π±Π°ΡΠ΅Π½Π½ΠΎΠ³ΠΎ ΠΊΡΠ°Π½Π°, Π² ΡΠ°ΡΡΠ½ΠΎΡΡΠΈ Π² ΠΏΡΠΎΠ΅ΠΌ 2 ΠΏΠΎΡΡΠ°Π»Π° ΠΊΡΠ°Π½Π°, ΠΏΠΎΠ΄ΡΠ°ΡΠΈΠ²Π°Π΅ΠΌΡΡ ΡΠ΅ΠΊΡΠΈΡ 3 Π² Π΅Π΅ Π½Π°ΠΊΠ»ΠΎΠ½Π½ΠΎΠΌ ΠΏΠΎΠ»ΠΎΠΆΠ΅Π½ΠΈΠΈ (ΡΠΈΠ³.1, 2). ΠΠ°ΡΠ΅ΠΌ ΡΡΡΠ°Π½Π°Π²Π»ΠΈΠ²Π°ΡΡ ΠΏΠΎΠ΄ΡΠ°ΡΠΈΠ²Π°Π΅ΠΌΡΡ ΡΠ΅ΠΊΡΠΈΡ 3 Π² ΠΏΡΠΎΠ΅ΠΌΠ΅ 2 ΠΏΠΎΡΡΠ°Π»Π° Π² Π²Π΅ΡΡΠΈΠΊΠ°Π»ΡΠ½ΠΎΠ΅ ΠΏΠΎΠ»ΠΎΠΆΠ΅Π½ΠΈΠ΅ (ΡΠΈΠ³.3). ΠΠΎΠ΄Π½ΠΈΠΌΠ°ΡΡ ΠΏΠΎΠ΄ΡΠ°ΡΠΈΠ²Π°Π΅ΠΌΡΡ ΡΠ΅ΠΊΡΠΈΡ 3 ΠΈ ΡΡΡΠΊΡΡΡ Π΅Π΅ (ΡΠΈΠ³.4) Ρ Π½ΠΈΠΆΠ½Π΅ΠΉ ΡΠ΅ΠΊΡΠΈΠ΅ΠΉ 4 Π±Π°ΡΠ½ΠΈ 5 ΠΊΡΠ°Π½Π°, ΠΊΠΎΡΠΎΡΠ°Ρ ΡΠ°ΡΠΏΠΎΠ»ΠΎΠΆΠ΅Π½Π° Π½Π°Π΄ ΠΏΠΎΠ΄ΡΠ°ΡΠΈΠ²Π°Π΅ΠΌΠΎΠΉ ΡΠ΅ΠΊΡΠΈΠ΅ΠΉ 3.
ΠΠ°Π»Π΅Π΅ Π±Π°ΡΠ½Ρ 5 Π²ΠΌΠ΅ΡΡΠ΅ Ρ Π½ΠΈΠΆΠ½Π΅ΠΉ ΡΠ΅ΠΊΡΠΈΠ΅ΠΉ 4 ΠΈ ΠΏΠΎΠ΄ΡΠ°ΡΠΈΠ²Π°Π΅ΠΌΠΎΠΉ ΡΠ΅ΠΊΡΠΈΠ΅ΠΉ 3 Π²ΡΠ΄Π²ΠΈΠ³Π°ΡΡ ΠΈΠ· ΠΏΠΎΡΡΠ°Π»Π° 1 Π²Π²Π΅ΡΡ Π΄ΠΎ ΠΌΠΎΠΌΠ΅Π½ΡΠ° ΠΎΡΠ²ΠΎΠ±ΠΎΠΆΠ΄Π΅Π½ΠΈΡ ΠΏΡΠΎΠ΅ΠΌΠ° 2 ΠΏΠΎΡΡΠ°Π»Π°.
ΠΡΠΎΠ±Π΅Π½Π½ΠΎΡΡΡΡ ΡΠΏΠΎΡΠΎΠ±Π° ΡΠ²Π»ΡΠ΅ΡΡΡ ΡΠΎ, ΡΡΠΎ ΡΠ½Π°ΡΠ°Π»Π° Π·Π°Π²ΠΎΠ΄ΡΡ Π² ΠΏΡΠΎΠ΅ΠΌ 2 ΠΏΠΎΡΡΠ°Π»Π° 1 Π²Π΅ΡΡ Π½ΡΡ ΡΠ°ΡΡΡ 6 ΠΏΠΎΠ΄ΡΠ°ΡΠΈΠ²Π°Π΅ΠΌΠΎΠΉ ΡΠ΅ΠΊΡΠΈΠΈ 3 ΠΈ ΠΏΠΎΠ΄Π²Π΅ΡΠΈΠ²Π°ΡΡ ΠΏΠΎΠ΄ΡΠ°ΡΠΈΠ²Π°Π΅ΠΌΡΡ ΡΠ΅ΠΊΡΠΈΡ, Π½Π°ΠΏΡΠΈΠΌΠ΅Ρ, Π½Π° Π³ΠΈΠ±ΠΊΠΎΠΉ ΠΏΠΎΠ΄Π²Π΅ΡΠΊΠ΅ 7, ΠΎΠ±Π΅ΡΠΏΠ΅ΡΠΈΠ²Π°ΡΡΠ΅ΠΉ ΠΏΠΎΠ²ΠΎΡΠΎΡ ΡΠ΅ΠΊΡΠΈΠΈ Π² ΡΡΠΎΡΠΎΠ½Ρ ΠΏΠΎΡΡΠ°Π»Π°. Π‘Π΅ΠΊΡΠΈΡ 3 ΠΏΠΎΠ΄Π²Π΅ΡΠΈΠ²Π°ΡΡ Π² ΡΠΊΠ°Π·Π°Π½Π½ΠΎΠΌ Π½Π°ΠΊΠ»ΠΎΠ½Π½ΠΎΠΌ ΠΏΠΎΠ»ΠΎΠΆΠ΅Π½ΠΈΠΈ (ΡΠΈΠ³.2) Π² ΡΠΎΡΠΊΠ΅ 8 ΠΏΠΎΠ΄Π²Π΅ΡΠ°, ΡΠ°ΡΠΏΠΎΠ»ΠΎΠΆΠ΅Π½Π½ΠΎΠΉ Π½Π°Π΄ ΠΏΡΠΎΠ΅ΠΌΠΎΠΌ ΠΏΠΎΡΡΠ°Π»Π° Π² Π΅Π³ΠΎ Π²Π΅ΡΡ Π½Π΅ΠΉ ΡΠ°ΡΡΠΈ 9. ΠΡΠΈ ΡΡΠΎΠΌ Π² Π΄Π°Π½Π½ΠΎΠΌ ΠΏΡΠΈΠΌΠ΅ΡΠ΅ ΠΈΡΠΏΠΎΠ»Π½Π΅Π½ΠΈΡ ΡΠΏΠΎΡΠΎΠ±Π° ΠΏΠΎΠ΄ΡΠ°ΡΠΈΠ²Π°Π΅ΠΌΡΡ ΡΠ΅ΠΊΡΠΈΡ 3 ΠΏΠΎΠ΄Π²Π΅ΡΠΈΠ²Π°ΡΡ ΠΊ Π²Π½Π΅ΡΠ½Π΅ΠΉ ΡΡΠΎΡΠΎΠ½Π΅ Π²Π΅ΡΡ Π½Π΅ΠΉ ΡΠ°ΡΡΠΈ 9 ΠΏΠΎΡΡΠ°Π»Π°. Π‘Π»Π΅Π΄ΡΠ΅Ρ ΠΎΡΠΌΠ΅ΡΠΈΡΡ, ΡΡΠΎ Π²ΠΌΠ΅ΡΡΠΎ Π³ΠΈΠ±ΠΊΠΎΠΉ ΠΏΠΎΠ΄Π²Π΅ΡΠΊΠΈ ΠΌΠΎΠΆΠ΅Ρ Π±ΡΡΡ ΠΈΡΠΏΠΎΠ»ΡΠ·ΠΎΠ²Π°Π½Π° Π»ΡΠ±Π°Ρ Π΄ΡΡΠ³Π°Ρ ΠΏΠΎΠ΄Π²Π΅ΡΠΊΠ°, ΠΎΠ±Π΅ΡΠΏΠ΅ΡΠΈΠ²Π°ΡΡΠ°Ρ ΠΏΠΎΠ²ΠΎΡΠΎΡ ΠΏΠΎΠ΄ΡΠ°ΡΠΈΠ²Π°Π΅ΠΌΠΎΠΉ ΡΠ΅ΠΊΡΠΈΠΈ Π² ΡΡΠΎΡΠΎΠ½Ρ ΠΏΠΎΡΡΠ°Π»Π°.
ΠΠ°ΡΠ΅ΠΌ ΡΡΡΠ°Π½Π°Π²Π»ΠΈΠ²Π°ΡΡ ΠΏΠΎΠ΄ΡΠ°ΡΠΈΠ²Π°Π΅ΠΌΡΡ ΡΠ΅ΠΊΡΠΈΡ 3 Π² Π²Π΅ΡΡΠΈΠΊΠ°Π»ΡΠ½ΠΎΠ΅ ΠΏΠΎΠ»ΠΎΠΆΠ΅Π½ΠΈΠ΅ (ΡΠΈΠ³.4) ΠΏΡΡΠ΅ΠΌ ΠΏΠΎΠ²ΠΎΡΠΎΡΠ° ΠΏΠΎΠ΄ΡΠ°ΡΠΈΠ²Π°Π΅ΠΌΠΎΠΉ ΡΠ΅ΠΊΡΠΈΠΈ Π²ΠΎΠΊΡΡΠ³ ΡΠΎΡΠΊΠΈ 8 ΠΏΠΎΠ΄Π²Π΅ΡΠ°. ΠΠΎΡΠ»Π΅ ΡΡΠΎΠ³ΠΎ ΠΎΡΡΠΎΠ΅Π΄ΠΈΠ½ΡΡΡ ΠΎΡ Π³ΠΈΠ±ΠΊΠΎΠΉ ΠΏΠΎΠ΄Π²Π΅ΡΠΊΠΈ 7 ΠΏΠΎΠ΄ΡΠ°ΡΠΈΠ²Π°Π΅ΠΌΡΡ ΡΠ΅ΠΊΡΠΈΡ 3, ΠΏΠΎΠ΄Π½ΠΈΠΌΠ°ΡΡ Π΅Π΅ ΠΈ ΡΠΎΠ΅Π΄ΠΈΠ½ΡΡΡ Π΅Π΅ Ρ Π½ΠΈΠΆΠ½Π΅ΠΉ ΡΠ΅ΠΊΡΠΈΠ΅ΠΉ Π±Π°ΡΠ½ΠΈ 4 (ΡΠΈΠ³.5).
ΠΡΠ΄Π²ΠΈΠΆΠ΅Π½ΠΈΠ΅ Π±Π°ΡΠ½ΠΈ 5 ΠΈΠ· ΠΏΠΎΡΡΠ°Π»Π° Π²ΠΌΠ΅ΡΡΠ΅ Ρ Π½ΠΈΠΆΠ½Π΅ΠΉ ΡΠ΅ΠΊΡΠΈΠ΅ΠΉ 4 ΠΈ ΠΏΠΎΠ΄ΡΠ°ΡΠΈΠ²Π°Π΅ΠΌΠΎΠΉ ΡΠ΅ΠΊΡΠΈΠ΅ΠΉ 3 ΠΎΡΡΡΠ΅ΡΡΠ²Π»ΡΡΡ ΠΏΡΡΠ΅ΠΌ ΠΏΡΠΈΠ»ΠΎΠΆΠ΅Π½ΠΈΡ ΠΏΠΎΠ΄ΡΠ΅ΠΌΠ½ΠΎΠΉ ΡΠΈΠ»Ρ ΠΊ Π½ΠΈΠΆΠ½Π΅ΠΉ ΡΠΎΡΡΠΎΠ²ΠΎΠΉ ΡΡΠΎΡΠΎΠ½Π΅ ΠΏΠΎΠ΄ΡΠ°ΡΠΈΠ²Π°Π΅ΠΌΠΎΠΉ ΡΠ΅ΠΊΡΠΈΠΈ 3, Π² ΡΠ°ΡΡΠ½ΠΎΡΡΠΈ, ΠΏΠΎΠ΄ΡΠ΅ΠΌΠ½ΡΡ ΡΠΈΠ»Ρ ΠΏΡΠΈΠ»Π°Π³Π°ΡΡ ΠΊ Π±ΠΎΠΊΠΎΠ²ΡΠΌ ΡΠ°ΡΡΡΠΌ 10 ΡΠΎΡΡΠΎΠ²ΠΎΠΉ ΡΡΠΎΡΠΎΠ½Ρ ΠΏΠΎΠ΄ΡΠ°ΡΠΈΠ²Π°Π΅ΠΌΠΎΠΉ ΡΠ΅ΠΊΡΠΈΠΈ. ΠΠ»Ρ ΡΡΠΎΠΉ ΡΠ΅Π»ΠΈ ΠΈΡΠΏΠΎΠ»ΡΠ·ΡΡΡ ΠΏΠ΅ΡΠ΅ΠΌΠ΅ΡΠ°ΡΡΡΡΡΡ Π²Π²Π΅ΡΡ -Π²Π½ΠΈΠ· ΠΎΠ±ΠΎΠΉΠΌΡ 11, Π½Π° ΠΊΠΎΡΠΎΡΡΡ ΠΎΠΏΠΈΡΠ°Π΅ΡΡΡ ΠΏΡΠΈ ΠΏΠΎΠ΄ΡΠ΅ΠΌΠ΅ Π±Π°ΡΠ½ΠΈ Π½ΠΈΠΆΠ½ΡΡ ΠΏΠΎΠ΄ΡΠ°ΡΠΈΠ²Π°Π΅ΠΌΠ°Ρ ΡΠ΅ΠΊΡΠΈΡ 3 Π±Π°ΡΠ½ΠΈ ΠΊΡΠ°Π½Π°.
ΠΡΠΈ Π²ΡΠΏΠΎΠ»Π½Π΅Π½ΠΈΠΈ ΠΎΠΏΠ΅ΡΠ°ΡΠΈΠΈ ΡΡΡΠ°Π½ΠΎΠ²ΠΊΠΈ ΠΏΠΎΠ΄ΡΠ°ΡΠΈΠ²Π°Π΅ΠΌΠΎΠΉ ΡΠ΅ΠΊΡΠΈΠΈ 3 Π² Π²Π΅ΡΡΠΈΠΊΠ°Π»ΡΠ½ΠΎΠ΅ ΠΏΠΎΠ»ΠΎΠΆΠ΅Π½ΠΈΠ΅ Π΅Π΅ ΠΏΠΎΠ²ΠΎΡΠΎΡ ΠΈΠ· Π½Π°ΠΊΠ»ΠΎΠ½Π½ΠΎΠ³ΠΎ ΠΏΠΎΠ»ΠΎΠΆΠ΅Π½ΠΈΡ ΠΎΡΡΡΠ΅ΡΡΠ²Π»ΡΡΡ ΠΏΡΡΠ΅ΠΌ ΠΏΠΎΠ΄ΡΡΠ³ΠΈΠ²Π°Π½ΠΈΡ Π½ΠΈΠΆΠ½Π΅Π³ΠΎ ΠΊΠΎΠ½ΡΠ° 12 ΠΏΠΎΠ΄ΡΠ°ΡΠΈΠ²Π°Π΅ΠΌΠΎΠΉ ΡΠ΅ΠΊΡΠΈΠΈ ΠΊ ΠΏΠΎΡΡΠ°Π»Ρ 1. ΠΠΎΠ΄ΡΡΠ³ΠΈΠ²Π°Π½ΠΈΠ΅ ΠΊΠΎΠ½ΡΠ° ΠΏΠΎΠ΄ΡΠ°ΡΠΈΠ²Π°Π΅ΠΌΠΎΠΉ ΡΠ΅ΠΊΡΠΈΠΈ ΠΎΡΡΡΠ΅ΡΡΠ²Π»ΡΡΡ Ρ ΠΏΠΎΠΌΠΎΡΡΡ, Π½Π°ΠΏΡΠΈΠΌΠ΅Ρ, Π³ΠΈΠ±ΠΊΠΎΠΉ ΡΡΠ³ΠΈ 13.
1. Π‘ΠΏΠΎΡΠΎΠ± ΠΏΠΎΠ΄ΡΠ°ΡΠΈΠ²Π°Π½ΠΈΡ Π±Π°ΡΠ½ΠΈ Π±Π°ΡΠ΅Π½Π½ΠΎΠ³ΠΎ ΠΊΡΠ°Π½Π°, Ρ Π°ΡΠ°ΠΊΡΠ΅ΡΠΈΠ·ΡΡΡΠΈΠΉΡΡ ΡΠ΅ΠΌ, ΡΡΠΎ Π·Π°Π²ΠΎΠ΄ΡΡ Π² ΠΏΡΠΎΠ΅ΠΌ ΠΏΠΎΡΡΠ°Π»Π° ΠΊΡΠ°Π½Π° ΠΏΠΎΠ΄ΡΠ°ΡΠΈΠ²Π°Π΅ΠΌΡΡ ΡΠ΅ΠΊΡΠΈΡ Π±Π°ΡΠ½ΠΈ Π² Π΅Π΅ Π½Π°ΠΊΠ»ΠΎΠ½Π½ΠΎΠΌ ΠΏΠΎΠ»ΠΎΠΆΠ΅Π½ΠΈΠΈ, Π·Π°ΡΠ΅ΠΌ ΡΡΡΠ°Π½Π°Π²Π»ΠΈΠ²Π°ΡΡ ΠΏΠΎΠ΄ΡΠ°ΡΠΈΠ²Π°Π΅ΠΌΡΡ ΡΠ΅ΠΊΡΠΈΡ Π² ΠΏΡΠΎΠ΅ΠΌΠ΅ ΠΏΠΎΡΡΠ°Π»Π° Π² Π²Π΅ΡΡΠΈΠΊΠ°Π»ΡΠ½ΠΎΠ΅ ΠΏΠΎΠ»ΠΎΠΆΠ΅Π½ΠΈΠ΅, Π΄Π°Π»Π΅Π΅ ΠΏΠΎΠ΄Π½ΠΈΠΌΠ°ΡΡ ΠΏΠΎΠ΄ΡΠ°ΡΠΈΠ²Π°Π΅ΠΌΡΡ ΡΠ΅ΠΊΡΠΈΡ ΠΈ ΡΡΡΠΊΡΡΡ Π΅Π΅ Ρ Π½ΠΈΠΆΠ½Π΅ΠΉ ΡΠ΅ΠΊΡΠΈΠ΅ΠΉ Π±Π°ΡΠ½ΠΈ, ΡΠ°ΡΠΏΠΎΠ»ΠΎΠΆΠ΅Π½Π½ΠΎΠΉ Π½Π°Π΄ ΠΏΠΎΠ΄ΡΠ°ΡΠΈΠ²Π°Π΅ΠΌΠΎΠΉ ΡΠ΅ΠΊΡΠΈΠ΅ΠΉ, ΠΏΠΎΡΠ»Π΅ ΡΠ΅Π³ΠΎ Π±Π°ΡΠ½Ρ Π²ΠΌΠ΅ΡΡΠ΅ Ρ ΡΠ΅ΠΊΡΠΈΠ΅ΠΉ Π²ΡΠ΄Π²ΠΈΠ³Π°ΡΡ ΠΈΠ· ΠΏΠΎΡΡΠ°Π»Π° Π΄ΠΎ ΠΌΠΎΠΌΠ΅Π½ΡΠ° ΠΎΡΠ²ΠΎΠ±ΠΎΠΆΠ΄Π΅Π½ΠΈΡ ΠΏΡΠΎΠ΅ΠΌΠ° ΠΏΠΎΡΡΠ°Π»Π°, ΠΎΡΠ»ΠΈΡΠ°ΡΡΠΈΠΉΡΡ ΡΠ΅ΠΌ, ΡΡΠΎ ΡΠ½Π°ΡΠ°Π»Π° Π·Π°Π²ΠΎΠ΄ΡΡ Π² ΠΏΡΠΎΠ΅ΠΌ ΠΏΠΎΡΡΠ°Π»Π° Π²Π΅ΡΡ Π½ΡΡ ΡΠ°ΡΡΡ ΠΏΠΎΠ΄ΡΠ°ΡΠΈΠ²Π°Π΅ΠΌΠΎΠΉ ΡΠ΅ΠΊΡΠΈΠΈ ΠΈ ΠΏΠΎΠ΄Π²Π΅ΡΠΈΠ²Π°ΡΡ ΠΏΠΎΠ΄ΡΠ°ΡΠΈΠ²Π°Π΅ΠΌΡΡ ΡΠ΅ΠΊΡΠΈΡ Π½Π° ΠΏΠΎΠ΄Π²Π΅ΡΠΊΠ΅ Π² ΡΠΊΠ°Π·Π°Π½Π½ΠΎΠΌ Π½Π°ΠΊΠ»ΠΎΠ½Π½ΠΎΠΌ ΠΏΠΎΠ»ΠΎΠΆΠ΅Π½ΠΈΠΈ Π² ΡΠΎΡΠΊΠ΅ ΠΏΠΎΠ΄Π²Π΅ΡΠ°, ΡΠ°ΡΠΏΠΎΠ»ΠΎΠΆΠ΅Π½Π½ΠΎΠΉ Π½Π°Π΄ ΠΏΡΠΎΠ΅ΠΌΠΎΠΌ ΠΏΠΎΡΡΠ°Π»Π° Π² Π΅Π³ΠΎ Π²Π΅ΡΡ Π½Π΅ΠΉ ΡΠ°ΡΡΠΈ, Π·Π°ΡΠ΅ΠΌ ΡΡΡΠ°Π½Π°Π²Π»ΠΈΠ²Π°ΡΡ ΠΏΠΎΠ΄ΡΠ°ΡΠΈΠ²Π°Π΅ΠΌΡΡ ΡΠ΅ΠΊΡΠΈΡ Π² Π²Π΅ΡΡΠΈΠΊΠ°Π»ΡΠ½ΠΎΠ΅ ΠΏΠΎΠ»ΠΎΠΆΠ΅Π½ΠΈΠ΅ ΠΏΡΡΠ΅ΠΌ Π΅Π΅ ΠΏΠΎΠ²ΠΎΡΠΎΡΠ° Π²ΠΎΠΊΡΡΠ³ ΡΠΊΠ°Π·Π°Π½Π½ΠΎΠΉ ΡΠΎΡΠΊΠΈ ΠΏΠΎΠ΄Π²Π΅ΡΠ°, ΠΏΠΎΡΠ»Π΅ ΡΠ΅Π³ΠΎ ΠΎΡΡΠΎΠ΅Π΄ΠΈΠ½ΡΡΡ ΠΎΡ ΠΏΠΎΠ΄Π²Π΅ΡΠΊΠΈ ΠΏΠΎΠ΄ΡΠ°ΡΠΈΠ²Π°Π΅ΠΌΡΡ ΡΠ΅ΠΊΡΠΈΡ ΠΈ ΡΠΎΠ΅Π΄ΠΈΠ½ΡΡΡ Π΅Π΅ Ρ Π½ΠΈΠΆΠ½Π΅ΠΉ ΡΠ΅ΠΊΡΠΈΠ΅ΠΉ Π±Π°ΡΠ½ΠΈ.
2. Π‘ΠΏΠΎΡΠΎΠ± ΠΏΠΎ ΠΏ.1, ΠΎΡΠ»ΠΈΡΠ°ΡΡΠΈΠΉΡΡ ΡΠ΅ΠΌ, ΡΡΠΎ ΠΏΡΠΈ Π²ΡΠΏΠΎΠ»Π½Π΅Π½ΠΈΠΈ ΠΎΠΏΠ΅ΡΠ°ΡΠΈΠΈ ΡΡΡΠ°Π½ΠΎΠ²ΠΊΠΈ ΠΏΠΎΠ΄ΡΠ°ΡΠΈΠ²Π°Π΅ΠΌΠΎΠΉ ΡΠ΅ΠΊΡΠΈΠΈ Π² Π²Π΅ΡΡΠΈΠΊΠ°Π»ΡΠ½ΠΎΠ΅ ΠΏΠΎΠ»ΠΎΠΆΠ΅Π½ΠΈΠ΅ Π΅Π΅ ΠΏΠΎΠ²ΠΎΡΠΎΡ ΠΈΠ· Π½Π°ΠΊΠ»ΠΎΠ½Π½ΠΎΠ³ΠΎ ΠΏΠΎΠ»ΠΎΠΆΠ΅Π½ΠΈΡ ΠΎΡΡΡΠ΅ΡΡΠ²Π»ΡΡΡ ΠΏΡΡΠ΅ΠΌ ΠΏΠΎΠ΄ΡΡΠ³ΠΈΠ²Π°Π½ΠΈΡ Π½ΠΈΠΆΠ½Π΅Π³ΠΎ ΠΊΠΎΠ½ΡΠ° ΡΠ΅ΠΊΡΠΈΠΈ ΠΊ ΠΏΠΎΡΡΠ°Π»Ρ, Π½Π°ΠΏΡΠΈΠΌΠ΅Ρ, Π³ΠΈΠ±ΠΊΠΎΠΉ ΡΡΠ³ΠΎΠΉ.
3. Π‘ΠΏΠΎΡΠΎΠ± ΠΏΠΎ ΠΏ.1, ΠΎΡΠ»ΠΈΡΠ°ΡΡΠΈΠΉΡΡ ΡΠ΅ΠΌ, ΡΡΠΎ ΠΏΠΎΠ΄ΡΠ°ΡΠΈΠ²Π°Π΅ΠΌΡΡ ΡΠ΅ΠΊΡΠΈΡ ΠΏΠΎΠ΄Π²Π΅ΡΠΈΠ²Π°ΡΡ ΠΊ Π²Π½Π΅ΡΠ½Π΅ΠΉ ΡΡΠΎΡΠΎΠ½Π΅ Π²Π΅ΡΡ Π½Π΅ΠΉ ΡΠ°ΡΡΠΈ ΠΏΠΎΡΡΠ°Π»Π°.
www.findpatent.ru
Π Π°Π·ΡΠ΅ΠΌΠ½ΠΎΠ΅ ΡΠΎΠ΅Π΄ΠΈΠ½Π΅Π½ΠΈΠ΅ ΡΠ΅ΠΊΡΠΈΠΉ Π±Π°ΡΠ΅Π½Π½ΠΎΠ³ΠΎ ΠΊΡΠ°Π½Π°
Β
ΠΠ ΠΠ‘ΠΠΠΠ
ΠΠΠΠΠ ΠΠ’ΠΠ ΠΠ―
Π ΠΠΠ’ΠΠ Π‘ΠΠΠΠ£ Π‘ΠΠΠΠΠ’ΠΠΠ¬Π‘Π’ΠΠ£
Π‘ΠΎΡΠ· Π‘ΠΎΠ²Π΅ΡΡΠΊΠΈΡ
Π‘ΠΎΡΠΈΠ°Π»ΠΈΡΡΠΈΡΠ΅ΡΠΊΠΈΡ
Π Π΅ΡΠΏΡΠ±Π»ΠΈΠΊ ()))779286 (61) ΠΠΎΠΏΠΎΠ»Π½ΠΈΡΠ΅Π»ΡΠ½ΠΎΠ΅ ΠΊ Π°Π²Ρ. ΡΠ²ΠΈΠ΄-Π²ΡΠ²Πβ (22) ΠΠ°ΡΠ²Π»Π΅Π½ΠΎ 05.12.78 (21) 2691742/29-11 Ρ ΠΏΡΠΈΡΠΎΠ΅Π΄ΠΈΠ½Π΅Π½ΠΈΠ΅ΠΌ Π·Π°ΡΠ²ΠΊΠΈ βΠ²Πβ (23) ΠΡΠΈΠΎΡΠΈΡΠ΅ΡΠ²Πβ (51) Π. ΠΠ».
Π 66 Π‘ 23/62
ΠΠΎΡΡΠ΄Π°ΡΡΡΠ²Π΅Π½Π½ΡΠΉ ΠΊΠΎΠΌΠΈΡΠ΅Ρ
Π‘Π‘Π‘Π
ΠΠΏΡΠ±Π»ΠΈΠΊΠΎΠ²Π°Π½ΠΎ 15.11.80. ΠΡΠ»Π»Π΅ΡΠ΅Π½Ρ β 42
ΠΠ°ΡΠ° ΠΎΠΏΡΠ±Π»ΠΈΠΊΠΎΠ²Π°Π½ΠΈΡ ΠΎΠΏΠΈΡΠ°Π½ΠΈΡ 25.11.80 (53) Π£ΠΠ 621.874 (088.8) Π°ΠΎ Π΄Π΅Π»Π°ΠΌ ΠΈΠ·ΠΎΠ±ΡΠ΅ΡΠ΅Π½ΠΈΠΉ Π½ ΠΎΡΠΊΡΡΡΠΈΠΉ (72) ΠΠ²ΡΠΎΡΡ ΠΈΠ·ΠΎΠ±ΡΠ΅ΡΠ΅Π½ΠΈΡ
Π. Π. Π¨ΠΈΡΡΠΈΠ½, Π. Π. ΠΡΡ Π°Π½ΠΎΠ²ΡΠΊΠΈΠΉ ΠΈ Π. Π. ΠΠ³ΠΎΡΠΎΠ² (71) ΠΠ°ΡΠ²ΠΈΡΠ΅Π»Ρ
Π¦Π΅Π½ΡΡΠ°Π»ΡΠ½ΠΎΠ΅ ΠΊΠΎΠ½ΡΡΡΡΠΊΡΠΎΡΡΠΊΠΎΠ΅ Π±ΡΡΠΎ Β«Π‘ΡΡΠΎΠΉΠΌΠ°ΡΒ» (54) Π ΠΠΠͺΠΠΠΠΠ Π‘ΠΠΠΠΠΠΠΠΠ Π‘ΠΠΠ¦ΠΠ
ΠΠΠ¨ΠΠΠΠΠΠ ΠΠ ΠΠΠ.1
ΠΠ·ΠΎΠ±ΡΠ΅ΡΠ΅Π½ΠΈΠ΅ ΠΎΡΠ½ΠΎΡΠΈΡΡΡ ΠΊ Π±Π°ΡΠ΅Π½Π½ΡΠΌ ΠΊΡΠ°Π½Π°ΠΌ, Π° ΠΈΠΌΠ΅Π½Π½ΠΎ ΠΊ ΡΠ°Π·ΡΠ΅ΠΌΠ½ΡΠΌ ΡΠΎΠ΅Π΄ΠΈΠ½Π΅Π½ΠΈΡΠΌ ΠΈΡ ΡΠ΅ΠΊΡΠΈΠΉ.
ΠΠ·Π²Π΅ΡΡΠ½ΠΎ ΡΠ°Π·ΡΠ΅ΠΌΠ½ΠΎΠ΅ ΡΠΎΠ΅Π΄ΠΈΠ½Π΅Π½ΠΈΠ΅ ΡΠ΅ΠΊΡΠΈΠΉ Π±Π°ΡΠ΅Π½Π½ΠΎΠ³ΠΎ ΠΊΡΠ°Π½Π°, ΡΠΎΠ΄Π΅ΡΠΆΠ°ΡΠ΅Π΅ Π·Π°ΠΊΡΠ΅ΠΏΠ»Π΅Π½Π½ΡΠ΅ Π½Π° ΠΊΠΎΠ½ΡΠ°Ρ ΡΠ΅ΠΊΡΠΈΠΉ ΡΠ»Π°Π½ΡΡ, ΡΠΎΠ΅Π΄ΠΈΠ½ΠΈΡΠ΅Π»ΡΠ½ΡΠΉ ΡΠ»Π΅ΠΌΠ΅Π½Ρ ΠΈ ΠΏΡΠΎΠΌΠ΅ΠΆΡΡΠΎΡΠ½ΠΎΠ΅ ΠΊΠΎΠ»ΡΡΠΎ, Π²Π·Π°ΠΈΠΌΠΎΠ΄Π΅ΠΉΡΡΠ²ΡΡΡΠ΅Π΅ Ρ ΡΠ»Π°Π½ΡΠ΅ΠΌ ΠΈ ΡΠΎΠ΅Π΄ΠΈΠ½ΠΈΡΠ΅Π»ΡΠ½ΡΠΌ ΡΠ»Π΅ΠΌΠ΅Π½ΡΠΎΠΌΠ―.
ΠΠ΅Π΄ΠΎΡΡΠ°ΡΠΊΠΎΠΌ ΠΈΠ·Π²Π΅ΡΡΠ½ΠΎΠ³ΠΎ ΡΠΎΠ΅Π΄ΠΈΠ½Π΅Π½ΠΈΡ ΡΠ²Π»ΡΠ΅ΡΡΡ Π½Π΅Π΄ΠΎΡΡΠ°ΡΠΎΡΠ½Π°Ρ Π΅Π³ΠΎ Π½Π°Π΄Π΅ΠΆΠ½ΠΎΡΡΡ ΠΈ ΡΠ»ΠΎΠΆΠ½ΠΎΡΡΡ ΠΌΠΎΠ½ΡΠ°ΠΆΠ° ΠΊΡΠ°Π½Π°.
Π¦Π΅Π»Ρ ΠΈΠ·ΠΎΠ±ΡΠ΅ΡΠ΅Π½ΠΈΡ Π²Πβ ΠΏΠΎΠ²ΡΡΠ΅Π½ΠΈΠ΅ Π½Π°Π΄Π΅ΠΆΠ½ΠΎΡΡΠΈ ΠΈ ΡΠΏΡΠΎΡΠ΅Π½ΠΈΠ΅ ΠΌΠΎΠ½ΡΠ°ΠΆΠ° ΠΊΡΠ°Π½Π°.
Π£ΠΊΠ°Π·Π°Π½Π½Π°Ρ ΡΠ΅Π»Ρ Π΄ΠΎΡΡΠΈΠ³Π°Π΅ΡΡΡ ΡΠ΅ΠΌ, ΡΡΠΎ ΡΠΎΠ΅Π΄ΠΈΠ½ΠΈΡΠ΅Π»ΡΠ½ΡΠΉ ΡΠ»Π΅ΠΌΠ΅Π½Ρ ΡΠΎΡΡΠΎΠΈΡ ΠΈΠ· Π²ΡΡΠ»ΠΊΠΈ Ρ ΡΠ΅Π·ΡΠ±ΠΎΠΉ ΠΈ ΡΠΎΠ΅Π΄ΠΈΠ½Π΅Π½Π½ΠΎΠ³ΠΎ Ρ Π½Π΅ΠΉ Π·ΡΠ±ΡΠ°ΡΠΎΠ³ΠΎ Π²Π΅Π½ΡΠ°, ΠΏΡΠΈΡΠ΅ΠΌ ΠΎΠ΄Π½Π° ΠΈΠ· ΡΠ΅ΠΊΡΠΈΠΉ ΡΠ½Π°Π±ΠΆΠ΅) Π° Π½Π΅ΠΏΠΎΠ²ΠΎΡΠΎΡΠ½ΠΎΠΉ Π³Π°ΠΉΠΊΠΎΠΉ, Π²Π·Π°ΠΈΠΌΠΎΠ΄Π΅ΠΉΡΡΠ²ΡΡΡΠ΅ΠΉ Ρ ΡΠ΅Π·ΡΠ±ΠΎΠΉ Π²ΡΡΠ»ΠΊΠΈ, ΠΈ Π΄ΠΎΠΏΠΎΠ»Π½ΠΈΡΠ΅Π»ΡΠ½ΡΠΌ ΠΏΡΠΎΠΌΠ΅ΠΆΡΡΠΎΡΠ½ΡΠΌ ΠΊΠΎΠ»ΡΡΠΎΠΌ, ΡΠ°ΡΠΏΠΎΠ»ΠΎΠΆΠ΅Π½Π½ΡΠΌ ΠΌΠ΅ΠΆΠ΄Ρ Π³Π°ΠΉΠΊΠΎΠΉ ΠΈ ΡΠ»Π°Π½ΡΠ΅ΠΌ, ΠΊΡΠΎΠΌΠ΅ ΡΠΎΠ³ΠΎ, Π³Π°ΠΉΠΊΠ° Π²ΡΠΏΠΎΠ»Π½Π΅Π½Π° ΠΏΠΎΠ΄ΠΏΡΡΠΆΠΈΠ½Π΅Π½Π½ΠΎΠΉ, Π° ΡΠ°ΠΊΠΆΠ΅ ΡΠ΅ΠΌ, ΡΡΠΎ Π³Π°ΠΉΠΊΠ° ΡΠΎΠ΅Π΄ΠΈΠ½Π΅Π½Π° Ρ ΡΠ΅ΠΊΡΠΈΠ΅ΠΉ ΡΠΏΠΎΠ½ΠΊΠΎΠΉ, ΠΏΡΠΈΡΠ΅ΠΌ ΠΏΡΠΎΠΌΠ΅ΠΆΡΡΠΎΡΠ½ΡΠ΅ ΠΊΠΎΠ»ΡΡΠ°, Π³Π°ΠΉΠΊΠ° ΠΈ Π²ΡΡΠ»ΠΊΠ° ΡΠΎΡΡΠΎΡΡ ΠΈΠ· ΡΡΠ΅Ρ ΡΠ°ΡΡΠ΅ΠΉ ΠΊΠ°ΠΆΠ΄Π°Ρ..
ΠΠ° ΡΠΈΠ³. 1 ΠΏΠΎΠΊΠ°Π·Π°Π½ΠΎ ΡΠ°Π·ΡΠ΅ΠΌΠ½ΠΎΠ΅ ΡΠΎΠ΅Π΄ΠΈΠ½Π΅Π½ΠΈΠ΅, Π² Π½Π΅ΡΠ°Π±ΠΎΡΠ΅ΠΌ ΠΏΠΎΠ»ΠΎΠΆΠ΅Π½ΠΈΠΈ; Π½Π° ΡΠΈΠ³. 2 Π²Πβ ΡΠΎ ΠΆΠ΅, Π² ΡΠ°Π±ΠΎΡΠ΅ΠΌ ΠΏΠΎΠ»ΠΎΠΆΠ΅Π½ΠΈΠΈ; Π½Π° ΡΠΈΠ³. 3 Π²Πβ ΡΠ°Π·ΡΠ΅Π·
Π Π²Πβ Π Π½Π° ΡΠΈΠ³. 2; Π½Π° ΡΠΈΠ³. 4 Π²Πβ, ΡΠ°Π·ΡΠ΅Π· Π Π²Πβ Π Π½Π° ΡΠΈΠ³. 3; Π½Π° ΡΠΈΠ³. 5 Π²Πβ Π²ΠΈΠ΄ Π Π½Π° ΡΠΈΠ³. 1;
5 Π½Π° ΡΠΈΠ³. 6 Π²Πβ ΡΠ°Π·ΡΠ΅Π· Π Π²Πβ Π Π½Π° ΡΠΈΠ³. 5.
ΠΠ΅ΡΡ Π½ΡΡ ΡΠ΅ΠΊΡΠΈΡ 1 Π±Π°ΡΠ½ΠΈ ΠΈ Π½ΠΈΠΆΠ½ΡΡ ΡΠ΅ΠΊΡΠΈΡ 2 Π±Π°ΡΠ½ΠΈ ΡΠΎΠΏΡΠΈΠΊΠ°ΡΠ°ΡΡΡΡ ΡΠ»Π°Π½ΡΠ°ΠΌΠΈ 3 ΠΈ 4.
ΠΠ° ΡΠ»Π°Π½ΡΠ΅ 3 Π²Π΅ΡΡ Π½Π΅ΠΉ ΡΠ΅ΠΊΡΠΈΠΈ 1 Π±Π°ΡΠ½ΠΈ ΡΠ°Ρ.ΠΏΠΎΠ»ΠΎΠΆΠ΅Π½ΠΎ ΠΏΠΎΠ΄ΠΊΠ»Π°Π΄ΠΎΡΠ½ΠΎΠ΅ ΠΏΡΠΎΠΌΠ΅ΠΆΡΡΠΎΡΠ½ΠΎΠ΅ ΠΊΠΎΠ»ΡΡΠΎ 5, Π½Π° ΠΊΠΎΡΠΎΡΠΎΠ΅ ΠΎΠΏΠΈΡΠ°Π΅ΡΡΡ ΠΏΠΎΠ²ΠΎΡΠΎΡΠ½Π°Ρ Π²ΡΡΠ»1ΠΎ ΠΊΠ° 6, Ρ ΠΊΠΎΡΠΎΡΠΎΠΉ ΠΏΡΠΈΡΠΎΠ΅Π΄ΠΈΠ½Π΅Π½ Π·ΡΠ±ΡΠ°ΡΡΠΉ Π²Π΅Π½Π΅Ρ 7.
ΠΠΈΠΆΠ½ΡΡ ΡΠ΅ΠΊΡΠΈΡ 2 ΡΠ½Π°Π±ΠΆΠ΅Π½Π° ΡΠΏΠΎΡΠ°ΠΌΠΈ 8, Π½Π° ΠΊΠΎΡΠΎΡΡΠ΅ ΠΎΠΏΠΈΡΠ°ΡΡΡΡ ΠΏΡΡΠΆΠΈΠ½Ρ 9.
ΠΡΡΠΆΠΈΠ½Ρ 9 ΠΏΠΎΠ΄ΠΆΠΈΠΌΠ°ΡΡ Π½Π΅ΠΏΠΎΠ²ΠΎΡΠΎΡΠ½ΡΡ Π³Π°ΠΉΠΊΡ 10 Ρ ΠΏΡΠΎΠΌΠ΅ΠΆΡΡΠΎΡΠ½ΡΠΌ ΠΊΠΎΠ»ΡΡΠΎΠΌ 11 ΠΊ ΡΠ»Π°Π½ΡΡ 4.
ΠΠ°ΠΉΠΊΠ° 10 ΡΠ΄Π΅ΡΠΆΠΈΠ²Π°Π΅ΡΡΡ ΠΎΡ Π²ΡΠ°ΡΠ΅Π½ΠΈΡ ΡΠΏΠΎΠ½ΠΊΠΎΠΉ 12.
ΠΠ»Ρ Π²ΡΠ°ΡΠ΅Π½ΠΈΡ ΠΏΠΎΠ²ΠΎΡΠΎΡΠ½ΠΎΠΉ Π²ΡΡΠ»ΠΊΠΈ 6 ΠΏΡΠ΅Π΄ΡΡΠΌΠΎΡΡΠ΅Π½ ΠΏΠ΅ΡΠ΅Π½ΠΎΡΠ½ΠΎΠΉ ΠΌΠ΅Ρ Π°Π½ΠΈΠ·ΠΌ 13.
Π ΡΠ΅Π»ΡΡ ΡΠ½ΡΡΠΈΡ ΠΈ Π·Π°ΠΌΠ΅Π½Ρ Π·ΡΠ±ΡΠ°ΡΠΎΠ³ΠΎ Π²Π΅Π½ΡΠ° 7, ΠΏΡΠΎΠΌΠ΅ΠΆΡΡΠΎΡΠ½ΡΡ ΠΊΠΎΠ»Π΅Ρ 5 ΠΈ 11 ΠΈ Π³Π°ΠΉΠΊΠΈ
10, ΠΎΠ½ΠΈ Π²ΡΠΏΠΎΠ»Π½Π΅Π½Ρ ΡΠ°Π·ΡΠ΅Π·Π½ΡΠΌΠΈ ΠΈΠ· 3 ΡΠ΅Π³ΠΌΠ΅Π½ΡΠΎΠ² 14 ΡΠΎΠ΅Π΄ΠΈΠ½Π΅Π½Π½ΡΡ ΡΠ°ΡΠ½ΠΈΡΠ°ΠΌΠΈ 15 ΠΌΠ΅ΠΆΠ΄Ρ ΡΠΎΠ±ΠΎΠΉ.
779286
Π€ΠΎΡΠΌΡΠ»Π° ΠΈΠ·ΠΎΠ±ΡΠ΅ΡΠ΅Π½ΠΈΡ
12 ΡΠΈΠ³.1
ΠΠ΅ΡΠ΅Π½ΠΎΡΠ½ΠΎΠΉ ΠΌΠ΅Ρ Π°Π½ΠΈΠ·ΠΌ 13 ΡΠΎΡΡΠΎΠΈΡ ΠΈΠ· ΠΊΠΎΡΠΏΡΡΠ° 16, Π·Π°ΠΊΡΠ΅ΠΏΠ»ΡΠ΅ΠΌΠΎΠ³ΠΎ Π½Π° ΡΡΠ΅Π½ΠΊΠ΅ ΡΠ΅ΠΊΡΠΈΠΈ 1, Π²Π°Π»-ΡΠ΅ΡΡΠ΅ΡΠ½ΠΈ 17, ΡΠ΅ΡΡΠ΅ΡΠ½ΠΈ 18 ΠΈ Π²Π°Π»-ΡΠ΅ΡΡΠ΅ΡΠ½ΠΈ 19. ΠΡΠ°ΡΠ΅Π½ΠΈΠ΅ ΠΌΠ΅Ρ Π°Π½ΠΈΠ·ΠΌΠ° 13 ΠΏΡΠΎΠΈΠ·Π²ΠΎΠ΄ΠΈΡΡΡ ΡΡΠΊΠΎΡΡΠΊΠΎΠΉ 20.
Π£ΡΡΡΠΎΠΉΡΡΠ²ΠΎ ΡΠ°Π±ΠΎΡΠ°Π΅Ρ ΡΠ»Π΅Π΄ΡΡΡΠΈΠΌ ΠΎΠ±ΡΠ°Π·ΠΎΠΌ.
Π‘Π΅ΠΊΡΠΈΡ 1 ΡΡΡΠ°Π½Π°Π²Π»ΠΈΠ²Π°Π΅ΡΡΡ ΡΠ»Π°Π½ΡΠ΅ΠΌ 3 Π½Π° ΡΠ»Π°Π½ΡΠ΅ 4 ΡΠ΅ΠΊΡΠΈΠΈ 2. ΠΡΠΈ ΡΡΠΎΠΌ ΠΏΠΎΠ²ΠΎΡΠΎΡΠ½Π°Ρ Π²ΡΡΠ»ΠΊΠ° 6 ΠΎΠΏΠΈΡΠ°Π΅ΡΡΡ Π½Π° Π³Π°ΠΉΠΊΡ 10 ΠΈ ΡΠ²ΠΎΠΈΠΌ Π²Π΅ΡΠΎΠΌ ΡΠΆΠΈΠΌΠ°Π΅Ρ ΠΏΡΡΠΆΠΈΠ½Ρ 9. Π£ΡΡΠ°Π½Π°Π²Π»ΠΈΠ²Π°Π΅ΡΡΡ ΠΌΠ΅Ρ Π°Π½ΠΈΠ·ΠΌ 13 ΠΈ Π²ΡΠ°ΡΠ΅Π½ΠΈΠ΅ΠΌ ΡΡΠΊΠΎΡΡΠΊΠΈ 20 ΠΏΡΠΈ- ΡΡ Π²ΠΎΠ΄ΠΈΡΡΡ Π²ΠΎ Π²ΡΠ°ΡΠ΅Π½ΠΈΠ΅ Π²Π°Π»-ΡΠ΅ΡΡΠ΅ΡΠ½Ρ 17, ΠΊΠΎ ΡΠΎΡΠ°Ρ Π½Π°Ρ ΠΎΠ΄ΠΈΡΡΡ Π² Π·Π°ΡΠ΅ΠΏΠ»Π΅Π½ΠΈΠΈ Ρ Π·ΡΠ±ΡΠ°ΡΡΠΌ Π²Π΅Π½ΡΠΎΠΌ 7, ΡΠΎΠ΅Π΄ΠΈΠ½Π΅Π½Π½ΡΠΌ Ρ ΠΏΠΎΠ²ΠΎΡΠΎΡΠ½ΠΎΠΉ Π²ΡΡΠ»ΠΊΠΎΠΉ
6. ΠΡΡΠ»ΠΊΠ° 6 Π½Π°ΡΠΈΠ½Π°Π΅Ρ Π²Π²ΠΎΡΠ°ΡΠΈΠ²Π°ΡΡΡΡ Π² ΡΠ΅Π·ΡΠ±ΠΎΠ²ΠΎΠ΅ ΠΎΡΠ²Π΅ΡΡΡΠΈΠ΅ ΠΏΠΎΠ²ΠΎΡΠΎΡΠ½ΠΎΠΉ Π³Π°ΠΉΠΊΠΈ 10, ΠΊΠΎ15 ΡΠΎΡΠ°Ρ; ΠΏΠ΅ΡΠ΅ΠΌΠ΅ΡΠ°ΡΡΡ ΠΏΠΎ ΡΠΏΠΎΠ½ΠΊΠ΅ 12, ΠΏΠΎΠ΄ΠΆΠΈΠΌΠ°Π΅Ρ ΠΏΡΠΎΠΌΠ΅ΠΆΡΡΠΎΡΠ½ΠΎΠ΅ ΠΊΠΎΠ»ΡΡΠΎ 11 ΠΊ ΡΠ»Π°Π½ΡΡ 4.
ΠΠ»Ρ ΠΎΠ±Π΅ΡΠΏΠ΅ΡΠ΅Π½ΠΈΡ ΠΌΠΎΠΌΠ΅Π½ΡΠ° Π·Π°ΡΡΠΆΠΊΠΈ ΡΠ»Π°Π½ΡΠ΅Π²ΠΎΠ³ΠΎ ΡΠΎΠ΅Π΄ΠΈΠ½Π΅Π½ΠΈΡ ΡΡΠΊΠΎΡΡΠΊΠ° 20 ΡΡΡΠ°Π½Π°Π²Π»ΠΈΠ²Π°Π΅ΡΡΡ Π½Π° Π²Π°Π»Ρ ΡΠ΅ΡΡΠ΅ΡΠ½ΠΈ 19.
Π ΡΠ΅Π»ΡΡ ΠΎΠ±Π΅ΡΠΏΠ΅ΡΠ΅Π½ΠΈΡ Π·Π°ΠΌΠ΅Π½Ρ ΠΊΠΎΠ»ΡΡΠ΅Π²ΡΡ Ρ ΡΠ»Π΅ΠΌΠ΅Π½ΡΠΎΠ², ΡΡΠ°ΡΡΠ²ΡΡΡΠΈΡ Π² Π·Π°ΡΡΠΆΠΊΠ΅ ΡΠ»Π°Π½ΡΠ΅Π² ΠΈ ΠΌΠΎΠ³ΡΡΠΈΡ Π²ΡΠΉΡΠΈ ΠΈΠ· ΡΡΡΠΎΡ, ΡΠ°ΡΠ½ΠΈΡΡ 15 Π²ΡΠ½ΠΈΠΌΠ°ΡΡΡΡ ΠΈ ΠΊΠ°ΠΆΠ΄ΡΠΉ ΡΠ»Π΅ΠΌΠ΅Π½Ρ, ΡΠ°Π·ΠΎΠ±ΡΠ°Π½Π½ΡΠΉ Π½Π° 3 ΡΠ°ΡΡΠΈ, ΠΌΠΎΠΆΠ΅Ρ Π±ΡΡΡ Π²ΡΠ½ΡΡ ΠΈΠ· ΠΎΡΠ²Π΅ΡΡΡΠΈΡ ΡΠ»Π°Π½ΡΠ° 3 ΠΈΠ»ΠΈ 4, Π΄ΠΈΠ°ΠΌΠ΅ΡΡ ΠΊΠΎΡΠΎΡΠΎΠ³ΠΎ ΠΌΠ΅Π½ΡΡΠ΅, ΡΠ΅ΠΌ Π―ΠΉΠΉΠΌΠ΅ΡΡ ΡΠ»Π΅ΠΌΠ΅Π½ΡΠ°, ΡΡΠ°ΡΡΠ²ΡΡΡΠ΅Π³ΠΎ Π² Π΄Π°Π½Π½ΠΎΠΌ ΡΠ°Π·ΡΠ΅ΠΌΠ½ΠΎΠΌ ΡΠΎΠ΅Π΄ΠΈΠ½Π΅Π½ΠΈΠΈ ΡΡΡΠ±ΡΠ°ΡΡΡ ΡΠ΅ΠΊΡΠΈΠΉ, Π Π°Π·ΡΠ΅ΠΌΠ½ΠΎΠ΅ ΡΠΎΠ΅Π΄ΠΈΠ½Π΅Π½ΠΈΠ΅ ΡΠ΅ΠΊΡΠΈΠΉ Π±Π°ΡΠ΅Π½Π½ΠΎΠ³ΠΎ ΠΊΡΠ°Π½Π°, ΡΠΎΠ΄Π΅ΡΠΆΠ°ΡΠ΅Π΅ Π·Π°ΠΊΡΠ΅ΠΏΠ»Π΅Π½Π½ΡΠ΅ Π½Π° ΠΊΠΎΠ½ΡΠ°Ρ ΡΠ΅ΠΊΡΠΈΠΉ ΡΠ»Π°Π½ΡΡ, ΡΠΎΠ΅Π΄ΠΈΠ½ΠΈΡΠ΅Π»ΡΠ½ΡΠΉ ΡΠ»Π΅ΠΌΠ΅Π½Ρ ΠΈ ΠΏΡΠΎΠΌΠ΅ΠΆΡΡΠΎΡΠ½ΠΎΠ΅ ΠΊΠΎΠ»ΡΡΠΎ, Π²Π·Π°ΠΈΠΌΠΎΠ΄Π΅ΠΉΡΡΠ²ΡΡΡΠ΅Π΅ Ρ ΡΠ»Π°Π½ΡΠ΅ΠΌ ΠΈ ΡΠΎΠ΅Π΄ΠΈΠ½ΠΈΡΠ΅Π»ΡΠ½ΡΠΌ ΡΠ»Π΅ΠΌΠ΅Π½ΡΠΎΠΌ, ΠΎΡΠ»ΠΈΡΠ°ΡΡΠ΅Π΅ΡΡ ΡΠ΅ΠΌ, ΡΡΠΎ, Ρ ΡΠ΅Π»ΡΡ ΠΏΠΎΠ²ΡΡΠ΅Π½ΠΈΡ Π½Π°Π΄Π΅ΠΆΠ½ΠΎΡΡΠΈ ΠΈ ΡΠΏΡΠΎΡΠ΅Π½ΠΈΡ ΠΌΠΎΠ½ΡΠ°ΠΆΠ° ΠΊΡΠ°Π½Π°, ΡΠΎΠ΅Π΄ΠΈΠ½ΠΈΡΠ΅Π»ΡΠ½ΡΠΉ ΡΠ»Π΅ΠΌΠ΅Π½Ρ ΡΠΎΡΡΠΎΠΈΡ ΠΈΠ· Π²ΡΡΠ»ΠΊΠΈ Ρ ΡΠ΅Π·ΡΠ±ΠΎΠΉ ΠΈ ΡΠΎΠ΅Π΄ΠΈΠ½Π΅Π½Π½ΠΎΠ³ΠΎ Ρ Π½Π΅ΠΉ Π·ΡΠ±ΡΠ°ΡΠΎΠ³ΠΎ Π²Π΅Π½ΡΠ°, ΠΏΡΠΈΡΠ΅ΠΌ ΠΎΠ΄Π½Π° ΠΈΠ· ΡΠ΅ΠΊΡΠΈΠΉ ΡΠ½Π°Π±ΠΆΠ΅Π½Π° Π½Π΅ΠΏΠΎΠ²ΠΎΡΠΎΡΠ½ΠΎΠΉ Π³Π°ΠΉΠΊΠΎΠΉ, Π²Π·Π°ΠΈΠΌΠΎΠ΄Π΅ΠΉΡΡΠ²ΡΡΡΠ΅ΠΉ Ρ ΡΠ΅Π·ΡΠ±ΠΎΠΉ Π²ΡΡΠ»ΠΊΠΈ, ΠΈ Π΄ΠΎΠΏΠΎΠ»Π½ΠΈΡΠ΅Π»ΡΠ½ΡΠΌ ΠΏΡΠΎΠΌΠ΅ΠΆΡΡΠΎΡΠ½ΡΠΌ ΠΊΠΎΠ»ΡΡΠΎΠΌ, ΡΠ°ΡΠΏΠΎΠ»ΠΎΠΆΠ΅Π½Π½ΡΠΌ ΠΌΠ΅ΠΆΠ΄Ρ Π³Π°ΠΉΠΊΠΎΠΉ ΠΈ ΡΠ»Π°Π½ΡΠ΅ΠΌ.
2. Π‘ΠΎΠ΅Π΄ΠΈΠ½Π΅Π½ΠΈΠ΅ ΠΏΠΎ ΠΏ. 1, ΠΎΡΠ»ΠΈΡΠ°ΡΡΠ΅Π΅ΡΡ ΡΠ΅ΠΌ, ΡΡΠΎ Π³Π°ΠΉΠΊΠ° Π²ΡΠΏΠΎΠ»Π½Π΅Π½Π° ΠΏΠΎΠ΄ΠΏΡΡΠΆΠΈΠ½Π΅Π½Π½ΠΎΠΉ.
3. Π‘ΠΎΠ΅Π΄ΠΈΠ½Π΅Π½ΠΈΠ΅ ΠΏΠΎ ΠΏ. 1, ΠΎΡΠ»ΠΈΡΠ°ΡΡΠ΅Π΅ΡΡ ΡΠ΅ΠΌ, ΡΡΠΎ Π³Π°ΠΉΠΊΠ° ΡΠΎΠ΅Π΄ΠΈΠ½Π΅Π½Π° Ρ ΡΠ΅ΠΊΡΠΈΠ΅ΠΉ ΡΠΏΠΎΠ½ΠΊΠΎΠΉ..
4. Π‘ΠΎΠ΅Π΄ΠΈΠ½Π΅Π½ΠΈΠ΅ ΠΏΠΎ ΠΏ. 1, ΠΎΡΠ»ΠΈΡΠ°ΡΡΠ΅Π΅ΡΡ ΡΠ΅ΠΌ, ΡΡΠΎ ΠΏΡΠΎΠΌΠ΅ΠΆΡΡΠΎΡΠ½ΡΠ΅ ΠΊΠΎΠ»ΡΡΠ°, Π³Π°ΠΉΠΊΠ° ΠΈ Π²ΡΡΠ»ΠΊΠ° ΡΠΎΡΡΠΎΡΡ ΠΈΠ· ΡΡΠ΅Ρ ΡΠ°ΡΡΠ΅ΠΉ ΠΊΠ°ΠΆΠ΄Π°Ρ.
ΠΡΡΠΎΡΠ½ΠΈΠΊΠΈ ΠΈΠ½ΡΠΎΡΠΌΠ°ΡΠΈΠΈ, ΠΏΡΠΈΠ½ΡΡΡΠ΅ Π²ΠΎ Π²Π½ΠΈΠΌΠ°Π½ΠΈΠ΅ ΠΏΡΠΈ ΡΠΊΡΠΏΠ΅ΡΡΠΈΠ·Π΅
1. ΠΠ²ΡΠΎΡΡΠΊΠΎΠ΅ ΡΠ²ΠΈΠ΄Π΅ΡΠ΅Π»ΡΡΡΠ²ΠΎ Π‘Π‘Π‘Π β 346216, ΠΊΠ». Π 66 Π‘ 23/62, 1971.
779286 Π»ΠΈΠ» Π°
ΠΠΈΠ² 5 Π³-Π³
Π©Π³6
Π‘ΠΎΡΡΠ°Π²ΠΈΡΠ΅Π»Ρ Π. Π§Π°ΠΉΠΊΠ°
Π Π΅Π΄Π°ΠΊΡΠΎΡ Π. ΠΠ°Π½ΠΊΠΈΠ½Π° Π’Π΅Ρ ΡΠ΅Π΄ Π. Π¨ΡΡΡΠΈΡ ΠΠΎΡΡΠ΅ΠΊΡΠΎΡ Π. ΠΠ΅ΠΌΡΠΈΠΊ
ΠΠ°ΠΊΠ°Π· 7952/30 Π’ΠΈΡΠ°ΠΆ 932 ΠΠΎΠ΄ΠΏΠΈΡΠ½ΠΎΠ΅
ΠΠΠΠΠΠ ΠΠΎΡΡΠ΄Π°ΡΡΡΠ²Π΅Π½Π½ΠΎΠ³ΠΎ ΠΊΠΎΠΌΠΈΡΠ΅ΡΠ° Π‘Π‘Π‘Π ΠΏΠΎ Π΄Π΅Π»Π°ΠΌ ΠΈΠ·ΠΎΠ±ΡΠ΅ΡΠ΅Π½ΠΈΠΉ ΠΈ ΠΎΡΠΊΡΡΡΠΈΠΉ
113035, ΠΠΎΡΠΊΠ²Π°, Π Π²Πβ 35, Π Π°ΡΡΡΠΊΠ°Ρ Π½Π°Π±., Π΄. 4/5
Π€ΠΈΠ»ΠΈΠ°Π» ΠΠΠ Β«ΠΠ°ΡΠ΅Π½ΡΒ», Π³. Π£ΠΆΠ³ΠΎΡΠΎΠ΄, ΡΠ». ΠΡΠΎΠ΅ΠΊΡΠ½Π°Ρ, 4
Β Β Β Βwww.findpatent.ru

ΠΠΎΠ±Π°Π²ΠΈΡΡ ΠΊΠΎΠΌΠΌΠ΅Π½ΡΠ°ΡΠΈΠΉ